|
|
(21), (22) Заявка: 2008148150/06, 08.12.2008
(24) Дата начала отсчета срока действия патента:
08.12.2008
(46) Опубликовано: 10.01.2010
(56) Список документов, цитированных в отчете о поиске:
SU 1820124 A1, 07.06.1993. SU 1013683 A1, 23.04.1993. SU 827889 A1, 15.10.1981. RU 2214543 C1, 20.10.2003. GB 1273358 A, 10.05.1972. US 6983758 B2, 10.01.2006. EP 0122851 A1, 24.10.1984.
Адрес для переписки:
123458, Москва, ул. Твардовского, 11, кв.92, О.С. Кочетову
|
(72) Автор(ы):
Кочетов Олег Савельевич (RU), Баранов Евгений Федорович (RU), Панарин Тимур Витальевич (RU), Гетия Игорь Георгиевич (RU), Гетия Сергей Игоревич (RU), Панферова Галина Николаевна (RU), Леонтьева Ирина Николаевна (RU)
(73) Патентообладатель(и):
Кочетов Олег Савельевич (RU)
|
(54) ПРЕДОХРАНИТЕЛЬНЫЙ КЛАПАН С РАЗРЫВНЫМ ЭЛЕМЕНТОМ
(57) Реферат:
Изобретение относится к машиностроению и предназначено для защиты технологического оборудования. Предохранительный клапан с разрывным элементом содержит корпус клапана, теплоизолирующий и разрывной элементы. Клапан дополнительно содержит футерованный грузовой затвор, перекрывающий отверстие в корпусе защищаемого объекта. В верхней цилиндрической части корпуса клапана размещен теплоизоляционный элемент и герметизирующая мембрана. Мембрана прижата к корпусу клапана посредством крышки. Крышка шарнирно соединена с рычагом. Рычаг взаимодействует с отбойником. Узел крепления разрывного элемента крепится своей верхней частью на рычаге, а нижней – к верхней цилиндрической части корпуса клапана. Разрывной элемент состоит из проволоки, стопорного болта, вилки, рычага крышки клапана, гайки, двух барабанов. Последние расположены соответственно в вилке рычага крышки клапана и в вилке верхней цилиндрической части корпуса клапана. Концы проволоки вставляются в отверстия барабанов и затем наматываются на них. Зазор между вилками составляет порядка 1,5÷3 от диаметра проволоки. Параметры клапана находятся в следующих оптимальных интервалах величин: c=H/Dy=2,5÷3,0, где Dy – диаметр верхней цилиндрической части корпуса клапана, равный максимальному размеру отверстия корпуса защищаемого объекта; Н – высота клапана в сборе. Изобретение направлено на повышение эффективности защиты технологического оборудования от взрывов путем увеличения быстродействия и надежности срабатывания разрывного элемента. 2 ил.
Изобретение относится к машиностроению и может быть использовано для взврывозащиты технологического оборудования.
Наиболее близким техническим решением к заявленному объекту является взрывной клапан по SU 1820124 A1, F16K 17/16, 1993 г. (прототип), содержащий корпус клапана, теплоизолирующий и разрывной элементы.
Недостатком известного решения является сравнительно невысокая надежность срабатывания разрывной мембраны.
Технический результат – повышение эффективности защиты технологического оборудования от взрывов путем увеличения быстродействия и надежности срабатывания разрывного элемента.
Это достигается тем, что в предохранительном клапане с разрывным элементом, содержащем корпус клапана, затвор, теплоизолирующий и разрывной элементы, дополнительно содержится футерованный грузовой затвор, перекрывающий отверстие в корпусе защищаемого объекта, а в верхней цилиндрической части корпуса клапана размещен теплоизоляционный элемент и герметизирующая мембрана, прижимаемая к корпусу клапана посредством крышки, шарнирно соединенной с рычагом, взаимодействующим с отбойником, узел крепления разрывного элемента крепится своей верхней частью на рычаге, а нижней – к верхней цилиндрической части корпуса клапана, разрывной элемент состоит из проволоки, стопорного болта, вилки, рычага крышки клапана, гайки, двух барабанов, расположенных соответственно в вилке рычага крышки клапана и в вилке верхней цилиндрической части корпуса клапана, при этом концы проволоки вставляются в отверстия барабанов и затем наматываются на них, зазор h между вилками составляет порядка (1,5÷3) от диаметра проволоки, а параметры клапана находятся в следующих оптимальных интервалах величин: с=Н/Dy=2,5÷3,0, где Dy – диаметр верхней цилиндрической части корпуса клапана, равный максимальному размеру отверстия корпуса защищаемого объекта; Н – высота клапана в сборе.
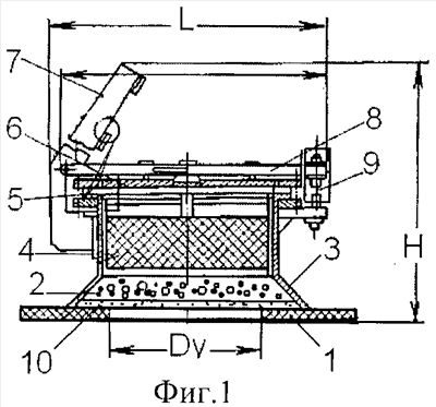
На фиг.1 изображен фронтальный разрез взрывозащитного клапана, на фиг.2 – узел крепления разрывного элемента.
Предохранительный клапан с разрывным элементом устанавливается на корпус 1 защищаемого объекта и содержит футерованный грузовой затвор, выполненный в виде двух слоев: слоя футеровки 10, перекрывающей отверстие диаметром Dy в корпусе 1 защищаемого объекта, и насыпного грузового слоя 2 в виде щебня, гравия или песка. Корпус клапана 3 выполнен в виде нижней конической и верхней цилиндрической части, в которой размещен теплоизоляционный элемент 4 и герметизирующая мембрана 5, прижимаемая к корпусу клапана посредством крышки 6, шарнирно соединенной с рычагом 8, взаимодействующим с отбойником 7. Узел 9 крепления разрывного элемента (проволоки) крепится своей верхней частью на рычаге 8, а нижней – к верхней цилиндрической части корпуса 3 клапана. Узел крепления разрывного элемента состоит из проволоки 16, стопорного болта 11, вилки 12, рычага 13 крышки клапана, гайки 14 и двух барабанов 15, расположенных соответственно в вилке 12 рычага 13 крышки клапана и в вилке верхней цилиндрической части корпуса 3 клапана. Концы проволоки 16 вставляются в отверстия барабанов 15 и затем наматываются на них при их вращении обычным гаечным ключом. После достаточного натяжения проволоки барабаны 15 фиксируются стопорными болтами 11. Важно заметить, что давление срабатывания клапана зависит только от прочности проволоки 16 и не зависит от силы ее натяжения. Чтобы срабатыванию клапана не предшествовали большие пластические деформации проволоки, ее длина, а следовательно, и зазор h должны быть минимальными. Зазор h должен быть порядка (l,5÷3)d, где d – диаметр проволоки. Чтобы крепление концов проволоки было надежным и не допускало их вытягивания из отверстий в барабане, на него должно быть намотано не менее трех витков. Откидная крышка 6 через рычаг 8 удерживается в закрытом положении при разрывном элементе 9, роль которого выполняет проволока калиброванного сечения. Для полной герметизации клапана используется мембрана 5 из алюминиевой фольги или из полимерного материала. Под действием давления в защищаемом аппарате мембрана прижимается к крышке и таким образом через рычаг 8 все усилие от давления передается на шарнир рычага и разрывную проволоку 9. Сама же мембрана при этом оказывается практически полностью разгруженной и на давление срабатывания клапана (разрыв проволоки 9) существенного влияния не оказывает. В этом смысле мембрана не является расчетным элементом: конструкции взрывного клапана.
Если в защищаемом аппарате 1 происходят технологические процессы при высоких температурах, то для тепловой защиты мембраны 5 и других деталей клапана предусмотрены два уровня теплоизоляции. Первый из них представляет собой грузовой затвор 2, футерованный огнеупорным материалом, а второй – минеральную вату, асбестовую крошку или другой термостойкий пористый материал 4, уложенный в корзину из металлических прутьев или полос. Для получения наибольшей эффективности взврывозащиты производственного оборудования взрывозащитный клапан имеет параметры, которые находятся в следующих оптимальных интервалах величин: с=H/Dy=2,5÷3,0,
где Dy – диаметр верхней цилиндрической части корпуса клапана, равный максимальному размеру отверстия корпуса 1 защищаемого объекта; Н – высота клапана в сборе.
Предохранительный клапан с разрывным элементом работает следующим образом.
Давление в защищаемом аппарате воздействует на крышку 6, так как затвор 2 перекрывает входное отверстие негерметично и при быстром повышении давления он может приподниматься, а теплоизоляционный слой 4 порист. При срабатывании клапана крышка 6 отбрасывается до упора в отбойники 7, засыпка 2 и теплоизоляционный элемент 4 потоком газа выбрасываются из полости клапана.
После окончания сброса газов затвор и крышка опускаются вниз и закрывают сбросное отверстие клапана. При этом герметичность клапана полностью не восстанавливается, однако интенсивный подсос воздуха из атмосферы в полость защищаемого аппарата, который может вызвать вторичный взрыв в оборудовании, исключается.
После срабатывания клапана и устранения причин, вызвавших взрыв в оборудовании, клапан должен быть восстановлен, т.е. необходимо в корзину уложить теплоизоляционный слой.
Для химической и других смежных отраслей промышленности, продукты которых и ценны, и исключительно вредны для окружающей среды, условие полной герметичности следует рассматривать как приоритетное, в значительной мере определяющее область возможного их применения.
Формула изобретения
Предохранительный клапан с разрывным элементом, содержащий корпус клапана, затвор, теплоизолирующий и разрывной элементы, отличающийся тем, что дополнительно содержит футерованный грузовой затвор, перекрывающий отверстие в корпусе защищаемого объекта, а в верхней цилиндрической части корпуса клапана размещен теплоизоляционный элемент и герметизирующая мембрана, прижимаемая к корпусу клапана посредством крышки, шарнирно соединенной с рычагом, взаимодействующим с отбойником, а узел крепления разрывного элемента крепится своей верхней частью на рычаге, а нижней – к верхней цилиндрической части корпуса клапана, а разрывной элемент состоит из проволоки, стопорного болта, вилки, рычага крышки клапана, гайки, двух барабанов, расположенных соответственно в вилке рычага крышки клапана, и в вилке верхней цилиндрической части корпуса клапана, при этом концы проволоки вставляются в отверстия барабанов и затем наматываются на них, а зазор h между вилками составляет порядка (1,5÷3) от диаметра проволоки, а параметры клапана находятся в следующих оптимальных интервалах величин: c=H/Dy=2,5÷3,0, где Dy – диаметр верхней цилиндрической части корпуса клапана, равный максимальному размеру отверстия корпуса защищаемого объекта; Н – высота клапана в сборе.
РИСУНКИ
|
|