|
|
(21), (22) Заявка: 2005139496/06, 08.12.2005
(24) Дата начала отсчета срока действия патента:
08.12.2005
(43) Дата публикации заявки: 20.07.2007
(46) Опубликовано: 10.01.2010
(56) Список документов, цитированных в отчете о поиске:
US 2669249 А, 16.02.1954. US 2912006 А, 10.11.1959. RU 2053427 С1, 27.01.1996. FR 2314413 А1, 07.01.1977. WO 2005/008108 A3, 27.01.2005.
Адрес для переписки:
191024, Санкт-Петербург, ул. Полтавская, 8ж, ЗАО “ТЕХНОЛИНК”, Л.И.Виленчику
|
(72) Автор(ы):
Горшков Юрий Владимирович (RU), Виленчик Леонид Израилевич (RU), Аношин Александр Евгеньевич (RU), Салихов Зуфар Гарифуллинович (RU)
(73) Патентообладатель(и):
Закрытое акционерное общество “Технолинк” (RU)
|
(54) КЛАПАН ДИАФРАГМЕННЫЙ ДВУХХОДОВОЙ УПРАВЛЯЕМЫЙ
(57) Реферат:
Изобретение относится к области машиностроения и предназначено для регулирования потоков жидкостей, содержащих твердые примеси, вязкие и агрессивные среды. Клапан диафрагменный двухходовой управляемый содержит корпус со сквозным осевым отверстием, эластичную мембрану, крышки с отверстиями для подвода и отвода управляющего воздействия сжатого воздуха или другой рабочей среды. Корпус выполнен с двумя расположенными по его торцам полостями. Полости закрыты крышками с расположенными между ними эластичными мембранами. В корпусе выполнены три канала, радиально расположенные к центру. Один из каналов соединен со сквозными осевыми отверстиями и одновременно соединен с обеими торцевыми полостями корпуса клапана. Два других канала соответственно соединены только с одной из упомянутых торцевых полостей корпуса глухими эксцентрично расположенными отверстиями. Изобретение направлено на повышение надежности и эффективности работы системы, использующей клапан диафрагменный двухходовой управляемый. 1 з.п. ф-лы, 3 ил.
Заявляемое техническое решение относится к области машиностроения, гидрометаллургии, химической и др., а именно к устройствам регулирования потоков нейтральных, агрессивных, вязких жидкостей и жидкостей, содержащих твердые примеси.
Известно решение по Каталогу Клапаны/фильтры для разных сред, 2004 г., стр.29, ООО «ЭС ЭМ СИ Пневматик», модель VXD21402150/2260, Япония, клапан диафрагменного типа для различных сред 2/2, содержащий корпус, выполненный с каналом, мембрану, крышку. Устройство управления является принадлежностью клапана. Мембрана с эластичным элементом перекрывает проходное отверстие.
Достоинством является возможность управления технологическими потоками, содержащими твердые примеси, вязкие и агрессивные среды.
Однако устройство ограничено функциями только открытия или только закрытия.
Известно решение по Каталогу Регулирующие клапаны для технологических процессов, Фирма САМСОН, 2004 г., стр.16, Германия, мембранный клапан Тип 3345, содержащий корпус, выполненный с каналом, мембрану, крышку и привод.
Достоинством является возможность управления технологическими потоками, содержащими твердые примеси, вязкие и агрессивные среды, однако его характеризует конструктивная сложность при осуществлении только одной функции – перекрыть или дать возможность движения потока, что ограничивает применение данного решения.
Известно решение диафрагменный клапан патент США 2669249 А, кл. F16 31/126 от 16.02.1954, содержащий корпус с двумя радиально расположенными отверстиями (камеры входа и выхода потока), осевым отверстием и одной торцевой полостью, перекрываемой управляемой диафрагмой с клапаном; каналом малого по сравнению с основным входным отверстием сечения для прохода части потока через полость, расположенную во второй торцевой крышке корпуса с размещенной между ними пассивной диафрагмой с клапаном, перекрывающим проход в крышке при прохождении основного потока через корпус клапана при открытом клапане управляющей диафрагмы.
Достоинством данного решения является обеспечение в любом случае прохождение либо основного потока, либо малой его части к потребителю. Однако его характеризует технологическая сложность конструкции и отсутствие функции полного перекрытия потока. Кроме того, наличие малого отверстия в корпусе и пассивной диафрагме исключает работу клапана с потоками, содержащими твердые примеси. Кроме того, рассматриваемый клапан предназначен для позиционного (только 2-х) «открыто»-«закрыто» малого и большого потока, т.е. не может выполнять функцию непрерывно регулирующего в диапазоне от расхода до большого, не обеспечивает промывание всего суммарного сечения клапана. Это приводит к нестационарности характеристик клапана при наличии в потоках твердых включений.
Известно решение конструкции клапана по патенту США 2912006 от 10.11.1959 г.Конструкция клапана состоит из продолговатого корпуса с камерами, закрытыми на своих концах, перфорированными диафрагмами для центрирования подвижного штока, проходящего через осевое отверстие большего диаметра, чем диаметр штока, между камерами, с размещенными на диафрагмах клапанами для перекрытия полостей в зависимости от осевого расположения штока при ручном управлении его перемещением; корпус имеет три порта подключения, один из них связан с проходным отверстием, расположенным между седлами клапанов, а другие порты соответственно связаны с соответствующими камерами; стержень клапана проходит через полость за пределы осевых концов в камеры, указанный стержень клапана имеет меньшую площадь поперечного сечения, чем путь прохода, и определяет, таким образом, зону, через которую жидкость может течь между указанными камерами и данным портом.
Достоинством указанного решения является возможность изменения направления потока, однако сложность конструкции, ее нетехнологичность, наличие подвижных элементов с уплотнениями в зоне прохождения основного потока, ручное управление изменением направления потока затрудняет использование указанного решения в системах автоматического регулирования потоков, а также снижает надежность работы всей системы. Использование клапана такой конструкции исключает возможность его применения при работе с потоками, содержащими агрессивные среды и твердые примеси. Отсутствует также функция полного перекрытия потока.
Целью разработки является упрощение конструкции и повышения надежности работы, расширение функциональных возможностей устройств, в которых устанавливается клапан, а именно получения возможности изменения направления движения потока – открыть, закрыть и непрерывно регулировать расходом потока в широких диапазонах.
Поставленная цель достигается следующим образом.
Клапан диафрагменный двухходовой управляемый, содержащий корпус со сквозным осевым отверстием, эластичные мембраны, крышки с отверстиями для подвода и отвода управляющего сжатого воздуха или другой рабочей среды и привод с любой рабочей средой, отличающийся тем, что корпус выполнен с двумя расположенными по его торцам полостями, закрытыми крышками с расположенными между ними эластичными мембранами, и в корпусе, радиально к центру, выполнены три канала, один из которых соединен со сквозным осевым отверстием, одновременно соединяющим с обеими торцевыми полостями корпуса клапана, а два других – соответственно соединены только с одной из упомянутых торцевых полостей корпуса глухими эксцентрично расположенными отверстиями; для удержания от смещения диафрагм, расположенных и зажатых между корпусом и крышкой, при подаче управляющего сжатого воздуха или другой рабочей среды, корпус и крышки выполнены с замками в виде выступа любой конфигурации и ответной выемкой соответственно.
Корпус клапана выполнен из материалов, стойких к агрессивным средам.
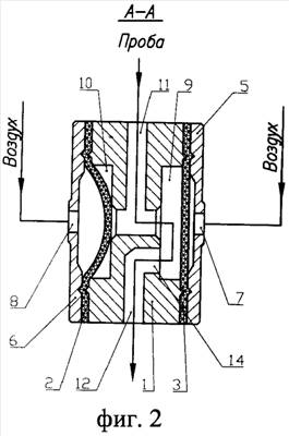
Сущность изобретения поясняется чертежом, где на фиг.1 изображен клапан диафрагменный двухходовой управляемый; на фиг.2 – сечение по А-А фиг.1; на фиг.3 – сечение по Б-Б на фиг.1, на котором:
1 – корпус с замком;
2, 3 – диафрагмы;
4 – сквозное осевое отверстие;
5, 6 – крышки с замком;
7, 8 – каналы подачи управляющего воздуха (воздействия);
9, 10 – рабочие полости;
11, 12, 13 – каналы, расположенные радиально к центру;
14, 15 – глухие эксцентрично расположенные отверстия.
Сущность заявляемого технического решения заключается в следующем.
Клапан диафрагменный двухходовой управляемый на Фиг.1 содержит корпус 1 с замком и со сквозным осевым отверстием 4,
каналы 11, 12, 13, расположенные радиально к центру,
каналы 7 и 8 подачи управляющего воздуха,
корпус выполнен с двумя расположенными по торцам полостями 9 и 10, закрытыми эластичными мембранами 2 и 3,
и снабжен герметично соединенными с корпусом 1 крышками 5, 6.
Работает клапан следующим образом.
На фиг.1-3 при подаче управляемого сжатого воздуха или другой среды в канал 8 крышки 6 диафрагма 2 перекрывает осевое отверстие 4, обеспечивая прохождение основного потока от радиально расположенного канала 11 через осевое отверстие 4 в полость 9 к радиально расположенному каналу 12. При переключении управляющего воздействия и подаче сжатого воздуха или другой среды в канал 7 крышки 5 и сброса сжатого воздуха или другой среды с канала 8 диафрагма 3 перекрывает осевое отверстие 4 с противоположной стороны, обеспечивая прохождение основного потока от радиально расположенного канала 11 через осевое отверстие 4 полость 10 и глухое эксцентрично расположенное отверстие 15 в канал 13. При подаче управляющего воздействия и подаче сжатого воздуха или другой среды в каналы 7 и 8 крышек 5 и 6 диафрагмы 2 и 3 перекрывают осевое отверстие 4 с двух сторон, тем самым перекрывая движение основного потока от радиально расположенного канала 11 полностью.
Технический результат от использования заявляемого технического решения заключается:
– в получении возможности регулирования движением потока в широком диапазоне – открыть полностью, закрыть, также и регулировать между этими предельными значениями;
– в обеспечении возможности управления технологическими потоками вязких и агрессивных жидкостей, содержащих твердые примеси;
– в повышении надежности работы системы за счет отсутствия движущихся элементов клапана (штоки, седла, привод) и возможности изменения сечения отверстий до полного открытия и технологичности и простоте конструкции.
Простота, надежность и технологичность конструкции позволяет использовать устройство в автоматических системах с минимизацией технического обслуживания и ошибки регулирования благодаря стабильности характеристик клапана.
Формула изобретения
1. Клапан диафрагменный двухходовой управляемый, содержащий корпус со сквозным осевым отверстием, эластичные мембраны, крышки с отверстиями для подвода и отвода управляющего воздействия сжатого воздуха или другой рабочей среды, отличающийся тем, что корпус выполнен с двумя расположенными по его торцам полостями, закрытыми крышками с расположенными между ними эластичными мембранами, и в корпусе, радиально к центру, выполнены три канала, один из которых соединен со сквозными осевыми отверстиями, одновременно соединен с обеими торцевыми полостями корпуса клапана, а два других соответственно соединены только с одной из упомянутых торцевых полостей корпуса глухими эксцентрично расположенными отверстиями.
2. Клапан по п.1, отличающийся тем, что корпус и крышки выполнены с замком в виде выступа и ответной выемки.
РИСУНКИ
|
|