|
|
(21), (22) Заявка: 2008130798/06, 25.07.2008
(24) Дата начала отсчета срока действия патента:
25.07.2008
(46) Опубликовано: 10.01.2010
(56) Список документов, цитированных в отчете о поиске:
RU 63012 U1, 10.05.2007. SU 1229490 A1, 07.05.1986. GB 1220624 A, 27.01.1971. US 3737145 A, 05.06.1973. US 3484079 A, 16.12.1969. DE 2838117 A1, 13.03.1980. WO 00/04312 A1, 27.01.2000. EP 0342993 A2, 23.11.1989.
Адрес для переписки:
195009, Санкт-Петербург, ул. Комсомола, 1-3, ОАО “МЗ “Арсенал”, Административно-юридическое управление, Бюро по охране и использованию интеллектуальной собственности
|
(72) Автор(ы):
Коскинен Герман Францевич (RU)
(73) Патентообладатель(и):
Открытое акционерное общество “Машиностроительный завод “Арсенал” (ОАО “МЗ “Арсенал”) (RU)
|
(54) ЦИЛИНДРИЧЕСКИЙ КРАН КОСКИНЕНА
(57) Реферат:
Изобретение относится к области запорной арматуры и предназначено для перекрытия проходного сечения трубопроводов: водопроводов, нефтепроводов, газопроводов и т.д. Цилиндрический кран имеет корпус. Корпус состоит из двух взаимно перпендикулярных, герметично соединенных между собой труб разного сечения. Труба меньшего сечения имеет трубопроводный канал прохода рабочей среды. Труба большего сечения имеет канал под запорный орган с запорной цилиндрической поверхностью. В поперечном сечении этой поверхности выполнено отверстие условного прохода рабочей среды Dу, меньшее, чем перемычка L в этом сечении. По обе стороны упомянутой поверхности имеются по опоре и шпинделю. В трубе по краям запорной цилиндрической поверхности установлены заглушки, являющиеся органами контроля утечки рабочей среды. На концах трубы установлены неподвижно центрирующие втулки с уплотнением в канале и подшипниками под опоры. В трубопроводном канале по обе стороны от запорной цилиндрической поверхности установлены уплотнительные органы в виде втулок с отверстием, уплотнением в трубопроводном канале и торцевой уплотнительной поверхностью, соответствующей ответной запорной цилиндрической поверхности, к которой они поджимаются упругими элементами. Сжатие последних осуществляют неподвижно установленные трубопроводные фланцы с уплотнением в трубопроводном канале и отверстием. На шпиндель устанавливается орган управления крана. Запорный орган имеет пустотелый запорный цилиндр, содержащий две взаимно перпендикулярные, герметично соединенные между собой трубы разного сечения. Труба меньшего сечения имеет отверстие Dy. Труба большего сечения имеет наружную запорную цилиндрическую поверхность с уплотнительными элементами на концах. Опоры и шпиндели выполнены в цапфах. Цапфы неподвижно крепятся к запорному цилиндру. Изобретение направлено на упрощение конструкции запорного органа и на снижение трудоемкости его изготовления, а также на повышение герметичности крана с контролем утечки рабочей среды. 2 ил.
Областью применения предлагаемого изобретения являются запорные краны, перекрывающие рабочую среду в трубопроводах, и могут найти широкое применение в водопроводах, нефтепроводах, газопроводах и т.д.
Известны конические запорные краны (см. Д.Ф.Гуревич «Справочник конструктора трубопроводной арматуры», Машиностроение, 1987 г., стр.72, рис.2.4). Данный кран имеет корпус и коническую пробку, являющуюся запорным органом, в поперечном сечении которой выполнено отверстие прохода рабочей среды. При повороте на 90° происходит закрытие крана. Размеры и форма отверстия должны обеспечить в закрытом положении крана перекрытие пробкой корпуса, достаточное для герметизации запорного органа.
Основными достоинствами являются: простота конструкции, небольшая высота, малое гидравлическое давление.
Основными недостатками являются: для управления кранами с большим условным диаметром прохода рабочей среды требуются большие крутящие моменты, необходимы тщательное обслуживание и смазка уплотнительных поверхностей конической пробки и корпуса во избежание «прикипания» пробки к корпусу, усложнена пригонка (притирка) конической пробки к корпусу, неравномерный по высоте износ конических пробок, что в процессе эксплуатации приводит к снижению герметизации запорного органа.
Широко известны шаровые краны на опорах с подвижным уплотнительным кольцом для трубопроводов с большими условными диаметрами прохода рабочей среды (см. Д.Ф.Гуревич «Справочник конструктора трубопроводной арматуры», Машиностроение, 1987 г., стр.78, рис.2.126). Данный шаровой кран имеет корпус, запорный орган и два уплотнительных органа. Корпус содержит сквозной канал под рабочую среду, на концах которого выполнены два трубопроводных фланца с проходным отверстием рабочей среды, причем симметрично фланцам выполнено отверстие, перпендикулярное оси канала рабочей среды под запорный орган, который содержит шпиндель, две опоры и рабочую поверхность, имеющую перпендикулярно оси опор сквозное отверстие прохода рабочей среды, причем оно меньше перемычки в поперечном сечении, с торца в отверстие под запорный орган установлена центрирующая втулка с уплотнительными элементами и подшипником под опору, а с двух сторон рабочей поверхности запорного органа установлены уплотнительные органы с центральным отверстием прохода рабочей среды и уплотнением в канале рабочей среды, которые поджимаются к рабочей поверхности пружинами.
Основным достоинством является возможность использования в трубопроводах с условным проходом Dy l400 мм и более при давлении Ру 16 МПа. На линейной части магистральных газопроводов шаровые краны являются основными запорными устройствами. Они получили широкое применение и на других объектах газопроводов.
Основными недостатками являются: нетехнологичность конструкции шарового крана при механической обработке и сборке крана, ведущая к трудоемкости изготовления крана и повышенной себестоимости, а также вязкие и загрязненные рабочие среды ведут к быстрому износу уплотнительных органов.
Известен цилиндрический кран (см. патент РФ на полезную модель 63012, 10.05.2007), имеющий корпус, который состоит из двух взаимно перпендикулярных, герметично соединенных между собой труб разного сечения, причем труба меньшего сечения имеет трубопроводный канал прохода рабочей среды, а труба большего сечения имеет канал под запорный орган с запорной цилиндрической поверхностью, в поперечном сечении которой выполнено отверстие условного прохода рабочей среды Dy, которое меньше перемычки L в этом сечении, причем по обе стороны данной поверхности имеются по опоре и шпинделю, а также по обе стороны этой поверхности в трубе установлены заглушки, при этом на концах трубы установлены неподвижно центрирующие втулки с подшипниками под опоры, а в трубопроводном канале по обе стороны запорной цилиндрической поверхности установлены уплотнительные органы, выполненные в виде втулок с отверстием Dy, уплотнением в трубопроводном канале и торцевой уплотнительной поверхностью, соответствующей ответной запорной цилиндрической поверхности, которые поджимаются к ней упругими элементами, сжатие которых обеспечивают установленные неподвижно на концах трубы трубопроводные фланцы с отверстием Dy и уплотнением в трубопроводном канале. На шпинделе устанавливается орган управления, обеспечивающий открытие и закрытие крана при повороте на 90°.
По технической сущности известный цилиндрический кран имеет все вышеперечисленные общие признаки с предлагаемым изобретением, поэтому принят за прототип.
Поставленной задачей для создания изобретения является упрощение конструкции запорного органа и снижение трудоемкости его изготовления, повышение герметичности крана с контролем утечки рабочей среды.
Поставленная задача достигается тем, что в цилиндрическом кране, имеющем корпус, который состоит из двух взаимно перпендикулярных, герметично соединенных между собой труб разного сечения, причем труба меньшего сечения имеет трубопроводный канал прохода рабочей среды, а труба большего сечения имеет канал под запорный орган с запорной цилиндрической поверхностью, в поперечном сечении которой выполнено отверстие условного прохода рабочей среды Dy, которое меньше перемычки L в этом сечении, причем по обе стороны данной поверхности имеются по опоре и шпинделю, а в трубе по краям запорной цилиндрической поверхности установлены заглушки и на концах трубы установлены неподвижно центрирующие втулки с уплотнением в канале, и в которых имеются подшипники под опоры, а в трубопроводном канале по обе стороны от запорной цилиндрической поверхности установлены уплотнительные органы, выполненные в виде втулок с отверстием Dy, уплотнением в трубопроводном канале и торцевой уплотнительной поверхностью, соответствующей ответной запорной цилиндрической поверхности, которые поджимаются к ней упругими элементами, сжатие которых осуществляют неподвижно установленные трубопроводные фланцы с уплотнением в трубопроводном канале и отверстием Dy, при этом на шпиндель устанавливается орган управления, обеспечивающий открытие и закрытие крана при повороте на 90°, согласно изобретению запорный орган имеет запорный пустотелый цилиндр, содержащий две взаимно перпендикулярные, герметично соединенные между собой трубы разного сечения, причем труба меньшего сечения имеет отверстие Dy, а труба большего сечения имеет наружную запорную цилиндрическую поверхность с уплотнительными элементами на концах, а опоры и шпиндели выполнены в цапфах, которые неподвижно крепятся к запорному цилиндру, при этом две заглушки являются органами контроля утечки рабочей среды.
Предлагаемое изобретение представлено схематично.
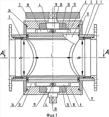
На фиг.1 – пример выполнения цилиндрического крана, продольный разрез.
На фиг.2 – пример выполнения цилиндрического крана, сечение А-А.
Предлагаемый цилиндрический кран состоит из корпуса 1, запорного органа 2, двух уплотнительных органов 3, двух заглушек 4, органа управления 5, двух центрирующих втулок 6, двух трубопроводных фланцев 7, двух упругих элементов 8.
Корпус 1 состоит их двух взаимно перпендикулярных, герметично соединенных между собой труб меньшего сечения 9 и большего сечения 10. Причем труба меньшего сечения 9 имеет трубопроводный канал 11 прохода рабочей среды, а труба большего сечения 10 имеет канал 12 под запорный орган 2.
Запорный орган 2 имеет запорный пустотелый цилиндр 13, содержащий две взаимно перпендикулярные трубы разного сечения, герметично соединенные между собой. Одна труба меньшего сечения 14 имеет отверстие прохода рабочей среды Dy, другая труба большего сечения 15 имеет наружную запорную цилиндрическую поверхность 16 с уплотнительными элементами 17 на концах, причем в поперечном сечении отверстие условного прохода рабочей среды Dy меньше перемычки L в этом сечении, причем к запорному цилиндру 13 неподвижно крепятся с двух сторон цапфы 18. В цапфах 18 выполнены опоры 19 и шпиндели 20.
Две заглушки 4 являются органами контроля утечки рабочей среды и определяют выход из строя уплотнительных элементов 17, срок службы которых зависит от неблагоприятных условий работы, путем подачи сигнала о необходимости их замены.
Два уплотнительных органа 3 устанавливаются с двух сторон запорной цилиндрической поверхности 16 в трубопроводном канале 11 и выполнены в виде фторопластовых втулок 21 с отверстием Dy, уплотнительным кольцом 22 в трубопроводном канале 11 и торцевой уплотнительной поверхностью 23, соответствующей ответной запорной цилиндрической поверхности 16. Две центрирующие втулки 6 имеют уплотнительное кольцо 24 в канале 12 под запорный орган 2 и подшипники 25 под опоры 19 запорного органа 2.
Два трубопроводных фланца 7 имеют отверстие Dy и уплотнительное кольцо 26 в трубопроводном канале 11.
Сборка цилиндрического крана осуществляется следующим образом.
В корпус 1 устанавливаются две заглушки 4. К запорному цилиндру 13 неподвижно крепятся с двух сторон цапфы 18 и на запорную цилиндрическую поверхность 16 устанавливаются два уплотнительных элемента 17, например, в виде резиновых колец.
На две втулки 21 устанавливаются уплотнительные кольца 22.
В две центрирующие втулки 6 устанавливаются подшипники 25 и уплотнительные кольца 24.
На два трубопроводных фланца 7 устанавливаются уплотнительные кольца 26.
В канал 12 корпуса 1 устанавливается запорный орган 2, после чего на концах канала 12 устанавливаются центрирующие втулки 6 и неподвижно крепятся к корпусу 1.
В трубопроводный канал 11 с двух сторон запорного цилиндра 13 устанавливаются уплотнительные органы 3, затем с двух сторон устанавливаются упругие элементы 8, которые сжимаются установленными с двух концов трубопроводными фланцами 7, которые неподвижно крепятся к корпусу 1. На шпиндель 20 с любой стороны устанавливается орган управления 5.
Открытие и закрытие цилиндрического крана осуществляется поворотом органа управления 5 на 90°.
Выполнение запорного органа с пустотелым запорным цилиндром в виде двух взаимно перпендикулярных труб, а опор и шпинделей в виде цапф упрощает конструкцию запорного органа и снижает трудоемкость его изготовления.
Изготовление труб 9 и 10 корпуса 1 и труб 14 и 15 запорного цилиндра 13 из органопластика позволяет значительно снизить вес и трудоемкость изготовления крана.
Изготовление втулок 21 уплотнительного органа 3 из фторопласта уменьшит время открытия и закрытия крана.
Формула изобретения
Цилиндрический кран, имеющий корпус, который состоит из двух взаимно перпендикулярных, герметично соединенных между собой труб разного сечения, причем труба меньшего сечения имеет трубопроводный канал прохода рабочей среды, а труба большего сечения имеет канал под запорный орган с запорной цилиндрической поверхностью, в поперечном сечении которой выполнено отверстие условного прохода рабочей среды Dy, которое меньше перемычки L в этом сечении, причем по обе стороны данной поверхности имеются по опоре и шпинделю, а в трубе по краям запорной цилиндрической поверхности установлены заглушки и на концах трубы установлены неподвижно центрирующие втулки с уплотнением в канале, и в которых имеются подшипники под опоры, а в трубопроводном канале по обе стороны от запорной цилиндрической поверхности установлены уплотнительные органы, выполненные в виде втулок с отверстием Dy, уплотнением в трубопроводном канале и торцевой уплотнительной поверхностью, соответствующей ответной запорной цилиндрической поверхности, которые поджимаются к ней упругими элементами, сжатие которых осуществляют неподвижно установленные трубопроводные фланцы с уплотнением в трубопроводном канале и отверстием Dy, при этом на шпиндель устанавливается орган управления, обеспечивающий открытие и закрытие крана при повороте на 90°, отличающийся тем, что запорный орган имеет запорный пустотелый цилиндр, содержащий две взаимно перпендикулярные, герметично соединенные между собой трубы разного сечения, причем труба меньшего сечения имеет отверстие Dy, а труба большего сечения имеет наружную запорную цилиндрическую поверхность с уплотнительными элементами на концах, а опоры и шпиндели выполнены в цапфах, которые неподвижно крепятся к запорному цилиндру, при этом две заглушки являются органами контроля утечки рабочей среды.
РИСУНКИ
|
|