|
|
(21), (22) Заявка: 2008113531/11, 19.10.2006
(24) Дата начала отсчета срока действия патента:
19.10.2006
(30) Конвенционный приоритет:
19.10.2005 (пп.1-14) DE 102005050143.5
(46) Опубликовано: 10.01.2010
(56) Список документов, цитированных в отчете о поиске:
DE 10241289 A1, 25.03.2004. FR 2810379 A3, 21.12.2001. JP 2000-213510 A, 02.08.2000. US 5,378,099 A, 03.01.1995. SU 491794 A, 18.02.1976.
(85) Дата перевода заявки PCT на национальную фазу:
19.05.2008
(86) Заявка PCT:
EP 2006/010115 20061019
(87) Публикация PCT:
WO 2007/045484 20070426
Адрес для переписки:
191186, Санкт-Петербург, а/я 230, “АРС-ПАТЕНТ”, пат.пов. М.В.Хмаре, рег. 771
|
(72) Автор(ы):
ЧЖАН Ли (DE)
(73) Патентообладатель(и):
ЭЙРБАС ДОЙЧЛАНД ГМБХ (DE)
|
(54) ВСТАВКА ДЛЯ МНОГОСЛОЙНОГО КОМПОНЕНТА С СОТОВЫМ ЗАПОЛНИТЕЛЕМ
(57) Реферат:
Изобретение относится к вставке для многослойного компонента с сотовым заполнителем. Вставка (10) для многослойного компонента с сотовым заполнителем содержит внутреннюю пустотелую цилиндрическую втулку (12), наружную втулку (16), расположенную соосно внутренней втулке (12) и отстоящую от нее в радиальном направлении, при этом внутренняя сторона наружной втулки соединена с наружной стороной внутренней втулки (12) посредством множества радиальных перегородок (18). Вставка (10) также содержит множество продольных камер (20), распределенных по окружности вставки между внутренней втулкой (12) и наружной втулкой (16), при этом каждая камера (20) в окружном направлении вставки ограничена двумя перегородками (18), следующими в окружном направлении друг за другом, и открыта, по меньшей мере, на одном из своих торцов, множество анкерных элементов (22), каждый из которых входит в соответствующую камеру (20), при этом каждый анкерный элемент (22) имеет заостренный конец (24) и тупой конец (26), причем указанный тупой конец расположен рядом с открытым торцом камеры (20), множество выходных отверстий (28) на боковой поверхности наружной втулки (16), через которые может выходить заостренным концом (24) вперед из соответствующей камеры (20) часть каждого анкерного элемента (22). Вставка (10) содержит также толкатель (32), вводимый в осевом направлении в камеры (20) через их открытые торцы и выполненный таким образом, что при вводе в камеры (20) толкатель входит в контакт с тупыми концами (26) анкерных элементов (22) и перемещает указанные анкерные элементы и направляющие устройства в каждой камере (20), содержащей анкерный элемент (22), которые при перемещении анкерных элементов (22), вызванном вводом толкателя (32) в камеры (20), обеспечивают выход анкерных элементов заостренными концами (24) вперед через выходные отверстия (28) радиально наружу из камер (20). В результате значительно увеличивается прочность соединения. 13 з.п. ф-лы, 6 ил.
Область техники, к которой относится изобретение
Настоящее изобретение относится к вставке для многослойного компонента с сотовым заполнителем. Такие многослойные компоненты отличаются жесткостью и малым весом, и по этой причине их часто используют, в частности в самолетостроении. Например, из таких многослойных компонентов выполняют багажные отсеки, разделительные перегородки и аналогичные элементы салонов пассажирских самолетов.
Уровень техники
Традиционные для самолетостроения многослойные компоненты состоят из двух тонких так называемых препрегов, играющих роль наружной обшивки, между которыми располагается сотовый заполнитель, который может состоять, например, из бумаги, пропитанной синтетической смолой. Препреги представляют собой листы волокнистого материала, пропитанного синтетической смолой. Очевидно, что при таком строении не представляется возможным крепить детали конструкции, например, такие как держатели, к многослойному элементу посредством стандартных способов соединения (например, винтами), поскольку для стандартных крепежных элементов в многослойном материале не найдется достаточной опоры. Поэтому в тех местах многослойного компонента, где должны быть установлены детали конструкции, используют вставки, что является известным приемом. Вставка, в частности, представляет собой деталь в виде втулки, которую вводят в отверстие, предварительно выполненное в многослойном компоненте, и затем вклеивают в указанное отверстие. Прочность склейки играет важную роль в отношении способности поглощения или передачи усилий по линии передачи сил от многослойного компонента через вставку на деталь конструкции, например держатель. К факторам, влияющим на нагрузочную способность склейки, относятся, например, прочность используемого клеящего материала, толщина препрега и сотового заполнителя, а также геометрия самой вставки.
Известны различные приемы увеличения прочности соединения вставок в целях увеличения способности передачи усилий. Например, для крепления определенной детали вместо одиночной вставки можно использовать несколько вставок, так чтобы на каждую индивидуальную вставку приходилась меньшая доля при передаче общего усилия. Кроме того, в том месте, где должна быть поставлена вставка, наружная обшивка многослойного компонента может быть укреплена путем использования двойного препрега. Наконец, в область вокруг вставки можно ввести заполняющий компаунд, т.е. полости материала сотовой структуры между двумя наружными обшивками многослойного компонента заполнить определенным составом, чтобы увеличить прочность в области склейки. Если всех этих приемов, которые могут применяться в сочетании, окажется не достаточно, тогда в местах вставок многослойный материал можно заменить листовым материалом, выполненным из чисто слоистого материала. Все указанные приемы приводят к заметному увеличению производственных затрат и дополнительному увеличению веса.
Раскрытие изобретения
Задачей настоящего изобретения является создание вставки для многослойного компонента с сотовым заполнителем, которая позволяет заметно увеличить прочность соединения без значительного увеличения производственных затрат и веса.
В соответствии с настоящим изобретением указанная задача решается посредством вставки, отличительные признаки которой изложены в пункте 1 формулы изобретения. Дополнительно к полой цилиндрической втулке, которая именуется далее внутренней втулкой и которая известна в существующих технических решениях вставок, в соответствии с настоящим изобретением вставка содержит наружную втулку, которая располагается соосно внутренней втулке и отстоит от последней в радиальном направлении, при этом внутренняя сторона наружной втулки соединена с наружной стороной внутренней втулки посредством множества радиальных перегородок. Между внутренней втулкой и наружной втулкой образовано множество камер, которые распределены по окружности вставки и (простираясь радиально между внутренней втулкой и наружной втулкой) проходят вдоль оси вставки, при этом каждая камера в направлении окружности вставки ограничена двумя перегородками, следующими друг за другом вдоль указанной окружности. Каждая камера открыта со стороны, по меньшей мере, одного из своих торцов. В некоторые или во все камеры может входить по одному анкерному элементу, при этом у каждого анкерного элемента имеется заостренный конец и тупой конец, причем указанный тупой конец располагается рядом с открытым торцом соответствующей камеры. Анкерные элементы некоторой своей частью заостренным концом вперед могут выходить из соответствующих камер через множество выходных отверстий на боковой поверхности наружной втулки. Толкатель, который можно вводить через открытые торцы камер в осевом направлении в указанные камеры, выполнен так, что при вводе в камеры толкатель входит в контакт с тупыми концами анкерных элементов, вызывая перемещение последних. Направляющие устройства в каждой камере, содержащей анкерный элемент, обеспечивают то, что при перемещении анкерных элементов, вызванном вводом толкателя в камеры, анкерные элементы выходят острыми концами вперед через выходные отверстия радиально из камер. Таким образом, во вставке, соответствующей настоящему изобретению, в окончательно установленном виде анкерные элементы выступают радиально из вставки в сотовый заполнитель многослойного компонента. В результате, с одной стороны, достигается улучшенная фиксация вставки в многослойном компоненте, а с другой стороны, заметно увеличивается диаметр склейки, который возрастает при последующем вклеивании вставки в многослойный компонент. Благодаря увеличенному диаметру склейки, в частности, за счет соответствующих изобретению анкерных элементов вставки, значительно увеличивается прочность соединения вставки с многослойным компонентом.
Желательно, чтобы по окружности вставки были предусмотрены, по меньшей мере, три анкерных элемента, расположенные звездообразно. Особо желательно использовать пять или шесть анкерных элементов, поскольку, согласно изобретению, получаемый эффект очевидно становится значительнее с увеличением числа анкерных элементов, и равномернее становится распределение усилий.
Согласно изобретению в предпочтительных вариантах осуществления вставки каждый анкерный элемент входит в соответствующую камеру по существу вертикально, а после выхода через соответствующее выходное отверстие, обусловленного его перемещением, принимает, по существу, горизонтальное положение. Термины «вертикальное» и «горизонтальное» соотносятся здесь с горизонтально расположенным многослойным компонентом, в который вставка входит, как показано на прилагаемых чертежах. Фраза «входит по существу вертикально» не означает, что анкерный элемент должен входить в камеру идеально вертикально, наоборот, данное выражение включает случай наклонного положения анкерного элемента в камере, которое, в сущности, все-таки является вертикальным по сравнению с его последующим горизонтальным положением. Аналогично, выражение «по существу, горизонтальное положение» не означает, что анкерный элемент после перемещения должен располагаться идеально горизонтально, напротив, для получения желаемого результата вполне достаточно иметь заметно более горизонтальное положение по сравнению с предыдущим вертикальным положением.
Как уже отмечалось, у каждого анкерного элемента имеется заостренный конец, чтобы он мог эффективно внедряться в сотовый заполнитель, при этом причиняя структуре сотового заполнителя минимальные повреждения. Тупой конец каждого анкерного элемента служит в качестве точки контакта с толкателем, вызывающим перемещение анкерного элемента. В соответствии с предпочтительным вариантом конструкции каждый анкерный элемент выполнен в форме наконечника стрелы и имеет треугольное поперечное сечение. Другими словами, начиная от фактически точечной вершины, треугольное поперечное сечение такого анкерного элемента постепенно увеличивается, при этом не обязательно, чтобы анкерный элемент был полностью закрытым, напротив, он может быть открыт, например, с нижней стороны, так чтобы происходило смещение как можно меньшего объема материала при его внедрении в сотовый заполнитель. Но, даже если анкерные элементы имеют полностью закрытую конструкцию, желательно, чтобы они были пустотелыми для экономии веса.
Согласно изобретению в предпочтительных вариантах осуществления вставки направляющие элементы в каждой камере, содержащей анкерный элемент, содержат направляющие ребра, которые выступают в камеру от перегородок, ограничивающих камеру в боковом направлении, и проходят в осевом направлении. Желательно, чтобы направляющие ребра проходили в осевом направлении до области выходных отверстий, но полностью указанные отверстия не перекрывали. Это гарантирует, что анкерные элементы в конечной фазе своего перемещения не будут оставаться в зацеплении с направляющими ребрами.
Если направляющие устройства содержат направляющие ребра, то желательно, чтобы эти ребра взаимодействовали с направляющими вырезами, образованными на соответствующем анкерном элементе. Согласно предпочтительному варианту осуществления в этом случае в направляющих вырезах каждого анкерного элемента предусматривается достаточный люфт относительно направляющих ребер, чтобы дать возможность анкерным элементам при их перемещении, вызванном вводом толкателя в камеры, поворачиваться от, по существу, вертикального положения в сторону горизонтального положения. Таким образом, каждый анкерный элемент получает направление за счет взаимодействия направляющих вырезов с направляющими ребрами и, тем не менее, может принимать все более горизонтальное положение после того, как его вершина выйдет из соответствующего выходного отверстия.
Согласно изобретению в предпочтительных вариантах осуществления вставки направляющие устройства в каждой камере, содержащей анкерный элемент, дополнительно содержат наклонный выступ, который расположен в зоне выходных отверстий, но не перекрывается направляющими ребрами (т.е., если выходное отверстие спроектировать на плоскость направляющих ребер, то в месте расположения наклонного выступа направляющие ребра отсутствуют). Указанный наклонный выступ расположен так, что анкерный элемент в конечной фазе своего перемещения вступает в контакт с наклонным выступом и, скользя, перемещается по нему, выдвигаясь радиально наружу. Таким образом, наклонный выступ «выталкивает» анкерный элемент радиально наружу, однако, при этом анкерный элемент из камеры целиком не выходит. Например, в конечном положении анкерного элемента по окончанию его перемещения две трети или три четверти его длины могут выступать из выходного отверстия, в то время как остальная часть анкерного элемента будет по-прежнему оставаться в камере.
Желательно, чтобы упомянутые наклонные выступы были неподвижно закреплены на наружной стороне внутренней пустотелой цилиндрической втулки. Тогда тупой конец каждого анкерного элемента в конечной фазе его перемещения (когда он уже не находится в зацеплении с направляющими ребрами) движется по наклонному выступу и при дальнейшем перемещении соскальзывает с него, выдвигаясь радиально наружу.
В соответствии с предпочтительным вариантом осуществления в число направляющих устройств каждой камеры, содержащей анкерный элемент, входит упор, который расположен на краю соответствующего выходного отверстия, обращен к заостренному концу анкерного элемента и выполнен с возможностью задавать направление заостренному концу анкерного элемента в начальной фазе его движения наружу через соответствующее выходное отверстие. В предпочтительном варианте осуществления упор в конечной фазе перемещения анкерного элемента фиксирует окончательное горизонтальное положение анкерного элемента. Упор в данном случае действует в качестве стопора, к которому посредством толкателя поджимается анкерный элемент.
Чтобы в соответствии с настоящим изобретением облегчить вклеивание вставки в многослойный компонент, в крышке толкателя, которая закрывает обращенные к толкателю открытые торцы камер, предусмотрены впускные отверстия, которые проходят сквозь крышку и сообщаются с камерами. В камеры через указанные отверстия можно легко ввести клеящий материал, который поступит вниз в камеры, пройдет поверх горизонтально расположенных анкерных элементов и выйдет в окружающую область сотового заполнителя, что приведет к склеиванию по большой общей площади, и диаметр склейки будет увеличен по сравнению со вставками традиционной конструкции.
Краткое описание чертежей
Примеры предпочтительных вариантов осуществления вставки согласно настоящему изобретению будут подробнее описаны ниже со ссылками на прилагаемые чертежи, на которых:
фиг.1 представляет собой вид сверху вставки, соответствующей настоящему изобретению,
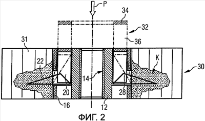
фиг.2 представляет собой вертикальное сечение вставки фиг.1, причем анкерные элементы вставки изображены в исходном и конечном положениях,
фиг.3а представляет собой вид сверху анкерного элемента вставки фиг.1,
фиг.3b представляет собой трехмерное изображение вставки фиг.3а,
фиг.3с также представляет собой вид сверху анкерного элемента вставки, соответствующий фиг.3а, но с более детальным изображением,
фиг.4 представляет собой вид сверху, аналогичный фиг.1 и поясняющий взаимодействие анкерного элемента и вставки,
фиг.5 представляет собой осевое сечение А-А фиг.4 по камере вставки, содержащей анкерный элемент,
фиг.6 представляет собой вид сверху толкателя, показанного на фиг.2.
Осуществление изобретения
На фиг.1 на виде сверху показана вставка, которая в целом обозначена индексом 10. Вставка 10 представляет собой деталь, которая позволяет к многослойному компоненту с сотовым заполнителем крепить другие детали, например держатель, таким способом, чтобы происходила передача усилий между многослойным компонентом и указанной другой деталью. Таким образом, вставка представляет собой точку присоединения другой детали к многослойному компоненту.
Вставка 10 содержит внутреннюю пустотелую цилиндрическую втулку 12, при этом ее сквозное отверстие 14 может быть конструктивно выполнено, например, в виде резьбового отверстия. Соосно с внутренней втулкой 12 расположена отстоящая от нее в радиальном направлении наружная, также полая цилиндрическая втулка 16, внутренняя сторона которой соединена с наружной стороной внутренней втулки 12 посредством множества (в данном случае шести) радиальных перегородок 18. Внутренняя втулка 12, наружная втулка 16 и перегородки 18, соединяющие две втулки 12, 16, образуют основу конструкции вставки 10.
Между внутренней втулкой 12 и наружной втулкой 16 образовано несколько (в данном случае шесть) камер 20, каждая из которых в боковом направлении ограничена двумя перегородками 18, при этом камеры 20, следуя друг за другом по окружности, вытянуты в осевом направлении. В представленном примере варианта осуществления изобретения (фиг.1 и 2) со стороны своих торцов все камеры 20 открыты, но они также могут быть и закрытыми с нижних своих сторон.
В каждой камере 20 располагается анкерный элемент 22, более подробно показанный на фиг.3. У каждого анкерного элемента 22 имеется заостренный конец 24 и тупой конец 26. В представленном примере варианта осуществления анкерные элементы 22 выполнены из листовой стали и в сечении имеют, по существу, форму треугольника, открытого с нижней стороны. Соответственно, по общей форме каждый анкерный элемент 22 напоминает наконечник стрелы.
Исходно анкерные элементы 22 вводят в камеры 20, по существу в вертикальном положении, таким образом, что их тупые концы 26 располагаются рядом с верхними открытыми торцами соответствующих камер 20, в то время как их заостренные концы 24 располагаются вблизи выходных отверстий 28 (см. также фиг.5) камер 20, причем указанные отверстия находятся на боковой поверхности наружной втулки 16. Такое исходное положение каждого анкерного элемента 22 показано на фиг.2 в виде пунктирной контурной линии. Видно, что анкерные элементы 22 в исходном положении расположены в камерах 20 с небольшим наклоном.
Из фиг.2 видно, что в установленном положении вставка 10 внедрена в многослойный компонент 30 с сотовым заполнителем 31. Перед тем как будет установлена вставка 10, в многослойном компоненте 30 выполняют отверстие, диаметр которого чуть больше наружного диаметра наружной втулки 16 вставки 10. Затем вставку 10 вставляют в указанное отверстие, после чего приклеивают к многослойному компоненту 30.
Чтобы получить более прочную фиксацию вставки 10 в многослойном компоненте 30 и больший диаметр склейки, что увеличивает прочность соединения вставки 10 с многослойным компонентом 30, анкерные элементы 22 следует перевести из их исходного положения, показанного на фиг.2 пунктирными линиями, в их конечное положение, показанное на фиг.2 сплошными линиями, при котором анкерные элементы располагаются горизонтально и выступают из вставки 10 в радиальном направлении на большую часть своей длины.
Перевод анкерных элементов 22 из исходного положения в конечное положение достигается путем их перемещения, которое выполняют толкателем 32, который на осевом сечении по фиг.2 показан пунктирными линиями и который может быть введен во вставку 10 сверху. На фиг.6 более наглядно показано, что толкатель 32 содержит кольцевую крышку 34. От нижней стороны крышки в осевом направлении отходят несколько групп пар перегородок 36, ширина которых по существу соответствует, по меньшей мере, ширине кольца, из которого выполнена крышка 34. Каждая группа из двух взаимно параллельных перегородок 36 построена таким образом, что может проникать в соответствующую камеру 20 и там вступать в контакт с тупым концом анкерного элемента 22, расположенного в камере 20, с целью перемещения указанного анкерного элемента. Таким образом, в представленном примере варианта осуществления имеются шесть групп перегородок 36, соответствующих числу камер 20. Перегородки 36 служат в качестве толкающих элементов, посредством которых осуществляется перемещение анкерных элементов 22 в процессе введения толкателя 32 в направлении стрелки Р.
Чтобы анкерные элементы 22 из их начального, по существу, вертикального положения согласно фиг.2 были переведены заданным образом в конечное горизонтальное положение, каждая камера 20 содержит направляющие устройства. Эти направляющие устройства в каждом случае содержат два направляющих ребра 38, которые выступают от каждой из перегородок 18, ограничивающих в боковом направлении камеру 20, внутрь указанной камеры 20 (см. фиг.4). Таким образом, каждое направляющее ребро 38 проходит в осевом направлении вдоль перегородки 18 и выступает от перегородки 18 в камеру 20. Из фиг.5 видно, что направляющие ребра 38 доходят до области выходного отверстия 28 камеры 20, но не перекрывают выходное отверстие 28.
Для того, чтобы анкерный элемент 22 мог взаимодействовать с направляющими ребрами 38, на нем имеются два направляющих выреза 40, которые (см. фиг.3с) получены за счет выступа 42 с Т-образным поперечным сечением, прикрепленного к тупому концу 26 анкерного элемента 42. Когда анкерный элемент 22 находится в исходном положении, направляющие ребра 38 входят в направляющие вырезы 40.
В число направляющих устройств, присутствующих в каждой камере 20, где установлен анкерный элемент 22, входит упор 44, который согласно фиг.2 и 5 предусмотрен в зоне нижнего края выходного отверстия 28 и выступает от наружного края камеры 20 радиально внутрь камеры 20. Когда анкерный элемент 22 находится в исходном положении, его острый конец 24 стоит на упоре 44 вблизи выходного отверстия 28.
Наконец, направляющие устройства также включают в себя наклонный выступ 46, который прикреплен к внутреннему краю камеры 20 и вытянут в осевом направлении камеры 20 в той ее области, которая перекрывается выходным отверстием 28, но которая не перекрыта направляющими ребрами 38 (см. фиг.5). Относительно камеры 20 наклонный выступ 46 начинается в осевом направлении, приблизительно там, где заканчиваются направляющие ребра 38. Желательно, чтобы он начинался немного ниже этой точки. Затем от направляющих ребер 38 наклонный выступ 46 идет в осевом направлении, радиально все больше выступая внутрь камеры 20. Наклонный выступ 46 максимально выступает в радиальном направлении приблизительно в той точке (желательно, несколько ниже), где (если смотреть в осевом направлении) располагается упор 44.
Далее более подробно будет описана очередность движений, которая имеет место при ведении толкателя 32 в вставку 10. Как уже говорилось, при введении толкателя 32 в камеры 20, которые открыты со стороны верхнего торца, сначала группы перегородок 36 входят в контакт с тупым концом 26 каждого анкерного элемента 22. Дальнейшее продвижение толкателя 32 в направлении стрелки Р обеспечивает перемещение анкерных элементов 22 вниз и радиально наружу. При этом упоры 44 в начальной фазе перемещения обеспечивают выход заостренных концов 24 анкерных элементов 22 из камер 20 в радиальном направлении через соответствующие выходные отверстия 28. Затем при дальнейшем перемещении нижняя сторона каждого анкерного элемента 22 опирается на нижний край соответствующего выходного отверстия 28, в то время как задний, тупой конец 26 направляется в камере 20 таким образом, что его движение вниз контролируется за счет взаимодействия направляющих ребер 38 с направляющими вырезами 40. Между направляющими ребрами 38 и направляющими вырезами 40 имеется достаточный люфт, чтобы дать возможность анкерному элементу 22 при его движении вниз постепенно развернуться от исходного, по существу, вертикального положения до горизонтального положения. В ходе движения заостренные концы 24 анкерных элементов 22 пробивают себе проходы в сотовом заполнителе 31 многослойного компонента 30.
При дальнейшем перемещении вниз анкерных элементов 22, вызванном дальнейшим надавливанием сверху на толкатель 32, направляющие вырезы 40 в конце концов сойдут с направляющих ребер 38, и нижний, тупой конец 26 каждого анкерного элемента 22 будет расположен на наклонном выступе 46. Теперь в завершающей фазе перемещения анкерных элементов 22 последние при дальнейшем надавливании на толкатель 32, соскальзывают вниз своими задними сторонами по наклонным выступам 46, и в результате анкерные элементы 22 выталкиваются радиально из соответствующих камер 20. На фиг.5 штриховой линией показан контур анкерных элементов 22 в их конечном положении, которое достигается, когда задние стороны анкерных элементов 22 полностью сойдут вниз с наклонных выступов 46, и когда перегородки 36 толкателя 32 прижмут анкерные элементы 22 их нижней стороной к упорам 44, в результате чего будет зафиксировано конечное горизонтальное положение анкерных элементов 22. При таком конечном положении приблизительно 2/3-3/4 длины анкерного элемента 22 будет выступать радиально из вставки 10. Таким образом, если смотреть сверху, анкерные элементы 22 звездообразно выступают из вставки 10 в сотовый заполнитель 31.
Теперь для окончательного закрепления вставки 10 в многослойном компоненте 30 во вставку 10 можно ввести клеящий материал. Это можно сделать через впускные отверстия 48, которые предусмотрены в крышке 34 толкателя 32 и которые сообщаются с расположенной ниже камерой 20. Вводимый клеящий материал поступает вниз в камеру 20 и поверх анкерных элементов 22 выходит из отверстий 28 в сотовый заполнитель 31 (в область К, отмеченную точками на фиг.2) и, таким образом, вклеивает вставку 10 по большой площади и с большим диаметром склейки в многослойном компоненте 30.
Формула изобретения
1. Вставка (10) для многослойного компонента с сотовым заполнителем, содержащая: внутреннюю пустотелую цилиндрическую втулку (12), наружную втулку (16), расположенную соосно внутренней втулке (12) и отстоящую от нее в радиальном направлении, при этом внутренняя сторона наружной втулки соединена с наружной стороной внутренней втулки (12) посредством множества радиальных перегородок (18), множество продольных камер (20), распределенных по окружности вставки между внутренней втулкой (12) и наружной втулкой (16), при этом каждая камера (20) в окружном направлении вставки ограничена двумя перегородками (18), следующими в окружном направлении друг за другом, и открыта, по меньшей мере, на одном из своих торцов, множество анкерных элементов (22), каждый из которых входит в соответствующую камеру (20), при этом каждый анкерный элемент (22) имеет заостренный конец (24) и тупой конец (26), причем указанный тупой конец расположен рядом с открытым торцом камеры (20), множество выходных отверстий (28) на боковой поверхности наружной втулки (16), через которые может выходить, заостренным концом (24) вперед из соответствующей камеры (20), часть каждого анкерного элемента (22), толкатель (32), вводимый в осевом направлении в камеры (20) через их открытые торцы и выполненный таким образом, что при вводе в камеры (20) толкатель входит в контакт с тупыми концами (26) анкерных элементов (22) и перемещает указанные анкерные элементы, и направляющие устройства в каждой камере (20), содержащей анкерный элемент (22), которые при перемещении анкерных элементов (22), вызванном вводом толкателя (32) в камеры (20), обеспечивают выход анкерных элементов заостренными концами (24) вперед через выходные отверстия (28) радиально наружу из камер (20).
2. Вставка по п.1, отличающаяся тем, что предусмотрены, по меньшей мере, три анкерных элемента (22), распределенные по окружности вставки.
3. Вставка по п.1, отличающаяся тем, что каждый анкерный элемент (22) входит в соответствующую камеру (20), по существу, вертикально, а после выхода через соответствующее выходное отверстие (28), в результате его перемещения, принимает, по существу, горизонтальное положение.
4. Вставка по п.1, отличающаяся тем, что каждый анкерный элемент (22) выполнен в форме наконечника стрелы и имеет треугольное поперечное сечение.
5. Вставка по п.1, отличающаяся тем, что анкерные элементы (22) выполнены полыми.
6. Вставка по любому из предшествующих пунктов, отличающаяся тем, что направляющие устройства в каждой камере (20), содержащей анкерный элемент (22), содержат направляющие ребра (38), которые выступают в камеру (20) от перегородок (18), ограничивающих сбоку камеру (20), и проходят в осевом направлении.
7. Вставка по п.6, отличающаяся тем, что направляющие ребра (38) проходят в осевом направлении до области выходных отверстий (28) без полного перекрытия указанных отверстий.
8. Вставка по п.6, отличающаяся тем, что направляющие ребра (38) выполнены с возможностью взаимодействия с направляющими вырезами (40), сформированными на соответствующем анкерном элементе (22).
9. Вставка по п.8, отличающаяся тем, что в направляющих вырезах (40) каждого анкерного элемента (22) предусмотрен люфт относительно направляющих ребер (38), достаточный для обеспечения возможности анкерным элементам (22) при их перемещении, вызванном вводом толкателя (32) в камеры (20), развернуться от исходного, по существу, вертикального положения в горизонтальное положение.
10. Вставка по любому из пп.7-9, отличающаяся тем, что направляющие устройства в каждой камере (20), содержащей анкерный элемент (22), дополнительно содержат наклонный выступ (46), который расположен в области выходных отверстий (28) и не перекрывается направляющими ребрами (38), при этом анкерный элемент (22) в конечной фазе своего перемещения входит в скользящий контакт с наклонным выступом (46) и перемещается по нему радиально наружу.
11. Вставка по п.10, отличающаяся тем, что наклонные выступы (46) прикреплены к наружной стороне внутренней пустотелой цилиндрической втулки (12).
12. Вставка по п.1, отличающаяся тем, что направляющие устройства каждой камеры (20), содержащей анкерный элемент (22), включают в себя упор (44), который расположен на краю соответствующего выходного отверстия (28), обращен к заостренному концу (24) анкерного элемента (22) и выполнен с возможностью направлять заостренный конец (24) анкерного элемента (22) в начальной фазе его движения наружу, через соответствующее выходное отверстие (28).
13. Вставка по п.12, отличающаяся тем, что упор (44) в конечной фазе перемещения анкерного элемента (22) фиксирует окончательное горизонтальное положение анкерного элемента (22).
14. Вставка по п.1, отличающаяся тем, что толкатель (32) содержит в крышке (34), закрывающей камеры (20), впускные отверстия (48), которые сообщаются с камерами (20).
РИСУНКИ
|
|