|
|
(21), (22) Заявка: 2008139642/06, 07.10.2008
(24) Дата начала отсчета срока действия патента:
07.10.2008
(46) Опубликовано: 10.01.2010
(56) Список документов, цитированных в отчете о поиске:
RU 2260712 C1, 20.09.2005. RU 2167339 C2, 20.05.2001. US 3099222, 10.05.1962. DE 4320529 A1, 23.12.1993. US 2613610 A, 14.10.1952.
Адрес для переписки:
121165, Москва, Г-165, а/я 15, ООО “ППФ-ЮСТИС”
|
(72) Автор(ы):
Андрианов Александр Васильевич (RU), Гузельбаев Яхия Зиннатович (RU), Еранов Андрей Павлович (RU), Сусликов Эдуард Вячеславович (RU)
(73) Патентообладатель(и):
Закрытое акционерное общество “Научно-исследовательский и конструкторский институт центробежных и роторных компрессоров им. В.Б. Шнеппа” (RU)
|
(54) СИЛЬФОННЫЙ КОМПРЕССОР С ПРИВОДОМ ОТ ЭЛЕКТРИЧЕСКОГО РАЗРЯДА
(57) Реферат:
Устройство предназначено для использования в области компрессоростроения, может использоваться в качестве насоса, а также может найти применение в системах создания вакуума и других объектах техники. Представляет собой цилиндр с баком и блоком управления. Внутри цилиндра находятся два соосно соединенных между собой сильфона, разделенные перегородкой таким образом, что их полости не сообщаются. На основаниях цилиндра со стороны неподвижных концов сильфонов выполнено по два отверстия с впускным и выпускным клапанами. Перегородка продольно перемещается по направляющим, расположенным на внутренней поверхности цилиндра. На концах направляющих имеются упоры для ограничения хода перегородки. Пространство между сильфонами и цилиндром заполнено непроводящей жидкостью (например, дистиллированной водой) и разделяется перегородкой на две полости, в которые введены, как минимум, по паре электродов, между которыми происходит разряд. Бак с жидкостью соединен с цилиндром трубками определенного диаметра, в которых имеются электроклапаны, обеспечивающие сообщение между баком и полостями с жидкостью. Управление разрядом на электродах и электроклапанами осуществляется от блока управления. Достигается высокая степень откачки и производительность, не требуется смазка и антифрикционное покрытие. 2 з.п. ф-лы, 2 ил.
Устройство предназначено для использования в области компрессоростроения, может использоваться в качестве насоса, а также может найти применение в системах создания вакуума и других объектах техники.
Наиболее близкой по конструкции к предлагаемому техническому решению является конструкция сильфонного двухступенчатого безмасляного насоса (патент RU 2260712 С1, опубл. 20.09.2005), содержащего сильфонный элемент, на одном конце которого выполнено впускное отверстие с клапаном, а на другом – выпускное отверстие с клапаном. Сильфонный элемент состоит из двух соосно соединенных между собой сильфонов, разделенных перегородкой, на которой закреплен полый поршень, имеющий на противоположных торцах впускной и выпускной клапаны. Насос снабжен закрепленной на перегородке, по меньшей мере, одной кареткой, выполненной с возможностью перемещения по направляющей.
Недостатком известного технического решения являются невысокие степень откачки и производительность.
Технической задачей предлагаемого изобретения является создание сильфонного компрессора с приводом от электрического разряда с более высокими степенью откачки (при использовании в качестве насоса) и производительностью, не требующего смазки и антифрикционных покрытий и имеющего большой срок службы.
Поставленная задача решается за счет того, что в сильфонном компрессоре, содержащем два соосно соединенных между собой сильфона, разделенных подвижной перегородкой, сильфоны расположены в цилиндре и закреплены своими неподвижными концами на основаниях цилиндра, в каждом из которых выполнено по два отверстия с впускным и выпускным клапанами, подвижная перегородка выполнена сплошной, по меньшей мере, на ее части, разделяющей полости сильфонов, и разделяет полости сильфонов и пространство между сильфонами и цилиндром, которое заполнено непроводящей жидкостью (например, дистиллированнолй водой) и в котором по разные стороны от перегородки введены, по меньшей мере, по одной паре электродов, с цилиндром посредством трубок с электроклапанами соединен бак с жидкостью, а компрессор снабжен блоком управления, соединенным с электродами и с электроклапанами с возможностью поочередного осуществления электрических разрядов на электродах и открытия и закрытия электроклапанов.
Смазкой между перегородкой и поверхностями, по которым она перемещается, является жидкость, в которой происходит разряд.
В предпочтительном варианте на внутренней поверхности цилиндра имеются направляющие, выполненные с возможностью продольного перемещения перегородки, и упоры, расположенные по разные стороны от перегородки и ограничивающие ее ход.
Перегородка в своей части, контактирующей с жидкостью, может иметь отверстия.
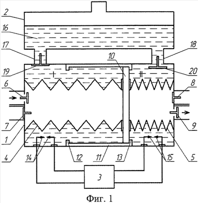
Сущность изобретения поясняется чертежами, где на фиг.1, 2 показаны стадии работы сильфонного компрессора с приводом от электрического разряда.
Сильфонный компрессор состоит из цилиндра 1, бака 2 и блока управления 3. Внутри цилиндра 1 находятся два идентичных сильфона 4 и 5. Сильфон 4 (так же, как и сильфон 5) со стороны неподвижного конца имеет два отверстия с впускным 6 (8) и выпускным 7 (9) клапанами. Перегородка 10, разделяющая сильфоны 4 и 5 и жестко соединенная с ними со стороны подвижных концов, а также разделяющая пространство между сильфонами 4, 5 и цилиндром 1, перемещается вдоль направляющих 11, имеющих на концах упоры 12, 13, ограничивающие ход перегородки 10. Возвратно-поступательное перемещение перегородки 10 осуществляется посредством поочередных электрических разрядов на электродах 14, 15 в непроводящей жидкости 16, поступающей из бака 2 через трубки 17, 18, в которых находятся управляемые электроклапаны 19, 20. Управление электрическими разрядами на электродах 14, 15 и электроклапанами 19, 20 осуществляется от блока управления 3.
Работа компрессора осуществляется следующим образом.
На фиг.1 показано положение перечисленных функциональных элементов компрессора, когда перегородка 10 находится в крайнем правом положении. При этом в результате пониженного давления внутри растянутого сильфона 4 относительно давления всасывания и давления нагнетания впускной клапан 6 открыт, а выпускной клапан 7 закрыт, а в результате повышенного давления в сжатом сильфоне 5 относительно давления всасывания и нагнетания впускной клапан 8 закрыт, выпускной клапан 9 открыт. Электроклапан 20 открыт, электроклапан 19 закрыт.
Далее от блока 3 управления закрывается электроклапан 20, а элоктроклапан 19 открывается, и на электроды 15 подается импульс высокого напряжения, в результате которого между электродами происходит электрический разряд, под действием которого в зоне электродов 15 за счет большой плотности энергии происходит импульсное парообразование жидкости 16, приводящее к увеличению давления внутри полости II, что вызывает осевое перемещение перегородки 10 с сильфонами 4 и 5 таким образом, что сильфон 4 сжимается, а сильфон 5 растягивается, происходит выдавливание жидкости и пара из полости 1 через открытый электроклапан 19, трубку 17 в бак 2 и одновременно сжатие газа внутри сильфона 4, в результате чего закрывается впускной клапан 6 и открывается выпускной клапан 7, а в растягивающемся сильфоне 5 открывается впускной клапан 8 и закрывается выпускной клапан 9.
На фиг.2 показано положение перечисленных функциональных элементов компрессора, когда перегородка 10 находится в крайнем левом положении. При этом электроклапан 19 открыт, электроклапан 20 закрыт. Выпускной клапан 7 в сильфоне 4 открыт, а впускной клапан 6 закрыт, в сильфоне 5 выпускной клапан 9 закрыт, а впускной клапан 8 открыт.
Далее от блока управления 3 закрывается электроклапан 19, а электроклапан 20 открывается, и на электроды 14 подается импульс высокого напряжения, в результате которого между электродами происходит электрический разряд, под действием которого в зоне электродов 14 за счет большой плотности энергии происходит импульсное парообразование жидкости 16, приводящее к увеличению давления внутри полости I, что вызывает осевое перемещение перегородки 10 с сильфонами 4 и 5 таким образом, что сильфон 4 растягивается, а сильфон 5 сжимается, происходит выдавливание жидкости и пара из полости II через открытый электроклапан 20, трубку 18 в бак 2 и одновременно сжатие газа внутри сильфона 5, в результате чего закрывается впускной клапан 8 и открывается выпускной клапан 9, а в растягивающемся сильфоне 4 открывается впускной клапан 6 и закрывается выпускной клапан 7.
После чего рассмотренная последовательность повторяется.
Формула изобретения
1. Сильфонный компрессор, содержащий два соосно соединенных между собой сильфона, разделенных подвижной перегородкой, отличающийся тем, что сильфоны расположены в цилиндре и закреплены своими неподвижными концами на основаниях цилиндра, в каждом из которых выполнено по два отверстия с впускным и выпускным клапанами, подвижная перегородка выполнена сплошной по меньшей мере на ее части, разделяющей полости сильфонов, и разделяет полости сильфонов и пространство между сильфонами и цилиндром, которое заполнено непроводящей жидкостью и в котором по разные стороны от перегородки введены по меньшей мере по одной паре электродов, с цилиндром посредством трубок с электроклапанами соединен бак с жидкостью, а компрессор снабжен блоком управления, соединенным с электродами и с электроклапанами с возможностью поочередного осуществления электрических разрядов на электродах и открытия и закрытия электроклапанов.
2. Компрессор по п.1, отличающийся тем, что на внутренней поверхности цилиндра имеются направляющие, выполненные с возможностью продольного перемещения перегородки, и упоры, расположенные по разные стороны от перегородки, ограничивающие ее ход.
3. Компрессор по п.1, отличающийся тем, что в части перегородки, которая контактирует с жидкостью, выполнены отверстия.
РИСУНКИ
|
|