|
|
(21), (22) Заявка: 2007121772/06, 29.11.2005
(24) Дата начала отсчета срока действия патента:
29.11.2005
(30) Конвенционный приоритет:
23.12.2004 DE 102004062307.4
(43) Дата публикации заявки: 27.01.2009
(46) Опубликовано: 10.01.2010
(56) Список документов, цитированных в отчете о поиске:
GB 1222425 A, 10.02.1971. SU 1488549 A, 23.06.1989. ЕР 0909895 А, 21.04.1999.
(85) Дата перевода заявки PCT на национальную фазу:
23.07.2007
(86) Заявка PCT:
EP 2005/056304 20051129
(87) Публикация PCT:
WO 2006/069875 20060706
Адрес для переписки:
191186, Санкт-Петербург, а/я 230, “АРС-ПАТЕНТ”, пат.пов. В.М.Рыбакову, рег. 90
|
(72) Автор(ы):
ХЭЛЛЬ Эрих (DE), ШУБЕРТ Ян-Григор (DE)
(73) Патентообладатель(и):
БСХ БОШ УНД СИМЕНС ХАУСГЕРЕТЕ ГМБХ (DE)
|
(54) ЛИНЕЙНЫЙ КОМПРЕССОР
(57) Реферат:
Устройство предназначено для использования в области компрессоростроения для сжатия холодильного агента в холодильном устройстве. Линейный компрессор, включающий в себя жесткую рамку (11, 12, 13), в которой при помощи по меньшей мере одной мембраны (9) поддерживается с возможностью возвратно-поступательного движения колеблющееся тело (16) и установлен по меньшей мере один электромагнит (14, 15) для приведения колеблющегося тела (16) в возвратно-поступательное движение, и образующую часть этой рамки нагнетательную камеру (13), в которой совершает возвратно-поступательное движение связанный с колеблющимся телом (16) поршень. Рамка (11, 12, 13) смонтирована с возможностью колебательного движения на крепежном каркасе (1), фиксирующем линейный компрессор на носителе, при помощи мембраны (5, 7, 9), расположенной перпендикулярно направлению движения колеблющегося тела (16). Мембрана (5, 7, 9) является цельной мембраной, которая включает в себя мембрану (9), соединяющую колеблющееся тело (16) с рамкой (11, 12). Упрощается сборка компрессора, повышается технологичность конструкции. 10 з.п. ф-лы, 3 ил.
Область техники
Данное изобретение относится к линейному компрессору, применяемому, в частности, для сжатия холодильного агента в холодильном устройстве.
Уровень техники
Из патентного документа US 6642377 B2 известен линейный компрессор, включающий в себя нагнетательную камеру, в которой с возможностью возвратно-поступательного движения смонтирован поршень, связанную с нагнетательной камерой рамку, в которой посредством по меньшей мере одной пружины поддерживается с возможностью возвратно-поступательного движения связанное с поршнем колеблющееся тело, и по меньшей мере один установленный в рамке электромагнит для привода возвратно-поступательного движения колеблющегося тела.
Колебательное силовое воздействие, оказываемое магнитом на колеблющееся тело, вызывает соответствующее колебательное противодействие, которое рамка оказывает на крепление, на котором она смонтирована. Это колебательное противодействие, если оно не компенсируется, может вызывать колебания крепления или других связанных с ним деталей, которые воспринимаются пользователем как эксплуатационный шум.
Чтобы такие колебания оставались незначительными, в известном линейном компрессоре взаимодействуют два поршня, которые входят в нагнетательную камеру с двух сторон. Если эти поршни имеют равные массы и поддержаны пружинами равной силы, то имеется возможность управлять приводным электромагнитом каждого поршня таким образом, чтобы поршни колебались точно в противофазе, так, чтобы вызванные ими действующие на рамку силы противодействия компенсировали друг друга.
Такой линейный компрессор оказывается дорогим в изготовлении, так как поршни и соединенные с ними средства привода должны иметься в двойном количестве. Но трудно также и обеспечивать точное зеркально-симметричное движение двух поршней, так как обусловленное изготовлением расхождение значений колеблющихся масс и, прежде всего, жесткости поддерживающих их пружин приводит к различию собственных частот двух поршней. Из этого следуют, при возбуждении магнитов с обеих сторон одним и тем же переменным током, различные амплитуды и фазы перемещения поршней.
Правда, возможно также реализовать линейный компрессор с единственным колеблющимся поршнем, в котором передача противодействия рамки на крепление компрессора ограничена тем, что рамка со своей стороны имеет возможность колебательного движения относительно крепления, однако для такого линейного компрессора требуется большое количество пружин, которые делают сборку такого линейного компрессора продолжительной и дорогой.
Дальнейшей проблемой при креплении на пружинах является то, что большинство типов пружин, если они расположены так, чтобы препятствовать движению рамки параллельно направлению колебания колеблющегося тела, легко деформируются в поперечном направлении, так что рамка может раскачаться до значительной амплитуды, если не подавлять ее колебания при помощи дополнительных пружин, создающих опоры с боков, или при помощи направляющих шин.
Раскрытие изобретения
Задачей данного изобретения является создание линейного компрессора, который простыми средствами предотвращает чрезмерную передачу колебаний на носитель, на котором укреплен линейный компрессор.
Задача решена благодаря тому, что рамка с возможностью колебательного движения связана с крепежным каркасом, который служит для монтажа линейного компрессора на внешнем носителе, посредством мембраны, направленной поперек направления движения колеблющегося тела. Такая мембрана деформируется в направлении движения колеблющегося тела существенно легче, чем в поперечном направлении, так что раскачивание компрессора в плоскости, поперечной относительно направления колебательного движения, эффективно подавляется без необходимости применения для этого жесткого соединения между каркасом-креплением и рамкой в поперечном направлении.
Для обеспечения точного линейного движения рамки относительно крепежного каркаса с использованием небольшого количества деталей предпочтительно два противоположных друг другу конца мембран закреплены на крепежном каркасе, а участок, расположенный между ними, закреплен на рамке.
Если центр тяжести колеблющегося тела и центр тяжести рамки лежат на одной линии, проходящей по направлению движения колеблющегося тела, то колебание колеблющегося тела в рамке инициирует только силы противодействия, ориентированные в направлении движения, но не колебательные крутящие моменты, которые могли бы вызывать раскачивание рамки.
С целью ограничения передачи колебаний, не только в виде вибрационного шума, но и по воздуху, крепежный каркас предпочтительно выполнен в форме корпуса, окружающего нагнетательную камеру и рамку.
Чтобы при незначительных габаритных размерах мембраны достигался ее больший ход, она предпочтительно включает в себя по меньшей мере один изогнутый пружинный рычаг. Особенно предпочтителен пружинный рычаг, изогнутый зигзагообразно, так как он в любом случае вызывает лишь незначительные крутящие моменты между колеблющимися относительно друг друга частями.
Далее, для того чтобы крутящие моменты, возникающие в связи с колебанием мембраны между рамкой и колеблющимся телом, оставались незначительными, целесообразно иметь мембрану, содержащую по меньшей мере два изогнутых рычага, соединяющих рамку с колеблющимся телом, зеркально-симметричных друг к другу относительно плоскости, параллельной направлению движения колеблющегося тела. Крутящие моменты, произведенные такими рычагами, имеют соответственно противоположные направления, так что они компенсируют друг друга.
Если мембрана представляет собой цельную мембрану, включающую в себя также и ту мембрану, которая соединяет колеблющееся тело с рамкой, то стабильная подвесная опора реализуется с использованием минимального количества деталей.
Такая мембрана предпочтительно связана на своем среднем участке с колеблющимся телом, на двух концевых участках – с крепежным каркасом, а в областях, расположенных соответственно между средним участком и концевыми участками, – с рамкой.
Чтобы еще больше препятствовать передаче колебаний на носитель, мембрана может быть связана с крепежным каркасом посредством элемента, демпфирующего колебания.
Чтобы обеспечивать точное линейное перемещение колеблющегося тела, линейный компрессор предпочтительно оборудован второй цельной мембраной, соединяющей колеблющееся тело с рамкой и рамку с крепежным каркасом, причем места воздействия мембран на колеблющееся тело расположены на расстоянии друг от друга в направлении возвратно-поступательного движения.
Для привода колебательного движения служит предпочтительно по меньшей мере одна пара магнитов, расположенных антипараллельно на противоположных сторонах колеблющегося тела и имеющих оси магнитных полей, ориентированные перпендикулярно к направлению движения колеблющегося тела.
Краткий перечень фигур чертежей
Дальнейшие признаки и преимущества изобретения видны из приведенного ниже описания варианта осуществления изобретения, ссылающегося на прилагаемые фигуры чертежей. На них показано следующее:
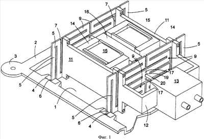
фиг.1: аксонометрическое изображение линейного компрессора согласно изобретению;
фиг.2: вид сверху на мембрану линейного компрессора согласно фиг.1;
фиг.3: аксонометрическое изображение линейного компрессора согласно изобретению по второму варианту осуществления.
Осуществление изобретения
Линейный компрессор, показанный на фиг.1, включает в себя звукоизолирующий корпус, от которого на фигуре частично представлена только одна из двух чаш 1. Чаши соприкасаются по огибающему корпус фланцу 2 и тем самым образуют замкнутую – за исключением непоказанных отверстий для ввода всасывающего трубопровода холодильного агента или напорного трубопровода – оболочку. Во фланце 2 образованы несколько ушек 3 для крепления чаш друг к другу и к носителю, который не показан на чертеже и не считается частью компрессора.
Во внутренней стенке чаши 1 образованы четыре гнезда для амортизаторов 4 из резины, эластичного пенного материала или другого поглощающего колебания материала, из которых видны только те два, которые расположены на обращенном к наблюдателю крае чаши 1. Амортизаторы 4 имеют по одному шлицу, принимающему в себя конечный участок 6 пружинного рычага 5. Каждый пружинный рычаг 5 является частью соответствующей цельной мембраны, изготовленной из пружинной стали путем штамповки и представленной на фиг.2 на виде сверху.
Мембрана имеет два пружинных рычага 5, каждый из которых отходит от вытянутого промежуточного участка 7 и включает в себя два прямолинейных участка 8, параллельных промежуточному участку 7. Другие пружинные рычаги 9 проходят от противоположных концов двух промежуточных участков 7 зигзагообразно к среднему участку 10 мембраны, на котором все четыре пружинных рычага 9 сходятся вместе. Пружинные рычаги 9 имеют по три прямолинейных участка. Каждый пружинный рычаг 9 представляет собой зеркальное отражение двух смежных с ним пружинных рычагов относительно параллельных направлению колебаний плоскостей симметрии, которые обозначены на фиг.2 штрихпунктирными линиями I и II.
Отверстия на концах промежуточных участков 7 служат для крепления рамки, которая состоит из трех элементов: двух стенок 11, которые проходят соответственно между обращенными друг к другу промежуточными участками 7 двух мембран, и скобы 12, которая проходит над пружинными рычагами 9 передней мембраны и в которой расположена нагнетательная камера 13.
Стенки 11 несут на своих обращенных друг к другу сторонах по сердечнику 14, выполненному из магнитомягкой стали, с тремя взаимосвязанными параллельными стержнями, средний из которых на фигуре скрыт катушкой 15 электромагнита, через обмотку которой он проходит.
В промежутке между обращенными друг к другу свободными концами сердечников 14 из магнитомягкой стали установлено колеблющееся тело 16. Средняя часть колеблющегося тела 16, представляющая собой постоянный магнит, по существу заполняет промежуток между сердечниками 14 из магнитомягкой стали. Более узкие конечные части колеблющегося тела 16 поддерживаются в мембранах с помощью винтов или заклепок 17, которые проходят через отверстия 18 в средних участках 10 мембран. Через большее центральное отверстие 19 в той мембране, которая на фигуре обращена к наблюдателю, проходит поршневой шток 20, жестко связывающий колеблющееся тело 16 с непоказанным поршнем, совершающим возвратно-поступательное движение в нагнетательной камере 13.
Средняя часть колеблющегося тела 16 – это стержень, представляющий собой постоянный магнит, ось поля которого совпадает с продольной осью поршневого штока 20 и полюса которого в показанном на фиг.1 положении равновесия выступают наружу, в направлении оси колебаний, из промежутка между сердечниками 14. Катушки 15 электромагнита включены таким образом, что одноименные полюса их полей обращены соответственно друг к другу. При возбуждении катушек 15 электромагнита переменным током к центру промежутка попеременно притягиваются северный полюс или южный полюс постоянного магнита, и вследствие этого колеблющееся тело 16 совершает вынужденные колебания.
Центры тяжести рамки и жестко укрепленных на ней частей, с одной стороны, и колеблющегося тела 16 и поршня, с другой стороны, определяют прямую, параллельную направлению колебания колеблющегося тела 16. Вследствие этого обеспечивается то, что рамка, в результате ее реакции на движение колеблющегося тела, совершает только возвратно-поступательное движение, но вышеупомянутое раскачивание не имеет место.
Колеблющееся тело 16, благодаря его подвеске при помощи четырех пружинных рычагов 9 на каждом из его концов, легко перемещается в направлении поршневого штока 20; в направлении, перпендикулярном к этому, жесткость пружинных рычагов 9 значительно выше, так что колеблющееся тело 16 и вместе с ним поршень надежно приводятся в движение строго в направлении колебаний.
На фиг.3 показан измененный вариант осуществления компрессора согласно изобретению. Тем частям компрессора с фиг.1 и 2, которые на фиг.3 повторяются в идентичном виде, присвоены такие же обозначения, как на фиг.1, и они не описываются заново.
Различие между двумя вариантами осуществления состоит по существу в том, что в варианте по фиг.3 мембраны, несущие колеблющееся тело 16, не продлены за пределы стенок 11, а вместо этого соединение между рамкой и чашей 1 корпуса с возможностью колебательного движения образовано двумя дополнительными мембранами 21, 22. Мембраны 21, 22 не имеют прорезей, в отличие от тех мембран, которые несут колеблющееся тело 16, и поэтому при той же толщине материала значительно жестче последних. В результате этого собственная частота, с которой рамка колеблется относительно корпуса, в случае варианта осуществления, изображенного на фиг.3, существенно выше, чем частота колебания колеблющегося тела 16, так что его движение не вызывает колебания рамки относительно корпуса.
Как и при варианте осуществления согласно фиг.1, мембраны 21, 22 подобным образом введены противоположными длинными концами 23 в пазы корпуса. Средние участки 24 мембран 21, 22 связаны с рамкой компрессора, в случае задней мембраны 21 – через распорки 25, размер которых определяет максимально возможный ход колеблющегося тела 16, а в случае передней плоской мембраны 22 – через два штампованных или просверленных отверстия, сквозь которые проходят всасывающий патрубок и напорный патрубок, соответственно 26 и 27, нагнетательной камеры 13. Зацепление с геометрическим замыканием патрубков 26, 27 с отверстиями мембраны 22 упрощает сборку компрессора, так как оно делает излишним закрепление мембраны 22 в рамке при помощи сварки, заклепок, завинчивания или прочих способов. Мембраны 21, 22 предварительно незначительно напряжены относительно друг друга, так что их конечные области плотно прилегают к соответствующим боковым поверхностям принимающих их пазов корпуса, даже если паз корпуса шире, чем толщина соответствующей мембраны. Поэтому стук, вызванный временно теряемым контактом между мембранами 21, 22 и вышеупомянутыми боковыми поверхностями пазов или между нагнетательной камерой 13 и мембраной 22, исключен.
В месте прохождения патрубков 26, 27 сквозь отверстия мембраны 22 могло бы предусматриваться соединение между ней и нагнетательной камерой 13 также путем вхождения выступа листовой мембраны 22 или нагнетательной камеры 13, имеющего, в принципе, любую форму, в соответствующее ему по форме углубление, находящееся соответственно в нагнетательной камере 13 или в листовой мембране 22, либо соединение с материальным замыканием – например, при помощи точечной сварки.
Формула изобретения
1. Линейный компрессор, включающий в себя жесткую рамку (11, 12, 13), в которой при помощи по меньшей мере одной мембраны (9) поддерживается с возможностью возвратно-поступательного движения колеблющееся тело (16) и установлен по меньшей мере один электромагнит (14, 15) для приведения колеблющегося тела (16) в возвратно-поступательное движение, а также образующую часть этой рамки нагнетательную камеру (13) с помещенным в нее с возможностью возвратно-поступательного движения связанным с колеблющимся телом (16) поршнем, причем рамка (11, 12, 13) соединена с возможностью колебательного движения с крепежным каркасом (1), фиксирующим линейный компрессор на носителе, при помощи мембраны (5, 7, 9), расположенной перпендикулярно направлению движения колеблющегося тела (16), отличающийся тем, что мембрана (5, 7, 9) является цельной мембраной, которая включает в себя мембрану (9), соединяющую колеблющееся тело (16) с рамкой (11, 12).
2. Линейный компрессор по п.1, отличающийся тем, что два противоположных концевых участка мембраны зафиксированы в крепежном каркасе (1), а промежуточный участок прикреплен к рамке.
3. Линейный компрессор по п.1, отличающийся тем, что центр тяжести колеблющегося тела и центр тяжести рамки расположены на одной и той же линии, проходящей в направлении движения колеблющегося тела.
4. Линейный компрессор по п.1, отличающийся тем, что крепежный каркас (1) представляет собой корпус, окружающий нагнетательную камеру (13) и рамку (11, 12).
5. Линейный компрессор по п.1, отличающийся тем, что мембрана (5, 7, 9) включает в себя по меньшей мере один зигзагообразно изогнутый пружинный рычаг (5), который связывает рамку (11, 12) с крепежным каркасом (1).
6. Линейный компрессор по одному из пп.1-5, отличающийся тем, что мембрана (5, 7, 9) на своем среднем участке (10) связана с колеблющимся телом (16), на двух концевых участках (6) связана с крепежным каркасом (1), а в областях (7), расположенных между средним участком (10) и концевыми участками (6), связана с рамкой (11, 12, 13).
7. Линейный компрессор по одному из пп.1-5, отличающийся тем, что мембрана (9), соединяющая колеблющееся тело (16) с рамкой (11, 12, 13), включает в себя зигзагообразно изогнутый пружинный рычаг (9).
8. Линейный компрессор по одному из пп.1-5, отличающийся тем, что мембрана (9), соединяющая колеблющееся тело (16) с рамкой (11, 12), включает в себя по меньшей мере два изогнутых рычага (9), соединяющих рамку (11, 12) с колеблющимся телом (16), зеркально-симметричных относительно плоскости (I, II), параллельной направлению движения колеблющегося тела (16).
9. Линейный компрессор по одному из пп.1-5, отличающийся тем, что мембрана (5, 7, 9) связана с каркасом-креплением (1) посредством по меньшей мере одного элемента (4), демпфирующего колебания.
10. Линейный компрессор по одному из пп.1-5, отличающийся тем, что он содержит вторую мембрану (5, 7, 9), связывающую рамку (11, 12, 13) с крепежным каркасом (1), которая расположена на расстоянии от первой мембраны (5, 7, 9) в направлении возвратно-поступательного движения.
11. Линейный компрессор по одному из пп.1-5, отличающийся тем, что он содержит по меньшей мере одну пару электромагнитов (14, 15), расположенных антипараллельно на противоположных сторонах колеблющегося тела, поля которых имеют оси, ориентированные перпендикулярно направлению движения.
РИСУНКИ
|
|