|
|
(21), (22) Заявка: 2008122245/06, 04.06.2008
(24) Дата начала отсчета срока действия патента:
04.06.2008
(46) Опубликовано: 10.01.2010
(56) Список документов, цитированных в отчете о поиске:
FR 1200002 A, 17.12.1959. FR 1095546 A, 03.06.1955. US 2724237 A, 22.11.1955. RU 2133864 C1, 27.07.1999. GB 1534919 А, 06.12.1978. RU 2305202 С2, 27.08.2007.
Адрес для переписки:
105318, Москва, ул. Вельяминовская, 32, ФГУП “Государственное научно-производственное предприятие “Базальт”
|
(72) Автор(ы):
Кушников Владимир Сергеевич (RU), Супрунов Николай Андреевич (RU), Бибилова Гульширя Ахмедовна (RU)
(73) Патентообладатель(и):
Федеральное государственное унитарное предприятие “Государственное научно-производственное предприятие “Базальт” (RU)
|
(54) ДВИГАТЕЛЬ РЕАКТИВНОГО БОЕПРИПАСА
(57) Реферат:
Изобретение относится к области военной техники, а именно к реактивным двигателям с малым временем работы для боеприпасов, предназначенных для стрельбы из морских гранатометных систем. Двигатель реактивного боеприпаса содержит камеру сгорания с размещенным в ней трубчатым зарядом твердого топлива, опертым на диафрагму, снабженную отверстиями, и сопло. Центры отверстий диафрагмы закоординированы по закону равностороннего треугольника, сторона которого составляет не менее 1,07 диаметра отверстия. Отношение среднего диаметра пороховой трубки к диаметру отверстия диафрагмы находится в пределах 1,6-1,9. Изобретение позволяет обеспечить равнопрочность диафрагмы реактивного двигателя, а также уменьшить выброс несгоревших остатков пороховых трубок при обеспечении отношений площадей проходного сечения диафрагмы и критического сечения сопла не менее 1,3. 2 ил.
Изобретение относится к области военной техники, а именно к реактивным двигателям с малым временем работы (не более 0,02 с) для боеприпасов, предназначенных для стрельбы из гранатометных систем, размещенных на любых, находящихся на плаву, боевых кораблях.
Трудности проектирования и отработки двигателей с малым временем работы (не более 0,02 с), снаряженных быстрогорящими рецептурами трубчатых порохов, усугубляются недостаточным исследованием физической картины интенсивных теплонапряженных процессов, происходящих в этих типах двигателей. Поэтому одним из важных факторов является создание оптимальной равнопрочной диафрагмы, обеспечивающей отношение площади ее отверстий к площади критического сечения сопла не менее 1,3 и исключающей выброс несгоревших остатков пороховых трубок за срез сопла.
Известен реактивный двигатель (патент Франции 1200002 – прототип), в котором приведены различные конструкции диафрагм, обеспечивающих центровку трубчатого порохового заряда в камере двигателя и имеющих увеличенные отверстия для поступления продуктов сгорания во входную часть сопла.
К недостаткам данной конструкции реактивного двигателя следует отнести:
– отсутствие равнопрочности диафрагмы, что может привести к непрогнозируемым локальным разрушениям перемычек между отверстиями;
– отсутствие стабильности внутрибаллистических характеристик двигателя из-за возможного выброса несгоревших остатков пороховых трубок за срез сопла.
Задачей предлагаемого изобретения является улучшение внутрибаллистических характеристик двигателя реактивного боеприпаса.
Технический результат состоит в обеспечении равнопрочности диафрагмы двигателя и уменьшении выброса несгоревших остатков пороховых трубок при обеспечении отношения площадей проходного сечения диафрагмы и критического сечения сопла не менее 1,3.
Технический результат достигается тем, что двигатель реактивного боеприпаса содержит камеру сгорания с размещенным в ней трубчатым зарядом твердого топлива, опертым на диафрагму, снабженную отверстиями, сопло, при этом центры отверстий диафрагмы закоординированы по закону равностороннего треугольника, сторона которого составляет не менее 1,07 диаметра отверстия, а отношение среднего диаметра пороховой трубки к диаметру отверстия диафрагмы находится в пределах 1,6-1,9.
Значительной статистикой испытаний двигателей, снаряженных быстрогорящим многотрубчатым пороховым зарядом, подтверждено, что разброс давлений пороховых газов в камере двигателя резко возрастает при уменьшении (менее 1,3) отношения площадей проходного сечения диафрагмы и критического сечения сопла, при этом возможно разупрочнение материала в перемычках диафрагмы и выброс несгоревших остатков пороховых трубок.
Выполнение диафрагмы, в которой отверстия закоординированы по закону равностороннего треугольника с отношением стороны к диаметру отверстия не менее 1,07, позволяет обеспечить равнопрочность диафрагмы при сохранении отношения площадей проходного сечения диафрагмы и критического сечения сопла не менее 1,3, а следовательно, исключить локальные разрушения перемычек между отверстиями, выброс фрагментов диафрагмы и несгоревших остатков пороховых трубок, что, в конечном итоге, существенно улучшает внутрибаллистические характеристики двигателя (уменьшаются разбросы по давлению в камере двигателя и по начальной скорости боеприпаса).
Как известно, трубчатые быстрогорящие пороховые заряды подвержены эрозионному горению (скорость горения пороховых трубок в сопловой части камеры выше скорости горения пороховых трубок в донной части камеры), которое может привести к излому пороховой трубки в процессе горения и выносу из камеры через отверстие в диафрагме предсопловой части пороховой трубки, что существенно ухудшает внутрибаллистические характеристики двигателя.
Применение для снаряжения двигателя реактивного боеприпаса трубчатого быстрогорящего порохового заряда с отношением среднего диаметра пороховой трубки к диаметру отверстия диафрагмы в пределах 1,6-1,9 позволяет повысить коэффициент заполнения и полноту сгорания порохового заряда в камере двигателя.
При уменьшении данного соотношения вследствие разницы скорости горения пороховых трубок в предсопловой и донной частях камеры сгорания увеличивается выброс из камеры несгоревших остатков пороховых трубок (что резко увеличивает разброс давления в камере двигателя).
При увеличении данного соотношения ухудшается коэффициент использования полезного объема камеры, а в конечном итоге, существенно ухудшается внутрибаллистические характеристики двигателя (снижается суммарный импульс тяги двигателя).
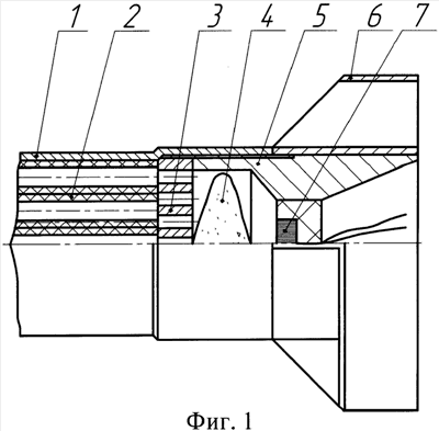
На фиг.1 показан общий вид двигателя реактивного боеприпаса.
На фиг.2 показан в увеличенном масштабе фрагмент диафрагмы.
Двигатель реактивного боеприпаса состоит из камеры 1, трубчатого порохового заряда 2, диафрагмы 3, воспламенителя 4, сопла 5, на поверхности которого закреплен стабилизатор 6, электровоспламенителя 7.
Отверстия диафрагмы закоординированы по закону равностороннего треугольника 8.
Работа двигателя реактивного боеприпаса происходит следующим образом.
При подаче электрического импульса на электровоспламенитель 7 срабатывает его воспламенительный состав, который поджигает воспламенитель 4. Луч пламени от воспламенителя 4 передается на трубчатый пороховой заряд 2 и воспламеняет его. При достижении определенного давления газов в камере 1 двигателя газообразные продукты разложения топлива истекают из камеры через отверстия в диафрагме 3 и критическое сечение сопла 5. Под действием тяги двигателя боеприпас начинает движение в канале ствола гранатометной системы.
Реализация предлагаемых технических решений в конструкции двигателя реактивного боеприпаса, подтвержденная результатами наземных и морских испытаний, позволяет улучшить внутрибаллистические характеристики двигателя за счет обеспечения равнопрочности диафрагмы и полноты сгорания порохового заряда в камере двигателя.
Формула изобретения
Двигатель реактивного боеприпаса, содержащий камеру сгорания с размещенным в ней трубчатым зарядом твердого топлива, опертым на диафрагму, снабженную отверстиями, сопло, отличающийся тем, что в нем центры отверстий диафрагмы закоординированы по закону равностороннего треугольника, сторона которого составляет не менее 1,07 диаметра отверстия, а отношение среднего диаметра пороховой трубки к диаметру отверстия диафрагмы находится в пределах 1,6-1,9.
РИСУНКИ
|
|