Патент на изобретение №2378505
|
||||||||||||||||||||||||||
(54) УСТРОЙСТВО ДЛЯ РАЗРАБОТКИ И ИМПУЛЬСНОЙ ОБРАБОТКИ ПРОДУКТИВНОГО ПЛАСТА СКВАЖИНЫ
(57) Реферат:
Изобретение относится к нефтяной промышленности и может быть использовано для разработки и обработки продуктивного пласта скважины. Устройство для разработки и импульсной обработки продуктивного пласта скважины включает заглушенный в нижней торцевой части цилиндрический корпус с боковыми отверстиями и установленный в нем с возможностью возвратно-поступательного движения плунжер с клапаном. Устройство дополнительно оснащено хвостовиком с дополнительным клапаном и пакером, установленным над пластом и перекрывающим пространство между хвостовиком и стенками скважины. Входные каналы хвостовика расположены ниже продуктивного пласта. Цилиндрический корпус снизу оборудован полым патрубком, сверху сообщенным с боковыми отверстиями, а снизу оборудован ниппелем, выполненным с возможностью герметичного взаимодействия изнутри с хвостовиком. Штанги выполнены с возможностью регулирования длины. Техническим результатом является повышение эффективности работы устройства. 1 з.п. ф-лы, 1 ил.
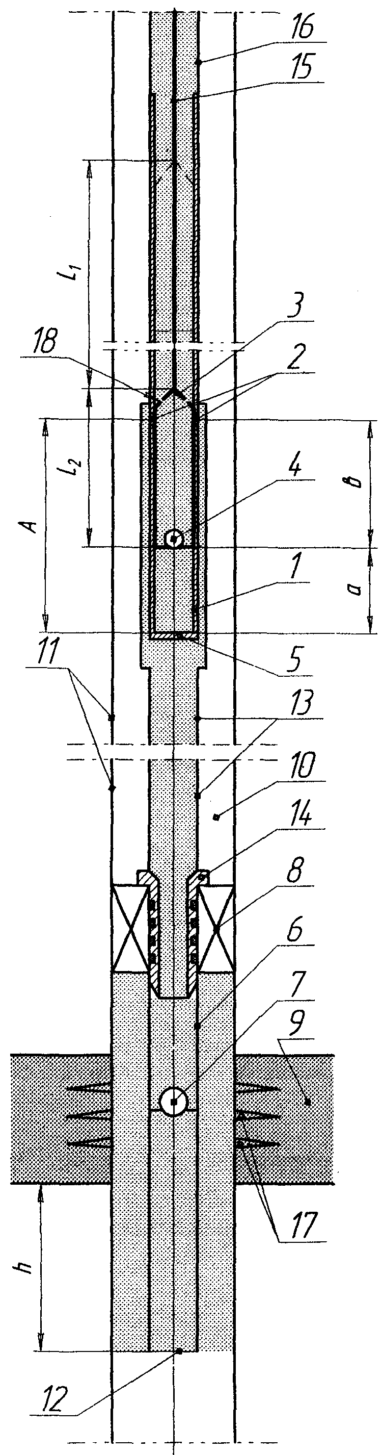
Изобретение относится к нефтяной промышленности и может быть использовано для разработки и обработки продуктивного пласта скважины. Известен способ обработки призабойной зоны скважины и устройство для его осуществления (патент RU от 20.09.2002 г.), включающее корпус насоса с клапаном и отверстиями в верхней части и установленный в корпусе с возможностью возвратно-поступательного движения плунжер с клапаном, отличающийся тем, что корпус насоса выполнен в виде соединенных двух цилиндров, верхнего большего диаметра и нижнего меньшего диаметра с клапаном внизу и отверстиями в верхних частях цилиндров, плунжер выполнен также в виде двух соединенных цилиндров, нижнего меньшего диаметра с заглушенным нижним торцем и верхнего большего диаметра с клапанами, при этом соединение цилиндров корпуса насоса и/или плунжера выполнено с возможностью взаимного перемещения цилиндров с фиксацией их положения. Недостатком данного устройства является то, что оно позволяет производить обработку скважины только при ремонте скважины, и невозможно проведение обработки в процессе добычи нефти. Также известна установка для импульсного воздействия на залежь (патент RU Установка применяется во время ремонта скважины при отсутствии насоса, исключена возможность добычи нефти при одновременной ударно-импульсной обработке призабойной зоны. Кроме того, импульсы от гидроударов через жесткую металлическую штангу передаются на головку балансира станка-качалки, что может вызвать его поломку. Наиболее близким по технической сущности является устройство для добычи нефти и обработки призабойной зоны скважины (авторское свидетельство SU Недостатками данного устройства являются: во-первых, низкая эффективность работы устройства, так как перед импульсной обработкой продуктивного пласта производят снижение уровня в межколонном пространстве. Кроме того, при извлечении устройства скважинная жидкость из межколонного пространства попадает обратно в продуктивный пласт; во-вторых, нет регулируемой депрессии (импульсной обработки) продуктивного пласта, при этом устройство не позволяет отключить депрессию на продуктивный пласт в процессе добычи нефти; в-третьих, велика вероятность возникновения гидроудара в межколонном пространстве скважины как в процессе откачки оттуда скважинной жидкости, так и в процессе импульсной обработки продуктивного пласта продуктивного пласта, что может привести к нарушению обсадной колонны скважины и к вытекающим из этого ремонтным работам по герметизации нарушения; в-четвертых, при необходимости извлечения колонны труб и глубинного насоса из скважины, например для проведения подземного ремонта скважины, скважинная жидкость, находящейся как в межколонном пространстве, так и в извлекаемой колонне труб, попадает обратно в продуктивный пласт, что ухудшает коллекторские свойства последнего. Задачей изобретения является создание универсального устройства, позволяющего с устья скважины регулировать величину депрессии на продуктивный пласт с возможностью, в случае необходимости, отключения импульсной обработки при разработке продуктивного пласта и эксплуатации продуктивного пласта штанговым глубинным насосом в обычном режиме, а также повышение эффективности его работы и исключение гидроудара на обсадную колонну скважины в процессе работы устройства и с сохранением коллекторских свойств продуктивного пласта путем исключения попадания скважинной жидкости обратно в продуктивный пласт в случае извлечения из скважины колонн штанг и труб. Поставленная задача решается устройством для разработки и импульсной обработки продуктивного пласта скважины, включающим заглушенный в нижней торцевой части цилиндрический корпус с боковыми отверстиями и установленный в нем с возможностью возвратно-поступательного движения плунжер с клапаном. Новым является то, что оно дополнительно оснащено хвостовиком с дополнительным клапаном и пакером, установленным над пластом и перекрывающим пространство между хвостовиком и стенками скважины, причем входные каналы хвостовика расположены ниже продуктивного пласта, при этом цилиндрический корпус снизу оборудован полым патрубком, сверху сообщенным с боковыми отверстиями, а снизу оборудованным ниппелем, выполненным с возможностью герметичного взаимодействия изнутри с хвостовиком, причем штанги выполнены с возможностью регулирования длины. Также новым является то, что боковые отверстия изготовлены на определенном расстоянии от нижней торцевой части цилиндрического корпуса в зависимости от максимально допустимой амплитуды импульсной обработки продуктивного пласта. На чертеже изображено устройство для разработки и импульсной обработки продуктивного пласта скважины. Устройство для разработки и импульсной обработки продуктивного пласта скважины включает цилиндрический корпус 1 с боковыми отверстиями 2 и установленный в нем с возможностью возвратно-поступательного движения плунжер 3 с клапаном 4. Цилиндрический корпус 1 заглушен в нижней торцевой части заглушкой 5. Цилиндрический корпус 1 снизу оснащен хвостовиком 6 с дополнительным клапаном 7 и пакером 8, установленным над пластом 9 и перекрывающим пространство 10 между хвостовиком 6 и стенками скважины 11. Хвостовик 6 сообщен сверху с боковыми отверстиями 2 цилиндрического корпуса 1, а его входной канал 12 снизу расположен ниже продуктивного пласта 9. Цилиндрический корпус 1 снизу оборудован полым патрубком 13, внутреннее пространство которого сверху сообщено с боковыми отверстиями 2. Полый патрубок 13 снизу оборудован ниппелем 14, выполненным с возможностью герметичного взаимодействия изнутри с хвостовиком 6. Боковые отверстия 2 цилиндрического корпуса 1 изготовлены на расстоянии – А от нижней торцевой части заглушки 5 цилиндрического корпуса 1 в зависимости от максимально допустимой амплитуды импульсной обработки продуктивного пласта 9. Штанги 15 подобраны с возможностью регулирования длины и снизу закреплены к плунжеру 3, а сверху соединены с наземным приводом, например со станком-качалкой (на чертеже не показано). Устройство для разработки и импульсной обработки продуктивного пласта скважины работает следующим образом. Сначала монтируют устройство в скважине 11. Для этого предварительно на колонне труб спускают хвостовик 6 с дополнительным клапаном 7 и пакером 8. После спуска указанной компоновки в скважину 11 производят посадку пакера 8 выше продуктивного пласта 9, после чего извлекают вышеупомянутую колонну труб, при этом длину хвостовика 6 подбирают таким образом, чтобы входной канал 12 хвостовика 6 был ниже продуктивного пласта 9 на высоту h=3-4 метра, что позволяет исключить образование конуса подошвенной воды, при этом наоборот образуется обратный конус нефти. После чего в скважину 11 спускают колонну труб 13, оснащенную снизу цилиндрическим корпусом 1 и полым патрубком 13 с ниппелем 14 на нижнем конце В процессе спуска колонны труб 16 полый патрубок 13 ниппелем 14 герметично входит во взаимодействие изнутри с хвостовиком 6. Далее в колонну труб 16 на колонне штанг 15 спускают плунжер 3 с клапаном 4 до тех пор, пока плунжер 3 разместится в заглушенном снизу заглушкой 5 цилиндрическом корпусе 1. Первый вариант работы установки – с регулируемой импульсной обработкой продуктивного пласта 9. Расстояние А подбирают из расчета создания максимальной допустимой депрессии при импульсной обработке продуктивного пласта, при этом расчетная начальная депрессия, создаваемая при импульсной обработке продуктивного пласта 9, определяется расстоянием – b от крайней нижней точки плунжера в конце его хода вниз в цилиндрическом корпусе 1 до боковых отверстий 2 цилиндрического корпуса 1 на расстоянии а от нижней торцевой части заглушки 5 цилиндрического корпуса 1 до нижнего торца плунжера 3, то есть:
где А – расстояние между нижней торцевой частью заглушки 5 и боковыми отверстиями 2 цилиндрического корпуса 1, м; b – расстояние от крайней нижней точки плунжера в конце его хода вниз в цилиндрическом корпусе 1 до боковых отверстий 2 цилиндрического корпуса 1, м; а – расстояние от нижней торцевой части заглушки 5 цилиндрического корпуса 1 до нижнего торца плунжера 3, м. Длина цилиндрического корпуса определяется расчетным путем:
где L – длина цилиндрического корпуса 1, м; L1 – длина хода плунжера, м; L2 – длина плунжера 3, м. А – расстояние между нижней торцевой частью заглушки 5 и боковыми отверстиями 2 цилиндрического корпуса 1, м. Расстояние b (см. чертеж) регулируют длиной колонны штанг 15 и соответственно местоположением плунжера 3 относительно цилиндрического корпуса 1 в зависимости от расчетной начальной депрессии, необходимой для импульсной обработки продуктивного пласта 9, После этого соединяют верхний конец колонны штанг 15 с наземным приводом (станком-качалкой) и запускают устройство в работу. При ходе колонны штанг 15 и соответственно плунжера 3 вверх клапан 4 закрыт весом столба скважинной жидкости в колонне труб 16, при этом плунжер 3 вытесняет скважинную жидкость из колонны труб 16 в выкидную линию (на чертеже не показано), при этом под плунжером 3 внутри цилиндрического корпуса 1, заглушенного снизу заглушкой 5, при ходе плунжера 3 вверх образуется ваккумная полость и, как только плунжер 3, двигаясь вверх, минует боковые отверстия 2 цилиндрического корпуса 1, в ваккумную полость через боковые отверстия 2 внутрь цилиндрического корпуса 1 устремляется скважинная жидкость, которая из продуктивного пласта 1 через перфорированные отверстия 17 устремляется через входной канал 12 хвостовика 6, открывая дополнительный клапан 7, и через внутреннее пространство полого патрубка 13 попадает в ваккумную полость (внутри цилиндрического корпуса 1 под плунжером 3). В результате образуется расчетная депрессия на продуктивный пласт 1 и происходит импульсная обработка продуктивного пласта 9, что позволяет интенсифицировать приток пластовых флюидов, при этом величина расчетной депрессии соответствует расстоянию b от крайней нижней точки в конце хода плунжера в цилиндрическом корпусе 1 до боковых отверстий 2 цилиндрического корпуса 1. При дальнейшем движении вверх плунжер 3 минует боковые отверстия 2 цилиндрического корпуса 1, при этом происходит дальнейшее заполнение полости цилиндрического корпуса 1 под плунжером 3, которая полностью заполняется скважинной жидкостью, при этом давление внутри цилиндрического корпуса 1 и в продуктивном пласте 9 выравнивается и дополнительный клапан 7, установленный в хвостовике 6, закрывается. Чем больше расстояние b, тем больше объем ваккумной полости цилиндрического корпуса 1 и соответственно больше энергия импульса депрессии на продуктивный пласт 9, поэтому предварительно в зависимости от величины расчетной депрессии на продуктивный пласт 9 опытным путем подбирают расстояние b пропорционально продуктивности пласта 9, чем выше продуктивность пласта 9, тем больше расстояние b, и наоборот. Достигнув крайней верхней точки движения плунжера 3, меняют направление его движения. В результате колонна штанг 15 с плунжером 3 перемещается вниз, при этом клапан 4 открывается и скважинная жидкость, находящаяся внутри цилиндрического корпуса 1 над заглушкой 5 (в ваккумной полости), вытесняется сквозь плунжер 3 и его верхние отверстия 18 в колонну труб 16, дополнительный клапан 7 в это время закрыт. После достижения крайней нижней точки движения плунжера 3 направление его движения меняется на противоположное. Колонна штанг 15 и соответственно плунжер 3 начинают двигаться вверх, при этом весь вышеописанный цикл повторяется. В дальнейшем цикл хода плунжера 3 повторяется, причем в процессе работы устройства (добычи скважинной жидкости) всегда при ходе плунжера 3 вверх происходит циклическая (импульсная) обработка продуктивного пласта 9. В процессе такой разработки и импульсной обработки повышается продуктивность пласта 9, поэтому с увеличением дебита продуктивного пласта 9 необходимо постепенно увеличивать величину депрессии на продуктивный пласт 9, то есть изменять местоположение плунжера 3 относительно цилиндрического корпуса 1 увеличением расстояния b вплоть до максимально допустимой депрессии, то есть b=А. Таким образом, устройство позволит значительное время поддерживать оптимальный объем добычи скважинной жидкости из продуктивного пласта 9. Пакер 8, установленный над продуктивным пластом 9, позволяет исключить гидроудар на стенки скважины 11 в межколонном пространстве 10 в процессе импульсной обработки продуктивного пласта 9 и полностью направить энергию импульса депрессии непосредственно на продуктивный пласт 9, защитив при этом обсадную колонну скважины 11 от действия высокого давления. При необходимости отказа от импульсной обработки пласта предлагаемое устройство может работать как обычный штанговый глубинный насос без импульсной обработкой продуктивного пласта 9. Для этого с устья скважины 11 изменением длины колонны штанг 15 регулируют местоположение плунжера 3 относительно цилиндрического корпуса 1, при этом крайняя нижняя точка плунжера 3 в конце его хода вниз в цилиндрическом корпусе 1 должна быть выше боковых отверстий 2 цилиндрического корпуса 1 (см. чертеж), после чего соединяют верхний конец колонны штанг 15 с наземным приводом (станком-качалкой) и запускают устройство в работу. При ходе колонны штанг 15 и соответственно плунжера 3 вверх клапан 4 закрыт весом столба скважинной жидкости в колонне труб 16 и плунжер 3 вытесняет скважинную жидкость из колонны труб 16 в выкидную линию (на чертеже не показано), одновременно с этим в полость под плунжером 3 внутри цилиндрического корпуса 1, заглушенного снизу заглушкой 5 через боковые отверстия 2 из продуктивного пласта 1 через перфорированные отверстия 17, входной канал 12 хвостовика 6, открывая дополнительный клапан 7, и через внутреннее пространство полого патрубка 13 засасывается скважинная жидкость. Полость цилиндрического корпуса 1 под плунжером 3 полностью заполняется скважинной жидкостью к концу хода плунжера 3, при этом давление внутри цилиндрического корпуса 1 и в продуктивном пласте 9 выравнивается и дополнительный клапан 7, установленный в хвостовике 6, закрывается. После достижения крайней верхней точки движения плунжера 3 направление его движения меняется на противоположное. В результате колонна штанг 15 с плунжером 3 перемещается вниз, при этом клапан 4 открывается и скважинная жидкость, находящаяся в полости внутри цилиндрического корпуса 1 над заглушкой 5, вытесняется сквозь плунжер 3 и его верхние отверстия 18 в колонну труб 16, дополнительный клапан 7 в это время закрыт. После достижения крайней нижней точки движения плунжера 3 направление его движения меняется на противоположное. Колонна штанг 15 и соответственно плунжер 3 начинают двигаться вверх, при этом весь вышеописанный цикл повторяется. Данное устройство для разработки и импульсной обработки продуктивного пласта скважины универсально, так как оно с одной стороны позволяет с устья скважины регулировать депрессию (импульсную обработку) на продуктивный пласт, а с другой стороны в случае необходимости – отключить импульсную обработку продуктивного пласта и разрабатывать продуктивный пласт штанговым глубинным насосом в обычном режиме. Предлагаемое устройство эффективно в работе, так как импульсное воздействие на продуктивный пласт производят без снижения уровня в межколонном пространстве и непосредственно на продуктивный пласт благодаря пакеру, установленному в скважине над продуктивным пластом. Кроме того, в случае извлечения из скважины колонн штанг и труб (при ремонте скважины) сохраняются коллекторские свойства продуктивного пласта за счет исключения попадания скважинной жидкости обратно в продуктивный пласт благодаря наличию хвостовика с дополнительным клапаном.
Формула изобретения
1. Устройство для разработки и импульсной обработки продуктивного пласта скважины, включающее заглушенный в нижней торцевой части цилиндрический корпус с боковыми отверстиями и установленный в нем с возможностью возвратно-поступательного движения плунжер с клапаном, приводимый в действие при помощи штанг устьевым приводом, отличающееся тем, что оно дополнительно оснащено хвостовиком с дополнительным клапаном и пакером, установленным над пластом и перекрывающим пространство между хвостовиком и стенками скважины, причем входные каналы хвостовика расположены ниже продуктивного пласта, при этом цилиндрический корпус снизу оборудован полым патрубком, сверху сообщенным с боковыми отверстиями, а снизу оборудованным ниппелем, выполненным с возможностью герметичного взаимодействия изнутри с хвостовиком, причем штанги выполнены с возможностью регулирования длины. 2. Устройство по п.1, отличающееся тем, что боковые отверстия изготовлены на определенном расстоянии от нижней торцевой части цилиндрического корпуса в зависимости от максимально допустимой амплитуды импульсной обработки продуктивного пласта.
TZ4A – Поправки к описаниям изобретений
Часть описания, где обнаружена ошибка: Графическая часть описания изобретения
Напечатано: Отсутствовал чертеж
Номер и год публикации бюллетеня: 1-2010
Извещение опубликовано: 27.01.2010 БИ: 03/2010
|
||||||||||||||||||||||||||

2189440 МПК 7 Е21В 43/18, опуб. в бюл. 

