|
|
(21), (22) Заявка: 2007106818/03, 22.02.2007
(24) Дата начала отсчета срока действия патента:
22.02.2007
(43) Дата публикации заявки: 27.08.2008
(46) Опубликовано: 10.01.2010
(56) Список документов, цитированных в отчете о поиске:
DE 19909860 A1, 21.09.2000. SU 735740 A1, 25.05.1980. SU 764755 A1, 23.09.1980. SU 1382924 A1, 23.03.1988. RU 2075574 C1, 20.03.1997. DE 3837407 A1, 10.05.1990. GB 2082654 A, 10.03.1982. GB 1238218 A, 07.07.1971.
Адрес для переписки:
350051, г.Краснодар, ул. Шоссе Нефтяников, 53, ООО “Кубаньгазпром”
|
(72) Автор(ы):
Баканов Юрий Иванович (RU), Сусликов Сергей Петрович (RU), Гераськин Вадим Георгиевич (RU), Черненко Игорь Анатольевич (RU), Шабров Сергей Николаевич (RU), Снегирев Сергей Николаевич (RU), Кучеренко Сергей Анатольевич (RU), Кобелева Надежда Ивановна (RU), Егоров Владимир Александрович (RU)
(73) Патентообладатель(и):
ОБЩЕСТВО С ОГРАНИЧЕННОЙ ОТВЕТСТВЕННОСТЬЮ “КУБАНЬГАЗПРОМ” (RU)
|
(54) МЕХАНИЗМ ФИКСАЦИИ И ЦЕНТРИРОВАНИЯ ПРИ СВИНЧИВАНИИ И РАЗВИНЧИВАНИИ БУРИЛЬНЫХ ТРУБ ДЛЯ УСТАНОВКИ ГОРИЗОНТАЛЬНОГО БУРЕНИЯ
(57) Реферат:
Изобретение относится к буровой технике, а именно к устройствам для свинчивания и развинчивания труб при горизонтальном бурении. Технически результатом является повышение надежности работы и снижение стоимости за счет упрощения конструкции устройства. Технический результат достигается тем, что механизм фиксации содержит пару зажимных губок, соединенные с ними тяги и гидроцилиндр в качестве привода. Причем механизм содержит дополнительно рычаг, установленный с возможностью его поворота, продольную тягу и обратный рычаг. При этом гидроцилиндр соединен с рычагом, который одним концом соединен с тягой, соединенной с первой зажимной губкой, а вторым посредством продольной тяги соединен с обратным рычагом, соединенным посредством тяги со второй зажимной губкой. 2 ил.
Изобретение относится к буровой технике, а именно к устройствам для свинчивания и развинчивания труб бурильной колонны при горизонтальном бурении.
Известно устройство для свинчивания и развинчивания бурильных труб фирмы «Грундодрилл», содержащее гидроцилиндр, тягу, соединенную с подвижной губкой, которая прижимает трубу к неподвижной губке (ложементу). (1). Проспект «Управляемые буровые системы с ударным механизмом – основная идея Тракто-Техник» фирмы «Грундодрилл», с.6-7.
Недостатком данной конструкции является наличие неподвижно закрепленного ложемента (губки зажимного устройства), при этом зажим муфты бурильной трубы при свинчивании и развинчивании обеспечивается подвижным прихватом (губкой) данного устройства. Данная конструкция накладывает повышенные требования к базированию (соосности) неподвижного элемента относительно оси трубы бурильной колонны в процессе свинчивания-развинчивания муфтового соединения. В результате вышеупомянутого конструкция оказывается жестко связной с типоразмерами применяемых бурильных труб и зависимой от разброса параметров данного размера. Учитывая, что при бурении, расширении и протаскивании плети газопровода часто используются бурильные трубы разного диаметра (меньший – при бурении, больший – при протаскивании), применение данной конструкции может вызвать определенные затруднения.
Наиболее близким по технической сущности и достигаемому результату к заявляемому устройству является устройство для свинчивания-развинчивания бурильных труб с попарной установкой гидроцилиндров встречного действия, включающее два гидроцилиндра, две тяги, две подвижные зажимные губки, приводимые в движение непосредственно штоками гидроцилиндров. (2). Проспект «Управляемые буровые системы с ударным механизмом – основная идея Тракто-Техник» фирмы «Грундодрилл», с.8-9.
Недостатками устройства являются:
– необходимость использования в двойном количестве дорогостоящего исполнительного гидравлического оборудования (гидроцилиндров и управляющей аппаратуры), что значительно удорожает стоимость данного устройства и снижает его надежность,
– устройство становится неработоспособным при выходе из строя хотя бы одного из исполнительных гидравлических устройств (гидроцилиндров),
– нерациональное использование мощности гидроцилиндров, что обуславливает необходимость применения более мощного гидравлического оборудования,
– зависимость от схемы обвязки гидроцилиндров, необходимость синхронизации рабочего движения парных гидроцилиндров и развиваемых ими усилий.
Конструкция, выполненная по данной схеме, получается довольно громоздкой и не позволяет значительно уменьшить габаритные размеры в случае рациональной компоновки.
Задачей настоящего изобретения является уменьшение габаритов, количества применяемой гидроаппаратуры, снижение стоимости, повышение надежности, улучшение рабочих характеристик.
Сущность настоящего изобретения заключается в том, что известный механизм фиксации и центрирования при свинчивании и развинчивании бурильных труб для установки горизонтального бурения, содержащий пару зажимных губок, соединенные с ними тяги и гидроцилиндр в качестве привода, согласно изобретению дополнительно содержит рычаг, установленный на оси в с возможностью его поворота, продольную тягу и обратный рычаг, установленный на оси с возможностью поворота, при этом гидроцилиндр соединен с рычагом, который одним концом соединен с тягой, соединенной с зажимной губкой, а вторым посредством продольной тяги соединен с обратным рычагом, соединенным посредством тяги с зажимной губкой.
На фиг.1 представлен общий вид механизма фиксации.
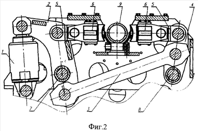
На фиг.2 представлен продольный разрез заявляемого механизма фиксации.
Механизм фиксации и центрирования при свинчивании и развинчивании труб для установки горизонтального бурения состоит из рабочего гидроцилиндра 1, рычага 2, продольной тяги 3, обратного рычага 4, тяг 5, первой и второй зажимных губок 6, рычага 2, установленного на оси 7 с возможностью поворота, и обратного рычага 4, установленного на оси 8 с возможностью поворота, при этом гидроцилиндр соединен с рычагом 2, один из концов которого соединен с одной из тяг 5, а другой посредством продольной тяги 3 соединен с обратным рычагом 4, соединенным второй тягой 5 со второй губкой 6.
Заявляемый механизм работает следующим образом. При выдвижении штока гидроцилиндра 1, рычаг 2, поворачиваясь на оси 7, толкает тягу 5, одновременно посредством связанной с ним тяги 3 вызывает поворот обратного рычага 4, относительно оси 8, который, в свою очередь, посредством парной тяги 5 вызывает перемещение губки 6 в сторону трубы 9.
Таким образом, при соответствующем подборе плеч силового рычага 2, обратного рычага 4 и длины тяги 3 задается синхронное перемещение губок 6, вызывающее зажим бурильной трубы усилием гидроцилиндра 1.
Заявляемое устройство по сравнению с устройством-прототипом позволяет сократить количество примененяемых для зажима гидроцилиндров, избежать необходимость синхронизации их движения, позволяет значительно сократить габариты узла и упрощает обслуживание применяемого гидрооборудования (гидроцилиндров).
Формула изобретения
Механизм фиксации и центрирования при свинчивании и развинчивании бурильных труб для установки горизонтального бурения, содержащий пару зажимных губок, соединенные с ними тяги и гидроцилиндр в качестве привода, отличающийся тем, что дополнительно содержит рычаг, установленный на оси с возможностью его поворота, продольную тягу и обратный рычаг, установленный на оси с возможностью его поворота, при этом гидроцилиндр соединен с рычагом, который одним концом соединен с тягой, соединенной с первой зажимной губкой, а вторым – посредством продольной тяги соединен с обратным рычагом, соединенным посредством тяги со второй зажимной губкой.
РИСУНКИ
|
|