|
(21), (22) Заявка: 2008133657/03, 15.08.2008
(24) Дата начала отсчета срока действия патента:
15.08.2008
(46) Опубликовано: 10.01.2010
(56) Список документов, цитированных в отчете о поиске:
US 4822201 A, 18.04.1989. SU 1677237 A1, 15.09.1991. RU 2052627 С1, 20.01.1996. RU 2117132 C1, 10.08.1998. RU 2169250 C1, 20.06.2001. RU 2210002 C1, 10.08.2003. RU 2236542 C1, 20.09.2004. GB 2058177 A, 08.04.1981. US 4406561 A, 27.09.1983. FR 2537201 A1, 08.06.1984.
Адрес для переписки:
659322, Алтайский край, г. Бийск, ул. Социалистическая, 1, АО “Бийскпатент”
|
(72) Автор(ы):
Волков Юрий Павлович (RU), Поздеев Сергей Павлович (RU), Куклина Светлана Викторовна (RU)
(73) Патентообладатель(и):
ОБЩЕСТВО С ОГРАНИЧЕННОЙ ОТВЕТСТВЕННОСТЬЮ “БИЙСКИЙ ЗАВОД СТЕКЛОПЛАСТИКОВ” (RU)
|
(54) НАСОСНАЯ ШТАНГА
(57) Реферат:
Изобретение относится к нефтепромысловому машиностроению, а именно к конструкциям насосных штанг из высокопрочного композиционного материала. Техническим результатом является повышение прочностных характеристик насосных штанг. Насосная штанга содержит цилиндрический стержень из высокопрочного композиционного материала и ниппели, имеющие соединительную часть с резьбовым элементом и установочную часть с внутренней полостью для размещения стержня, заполненную адгезивом, для крепления стержня из высокопрочного композиционного материала. Внутренняя полость установочной части ниппеля выполнена в виде цилиндра или чередующихся цилиндрических и конических зон. Наружная поверхность стержня, расположенная в зоне внутренней полости установочной части ниппеля, имеет профилированную поверхность, выполненную в виде винта или радиальных канавок, причем высота профиля увеличивается в направлении от входного отверстия ниппеля к его дну. В качестве высокопрочного композиционного материала может использоваться стеклопластик, или углепластик, или базальтопластик. 5 з.п. ф-лы, 3 ил.
Изобретение относится к нефтепромысловому машиностроению, а именно к конструкциям насосных штанг, которые могут быть использованы в штанговых глубинно-насосных установках при механизированном способе добычи нефти из скважины.
Поиск, проведенный по отечественным и зарубежным источникам информации, показал, что в технике известны различные конструкции насосных штанг (см. патенты РФ  2052627, 2117132, 221002, патенты США  454401396, 4653923, и др.).
Наиболее близким к заявляемому техническому решению является конструкция насосной штанги по патенту США 4822201, которая включает сплошной цилиндрический стержень из стеклопластика, на концах которого установлены ниппели, которые имеют соединительную часть с резьбовым элементом и установочную часть с внутренней полостью для размещения стержня. Внутренняя полость имеет дно и входное отверстие. Стенки внутренней полости представляют собой поверхность, образованную цилиндрическими и коническими поверхностями с расположенными от дна к входному отверстию распределенными по оси ниппеля кольцевыми зонами, донной конической зоной, находящейся у дна внутренней полости, примыкающей к ней рабочей цилиндрической зоной, а также входной цилиндрической зоной, находящейся у входного отверстия внутренней полости, и расположенными между указанными цилиндрическими зонами парными коническими зонами. Одна из зон пары имеет конусность, направленную ко дну внутренней полости – зона прямого конуса, а другая – конусность, направленную к входному отверстию внутренней полости – зона обратного конуса. В направлении от дна внутренней полости к ее входному отверстию каждая зона обратного конуса имеет угол конусности меньше, чем угол конусности зоны обратного конуса, предшествующей парной конической зоны. Пространство между внутренней полостью ниппеля и поверхностью стержня из стеклопластика заполнено адгезивом, который обеспечивает крепление ниппелей к стержню за счет образования адгезионного соединения.
Данное техническое решение за счет использования стержня из стеклопластика обеспечивает значительное снижение веса насосной штанги, уменьшение ее жесткости и высокую коррозионную стойкость в пластовой жидкости.
Однако в известном патенте (как и в аналогах) стеклопластиковый стержень имеет гладкую поверхность и соединен с внутренней полостью ниппеля посредством клеевого соединения, при котором прочность соединения во многом определяется прочностью сцепления адгезива с гладкой поверхностью стеклопластикового стержня, обусловленной в этом случае лишь силами адгезии.
Известно, что для получения прочных и надежных клеевых соединений, обусловленных лишь силами адгезии, требуется выполнение ряда обязательных требований:
– соединяемые поверхности должны быть тщательно очищены от механических и жировых соединений;
– соединяемые поверхности должны имеет определенную шероховатость;
– должны быть соблюдены определенные условия хранения материалов с подготовленными для склеивания поверхностями с момента окончания подготовки до момента склеивания.
– и др., которые в принципе достаточно трудно осуществить на практике.
Несоблюдение указанных требований резко снижает прочность и надежность получаемых соединений и, как следствие, прочность и надежность конструкции при ее эксплуатации.
Задачей настоящего изобретения является создание насосной штанги с высокими прочностными характеристиками.
Технический результат, получаемый от использования заявляемого изобретения, – обеспечение клеемеханического соединения адгезива с поверхностью стержня из высокопрочного композиционного материала с внутренней поверхностью ниппеля, что повышает прочность и надежность крепления.
Поставленная задача решается предлагаемой конструкцией насосной штанги, которая содержит цилиндрический стержень из высокопрочного композиционного материала, ниппели, установленные с обеих сторон стержня и имеющие соединительную часть с резьбовым элементом и установочную часть с внутренней полостью для размещения стержня, имеющей донную коническую зону и входное отверстие, адгезив, заполняющий пространство между внутренней полостью установочной части ниппеля и поверхностью стержня из высокопрочного композиционного материала. При этом наружная поверхность стержня, расположенная в зоне внутренней полости установочной части ниппеля, имеет переменный профиль, причем высота переменного профиля увеличивается в направлении от входного отверстия ниппеля к его дну.
При этом:
– переменный профиль может быть выполнен в виде винта;
– переменный профиль может быть выполнен в виде кольцевых радиальных канавок;
– внутренняя полость установочной части ниппеля может быть выполнена в виде цилиндра;
– внутренняя полость установочной части ниппеля может быть выполнена в виде чередующихся цилиндрических и конических зон;
– в качестве высокопрочного композиционного материала может использоваться стеклопластик, или углепластик, или базальтопластик.
В заявляемой конструкции насосной штанги наружная поверхность стержня из высокопрочного композиционного материала имеет периодический профиль, выполненный либо в виде винта либо в виде радиальных кольцевых канавок. Это позволяет перейти от чисто клеевого соединения к клеемеханическому, т.е. соединение наружной поверхности стержня с внутренней полостью ниппеля осуществляется не только за счет сил адгезии, но и за счет механических сил, что приводит к повышению прочности и надежности крепления, т.е. достигается технический результат.
Кроме того, для такого соединения характерны более низкие требования к состоянию соединяемых поверхностей, а также исключается их дополнительная подготовка, характерная для клеевых соединений. Это не только исключает влияние клеевого соединения на прочность и надежность штанги в целом при ее эксплуатации, но и позволяет существенно упростить операцию крепления стержня и ниппеля.
В заявляемом техническом решении высота периодического профиля не одинакова по длине стержня и увеличивается в направлении от входного отверстия ниппеля к его дну. Это обеспечивает выравнивание нагрузки между витками переменного профиля, что повышает динамическую прочность соединения стержня и ниппеля.
Величины профильного угла и шага переменного профиля рассчитываются для каждой конструкции штанги отдельно в зависимости от механических характеристик стержня из высокопрочного композиционного материала и адгезива.
Стенки внутренней полости установочной части ниппеля могут быть выполнены либо в виде цилиндра, либо в виде чередующихся цилиндрических и конических зон. Внутренний диаметр установочной части ниппеля больше наружного диаметра стержня. Образующееся пространство необходимо для заполнения его адгезивом.
Здесь следует отметить, что выполнение установочной части ниппеля в виде цилиндра более технологично и заметно упрощает конструкцию насосной штанги.
В качестве высокопрочного композиционного материала может использоваться стеклопластик, углепластик или базальтопластик.
Сущность предлагаемой конструкции насосной штанги поясняется чертежами: фиг.1, фиг.2, фиг.3.
На фиг.1 изображена насосная штанга – общий вид, которая содержит:
1 – стержень из высокопрочного композиционного материала;
2 – ниппели.
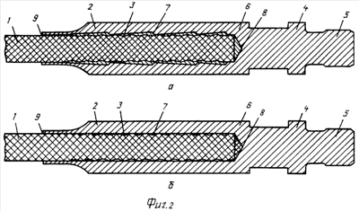
На фиг.2 показан в разрезе узел крепления стержня из высокопрочного композиционного материала в ниппеле:
а – внутренняя полость ниппеля выполнена в виде чередующихся цилиндрических и конических зон;
б – внутренняя полость ниппеля выполнена в виде цилиндра;
1 – стержень из высокопрочного композиционного материала;
2 – ниппель;
3 – адгезив;
4 – соединительная часть ниппеля;
5 – резьбовой элемент;
6 – установочная часть ниппеля;
7 – внутренняя полость;
8 – донная коническая зона;
9 – входное отверстие.
На фиг.3 изображен стержень 1 из высокопрочного композиционного материала 1, с переменным профилем:
– а – в виде винта;
– б – в виде кольцевых радиальных канавок.
Насосная штанга работает следующим образом.
С помощью резьбового элемента 5, имеющегося на соединительной части 4 ниппеля 2, штанги с помощью муфт соединяются в колонну, являющуюся составным элементом штанговой глубинно-насосной установки. Крепление стержня 1 из высокопрочного композиционного материала в установочной части 6 ниппеля производится путем размещения адгезива 3 между наружной поверхностью стержня 1 и внутренней полостью 7 установочной части ниппеля. При этом фиксирование стержня в установочной части ниппеля достигается посредством клеемеханического соединения, т.е. как за счет сил адгезии, так и за счет механических сил благодаря наличию на стержне переменного профиля.
С помощью колонны насосных штанг осуществляется связь между приводом и глубинным штанговым насосом для обеспечения процесса добычи нефти с использованием штанговой насосной установки. В процессе работы штанговой насосной установки колонна насосных штанг совершает возвратно-поступательные движения с величиной хода и частотой, соответствующими режиму работы привода.
Таким образом, использование заявляемой конструкции насосной штанги позволяет достичь следующий технический результат:
– повысить прочность и надежность крепления наружной поверхности стержня из высокопрочного композиционного материала к внутренней полости ниппеля, и, как следствие, долговечность штанги при ее эксплуатации.
Заявляемая насосная штанга изготавливается из известных материалов на известном оборудовании и предназначена для использования в шанговой глубиннонасосной установке при механизированном способе добыче нефти из скважины.
Формула изобретения
1. Насосная штанга, содержащая цилиндрический стержень из высокопрочного композиционного материала, ниппели, установленные с обеих сторон стержня и имеющие соединительную часть с резьбовым элементом и установочную часть с внутренней полостью для размещения стержня, имеющей донную коническую зону и входное отверстие, и адгезив, заполняющий пространство между внутренней полостью установочной части ниппеля и поверхностью стержня из высокопрочного композиционного материала, отличающаяся тем, что наружная поверхность стержня, расположенная в зоне внутренней полости установочной части ниппеля, имеет переменный профиль, причем высота переменного профиля увеличивается в направлении от входного отверстия ниппеля к его дну.
2. Насосная штанга по п.1, отличающаяся тем, что переменный профиль выполнен в виде винта.
3. Насосная штанга по п.1, отличающаяся тем, что переменный профиль выполнен в виде радиальных канавок.
4. Насосная штанга по п.1, отличающаяся тем, что внутренняя полость установочной части ниппеля выполнена в виде цилиндра.
5. Насосная штанга по п.1, отличающаяся тем, что внутренняя полость установочной части ниппеля выполнена в виде чередующихся цилиндрических и конических зон.
6. Насосная штанга по п.1, отличающаяся тем, что в качестве высокопрочного композиционного материала может использоваться стеклопластик, или углепластик, или базальтопластик.
РИСУНКИ
|