|
|
(21), (22) Заявка: 2008121947/03, 01.11.2006
(24) Дата начала отсчета срока действия патента:
01.11.2006
(30) Конвенционный приоритет:
01.11.2005 JP 2005-318613
(46) Опубликовано: 10.01.2010
(56) Список документов, цитированных в отчете о поиске:
US 4651794 A, 24.03.1987. US 2652111 A, 15.09.1953. JP 58-173282 A, 12.10.1983. GB 2158137 A, 06.11.1985. RU 2054114 C1, 10.02.1996.
(85) Дата перевода заявки PCT на национальную фазу:
02.06.2008
(86) Заявка PCT:
JP 2006/321843 20061101
(87) Публикация PCT:
WO 2007/052694 20070510
Адрес для переписки:
129090, Москва, ул. Б.Спасская, 25, стр.3, ООО “Юридическая фирма Городисский и Партнеры”, пат.пов. С.А.Дорофееву, рег. 146
|
(72) Автор(ы):
ОЯМА Нобуо (JP), ТАКАХАСИ Сумие (JP)
(73) Патентообладатель(и):
КАБУСИКИ КАЙСЯ Эс.Ти.Ай. ДЖАПЭН (JP)
|
(54) УСТРОЙСТВО УПРАВЛЕНИЯ РАСПРЕДЕЛЕНИЕМ СВЕТА, ТЕПЛИЦА, ПЕРЕГОРОДКА И СТРОЕНИЕ
(57) Реферат:
Изобретение относится к области строительства, а именно к конструкциям жалюзи. Изобретение позволит предотвратить изменение наклона пластинок жалюзи. Устройство управления распределением света содержит множество элементов распределения света, каждый из которых образован как узкая и тонкая пластина, и множество удерживающих элементов для удержания элементов распределения света, выполненных с возможностью расположения параллельно друг другу, удерживающие элементы, продолжающиеся в направлении, пересекающем элементы распределения света, и имеющие множественные ячейки, в которых элементы распределения света свободно подгоняются. Часть удерживающих элементов и остальные удерживающие элементы натянуты в противоположных направлениях. 4 н. и 13 з.п. ф-лы, 19 ил.
Область техники, к которой относится изобретение
Настоящее изобретение относится к устройству управления распределением света, а более конкретно к устройству управления распределением света, имеющему множественные тонкие пластинчатые элементы распределения света.
Дополнительно, настоящее изобретение также относится к теплице, перегородке и строению, использующему устройство управления распределением света.
Уровень техники
Традиционно, освещение комнаты регулировалось посредством установки жалюзи на окно, сквозь которое проходит внешний свет. Как раскрыто, например, в патентном документе 1, в жалюзи множественные пластинки, ориентированные в горизонтальном направлении, расположены и удерживаются вертикально посредством лестничных лент.
Лестничная лента включает в себя пару передних и задних вертикальных лент и множественных уточных нитей, протянутых между парой вертикальных лент на предопределенных вертикальных интервалах, образуя конструкцию, подобную лестнице, имеющую множественные ячейки, каждая образована парой вертикальных лент и парой уточных нитей. Множественные пластинки вставлены в соответствующие ячейки и размещены на место на уточных нитях силой притяжения. Натягивая пару вертикальных лент в противоположных направлениях, уточные нити наклоняют между парой вертикальных лент с тем результатом, чтобы пластинки, размещенные на месте на уточных нитях, наклонялись вокруг продольных осей. В некоторых случаях вместо вертикальных лент могут быть использованы веревки.
[Патентный документ 1] JP 09-189179 А
Раскрытие изобретения
Несмотря на то, что поскольку пластинки удерживаются, размещаясь только на соответствующих уточных нитях, если какая-то внешняя сила применена к пластинкам, пластинки легко двигаются для изменения их наклона. Если жалюзи установлены не в вертикальном направлении, а в горизонтальном или наклонном направлении, пластинки не могут быть выровнены в их наклоне.
Также было предложено жалюзи, в котором каждая уточная нить включает в себя две нити и пластинку, вставленную так, чтобы быть зажатой между двумя нитями. Однако это вызовет проблему, заключающуюся в том, что действие по вставлению пластинки между двумя нитями в момент изготовления требует много времени и усилий.
Кроме этого, существуют жалюзи, в которых множественные удлиненные пластинки ориентированы в вертикальном направлении и расположены в горизонтальном направлении. В этих жалюзи наклонение пластинок меняется поворачиванием установочной части в верхнем конце пластинок в горизонтальной плоскости. Однако часто встречается некоторая неверность в наклоне, заключенном в нижних концах удлиненных пластинок.
Настоящее изобретение было выполнено с целью решения вышеприведенных проблем. Таким образом, целью настоящего изобретения является предоставление устройства управления распределением света, которое может содержать множественные тонкие пластинчатые элементы распределения света без вызывания какой-либо неправильности в наклоне, даже если внешняя сила применена к ним, или они установлены в горизонтальном или наклонном направлении, и которое может быть с легкостью изготовлено.
Настоящее изобретение также ставит целью предоставить теплицу, перегородку и строение, использующее устройство управления распределением света.
Осуществление изобретения
Устройство управления распределением света согласно настоящему изобретению включает в себя множественные элементы распределения света, каждый образован как удлиненная и узкая тонкая пластина; и множество поддерживающих элементов для поддержания элементов распределения света для расположения параллельно друг другу, удерживающие элементы, удлиняющиеся в направлении, пересекающем элементы распределения света, и имеющие множественные ячейки, в которые соответствующие элементы распределения света подгоняются свободно, часть удерживающих элементов и остальные удерживающие элементы натянуты в противоположных направлениях, посредством чего элементы распределения света удерживаются между краями ячеек части удерживающих элементов и краями ячеек остальных удерживающих элементов.
Когда использованы гибкие удерживающие элементы, наклон элементов распределения света может быть отрегулирован по отношению к установочному положению множественных элементов распределения света посредством изменения формы множественных ячеек.
Каждый из удерживающих элементов включает в себя лестничную ленту, которая включает в себя пару продольных лент или продольных веревок, параллельных друг другу и удлиняющихся в установочном направлении множественных элементов распределения света; и множественные уточные нити, протянутые между парой продольных лент или продольных веревок, расположенных на предопределенных интервалах в продольном направлении продольных лент или продольных веревок. Уточные нити лестничной ленты могут быть образованы из упругого материала. Дополнительно, обе уточные нити и продольные ленты или продольные веревки лестничной ленты могут быть образованы из упругого материала. В этом случае уточные нити могут быть представлены так, что изменение угла может быть выполнено по отношению к продольными лентам или продольными веревкам.
Предпочтительно, устройство управления распределением света включает в себя, по меньшей мере, три удерживающих элемента, расположенных на расстоянии друг от друга в продольном направлении элементов распределения света.
Каждый из элементов распределения света может быть образован конструкцией рассеивания света. В этом случае может быть применена конструкция, в которой конструкция рассеивания света демонстрирует, по меньшей мере, одну из способностей – оптическую проницаемость и оптическую отражательную способность и имеет множественные выступы, размещенные в определенном порядке параллельно и достаточно близко к друг другу на поверхности, на которую падает свет или сквозь которую проходит свет, каждый из выступов имеет сечение, взятое вдоль линии, ортогональной к продольному направлению выступов, которое по существу образует часть окружности, каждый из выступов имеет поверхность, которая является практически зеркальной, когда параллельные луч, имеющий диаметр больший, чем ширина каждого выступа, проходит в множественных выступах, центр луча рассеивается в форме конусообразного вида или полуконусообразного вида вокруг центральной оси, составляющей линию, проходящую точку падения по существу центральной линии луча и параллельно выступам.
Дополнительно, каждый из выступов образован так, чтобы внешний край сечения, взятого вдоль линии, ортогональной продольному направлению выступов, образовывал дуговую часть, имеющую угол окружности 140 градусов или больше. Дополнительно, интервал между центрами соседних выступов может быть от 1 микрона до 2 мм.
Жалюзи, чьи пластинки как элементы распределения света могут быть сформированы.
Теплица в соответствии с настоящим изобретением включает в себя вышеупомянутое устройство управления распределением света, установленное горизонтально или наклонно над культивируемым растением. Множество устройств управления распределением света может быть установлено на различных уровнях над культивируемым растением. Дополнительно, множество устройств управления распределением света может быть установлено прямо над и между множеством культивируемых стеллажей многоярусного типа.
Перегородка в соответствии с настоящим изобретение использует вышеупомянутое устройство управления распределением света.
Дополнительно, строение в соответствии с настоящим изобретением включает в себя вышеупомянутое устройство управления распределением света, установленное на окно, через которое проходит внешний свет.
В соответствии с настоящим изобретением возможно реализовать устройство управления распределением света, в котором элементы распределения света свободно подгоняются в множественные соответствующие ячейки множества удерживающих элементов, и в которых часть множества удерживающих элементов и остальных удерживающих элементов тянут в противоположных направлениях, посредством чего элементы распределения света удерживаются между краями ячеек части удерживающих элементов и краями ячеек остальных удерживающих элементов, таким образом множественные тонкие пластинчатые элементы распределения света крепко удерживаются, и если к ним будет применена внешняя сила, или если они установлены горизонтально или наклонно, не будет никакой неправильности в наклоне элементов распределения света.
Краткое описание чертежей
Фиг.1 – местный перспективный вид устройства управления распределением света в соответствии с вариантом 1 осуществления настоящего изобретения.
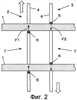
Фиг.2 – местный вид разреза устройства управления распределением света варианта 1 осуществления.
Фиг.3 – вид спереди устройства управления распределением света варианта 1 осуществления.
Фиг.4 – вид спереди устройства управления распределением света в соответствии с разновидностью варианта 1 осуществления.
Фиг.5 – местный вид в перспективе устройства управления распределением света в соответствии с вариантом 2 осуществления.
Фиг.6 – местный вид сбоку, иллюстрирующий операцию устройства управления распределением света в соответствии с вариантом 3 осуществления.
фиг.7 – местный вид сбоку, иллюстрирующий операцию устройства управления распределением света в соответствии с разновидностью варианта 3 осуществления.
Фиг.8 – местный вид в перспективе устройства управления распределением света в соответствии с вариантом 4 осуществления.
Фиг.9 – схема для иллюстрации действия устройства управления распределением света в соответствии с вариантом 5 осуществления.
Фиг.10 – местный вид в перспективе устройства управления распределением света варианта 5 осуществления.
Фиг.11А и 11В – виды сечений, иллюстрирующих работу устройства управления распределением света варианта 5 осуществления соответственно.
Фиг.12А-12Н – виды сечений, показывающих различные формы конструкции рассеивания света, используемые в устройстве управления распределением света варианта 5 осуществления соответственно.
Фиг.13 – увеличенный вид сечения, показывающий выступ конструкции рассеивания света варианта 5 осуществления.
Фиг.14А-14С – виды сечений, показывающие различные формы элементов распределения света устройств управления распределением света в соответствии с вариантом 6 осуществления, соответственно.
Фиг.15 – вид сечения, показывающего устройство управления. распределением света в соответствии с Примером 1.
Фиг.16 – вид сбоку, показывающий разновидность Примера 1.
Фиг.17 – вид сбоку, показывающий другую разновидность Примера 1.
Фиг.18 – перспективный вид, показывающий еще одну разновидность Примера 1.
Фиг.19 – вид сверху, показывающий еще одну разновидность Примера 1.
Осуществление изобретения
В последующем, варианты осуществления настоящего изобретения будут описаны со ссылкой на прилагаемые чертежи.
Вариант 1
Фиг.1 иллюстрирует устройство управления распределением света согласно варианта 1 осуществления. Устройство управления распределением света образовано как жалюзи, имеющие множественные элементы 1 распределения света с пластинками экранирующего свойства. Множественные элементы 1 распределения света образованы как тонкие и узкие пластины и ориентированы горизонтально. В вертикальном направлении они расположены параллельно друг другу на предопределенных лестничными лентами 2, 3 интервалах. Каждая из лестничных лент 2, 3 образована парой продольных лент (или продольных веревок) 4 и 5, параллельных друг другу и удлиняющихся в установочном положении элементов 1 распределения света, т.е. в вертикальном направлении, и множественными уточными нитями 6, протянутыми между продольными лентами 4 и 5, и является гибкой. Множественные уточные нити 6 установлены на предопределенных интервалах в продольном направлении продольных лент 4 и 5. Ячейка 7 определена парой продольных лент 4 и 5 и парой смежных уточных нитей 6, и каждая из лестничных лент 2, 3 представляет подобную лестнице конфигурацию, имеющую множественные ячейки 7.
Соответствующие элементы 1 распределения света вставлены в каждую из таких ячеек 7 и свободного подогнаны туда. При этом, когда одну лестничную ленту 2 тянут вверх и другую лестничную ленту тянут вниз, каждая из уточных нитей 6 лестничной ленты 2 приходит в контакт с нижней поверхностью соответствующего элемента 1 распределения света, как показано на Фиг.2, применяя силу, направленную вверх F1 к соответствующему элементу 1 распределения света, и каждая из уточных нитей 6 лестничной ленты 3 приходит в контакт с верхней поверхностью соответствующего элемента 1 распределения света, применяя силу, направленную вниз F2 к элементу 1 распределения света. Как результат, каждый элемент 1 распределения света удерживается между уточной нитью 6, расположенной в нижней части каждой ячейки 7 одной лестничной ленты 2, и уточной нитью 6, расположенной в верхней части каждой ячейки 7 другой лестничной ленты 3.
Например, как показано на Фиг.3, элемент 1 распределения света вставляется в ячейку 7 лестничной ленты 2, соответственно расположенной около продольных концов элементов 1 распределения света, и в ячейку 7 лестничной ленты 3, расположенной около продольного центра элемента 1 распределения света.
Две лестничные ленты 2 натянуты вверх и одна лестничная лента 3 натянута вниз, посредством чего элемент 1 распределения света удерживается между уточными нитями 6 лестничной ленты 2 и уточными нитями 6 лестничной ленты 3 и расположен вертикально в параллелях на предопределенных интервалах.
Вследствие этого расположения множественные элементы 1 распределения света удерживаются надежно, и не создается никаких отклонений в угле наклона элементов 1 распределения света, если прикладывается какая-то внешняя сила к элементам 1 распределения света.
Как показано на Фиг.3, возможно удерживать элементы 1 распределения света, используя, по меньшей мере, три лестничные ленты 2, 3, разнесенные друг от друга в продольном направлении элементов 1 распределения света. Однако, как показано на Фиг.4, также возможно расположить лестничные ленты 2 и 3 близко друг к другу около продольных концов элемента 1 распределения света.
При этом опорный элемент 8 расположен на вершине множественных элементов 1 распределения света и опорный элемент 9 расположен внизу. Верхние концы продольных лент 4 и 5 лестничной ленты 2 соединены с верхним опорным элементом 8 наряду с тем, что нижние концы продольных лент 4 и 5 лестничных лент 3 соединены с нижним опорным элементом 9, и верхний опорный элемент 8 закреплен с неподвижным объектом, таким как оконная рама (не проиллюстрирована), и нижнему опорному элементу 9 разрешено свободное свисание без крепления к неподвижному объекту. Как результат, сила, направленная вниз, действует на лестничные ленты 3 благодаря гравитационной силе, действующей на нижний опорный элемент 9, и элементы 1 распределения света тянутся вниз посредством уточных нитей 6 лестничных лент 3 так, что совместно с гравитационной силой, действующей на элементы 1 распределения света, элементы 1 распределения света прижимаются к уточным нитям 6 лестничных лент 2. Следовательно, лестничные ленты 2 и 3 тянут в противоположных направлениях, посредством чего элементы 1 распределения света удерживаются между уточными нитями 6 лестничных лент 2 и уточными нитями 6 лестничных лент 3.
В случае, когда нижний опорный элемент 9 закреплен с неподвижным объектом, возможно применить растягивающие силы в противоположных направлениях к лестничным лентам 2 и 3, натягивая верхний опорный элемент 8 вверх.
Вместо использования опорных элементов 8 и 9 также возможно соединять верхние концы продольных лент 4 и 5 с наивысшим элементом 1 распределения света и соединять нижние концы продольных лент 4 и 5 с наинизшим элементом 1 распределения света, с наивысшим элементом 1 распределения света, скрепленными с неподвижным объектом.
Дополнительно, поскольку возможно удерживать элементы 1 распределения света между уточными нитями 6 части лестничных лент и уточными нитями 6 остальных лестничных лент, таща часть лестничных лент и остальные лестничные ленты в противоположных направлениях, может быть выбрано подходящее число и месторасположение множества лестничных лент в соответствии с длиной элементов 1 распределения света и т.д.
Вариант 2
Как показано на Фиг.5, также возможно разместить множественные элементы 1 распределения света горизонтально и удерживать элементы 1 распределения света горизонтально удлиняющимися лестничными лентами 2, 3. Например, на Фиг.5 натягиванием лестничных лент 2 налево и натягиванием лестничных лент 3 направо элементы 1 распределения света закрепляются между уточными нитями 6 лестничной ленты 2 и уточными нитями 6 лестничной ленты 3. Также возможно натягивать лестничные ленты 2 налево и натягивать лестничные ленты 3 направо натягивающими устройствами (не показаны). Дополнительно, также возможно применять растягивающие силы в противоположных направлениях лестничным лентам 2 и 3, натягивая в положение одну из лестничных лент 2, 3 натягивающим устройством, когда другая из лестничных лент 2, 3 закреплена с неподвижным объектом.
В этом случае для предотвращения выпадения или провисания элементов 1 распределения света желательно поместить элементы 1 распределения света на жесткий брус 10 или что-то подобное, удлиняющееся в горизонтальном направлении.
Подобным образом также возможно расположить элементы 1 распределения света в наклонном направлении, наклонном от горизонтального направления на предопределенный угол или по кривой, и удерживать их лестничными лентами 2, 3.
Вариант 3
Как показано на Фиг.6, в устройстве управления распределением света варианта 1 осуществления, описанного выше, когда форма каждой ячейки 7, образованной парой продольных лент 4 и 5 и парой смежных уточных нитей 6, изменяется от прямоугольника к параллелограмму движением одной продольной ленты 4 каждого из лестничных лент 2, 3 в продольном направлении по отношению к другой продольной ленте 5, уточные нити 6 становятся наклонными по отношению к продольным лентам 4 и 5, посредством чего элементы 1 распределения света, удерживаемые между уточными нитями 6 лестничной ленты 2 и уточными нитями 6 лестничной ленты 3, наклоняются. Таким образом, изменяя относительное движение креплений продольной ленты 4 и продольной ленты 5 в продольном направлении, становится возможным корректировать наклон элементов 1 распределения света в отношении с установочным направлением.
Так же, как показано на Фиг.1, когда множественные элементы 1 распределения света расположены в горизонтальном направлении, наклонное направление или направление кривой, как в случае устройства управления распределением света варианта 2 осуществления, наклон элементов 1 распределения света может быть откорректирован изменением величины относительного движения в продольном направлении продольной ленты 4 и продольной ленты 5 каждой лестничной ленты 2, 3.
Вариант 4
Как показано на Фиг.8, в устройстве управления распределением света вариантов 1-3, описанных выше, когда сквозные отверстия 11 образованы в центре в направлении ширины каждого элемента 1 распределения света и удлиняющиеся/сжимающиеся веревки 12, пропущенные через сквозные отверстия 11 с одним концом удлиняющейся/сжимающейся веревки 12, закрепленным с элементом 1 распределения света, находящимся на конце в установочном направлении, или с опорным элементом 9, возможно свернуть множественные элементы 1 распределения света сматыванием удлиняющейся/сжимающейся веревки 12. Напротив, разматывая удлиняющуюся/сжимающуюся веревку 12 с элементов 1 распределения света из замотанного состояния, становится возможным раскрыть множественные элементы 1 распределения света.
Когда множественные элементы 1 распределения света расположены в вертикальном направлении, как в случае устройства управления распределением света варианта 1 осуществления, множественные элементы 1 распределения света могут быть раскрыты самостоятельно разматыванием удлиняющихся/сжимающихся веревок 12 благодаря силе притяжения элементов 1 распределения света и опорного элемента 9. С другой стороны, когда множественные элементы 1 распределения света установлены в горизонтальном направлении, наклонном направлении или направление кривой, как в случае устройства управления распределением света варианта 2 осуществления, множественные элементы 1 распределения света могут быть раскрыты вытягиванием элемента распределения света или опорного элемента 9, к которому прикреплен каждый конец удлиняющейся/сжимающейся веревки 12.
Вариант 5
Используя оптоволокно и стержни округлого сечения разных диаметров, изобретатель настоящего изобретения сделал прототипы конструкции распространения света, имеющей выступы, и провел испытания по соответствующему распределению распространения света. Как результат, было обнаружено, что в случае множественных выступов, размещенных в определенном порядке параллельно и достаточно сильно близко друг к другу, изогнутый край поперечного сечения каждого выступа является округлым, и поверхность каждого выступа является по существу отражающей, кроме того, узкий пучок света “А”, падающий к точке “i” на поверхности конструкции, распространяется вдоль округлой конической плоскости, которая имеет свою вершину в точке “i”, посредством дифракционного эффекта, вызванного множеством выступов или в его отражении или в его прозрачности, где отраженный распространенный свет проходит вдоль половинчато округлой конической плоскости, в то время как переданный распространенный свет проходит вдоль оставшейся половинчатой округлой канонической плоскости.
Испытание по преломлению света было осуществлено, используя передающие свет тела в форме оптоволокна или стержней округлого сечения разных диаметров. Как результат испытания, было выяснено, что при увеличении диаметра передающего света тела в диапазоне, например, 0,25 мм или больше обнаруживается уменьшение в количестве преломляемого света. В области техники для настоящего изобретения диаметр 2 мм или больше может привести к ухудшению в функционировании для практического использования, и проблема может быть усложнена, когда устанавливается устройство управления распределением света из-за увеличения элементов распределения света.
Такое рассеивание вдоль округлой конической плоскости имеет следующие характеристики в дополнение к вышеописанному. Как показано на Фиг.9, предлагается ортогональная система координат, в которой линия, которая проходит через точку “i” и является параллельной продольному направлению выступов “U”, установлена как ось Y, далее добавлены ось Х и ось Z, ортогональные оси Y. В этой ортогональной системе координат, когда пренебрегается толщиной плоской конструкции, плоскость YZ соответствует конструкции. YZ-плоскость задана как плоскость S. XZ-плоскость, ортогональная оси Y в начале координат “О”, расположенная ниже точки “i”, задана как плоскость Т. Ось, которая проходит через точку “i” и является параллельной оси Z, задана как ось Z’. Плоскость, включающая ось Z’ и проходящая плоскость S под острым углом “ “, задана как плоскость Р.
Когда плоскость S предполагается как отражающая и узкий пучок света “А” распространяется по плоскости Р и падает на плоскость S в точке “i”, точка пересечения плоскости Т и отраженного узкого пучка света от узкого пучка света “А” и точка пересечения плоскости Т и пропущенного узкого пучка света от пучка света “А” указываются ссылкой как “а” и “а'” соответственно. Половина окружности, имеющей отрезок прямой “О а”, соединяющий точку “а” и начало координат “О”, как ее радиус, становится поперечным сечением отраженного рассеянного света от узкого пучка света “А” на поверхности Т. Половина окружности, имеющей отрезок прямой “О а'”, соединяющий точку “а”‘ и начало координат “О”, как ее радиус, становится поперечным сечением рассеянного света от узкого пучка света “А” на поверхности Т. Как и в случае света “В”, падающего на плоскость S конструкции, когда острый угол , который свет проходит через точку падения “i”, пересекающий XY плоскость, которая параллельна выступам U и перпендикулярна плоскости S, становится больше, пространство распространенного потока увеличивается.
Яркость в направлении в таком распространяемом потоке демонстрирует максимальное значение в направлении отраженных лучей или переданных лучей плоскостью “S”, где плоскость “S” предположена как плоская отражающая поверхность. Яркость уменьшается линейно как (направление рассеянного луча), уменьшаясь далеко от направления, в котором показано максимальное значение, в соответствии с углом направления, показывающим такое максимальное значение. Равномерность яркости распределения на направлении (рассеянных лучей в) рассеянного потока (здесь и далее указан ссылкой как “распределение яркости рассеиваемого потока”) может быть улучшена выбором окружного угла или радиана, максимального диаметра ортогонального поперечного сечения каждого из этих выступов и расстояния между смежными выступами.
С учетом этого, как показано на Фиг.10, конструкции 21 рассеивания света в форме продолговатых и тонких пластин, имеющих множественные выступы U, как описано выше, были использованы как элементы 1 распределения света устройства управления распределения света вариантов 1-4 осуществлений, описанных выше. Выступы U конструкций 21 образованы так, чтобы пересекать продольное направление каждой конструкции 1, более точно, быть ортогональными к ним. Конструкции 21 расставлены так, что соответствующие наружные поверхности смежных конструкций 21 параллельны друг другу и отделены друг от друга на предопределенную дистанцию так же как выступы U смежных конструкций 21 параллельны друг другу. На Фиг.10 выступы U схематично отображены простыми отрезками прямой для того, чтобы показать направление их образования. Фактически, выступы U, каждый из которых имеет поперечное сечение, образующее часть большой окружности и поверхность, являющуюся практически отражающей, расположены достаточно близко друг к другу на поверхности каждой конструкции 21.
Каждая конструкция 1 имеет и оптическую прозрачность, и оптическую отражательную способность. Как показано на Фиг.10, когда свет L падает на точку “i” на поверхности конструкции 21 на случайный угол или с отражением, или с прохождением, свет L рассеивается вдоль округлой конической плоскости, которая имеет вершину в точке “i” и центральную ось С, с линией, параллельной выступам U, посредством эффекта преломления, вызванного размещенными выступами U. Отраженный рассеянный поток света Fr распространяется в продольную половину округлой канонической плоскости, а пропущенный рассеянный поток света Ft распространяется в оставшуюся продольную половину округлой канонической поверхности. Центральная ось С рассеянного потока света направлена постоянно параллельно выступам U без зависимости от случайного угла L. Например, как показано на Фиг.11А, падающий свет L1 на поверхность конструкции 21 на угол падения 1 и падающий свет L2 на угол падения 2 рассеиваются в соответствующую округлую коническую плоскость, имеющую центральные оси С в одном направлении.
Устройство управления распределением света располагается так, что выступы U каждой конструкции 21 ориентируют в желаемом направлении для распределения света. Следовательно, падение света на поверхность каждой конструкции 21 рассеивается вдоль округлой конической поверхности, которая имеет центральную ось С в направлении, параллельном к выступам U, т.е. в желаемом направлении, для распространения света либо для его отражения или его пропускания. Таким образом, свет может быть эффективно рассеян в желаемом направлении для осуществления распространения света.
Когда каждая из конструкций 21 имеет, по меньшей мере, оптическую проницаемость, выступы U могут быть образованы хотя бы на одной из основных поверхностей, противостоящих друг другу в конструкции 21. Например, в случае конструкции 21, показанной на Фиг.10, выступы U образованы на верхней поверхности каждой конструкции. Однако выступы U могут быть образованы на нижней поверхности каждой из конструкций 21. Когда выступы U образованы на обеих противоположных основных поверхностях, эффект дополнительно улучшается.
Когда каждая из конструкций 21 имеет только оптическую проницаемость без отражательной способности, только пропущенный рассеянный поток Ft распространяется на нижней продольной половине округлой канонической плоскости Фиг.10. Однако распространение света в желаемом направлении может быть сделано подобным образом.
Наоборот, когда каждая из конструкций 21 имеет только отражательную способность без оптической проницаемости, только отраженный рассеянный поток Fr распространяется на верхней продольной половине округлой канонической плоскости Фиг.10. Однако распространение света в желаемом направлении производится подобным образом. Когда каждая конструкция 21 имеет только отражательную способность, достаточно сформировать выступы U только на поверхности, облученной падающим светом, которая является одной из основных поверхностей, противоположных друг другу в конструкции 21. Однако, когда выступы U образованы на обеих основных поверхностях, как в случае падающего света L3, показанного на Фиг.11В, отраженный рассеянный поток, полученный от выступов U на верхней поверхности нижней конструкции 21, рассеивается выступами U нижней поверхности конструкции 21, расположенной над нижней поверхностью конструкции 21. Таким образом, производится более эффективное рассеянное распространение света.
Выступы, имеющие различные поперечные сечения, как показано в качестве примера на Фиг.12А-12Н, могут быть использованы как выступы U. Необходимо использовать выступы U, каждое поперечное сечение которых образует часть основной окружности и поверхности, являющейся по существу отражающей поверхностью. Дополнительно, желаемым является то, что расстояния между центрами смежных выступов U составляют от 1 микрона до 1 мм.
Когда конструкция 21 должна быть образована, используя выступы U, соединенные друг с другом на смежных дуговыми частях, как показано на Фиг.12А, 12Е, 12G и 12Н, коммерческое производство такой конструкции может быть реализовано посредством процесса прессования, используя периферический угол дуговой части каждого выступа, равный или больший, чем 140°, и добавляя прямолинейную часть в направлении касательной линии к каждому концу дуговой части, тянущейся в глубину, по существу эквивалентному радиусу каждого выступа U, замеренному от вершины каждого выступа U, так что каждый выступ контактирует с соседним выступом в точке, как показано на Фиг.13.
Вариант 6
Хотя каждая конструкция 21, используемая в устройстве управления распределением света варианта 5, имеет плоскую конфигурацию, также возможно принять как элемент 1 распределения света конструкцию 22, чье сечение, взятое в направлении, ортогональном продольному направлению, изогнуто или является V-образным, как показано на Фиг.14А, конструкцию 23 изогнутой конфигурации, как показано на Фиг.14В, или конструкцию 24, имеющую S-образную изогнутую конфигурацию, как показано на Фиг.14С.
В вариантах 1-6, описанных выше, используются гибкие лестничные ленты 2, 3. Однако уточные нити лестничных лент могут быть образованы жесткими брусковыми элементами или тому подобными. Это помогает достигнуть улучшения в терминах сохранения расположения каждого элемента 1 распределения света.
Когда не требуется сдвигать расположение элементов 1 распределения света, также возможно образовывать обе уточные нити и продольные ленты или продольные веревки лестничных лент из жесткого материала. В этом случае, когда уточные нити предоставлены так, чтобы позволить изменение угла относительно продольных лент или продольных веревок, возможно поддерживать каждый элемент 1 распределения света точно на желаемом угле наклона передвижением пары продольных лент или продольных веревок в противоположных направлениях. Однако, когда не требуется изменять угол наклона элементов 1 распределения света, нет необходимости быть изменяемым углу, образованному уточными нитями и продольными лентами или продольными веревками.
Дополнительно, устройство управления распределением света вариантов 1-6 осуществления, описанных выше, может быть использовано как способ для освещения и распределения света, используя не только солнечный свет, но также искусственное освещение.
ПРИМЕРЫ
Пример 1
В варианте 6 устройство управления распределением света типа жалюзи было подготовлено, используя в качестве элементов распределения света конструкции, имеющие сечение V-образной формы, взятое вдоль линии, ортогональной продольному направлению конструкции, как показано на Фиг.14А, и имеющие выступы, образованные в параллели на обеих поверхностях конструкции, каждый выступ образован из условия, чтобы внешний выступ сечения конструкции, взятого в направлении, ортогональном продольному направлению конструкции, образует часть окружности, имеющую радиус 0,25 мм и угол окружности 160°, и из условия, чтобы интервал между смежными выступами был 5 микрон, и используя множество лестничных лент. Такое устройство управления распределением света было размещено в положении, горизонтальном выше различных объектов, и солнечный свет был применен к нему сверху с таким результатом, что тени различных объектов, установленных ниже устройства управления распределением света, по существу исчезли.
Используя устройство управления распределением света Примера 1 в теплице, возможно сделать внутреннюю часть таблицы свободной от теней и равномерно осуществлять распределение света на культивируемом стеллаже многоярусного типа.
Т.е., как показано на Фиг.15, располагая устройство 32 управления распределением света в соответствии с Примером 1 горизонтально или наклонно над культивируемым растением 33 в теплице 31, по существу нет тени, образованной на культивируемом растении 33, расположенном ниже устройства 32 управления распределением света.
Как показано на Фиг.16, когда множество устройств 32 управления распределением света расположено на различных высотах над культивируемым растением 33, рассеянный свет от верхнего устройства 32 управления распределением света проникает в нижнее устройство 32 управления распределением света, таким образом, возможно применить еще больше света к культивируемому растению 33.
Как показано на Фиг.17, когда множество культивируемых стеллажей 34 многоярусного типа расположено рядом, и устройства 32 управления распределением света установлены прямо над культивируемыми стеллажами 34 многоярусного типа и между культивируемыми стеллажами 34, часть рассеянного света от устройств 32 управления распределением света, расположенных в верхнем положении, проходит в устройство 32 распределения света, находящегося между культивируемыми стеллажами 34, и объединяется с солнечным светом, прямо попадающим на устройство 32 распределения света, находящегося между культивируемыми стеллажами 34, много солнечного света попадает на культивируемые растения на нижних полках культивируемых стеллажей 34.
Также возможно выполнить эффективное распределение света с солнечным светом не только в теплице, но также к культурам на открытом поле, посредством расположения устройств 32 управления распределением света, как показано на Фиг.15, 16 и 17.
Как показано на Фиг.18, устанавливая устройство 32 управления распределением света Примера 1 на внутреннюю сторону или внешнюю сторону окна 35 строения, возможно принять рассеянный солнечный свет глубоко в строение.
Дополнительно, как показано на Фиг.19, возможно образовать перегородку 36, используя устройство 32 управления распределением света Примера 1.
Когда устройство 32 управления распределением света Примера 1 расположено вертикально в использовании, как показано на Фиг.18 или 19, возможно добиться такого же эффекта, не обращая внимания на то, направлены ли элементы распределения света V-образного сечения вверх или вниз.
Когда длина одной стороны элемента распределения света V-образного сечения больше, чем ширина элемента распределения света, элемент распределения света может быть легко помещен в положение между уточными нитями пары лестничных лент, лестничная лента нажимает на ту сторону элемента распределения света, длина которой эквивалентна или слегка больше, чем длина ленты.
Пример 2
Устройство управления распределением света Примера 1, где были образованы выступы, удлиняющиеся параллельно друг другу, не в направлении, ортогональном продольному направлению элемента распределения света, а в продольном направлении на его поверхности каждого элемента распределения света V-образного сечения, находящегося на внутренней стороне, и это устройство управления распределением света было установлено на внутреннюю сторону окна. В результате, стало возможным пропускать рассеянный свет глубоко в строение.
Также в случае элемента распределения света, чье конфигурация сечения не V-образная, а плоская, изогнутая или S-образная, такой же эффект был получен образованием выступов, тянущихся параллельно друг другу не в направлении, ортогональном продольному направлению элементов распределения света, а в продольном направлении на поверхности элемента распределения света, расположенного на внутренней стороне.
В Примерах 1 и 2 вместо образования выступов везде на обеих поверхностях элементов распределения света также возможно образовать выступы исключительно на одной поверхности, в части каждой из обеих поверхностей или в части одной поверхности согласно использованию.
Формула изобретения
1. Устройство управления распределением света, содержащее: множественные элементы распределения света, каждый образован как узкая и тонкая пластина; и множество удерживающих элементов для удержания элементов распределения света, выполненные с возможностью расположения параллельно друг другу, удерживающие элементы, продолжающиеся в направлении, пересекающем элементы распределения света, и имеющие множественные ячейки, в которые элементы распределения света свободно подгоняются, часть удерживающих элементов и остальные удерживающие элементы, натянутые в противоположных направлениях, посредством чего элементы распределения света удержаны между краями ячеек части удерживающих элементов и краями ячеек остальных удерживающих элементов.
2. Устройство управления распределением света по п.1, в котором удерживающие элементы имеют гибкость, наклон элементов распределения света откорректирован в соответствии с установочным направлением множественных элементов распределения света посредством изменения формы множественных ячеек.
3. Устройство управления распределением света по п.2, в котором каждый из удерживающих элементов содержит лестничную ленту, включающую в себя: пару продольных лент или продольных веревок, параллельных друг другу и продолжающихся в направлении установки множественных элементов распределения света; и множественные уточные нити, протянутые между парой продольных лент или продольных веревок и расположенных на определенных интервалах в продольном направлении продольных лент или продольных веревок.
4. Устройство управления распределением света по п.3, в котором уточные нити лестничной ленты образованы из упругого материала.
5. Устройство управления распределением света по п.4, в котором продольные ленты или продольные веревки лестничной ленты образованы из упругого материала.
6. Устройство управления распределением света по п.5, в котором уточные нити установлены с возможностью выполнения изменений в угле в соответствии с продольными лентами или продольными веревками.
7. Устройство управления распределением света по п.1, в котором множество удерживающих элементов содержит, по меньшей мере, три удерживающих элемента, удаленных друг от друга в продольном направлении элементов распределения света.
8. Устройство управления распределением света по п.1, в котором каждый из элементов распределения света содержит конструкцию рассеивания света.
9. Устройство управления распределением света по п.8, в которой конструкция рассеивания света имеет, по меньшей мере, одно из свойств – оптическую проницаемость и оптическую отражательную способность, и имеет множественные выступы, размещенные в определенном порядке параллельно и достаточно близко друг к другу, по меньшей мере, на поверхности, на которую падает свет или сквозь которую проходит свет, причем каждый из выступов имеет сечение, взятое вдоль линии, ортогональной к продольному направлению выступов, которое, по существу, составляет часть окружности, каждый из выступов имеет поверхность, которая является практически зеркальной, когда параллельный луч, имеющий диаметр, больший, чем ширина каждого выступа, проходит в множественных выступах, центр луча рассеивается в форме конусообразного вида или полуконусообразного вида вокруг центральной оси, составляющей линию, проходящую точку падения, по существу, центральной линии луча и параллельно выступам.
10. Устройство управления распределением света по п.9, в котором каждый из выступов образован из условия, чтобы внешний край сечения, взятого вдоль линии, ортогональной продольному направлению выступов, образует округлую часть, имеющую угол окружности 140° или более.
11. Устройство управления распределением света по п.9, в котором интервал между центрами соседних выступов составляет от 1 мкм до 2 мм.
12. Устройство управления распределением света по п.1 для образования жалюзи, чьи пластинки образованы как элементы управления распределением света.
13. Теплица, содержащая устройство управления распределением света по п.1, установленное горизонтально или наклонно над культивируемым растением.
14. Теплица по п.13, в которой множество устройств управления распределением света по п.1 установлены на различных уровнях над культивируемым растением.
15. Теплица по п.13, в которой множество устройств управления распределением света по п.1 установлены прямо над и между множеством культивируемых стеллажей многоярусного типа.
16. Перегородка, использующая устройство управления распределением света по п.1.
17. Строение, содержащее устройство управления распределением света по п.1, установленное в окне, через которое проходит внешний свет.
РИСУНКИ
|
|