|
|
(21), (22) Заявка: 2008123776/03, 18.06.2008
(24) Дата начала отсчета срока действия патента:
18.06.2008
(46) Опубликовано: 10.01.2010
(56) Список документов, цитированных в отчете о поиске:
Ребрик Б.М. Бурение инженерно-геологических скважин. – М.: Недра, 1990, с.299-300. SU 1590509 A1, 07.09.1990. SU 1339198 A1, 23.09.1987. SU 1320378 A1, 30.06.1987. JP 2005036570 A, 10.02.2005. JP 2001241030, 04.09.2001.
Адрес для переписки:
143500, Московская обл., г. Истра, а/я 21, ЗАО “МОЗБТ”
|
(72) Автор(ы):
Черкасов Владимир Иванович (RU), Кравченко Алексей Евгеньевич (RU), Бебенин Владимир Юрьевич (RU), Бей Юрий Николаевич (RU)
(73) Патентообладатель(и):
Закрытое Акционерное Общество “МОСКОВСКИЙ ОПЫТНЫЙ ЗАВОД БУРОВОЙ ТЕХНИКИ” (ЗАО “МОСКОВСКИЙ ОПЫТНЫЙ ЗАВОД БУРОВОЙ ТЕХНИКИ”) (RU)
|
(54) УСТРОЙСТВО ДЛЯ ПРОВЕДЕНИЯ СТАТИЧЕСКОГО ЗОНДИРОВАНИЯ ПЕРЕМЕЖАЮЩИХСЯ ПО ПЛОТНОСТИ ГРУНТОВ
(57) Реферат:
Изобретение относится к строительству, а именно к инженерным изысканиям. Устройство для проведения статического зондирования перемежающихся по крепости грунтов состоит из полой шнековой колонны и лопастного шнекового долота, включающего корпус с лопастями и пилотный резец. Одна из лопастей шнекового долота выполнена большего размера, чем другая, и жестко соединена с корпусом шнекового долота и ребордой, а лопасть меньшего размера шарнирно связана с корпусом шнекового долота, для обеспечения ее отклонения от оси, и выполнена заодно с пилотным резцом, верхний торец которого является клапаном и входит во внутреннюю полость корпуса шнекового долота, перекрывая ее. Верхний торец жестко закрепленной к корпусу шнекового долота лопасти большего размера расположен выше торца лопасти меньшего размера. Технический результат состоит в обеспечении возможности проведения исследований перемежающихся по крепости грунтов статическим зондированием без извлечения бурового снаряда и породоразрушающего инструмента из скважины при высокой производительности указанных работ, снижении материалоемкости и сроков проведения исследования. 4 з.п. ф-лы, 2 ил.
Изобретение относится к области строительства, а именно к инженерным изысканиям.
Известна специализированная установка для статического зондирования УСЗК-3, включающая силовой гидроцилиндр, патрон для соединения с зондом и измерительную аппаратуру.
Недостатком такой установки является отсутствие вращателя для производства буровых работ, без которых невозможно производить исследования свойств грунтов повышенной твердости (Рекомендации по применению полевых методов исследований грунтов ЦТИСЗ Госстроя РСФСР, М., 1969, с.42).
Известна также установка для бурения и исследования свойств грунтов статическим зондированием, смонтированная на шасси автомобиля с мачтой и вращателем, силовыми цилиндрами и измерительной аппаратурой (А.с. СССР, 744105, опубликовано 30.06.80, бюл. 24).
Недостатком этой установки является невозможность производства исследований грунтов статическим зондированием без извлечения бурового снаряда из скважины, что в значительной степени увеличивает затраты времени на исследования грунтов, снижая производительность изыскательских работ.
Наиболее близким по технической сути и достигаемому результату является устройство к буровым установкам УГБ-50М для статического зондирования грунтов НУСЗ-15, предназначенное для производства статического зондирования на глубину до 15-20 м (Б.М.Ребрик. Бурение инженерно-геологических скважин. М, Недра, 1990. Стр. 297).
Недостатком описанной буровой установки является отсутствие в комплекте устройства для проведения статического зондирования в перемежающихся по плотности грунтах.
Для того чтобы провести исследования по статическому зондированию прослоек плотного грунта, лежащего ниже слоя неплотного грунта, необходимо произвести подъем зондировочного устройства из скважины, предварительно проведя статическое зондирование плотного прослойка на его поверхности, заменить его на буровой снаряд с породоразрушающим инструментом и, опустив его на забой скважины, пробурить этот плотный прослоек грунта и поднять на поверхность буровой снаряд. Затем в очередной раз заменить его на зондировочное устройство, опустить его в скважину для проведения статического зондирования неплотного прослойка грунта и, дойдя до плотного прослойка, провести его зондирование и поднять на поверхность зондировочное устройство. Далее снова необходимо опустить на забой скважины буровой снаряд, пробурить плотный прослоек и снова поднять буровой снаряд на поверхность, чтобы следом опустить на забой зондировочное устройство и провести исследования статического зондирования следующего неплотного прослойка грунта. Такая последовательность работ будет производиться до проектной глубины будущей сваи.
В случае, если в разрезе скважины под будущую сваю присутствует несколько прослоек плотного грунта, на производство исследований по статическому зондированию всего разреза скважины затрачивается значительное время, что резко снижает производительность и увеличивает стоимость исследований по статическому зондированию.
Ожидаемый технический эффект от использования изобретения заключается в обеспечении возможности проведения исследований перемежающихся по крепости грунтов статическим зондированием без извлечения бурового снаряда и породоразрушающего инструмента из скважины при высокой производительности указанных работ.
Указанный выше технический эффект достигается тем, что в устройстве для проведения статического зондирования перемежающихся по крепости грунтов, состоящем из полой шнековой колонны и лопастного шнекового долота, включающего корпус с лопастями и пилотный резец, одна из лопастей шнекового долота выполнена большего размера, чем другая, и жестко соединена с корпусом шнекового долота и ребордой, а лопасть меньшего размера шарнирно связана с корпусом шнекового долота, для обеспечения ее отклонения от оси, и выполнена заодно с пилотным резцом, верхний торец которого является клапаном и входит во внутреннюю полость корпуса шнекового долота, перекрывая ее, при этом верхний торец жестко закрепленной к корпусу шнекового долота лопасти большего размера расположен выше торца лопасти меньшего размера, тем, что нижняя часть пилотного резца лежит в плоскости, расположенной выше плоскости забоя скважины, тем, что масса части отклоняющейся лопасти меньшего размера, обращенной в сторону стенки скважины относительно вертикальной оси шарнира, больше массы пилотного резца с клапаном и части, обращенной в сторону оси скважины относительно вертикальной оси шарнира, а также тем, что оно снабжено пластинчатой пружиной, один конец которой жестко прикреплен к периферийной части верхнего торца отклоняющейся лопасти, а другой жестко связан с корпусом шнекового долота, и тем, что часть клапана размещена внутри полости корпуса шнекового долота.
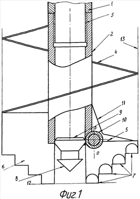
Изобретение поясняется чертежами, где на фиг.1 представлено лопастное шнековое долото в процессе бурения грунта с частью полого шнекового снаряда, на фиг.2 – лопастное шнековое долото в процессе производства статического зондирования с частью полого шнекового снаряда и зондом.
Устройство для проведения статического зондирования перемежающихся по крепости грунтов состоит из полого шнекового снаряда 1 (см. фиг.1) и лопастного шнекового долота, состоящего из корпуса 2 с присоединительной резьбой 3 к полому шнековому снаряду 1, ребордой 4, лопастей 5 и 6 с породоразрушающими элементами 7, пилотного резца 8 с клапаном 9, шарнира 10 и пластинчатой пружины 11.
Лопасть 6 выполнена большего размера, чем лопасть 5, и жестко связана с корпусом 2 лопастного шнекового долота и ребордой 4. Выполнение лопасти 6 большего размера, чем лопасть 5, обеспечит удаление разрушенного грунта на реборду 4. При этом полость скважины, образованная породоразрушающими элементами 7 этой лопасти, остается практически очищенной от разрушенного грунта, и в дальнейшем не будет препятствий для отклонения меньшей по размеру лопасти 5 от оси устройства.
Лопасть 5 смонтирована на корпусе 2 лопастного шнекового долота при помощи шарнира 10, жестко связанного с корпусом 2 лопастного шнекового долота, и выполнена заодно с пилотным резцом 8, верхний торец которого выполняет роль клапана 9.
Рабочая часть пилотного резца 8 расположена в плоскости, лежащей выше плоскости забоя скважины 12, что в значительной степени облегчает его работу по разрушению центральной части забоя скважины, т.к. резец 8 работает преимущественно в предразрушенной зоне, обеспечивая его высокую износостойкость.
Часть лопасти 5, обращенная в сторону стенки скважины 13 относительно оси О-О шарнира 10, имеет большую массу по сравнению с массой ее же части, обращенной от оси O-O к центру устройства, вместе с массой пилотного резца 8 с клапаном 9. Это условие необходимо для того, чтобы после проведения исследований по статическому зондированию очередного прослойка грунта и извлечения зонда из скважины лопасть 5 с пилотным резцом 8 и клапаном 9 вернулись в рабочее положение для дальнейшего бурения скважины.
С целью надежного возврата отклоненной лопасти 5 в рабочее положение дополнительно на периферийной части ее верхнего торца жестко закреплен один из концов пластинчатой пружины 11, другой конец которой жестко закреплен на корпусе 2 лопастного шнекового долота.
Устройство работает следующим образом.
Буровой агрегат устанавливают над точкой зондирования. К вращателю бурового агрегата подсоединяют полую шнековую колонну 1 с лопасным долотом, находящимся в рабочем положении. Если в предполагаемом геологическом разрезе под будущую сваю присутствуют плотные прослойки грунта, исследования по статическому зондированию данного разреза производят по следующей схеме.
Проводят статическое зондирование неплотного поверхностного прослойка грунта до глубины, когда зонд упрется в плотный прослоек грунта. Проведя необходимые замеры на поверхности плотного прослойка, зонд извлекают на поверхность. Разбурив прослоек неплотного грунта, где уже проведены исследования по статическому зондированию, и прослоек плотного грунта до встречи с прослойком неплотного грунта, согласно геологическому разрезу, буровой снаряд приподнимают над забоем скважины на величину, обеспечивающую свободное отклонение лопасти 5 с пилотным резцом 8 и клапаном 9 от оси устройства.
Через полую шнековую колонну 1 опускают зонд 15 в скважину. Дойдя до клапана 9, зонд 15 своим наконечником 14 начинает давить на клапан 9 и лопасть 5 с пилотным резцом 8 отклоняется от оси устройства в сторону стенки скважины 13, пропуская наконечник 14 зонда 15 на забой скважины. Проведя исследования статического зондирования на всю мощность очередного неплотного прослойка грунта, зонд из полого шнекового снаряда 1 извлекают на поверхность скважины, не извлекая шнековый снаряд 1.
Лопасть 5 с пилотным резцом 8 и клапаном 9 под действием массы периферийной части лопасти 5, которая больше массы центральной ее части вместе с массой пилотного резца 8 и клапана 9, и пластинчатой пружины 11 возвращается в рабочее положение. Затем производят бурение очередного плотного прослойка грунта лопастным долотом до встречи со следующим прослойком неплотного грунта для проведения исследований статического зондирования. Такая последовательность видов работ сохраняется до тех пор, пока не будут проведены исследования статического зондирования по всему интервалу глубины предполагаемой сваи.
Клапан 9 в процессе бурения скважины в плотных прослойках грунта, в которых проведение исследований по статическому зондированию существующими зондами на всю их мощность невозможно из-за ограниченной величины внедрения наконечника 14 зонда 15 в плотный грунт, перекрывает внутреннюю полость корпуса 2 лопастного шнекового долота. Перекрытие внутренней полости корпуса 2 лопастного шнекового долота клапаном 9 в процессе бурения скважины необходимо, чтобы не допустить попадание в нее разрушенного грунта, который в дальнейшем может стать препятствием для проведения исследований по статическому зондированию очередного прослойка грунта. Клапан 9 входит во внутреннюю полость корпуса 2 лопастного шнекового долота и при бурении скважины принимает на себя часть крутящего момента, действующего на лопасть 5, тем самым разгружая шарнир 10 от действия скручивающих усилий, передаваемых на лопастное шнековое долото бурильной полой шнековой колонной 1.
Таким образом, предлагаемое техническое решение устройства для проведения исследований статического зондирования перемежающихся по плотности грунтов имеет следующие преимущества перед известными:
1. Обеспечивается возможность проведения исследований статического зондирования перемежающихся по плотности грунтов, не извлекая бурового снаряда из скважины.
2. Значительно сокращается время исследования статического зондирования каждого разреза предполагаемой сваи и снижается стоимость исследовательских работ.
Формула изобретения
1. Устройство для проведения статического зондирования перемежающихся по крепости грунтов, состоящее из полой шнековой колонны и лопастного шнекового долота, включающего корпус с лопастями и пилотный резец, отличающееся тем, что одна из лопастей шнекового долота выполнена большего размера, чем другая, и жестко соединена с корпусом шнекового долота и ребордой, а лопасть меньшего размера шарнирно связана с корпусом шнекового долота для обеспечения ее отклонения от оси и выполнена заодно с пилотным резцом, верхний торец которого является клапаном и входит во внутреннюю полость корпуса шнекового долота, перекрывая ее, при этом верхний торец жестко закрепленной к корпусу шнекового долота лопасти большего размера расположен выше торца лопасти меньшего размера.
2. Устройство по п.1, отличающееся тем, что нижняя часть пилотного резца лежит в плоскости, расположенной выше плоскости забоя скважины.
3. Устройство по п.1, отличающееся тем, что масса части отклоняющейся лопасти меньшего размера, обращенной в сторону стенки скважины относительно вертикальной оси шарнира, больше массы пилотного резца с клапаном и части, обращенной в сторону оси скважины относительно вертикальной оси шарнира.
4. Устройство по п.1, отличающееся тем, что оно снабжено пластинчатой пружиной, один конец которой жестко прикреплен к периферийной части верхнего торца отклоняющейся лопасти, а другой жестко связан с корпусом шнекового долота.
5. Устройство по п.1, отличающееся тем, что часть клапана размещена внутри полости корпуса шнекового долота.
РИСУНКИ
|
|