|
|
(21), (22) Заявка: 2008125606/11, 26.06.2008
(24) Дата начала отсчета срока действия патента:
26.06.2008
(46) Опубликовано: 10.01.2010
(56) Список документов, цитированных в отчете о поиске:
RU 2327002 C1, 20.06.2008. SU 1194683 A, 30.11.1985. БОНДАРЕВ А.Л., ЖУРАВСКИЙ-СКАЛОВ Д.Л. Ремонт деревянных шпал. – М.: Транспорт, 1972. US 6134775 А, 24.10.2000.
Адрес для переписки:
107174, Москва, ул. Новая Басманная, 2, ОАО “РЖД”, Департамент технической политики (ЦТех)
|
(72) Автор(ы):
Тонконогов Борис Григорьевич (RU), Саксонин Сергей Викторович (RU), Голубев Константин Анатольевич (RU)
(73) Патентообладатель(и):
Открытое акционерное общество “Российские железные дороги” (RU)
|
(54) УСТРОЙСТВО ДЛЯ РЕМОНТА ДЕРЕВЯННЫХ ЖЕЛЕЗНОДОРОЖНЫХ ШПАЛ
(57) Реферат:
Изобретение относится к оборудованию для обработки деревянных железнодорожных шпал. Устройство для ремонта деревянных железнодорожных шпал включает в себя рольганг для продольного перемещения шпал и гидропрессы для запрессовки круглых деревянных пробок в просверленные отверстия шпал. Гидропресс состоит из смонтированных в общих направляющих станины нижнего стола для контакта с нижней пластью шпалы и верхнего прессующего стола для контакта с верхней пластью шпалы. Стол имеет свой гидроцилиндр, в управление которым включен трехпозиционный четырехходовой гидрораспределитель, в нейтральном положении которого все ходы заперты. В напорную магистраль перед гидрораспределителем управления нижним столом включен редукционный клапан. Магистрали поршневой полости каждого гидроцилиндра соединены между собой дополнительной магистралью с включением в нее обратного клапана для запирания подачи жидкости из гидроцилиндра нижнего стола в гидроцилиндр верхнего стола. Достигается упрощение ремонта деревянных железнодорожных шпал. 2 ил.
Предлагаемое изобретение относится к оборудованию для обработки железнодорожных шпал в ресурсосберегающих технологиях при ремонте железнодорожных путей.
Известны устройства для ремонта железнодорожных шпал, например полуавтоматический агрегат для ремонта старогодных железнодорожных шпал по авт. св. СССР 142674, Е01В 31/20, 31/24, включающий электророльганг для продольного перемещения шпал и гидравлические цилиндры для запрессовки дюбелей (гидропресс для запрессовки круглых деревянных пробок в просверленные отверстия шпал).
Известно устройство для ремонта деревянных железнодорожных шпал (А.Л.Бондарев, Д.Л.Журавский-Скалов. Ремонт деревянных шпал. – М.: Транспорт, 1972. – С.102-105 – принято за прототип), являющееся составной частью поточной линии для ремонта шпал и включающее рольганг для продольного перемещения шпал и гидропрессы для запрессовки круглых деревянных в просверленные отверстия шпал. Каждый гидропресс состоит из смонтированных на станине нижнего стола и приводного гидроцилиндром верхнего прессующего стола. Нижний стол является нижней частью станины, нижней его плитой, на которой посредством стяжных колонн смонтирована его верхняя плита, на которой смонтирован гидроцилиндр, к штоку которого прикреплен верхний прессующий стол. Запрессовка круглых деревянных пробок производится верхним прессующим столом ходом вниз штока гидроцилиндра при опоре шпалы на нижний стол, при этом прежде шпала своей нижней пластью утапливает ролики рольганга. Усилие запрессовки воспринимается нижним столом, нижней плитой станины и верхней плитой станины через стяжные колонны. Таким образом всё усилие запрессовки воспринимается станиной пресса с передачей его на свое основание.
Необходимо устройство для ремонта деревянных железнодорожных шпал, ролики рольганга которого не утапливались бы в момент запрессовки круглых деревянных пробок в шпалу, а усилие запрессовки пробок в шпалу замкнулось бы на самой шпале, между ее верхней и нижней пластями с передачей на основание лишь массы пресса.
Для этого в известном устройстве для ремонта деревянных железнодорожных шпал, включающем рольганг для продольного перемещения шпал и гидропрессы для запрессовки круглых деревянных пробок в просверленные отверстия шпал, каждый из которых состоит из смонтированных на станине нижнего стола для контакта с нижней пластью шпалы и приводного гидроцилиндром верхнего прессующего стола для контакта с верхней пластью шпалы, нижний стол выполнен подвижным посредством своего гидроцилиндра, оба стола смонтированы в общих направляющих станины, в управление каждым гидроцилиндром включен трехпозиционный четырехходовой гидрораспределитель, в нейтральном положении которого все его ходы заперты, в напорную магистраль перед гидрораспределителем управления нижним столом включен редукционный клапан, соединенные с поршневой полостью каждого гидроцилиндра магистрали соединены между собой дополнительной магистралью с включением в нее обратного клапана, запирающего подачу жидкости из гидроцилиндра нижнего стола в гидроцилиндр верхнего.
Выполнение нижнего стола гидропресса посредством своего гидроцилиндра подвижным в общих направляющих его станины с подвижным посредством своего гидроцилиндра верхним столом и управляемых каждый своим трехпозиционным четырехходовым гидрораспределителем позволяет поднять шпалу над роликами рольганга включением управляющего гидроцилиндром нижнего стола гидрораспределителя с усилием настройки редукционного клапана, обратный клапан при этом обеспечивает работу только гидроцилиндра нижнего стола. Включением гидрораспределителя управления верхним столом рабочая жидкость с необходимым давлением подается в поршневые полости обоих гидроцилиндров, чему способствует обратный клапан и что обеспечивает замыкание прессующего усилия самого на себя между верхним и нижним столами, не передавая его таким образом на основание станины.
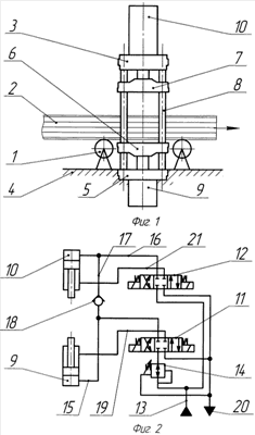
На фиг.1 схематически изображен фрагмент устройства для ремонта деревянных железнодорожных шпал с одним прессом над одним из концов шпалы; на фиг.2 – фрагмент принципиальной гидравлической схемы управления гидроцилиндрами пресса, насосная установка не показана.
Устройство для ремонта деревянных железнодорожных шпал является составной частью поточной линии для ремонта шпал и включает в себя рольганг 1 для продольного перемещения шпал 2 и два гидропресса 3 над каждым концом шпалы для запрессовки круглых пробок в просверленные в ней отверстия. Гидропресс 3 состоит из опертой на основание 4 станины 5, нижнего 6 и верхнего 7 столов, подвижных по общим направляющим 8 гидроцилиндрами соответственно 9 и 10. В управление гидроцилиндром 9 нижнего стола 6 включен трехпозиционный четырехходовой гидрораспределитель 11, в управление гидроцилиндром 10 верхнего стола 7 включен трехпозиционный четырехходовой гидрораспределитель 12. В нейтральном положении обоих гидрораспределителей 11 и 12 все их ходы заперты. В напорную магистраль 13 перед гидрораспределителем 11 включен редукционный клапан 14. Магистрали 15 и 16 подключения поршневых полостей гидроцилиндров соответственно 9 и 10 соединены между собой дополнительной магистралью 17 с включением в нее обратного клапана 18.
Работает устройство для ремонта деревянных железнодорожных шпал следующим образом. По рольгангу 1 с соседнего участка поточной линии для ремонта шпал поступает шпала 2 с просверленными отверстиями в ней и наживленными в них круглыми деревянными пробками. Шпала останавливается таким образом, что подлежащие запрессовке в шпалу пробки оказываются в зоне между нижним 6 и верхним 7 столами своего гидропресса 3. Включается гидрораспределитель 11. Напорная магистраль 13 соединяется с поршневой полостью гидроцилиндра 9 магистралью 15, давление в магистрали при этом контролируется настройкой редукционного клапана 14. Штоковая полость гидроцилиндра 9 магистралью 19 соединяется со сливной магистралью 20. Поступлению рабочей жидкости в гидроцилиндр 10 при этом препятствует обратный клапан 18. Шпала поднимается над роликами рольганга.
Включается гидрораспределитель 12. Напорная магистраль 13 соединяется с поршневой полостью гидроцилиндра 10 магистралью 16 и поршневой полостью гидроцилиндра 9 магистралью 17 через обратный клапан 18. Гидрораспределитель 11 отключается и переводится в нейтральное положение. Штоковая полость гидроцилиндра 10 магистралью 21 соединяется со сливной магистралью 20. Опусканием поршня гидроцилиндра 10 производится запрессовка пробок в шпалу, при этом усилие запрессовки контролируется давлением настройки предохранительного клапана (не показан) гидросистемы и замыкается само на себя между нижним 6 и верхним 7 столами, зажимающими между собой шпалу 2.
После запрессовки включаются оба гидрораспределителя 11 и 12 на приведение гидроцилиндров 9 и 10 в исходное положение. Штоковые полости их магистралями 19 и 21 соединяются с напорной магистралью 13, а поршневые магистрали 15 и 16 – со сливной магистралью 20. Шпала опускается на рольганг, нижний стол 6 занимает нижнее исходное положение, верхний 7 – верхнее. Гидрораспределители переводятся в нейтральное положение, фиксируя исходное положение гидроцилиндров.
Шпала с запрессованными в нее деревянными круглыми пробками перемещается из устройства на следующую позицию поточной линии для ремонта шпал, а на ее место поступает очередная шпала с просверленными отверстиями в ней и наживленными в них круглыми деревянными пробками.
Формула изобретения
Устройство для ремонта деревянных железнодорожных шпал, включающее рольганг для продольного перемещения шпал и гидропрессы для запрессовки круглых деревянных пробок в просверленные отверстия шпал, каждый из которых состоит из смонтированных на станине нижнего стола и приводного гидроцилиндром верхнего прессующего стола, отличающееся тем, что нижний стол выполнен подвижным посредством своего гидроцилиндра, оба стола смонтированы в общих направляющих станины, в управление каждым гидроцилиндром включен трехпозиционный четырехходовой гидрораспределитель, в нейтральном положении которого все его ходы заперты, в напорную магистраль перед гидрораспределителем управления нижним столом включен редукционный клапан, соединенные с поршневой полостью каждого гидроцилиндра магистрали соединены между собой дополнительной магистралью с включением в нее обратного клапана для запирания подачи жидкости из гидроцилиндра нижнего стола в гидроцилиндр верхнего.
РИСУНКИ
|
|