|
|
(21), (22) Заявка: 2008122583/11, 04.06.2008
(24) Дата начала отсчета срока действия патента:
04.06.2008
(46) Опубликовано: 10.01.2010
(56) Список документов, цитированных в отчете о поиске:
RU 2194108 С2, 10.12.2002. RU 2289647 C1, 20.12.2006. RU 2342481 C1, 27.12.2008. GB 1276163 A, 01.06.1972. JP 10046507 A, 17.02.1998.
Адрес для переписки:
454006, г.Челябинск, а/я 673, А.Н. Шилкину
|
(72) Автор(ы):
Шилкин Анатолий Николаевич (RU)
(73) Патентообладатель(и):
Шилкин Анатолий Николаевич (RU)
|
(54) ПРИСПОСОБЛЕНИЕ ДЛЯ УПЛОТНЕНИЯ СЫПУЧИХ СРЕД, В ЧАСТНОСТИ БАЛЛАСТА РЕЛЬСОВОГО ПУТИ (ВАРИАНТЫ)
(57) Реферат:
Изобретения относятся к области строительства и ремонта железнодорожных путей. Приспособление для уплотнения сыпучих сред, в частности балласта рельсового пути, по первому варианту, содержит несущую балку и закрепленный на ней виброинструмент. Виброинструмент представляет собой стержень с нижним концом в виде уплотнительной лопатки, над которой на стержне закреплена трамбующая плита, причем стержень виброинструмента имеет возможность совершать виброколебания от вибровозбудителя. Стержень виброинструмента установлен на оси, расположенной выше трамбующей плиты и поперечной по отношению к стержню. Ось закреплена на несущей балке с возможностью перемещения по вертикали, а стержень имеет возможность поворота относительно оси и/или несущей балки. Приспособление для уплотнения сыпучих сред, в частности балласта рельсового пути, по второму варианту содержит несущую балку и закрепленный на ней виброинструмент, представляющий собой стержень с нижним концом в виде уплотнительной лопатки, над которой расположена трамбующая плита. Стержень виброинструмента имеет возможность совершать виброколебания от вибровозбудителя. Стержень виброинструмента установлен на расположенной выше трамбующей плите и поперечной по отношению к стержню оси, закрепленной на несущей балке. На стержне с возможностью перемещения вдоль него установлен дополнительный элемент, нижняя часть которого выполняет функцию дополнительной трамбующей плиты. На дополнительном элементе закреплен вибровозбудитель, а стержень имеет возможность поворота относительно оси и/или несущей балки. Достигается интенсификация вибровоздействия на балласт за счет снижения эффекта гашения амплитуды колебаний виброинструмента. 2 н. и 4 з.п. ф-лы, 7 ил.
Группа изобретений относится к области путевых работ и может быть использована при строительстве, содержании и ремонте рельсовых путей.
Значительную часть работ, связанную с поддержанием в нормальном техническом состоянии рельсового пути, составляют работы по уплотнению балласта. Наиболее распространенным способом обработки балласта рельсового пути является горизонтальное виброобжатие балласта с помощью таких виброинструментов как подбойки. При этом способе вибрирующие подбойки внедряют в межшпальное пространство рельсового пути и за счет горизонтального перемещения лопатки подбойки поперек межшпального пространства подают необходимый объем балласта под шпалы.
В качестве приспособления для уплотнения балласта рельсового пути, осуществляющего горизонтальное виброобжатие балласта, можно указать приспособление, содержащее входящую в состав подбивочного агрегата шпалоподбивочной машины несущую балку, на которой закреплены эксцентриковый вал, рычаги, несущие подбойки, силовые цилиндры сжима-разжима подбоек, соединяющие рычаги с эксцентриковым валом (см. п. РФ 2194108 по кл. E01B 27/16 заявл. 31.05.2000, опубл. 10.12.2002 «Шпалоподбивочная машина»). Заглубление подбоек в балласт осуществляется посредством перемещения подбивочного агрегата приводом по вертикальным направляющим. После опускания подбивочного агрегата на подбойки передается колебательное движение, а за счет поворота рычагов осуществляют движение подбоек навстречу друг другу. Это приводит к уплотнению балласта под расположенной между подбойками шпалой.
Недостатком указанного приспособления является разрыхление балласта в межшпальном пространстве, возникающее при горизонтальном виброобжатии балласта.
Наиболее близким по технической сущности, достигаемому результату и выбранным в качестве прототипа является приспособление для уплотнения балласта рельсового пути, содержащее подвешенную на гидроцилиндре заглубления несущую балку и закрепленный на ней виброинструмент, представляющий собой стержень вилкообразной формы с нижним концом каждого из зубцов стержня в виде размещаемой поперек рельсового пути уплотнительной лопатки, над которой на стержне закреплена трамбующая плита, причем стержень имеет возможность совершать виброколебания от закрепленного на нем дебалансного вибратора (см. Гуленко Н.Н., Фомин В.В. Механизация и автоматизация путевых работ за рубежом. Москва, «Транспорт», 1975, с.57).
Данное приспособление не приводит к разуплотнению балласта в межшпальном пространстве, т.к. виброинструмент не совершает перемещения поперек межшпального пространства.
Однако из-за того, что виброинструмент закреплен на несущей балке без возможности перемещения относительно нее, значительная часть амплитуды колебаний от вибратора передается на машину, на которой данное приспособление установлено. Это вызывает нежелательное вибровоздействие на машину и приводит к уменьшению вибровоздействия на балласт, что отрицательно отражается на качестве уплотнения балласта.
При создании изобретения в соответствии с первым вариантом заявляемого приспособления ставилась задача – повышение эффективности обработки балласта, т.е. повышения качества и производительности процесса обработки балласта.
Техническим результатом, получаемым при реализации изобретения в соответствии с первым вариантом заявляемого приспособления, является интенсификация вибровоздействия на балласт за счет снижения эффекта гашения амплитуды колебаний виброинструмента.
В соответствии с первым вариантом изобретения указанная задача решается за счет того, что в известном приспособлении для уплотнения балласта рельсового пути, содержащем несущую балку и закрепленный на ней виброинструмент, представляющий собой стержень с нижним концом в виде уплотнительной лопатки, над которой на стержне закреплена трамбующая плита, причем стержень виброинструмента имеет возможность совершать виброколебания от вибровозбудителя, согласно изобретению, стержень виброинструмента установлен на оси, расположенной выше трамбующей плиты и поперечной по отношению к стержню, причем ось закреплена на несущей балке с возможностью перемещения по вертикали, а стержень имеет возможность поворота относительно оси и/или несущей балки.
Приспособление может содержать жестко закрепленные на несущей балке направляющие, в которых с возможностью возвратно-поступательного скольжения по вертикали между фиксаторами установлен, по крайней мере, один ползун, в котором закреплена ось стержня.
Приспособление может содержать, по крайней мере, один рычаг, шарнирно закрепленный на несущей балке с возможностью поворота в вертикальной плоскости, причем угол поворота рычага относительно несущей балки ограничен фиксаторами, а ось стержня закреплена на рычаге.
Фиксаторы могут быть снабжены упругими элементами.
Ось стержня может быть расположена в средней части по высоте стержня, а в качестве вибровозбудителя использован дебалансный вибратор, который закреплен на верхнем конце стержня.
В качестве аналога и прототипа для второго варианта заявляемого приспособления выбраны те же технические решения, что и для первого варианта приспособления. Им присущи те же недостатки, которые указаны выше.
При создании изобретения в соответствии со вторым вариантом заявляемого приспособления также ставилась задача – повышение эффективности обработки балласта, т.е. повышения качества и производительности процесса обработки балласта.
Техническим результатом, получаемым при реализации изобретения в соответствии со вторым вариантом заявляемого приспособления, также является интенсификация вибровоздействия на балласт за счет снижения эффекта гашения амплитуды колебаний виброинструмента.
В соответствии со вторым вариантом изобретения указанная задача решается за счет того, что в известном приспособлении для уплотнения балласта рельсового пути, содержащем несущую балку и закрепленный на ней виброинструмент, представляющий собой стержень с нижним концом в виде уплотнительной лопатки, над которой расположена трамбующая плита, причем стержень виброинструмента имеет возможность совершать виброколебания от вибровозбудителя, согласно изобретению, стержень виброинструмента установлен на расположенной выше трамбующей плиты и поперечной по отношению к стержню оси, закрепленной на несущей балке, на стержне с возможностью перемещения вдоль него установлен дополнительный элемент, нижняя часть которого выполняет функцию дополнительной трамбующей плиты, на дополнительном элементе закреплен вибровозбудитель, а стержень имеет возможность поворота относительно оси и/или несущей балки.
Исследования, проведенные по источникам патентной и научно-технической информации, показали, что заявляемое приспособление неизвестно и не следует явным образом из изученного уровня техники, т.е. соответствует критериям новизна и изобретательский уровень.
Заявляемое приспособление может быть изготовлено на любом предприятии, специализирующемся в данной отрасли, т.к. для этого требуются известные материалы и стандартное оборудование, и широко использовано при уплотнении балласта рельсового пути, т.е. является промышленно применимым.
Выполнение приспособления в заявляемом виде, по первому варианту изобретения, позволяет оси качания стержня перемещаться по вертикали относительно несущей балки. Это обеспечивает максимальную передачу вертикальной составляющей виброколебаний от закрепленного на стержне вибратора на трамбующую плиту виброинструмента и, следовательно, на балласт. При этом практически устраняется передача этих вертикальных виброколебаний на машину, несущую данное приспособление.
По второму варианту изобретения на стержне закреплен дополнительный элемент, установленный с возможностью перемещения вдоль стержня. Нижняя часть дополнительного элемента выполняет функцию дополнительной трамбующей плиты, а на самом на дополнительном элементе закреплен вибратор. Такое конструктивное выполнение приспособления также позволяет обеспечить максимальную передачу вертикальной составляющей виброколебаний на трамбующую плиту виброинструмента и, следовательно, на балласт. При этом также практически устраняется передача вертикальных виброколебаний на машину, несущую данное приспособление.
Причем как в первом, так и во втором варианте выполнения изобретения наличие оси качания стержня, фиксирующей стержень от горизонтальных смещений относительно несущей балки, позволяет максимально передать на балласт горизонтальную составляющую виброколебаний.
Из сказанного, очевидно, что заявляемое приспособление как при первом, так и при втором варианте выполнения обеспечивает интенсификацию вибровоздействия на балласт за счет снижения эффекта гашения амплитуды виброколебаний.
Изобретение поясняется чертежами, на которых изображены:
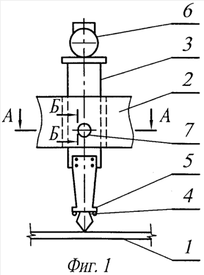
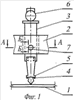
Фиг.1. Общий вид приспособления, выполненного в соответствии с первым вариантом изобретения, а именно с осью стержня, установленной с возможностью возвратно-поступательного скольжения относительно несущей балки.
Фиг.2. Сечение по А-А на фиг.1.
Фиг.3. Сечение по Б-Б на фиг.1.
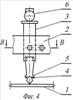
Фиг.4. Общий вид приспособления, выполненного в соответствии с первым вариантом изобретения, а именно с осью стержня, установленной с возможностью поворота на рычаге относительно несущей балки.
Фиг.5. Сечение по В-В на фиг.4.
Фиг.6. Сечение по Г-Г на фиг.5.
Фиг.7. Общий вид приспособления, выполненного в соответствии со вторым вариантом изобретения.
Приспособление для уплотнения балласта рельсового пути 1 содержит несущую балку 2, подвешенную на гидроцилиндре заглубления на раме машины для уплотнения балласта. На несущей балке 2 установлен один или, чаще всего, несколько виброинструментов. Виброинструмент представляет собой стержень 3, нижний конец которого выполнен в виде уплотнительной лопатки 4, т.е. с расширенной нижней частью, позволяющей эффективно перемещать балласт. Форма лопатки 4 может быть как простая прямоугольная, так и сложная, приспособленная к свойствам уплотняемой среды, лопатка может быть снабжена ребрами, облегчающими ее внедрение в балласт, упрочняющими зубьями и т.д. Выше уплотнительной лопатки 4 имеется трамбующая плита 5. Трамбующая плита 5 может быть выполнена из стали и жестко закреплена на стержне 3, например приварена, или подвешена на стержне 3 посредством упругого элемента с возможностью перемещения по вертикали над уплотнительной лопаткой 4, или сама трамбующая плита 5 может быть выполнена в виде упругого элемента, выполненного, например, из резины. Для сообщения колебательного движения стержню 3 и, следовательно, его уплотнительной лопатке 4 и трамбующей плите 5 на стержне закреплен вибровозбудитель 6. Наиболее рационально использование в качестве вибровозбудителя 6 дебалансного вибратора, обеспечивающего самоадаптацию траектории движения взаимодействующего с балластом нижнего конца виброинструмента в зависимости от степени уплотнения обрабатываемой среды. При обработке рыхлого балласта его траектория приближается к круговой, а при обработке сильно уплотненного балласта траектория становится эллиптической, что позволяет избежать разрушения уже уплотненной среды. Стержень 3 обычно выполняют составным из верхней и нижней части. Нижняя часть стержня 3, несущая уплотнительную лопатку 4 и трамбующую плиту 5, выполняется съемной, т.к. быстрее изнашивается в процессе эксплуатации. Для минимизации потерь энергии при передаче ее от вибрирующей верхней части стержня 3 к лопатке 4 и трамбующей плите 5 нижняя съемная часть стержня 3 жестко (специальными болтами, гайками, пружинными шайбами и т.п.) закрепляется на верхней части стержня.
Стержень 3 снабжен осью 7. Ось 7 расположена выше трамбующей плиты 5 (это обусловлено тем, что стержень до трамбующей плиты погружается в балласт и расположение оси ниже трамбующей плиты привело бы к необходимости ее защиты от абразивного воздействия балласта и усложнило бы конструктивное выполнение приспособления) и расположена поперек по отношению к стержню 3, т.е. при вертикальном стержне 3 ось 7 занимает горизонтальное положение. Ось 7 может быть запрессована в тело стержня 3, т.е. соединена с ним жестко, или установлена в стержне 3 с возможностью шарнирного поворота, в подшипниках. Относительно несущей балки 2 ось 7 также может быть как закреплена жестко, так и установлена с возможностью поворота, в подшипниках. Это обеспечивает возможность стержню поворачиваться относительно оси 7, относительно несущей балки 2, или одновременно поворачиваться относительно оси 7 и несущей балки 2. При этом положение оси 7 должно быть таким, чтобы обеспечить качание стержня 3 преимущественно в плоскости, параллельной плоскости действия вынуждающей силы вибровозбудителя 6, т.е. при установке на приспособление дебалансного вибратора ось 7 должна быть преимущественно параллельна оси вибратора. Очевидно, что для передачи горизонтальных колебаний на балласт уплотнительная лопатка 4 виброинструмента также должна быть ориентирована так, чтобы ее рабочая поверхность (т.е. плоскость лопатки), предназначенная для перемещения балласта, была расположена параллельно оси 7. Такое взаимное положение оси 7 и уплотнительной лопатки 4 по отношению к плоскости действия вынуждающей силы вибровозбудителя 6 позволяет за счет качания стержня 3 практически без потерь передать на балласт горизонтальную составляющую виброколебаний. Расположение оси 7 в середине стержня по его длине позволяет добиться значительного горизонтального воздействия на балласт уплотнительной лопатки 4 при сравнительно небольшой мощности вибровозбудителя 6.
В соответствии с первым вариантом изобретения ось 7 должна иметь возможность перемещения по вертикали относительно несущей балки 2. Это может быть осуществлено как за счет закрепления оси 7 в ползунах 8, имеющих возможность возвратно-поступательного скольжения в жестко закрепленных на несущей балке 2 направляющих 9, так и за счет закрепления оси 7 на концах рычагов 10, закрепленных на несущей балке 2 и имеющих возможность поворота в плоскости, параллельной плоскости качания стержня 3. Длина хода ползуна 8 и рычага 10 ограничивается с помощью фиксаторов 11. Следует отметить, что такое конструктивное выполнение приспособления позволяет обеспечить перемещение оси стержня по вертикали в широком диапазоне 0,1-100 мм, что позволяет изменять интенсивность воздействия на балласт. Для минимального гашения вертикальных колебаний и смягчения ударов ползуна 8 и рычага 10 о фиксаторы 11 последние могут быть снабжены упругими элементами 12.
В соответствии со вторым вариантом изобретения ось 7 закреплена на несущей балке 2 без возможности перемещения относительно нее по вертикали и, следовательно, не перемещается по вертикали относительно несущей балки 2 и стержень 3. В данном варианте по вертикали перемещается дополнительный элемент 13, который устанавливают, например, на вершине стержня 3 и соединяют со стержнем посредством пружин 14. На дополнительном элементе 13 сверху закрепляют вибровозбудитель 6, например дебалансный вибратор. При этом дополнительный элемент выполняют так, что его нижняя часть располагается относительно уплотнительной лопатки 4 в том же положении как должна быть расположена трамбующая плита 5. При работе вибратора дополнительный элемент совершает относительно стержня 3 перемещение по вертикали, а его нижняя часть при этом выполняет функцию дополнительной трамбующей плиты 15, ударяя по балласту. Работа вибратора приводит и к качанию стержня 3 на оси 7 и/или оси 7 совместно со стержнем 3 относительно несущей балки 2. Это позволяет за счет качания стержня 3 практически без потерь передать на балласт горизонтальную составляющую виброколебаний.
Приспособление для уплотнения балласта рельсового пути работает следующим образом.
Несущая балка 2 приспособления, подвешенная на гидроцилиндре заглубления на раме машины для уплотнения балласта, принудительно опускается вниз. Одновременно включается вибровозбудитель 6, закрепленный на стержне 3. При этом уплотнительная лопатка 4, соприкасаясь с балластом, передает на балласт горизонтальные виброколебания, а трамбующая плита 5 – вертикальные виброколебания. Причем как вертикальные, так и горизонтальные виброколебания передаются на балласт с минимальными потерями, т.к. за счет конструктивного выполнения приспособления не происходит гашения амплитуды колебаний виброинструмента. Это обеспечивает интенсификацию вибровоздействия на балласт и приводит к повышению эффективности обработки балласта, т.е. повышение качества и производительности процесса обработки балласта.
Следует отметить, что данное приспособление пригодно для уплотнения любой сыпучей среды и может найти применение не только при уплотнении балласта рельсового пути, но и в других отраслях промышленности, где возникает необходимость в уплотнении сыпучих сред.
Формула изобретения
1. Приспособление для уплотнения сыпучих сред, в частности балласта рельсового пути, содержащее несущую балку и закрепленный на ней виброинструмент, представляющий собой стержень с нижним концом в виде уплотнительной лопатки, над которой на стержне закреплена трамбующая плита, причем стержень виброинструмента имеет возможность совершать виброколебания от вибровозбудителя, отличающееся тем, что стержень виброинструмента установлен на оси, расположенной выше трамбующей плиты и поперечной по отношению к стержню, причем ось закреплена на несущей балке с возможностью перемещения по вертикали, а стержень имеет возможность поворота относительно оси и/или несущей балки.
2. Приспособление по п.1, отличающееся тем, что содержит жестко закрепленные на несущей балке направляющие, в которых с возможностью возвратно-поступательного скольжения по вертикали между фиксаторами установлен, по крайней мере, один ползун, в котором закреплена ось стержня.
3. Приспособление по п.1, отличающееся тем, что содержит, по крайней мере, один рычаг, шарнирно закрепленный на несущей балке с возможностью поворота в вертикальной плоскости, причем угол поворота рычага относительно несущей балки ограничен фиксаторами, а ось стержня закреплена на рычаге.
4. Приспособление по п.1 или 2, отличающееся тем, что фиксаторы снабжены упругими элементами.
5. Приспособление по п.1, отличающееся тем, что ось стержня расположена в средней части по высоте стержня, а в качестве вибровозбудителя использован дебалансный вибратор, который закреплен на верхнем конце стержня.
6. Приспособление для уплотнения сыпучих сред, в частности балласта рельсового пути, содержащее несущую балку и закрепленный на ней виброинструмент, представляющий собой стержень с нижним концом в виде уплотнительной лопатки, над которой расположена трамбующая плита, причем стержень виброинструмента имеет возможность совершать виброколебания от вибровозбудителя, отличающееся тем, что стержень виброинструмента установлен на расположенной выше трамбующей плиты и поперечной по отношению к стержню оси, закрепленной на несущей балке, на стержне с возможностью перемещения вдоль него установлен дополнительный элемент, нижняя часть которого выполняет функцию дополнительной трамбующей плиты, на дополнительном элементе закреплен вибровозбудитель, а стержень имеет возможность поворота относительно оси и/или несущей балки.
РИСУНКИ
|
|