|
|
(21), (22) Заявка: 2007144565/15, 04.12.2007
(24) Дата начала отсчета срока действия патента:
04.12.2007
(43) Дата публикации заявки: 10.06.2009
(46) Опубликовано: 10.01.2010
(56) Список документов, цитированных в отчете о поиске:
РУДИН М.Г. и др. Справочник сланцепереработчика. – Л.: Химия, 1988, с.74-76, рис.2.19. RU 2074223 C1, 27.02.1997. RU 2183651 C1, 20.08.2002. RU 2094447 C1, 27.10.1997. US 5388534 A, 14.02.1995.
Адрес для переписки:
109428, Москва, Рязанский пр-кт, 10, оф.Д, А.И. Блохину
|
(72) Автор(ы):
Кожицев Дмитрий Васильевич (RU), Кенеман Федор Евгеньевич (RU), Гольмшток Эдуард Ильич (RU), Петров Михаил Сергеевич (RU), Блохин Александр Иванович (RU), Салихов Руслан Минуллаевич (RU), Стельмах Геннадий Павлович (RU)
(73) Патентообладатель(и):
Общество с ограниченной ответственностью “ТТУ” (RU)
|
(54) СПОСОБ И УСТАНОВКА ДЛЯ ТЕРМИЧЕСКОЙ ПЕРЕРАБОТКИ ТВЕРДОГО ТОПЛИВА С ПОЛУЧЕНИЕМ ПОЛУКОКСА, ГАЗА И ЖИДКИХ ПРОДУКТОВ
(57) Реферат:
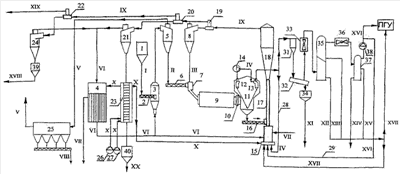
Изобретение может быть использовано в углеперерабатывающей промышленности, черной металлургии и энергетике. Исходное мелкозернистое топливо из бункера 1 подают шнековым питателем 2 в аэрофонтанную сушилку 3, в которую снизу поступает сушильный агент – отходящие газы котла-утилизатора 4. В циклоне сухого топлива 5 подсушенное топливо осаждается и шнековым питателем 6 передается в смеситель 7, куда из циклона теплоносителя 8 также поступает горячий твердый теплоноситель – полукокс перерабатываемого топлива. Смесь подсушенного топлива и твердого теплоносителя по течке поступает в барабанный вращающийся реактор 9, в котором топливо нагревается и разлагается с выделением парогазовых продуктов пиролиза. Смесь топлива и теплоносителя через разгрузочную горловину 10 выгружается в пылеосадительную камеру 11, снабженную встроенными циклонами 12 и 13. Для обеспечения работы циклонов предусмотрен нагнетатель 14, с помощью которого часть парогазовой смеси транспортируется далее по газопроводу 28 в муфель 15. Изобретение позволяет повысить выход твердого продукта термической переработки – полукокса и увеличить энергетическую эффективность процесса. 2 н. и 6 з.п. ф-лы, 1 ил.
Изобретение относится к способам и установкам для термической переработки твердого топлива – пиролиза с получением полукокса, газа и жидких продуктов и может быть использовано в углеперерабатывающей промышленности, черной металлургии и энергетике.
Целью изобретения является повышение выхода твердого продукта термической переработки – полукокса и увеличение энергетической эффективности (энергетического КПД) процесса.
Известен способ термической переработки угля, включающий дробление исходного угля и его сушку отходящими дымовыми газами коксонагревателя с кипящим слоем, пиролиз угля в пиролизере с кипящим слоем, транспорт смеси пиролизованного угля с теплоносителем из пиролизера в коксонагреватель в псевдоожиженном состоянии по U-образному коксопроводу, нагрев поступающей из пиролизера смеси в коксонагревателе за счет частичного сжигания содержащихся в ней горючих веществ и возврат нагретой смеси в качестве твердого теплоносителя из коксонагревателя в пиролизер по U-образному коксопроводу, выгрузку готового продукта – полукокса из кипящего слоя пиролизера с помощью шнекового питателя (Авторское свидетельство 794063, приоритет 24.04.78, зарегистрировано 08.09.80, Опубл. 07.01.81, Бюллетень 1 (51) М Кл3 С10В 49/00 (53), УДК 662.74 (088.8).
Недостатком указанного способа является уменьшение выхода твердого продукта пиролиза – полукокса вследствие его частичного сжигания в коксонагревателе (технологической топке) с целью получения тепла, необходимого для осуществления технологического процесса – сушки и пиролиза перерабатываемого топлива.
Известен способ термической переработки мелкозернистого топлива, включающий сушку топлива его пиролиз путем нагрева твердым теплоносителем с получением парогазовых продуктов (ПГП) и полукокса, отвод ПГП, их охлаждение, подачу полукокса в топку и сжигание его с получением твердого теплоносителя, подаваемого на стадию пиролиза.
Авторское свидетельство SU 1213748, С10В 49/16 от 12.11.82.
Недостатком указанного способа, также как и предыдущего аналога, является снижение выхода целевого продукта – полукокса за счет его частичного сжигания.
Известна энергетическая установка, содержащая котел с топкой кипящего слоя, в которой размещен воздухоподогреватель, подключенный соответственно к компрессору и камере сгорания турбины, соединенной с выхлопным патрубком топки котла, отличающаяся тем, что она дополнительно содержит реактор пиролизера, соединенный передаточными трубами с топкой, а газоотводящей трубой – с камерой сгорания газовой турбины.
Авторское свидетельство SU 1269578 А1 от 27.06.84.
Недостатком этой установки является сжигание всего получаемого при пиролизе полукокса, который является ценным высококачественным топливом и восстановителем.
Наиболее близким техническим решением являются способ и установка для пиролиза мелкозернистого сланца, принятые нами в качестве прототипа и известные как процесс «Галотер», опубликованные в «Справочнике сланцепереработчика» под ред. М.Г.Рудина. Ленинград, «Химия», 1988 г.
Мелкозернистый сланец (класс 0-20 мм) подается шнековым питателем в аэрофонтанную сушилку, в которой высушивается за счет физического тепла отходящих дымовых газов котла-утилизатора. Высушенный сланец осаждается из аэровзвеси в циклоне сухого сланца и шнековым питателем подается через смеситель во вращающийся барабанный реактор, в котором он нагревается до температуры 480-500°С путем его смешения со сланцевой золой – твердым теплоносителем, имеющим температуру 800-850°С и поступающим в реактор через смеситель из циклона теплоносителя, в котором сланцевая зола осаждается из аэровзвеси, состоящей из сланцевой золы и отходящих дымовых газов аэрофонтанной топки (АФТ). В АФТ производится нагревание до 800-850°С смеси полукокса и зольного теплоносителя, поступающей в нее из реактора через пылевую камеру с помощью шнекового питателя за счет сгорания в АФТ горючего остатка полукоксования сланца. Для этого в АФТ через зольный теплообменник подается подогретое воздушное дутье. На тракте дымовых газов между АФТ и циклоном теплоносителя установлен байпас, направляющий одну часть аэровзвеси в циклон теплоносителя, а другую часть – в зольный циклон, из которого осажденная сланцевая зола поступает в зольный теплообменник – воздухоподогреватель, а отходящие газы АФТ из зольного циклона направляются в котел-утилизатор. Отходящие газы циклона сухого сланца проходят очистку в электрофильтре. Парогазовая смесь полукоксования сланца, образующаяся в реакторе, после обеспыливания с помощью циклонов, размещенных в пылевой камере, направляется в систему конденсации и улавливания жидких продуктов пиролиза сланца.
Недостатком указанного способа и установки является сжигание в технологической аэрофонтанной топке – АФТ органической части циркулирующего в установке твердого теплоносителя – полукокса, что при переработке твердого топлива, например углей, с целью получения в качестве целевого продукта полукокса, снижает его выход, т.е. снижает эффективность технологического процесса.
С целью устранения этого недостатка, максимального увеличения выхода целевого продукта – полукокса и расширения сферы его применения предлагаются способ и установка для пиролиза твердого топлива с твердым теплоносителем-полукоксом, отличающиеся от описанного выше прототипа тем, что из технологического процесса исключено сжигание полукокса и в качестве источника тепла для ведения процесса используются парогазовая смесь или пиролизный газ, сжигаемые в специальном муфеле, а получаемые при этом «инертные» – не содержащие кислорода продукты сгорания (благодаря их сжиганию при коэффициенте избытка воздуха <1,0), используются для нагревания твердого теплоносителя.
Термическая переработка твердого топлива (угля) осуществляется следующим образом (см. чертеж). Исходное мелкозернистое топливо (класса – 0-20 мм) из бункера 1 подается шнековым питателем 2 в аэрофонтанную сушилку 3, в которой снизу поступает сушильный агент – отходящие газы котла-утилизатора 4. В циклоне сухого топлива 5 подсушенное топливо осаждается и шнековым питателем 6 передается в смеситель 7, куда из циклона теплоносителя 8 также поступает горячий твердый теплоноситель – полукокс перерабатываемого топлива. Смесь подсушенного топлива и твердого теплоносителя по течке поступает в барабанный вращающийся реактор 9, в котором топливо нагревается и разлагается с выделением парогазовых продуктов пиролиза.
Температура поступающего в смеситель твердого теплоносителя составляет 800-850°С, а температура пиролиза топлива в реакторе 480-500°С (и зависит от вида топлива).
Смесь топлива и теплоносителя через разгрузочную горловину 10 выгружается в пылеосадительную камеру 11, снабженную встроенными циклонами 12 и 13, предназначенными для обеспыливания парогазовой смеси (ПГС). Для обеспечения работы циклонов предусмотрен нагнетатель 14, с помощью которого часть парогазовой смеси транспортируется далее по газопроводу 28 в муфель 15, в котором она сжигается, а продукты сгорания направляются в цилиндре – конический аэрофонтанный нагреватель 18 (АФН), установленный между муфелем 15 и циклоном теплоносителя 8. Другая избыточная часть парогазовой смеси используется как топливо, например, на парогазовой установке (ПГУ), обеспечивающей электроэнергией технологию производства полукокса.
Весь выгружаемый из реактора 9 полукокс из пылеосадительной камеры 11 шнеком 16 подается в подъемный стояк 17, соединенным с АФН 18, в котором происходит нагревание твердого теплоносителя – полукокса горячими газами – продуктами сгорания парогазовой смеси IV или пиролизного газа XVI, поступающими в муфель 15. Муфель 15 соединен через газоход с подъемным стояком 17 АФН 18, а также отводящим IV трубопроводом 28 и отводящим XVI трубопроводом 29.
Помимо указанных потоков IV и XVI, в муфель 15 направляются:
поток воздуха Х из воздухоподогревателя 23 – для сжигания подаваемых в муфель горючих газов, поток пиролизного газа XVII – из системы конденсации, потоки дымового газа VI и водяного пара VII из котла-утилизатора 4 – для регулирования температуры.
Покидающая АФН газовзвесь, состоящая из газа и полукокса, разделяется на 4 потока с помощью делителей потока – байпасов 19 и 20.
После первого байпаса 19 один поток направляется в циклон теплоносителя 8, а второй – в байпас 20, разделяющий газовзвесь на поток, направленный в циклон товарного полукокса 21 и на поток, направленный в следующий по ходу потока байпас 22. Из него поток направляют либо в циклон 24, из которого осажденный в циклоне горячий полукокс через бункер 39 пневмотранспортом подают в горн доменной печи, либо всю газовзвесь дымового газа и полукокса, минуя циклон 24, направляют в домну.
Товарный полукокс, осажденный в циклоне 21, направляется в теплообменник – воздухоподогреватель 23 и в охлажденном виде выгружается в бункер 40, а отходящие газы циклона товарного полукокса 21 направляются в котел-утилизатор 4. Отходящие газы циклона подсушенного топлива 5 проходят очистку в электрофильтре 25.
Котел-утилизатор снабжен воздуходувкой 26, а в муфель 15 воздух нагнетается через воздухоподогреватель 23 воздуходувкой 27.
На чертеже представлена также система конденсации жидких продуктов пиролиза, состоящая из скруббера тяжелого масла 31, барильета 32, холодильника – конденсатора тяжелого масла 33, емкости тяжелого масла 34, ректификационной колонны 35, холодильника – конденсатора бензина и подсмольной воды 36, сепаратора 37, газодувки 38.
При сжигании в муфеле парогазовой смеси IV она подается в муфель по трубопроводу 28, а при сжигании пиролизного газа XVI, освобожденного от жидких продуктов, по трубопроводу 29.
На чертеже представлены следующие потоки: I – твердое топливо (бурый уголь); II – подсушенное топливо; III – теплоноситель – полукокс; IV – парогазовая смесь; V – дымовой газ с уносом частиц топлива; VI – дымовой газ – на сушку топлива и на разбавление газов в муфеле; VII – водяной пар; VIII – осажденная топливная пыль; IX – горячая газовзвесь дымового газа и полукокса из АФН; Х – воздушное дутье; XI – тяжелая смола; XII – тяжелая фракция средней смолы; XIII – газотурбинная фракция смолы; XIV – фенольная пиролизная вода – на переработку; XV – бензиновая фракция; XVI – газ пиролиза; XVII – суммарная смола; XVIII – пневмотранспорт полукокса в домну; XIX – газовзвесь полукокса и дымовых газов; XX – охлажденный полукокс.
Пример осуществления способа.
При подаче в установку 130-140 т/ч бурого угля, что соответствует при ресурсе непрерывной годовой работы 7000 ч переработке 0,9-1,0 млн.т в год, в результате пиролиза можно получить 40-45 т/ч товарного пылевидного полукокса, пригодного для вдувания без охлаждения в горн доменной печи.
Суммарное количество полезного тепла в продуктах пиролиза составляет ~85%, в том числе в товарном полукоксе ~60%, а в полукоксовом газе (ПКГ) и жидких продуктах ~25%, выход ПКГ ~15 т/ч, а жидких продуктов ~12,0 т/ч. Суммарный расход тепла на собственные нужды при сжигании части парогазовой смеси или ПКГ и потери эквивалентен сжиганию ~3,0-4,0 т/ч полукокса. Выбросы дымовых газов составят 40,0 т/ч при подаче воздуха на нагревание твердого теплоносителя при <1,0 (5-6% от стехиометрического).
Формула изобретения
1. Способ получения полукокса из твердого топлива путем его нагревания с помощью твердого теплоносителя и пиролиза, сушки твердого топлива, его смешения с твердым теплоносителем – горячим полукоксом, нагреваемым газовым теплоносителем, стадию пиролиза смеси топлива и твердого теплоносителя с получением полукокса и парогазовой смеси, стадию охлаждения, конденсации и разделения парогазовой смеси на жидкие продукты и газ пиролиза, отличающийся тем, что для нагревания твердого теплоносителя используют газовый теплоноситель, который получают путем сжигания в муфеле части парогазовой смеси, образующейся при пиролизе перерабатываемого твердого топлива.
2. Способ по п.1, отличающийся тем, что пиролизный газ, получаемый после конденсации жидких продуктов пиролиза, и жидкие продукты пиролиза частично сжигают, а полученные продукты сгорания используют для нагревания твердого теплоносителя, для получения пара в котле утилизаторе и выработки электроэнергии на парогазовой установке.
3. Способ по п.1, отличающийся тем, что процесс сжигания проводят при недостатке воздуха – коэффициенте избытка воздуха <1.
4. Способ по п.1, отличающийся тем, что остаточные продукты и дымовые газы после аэрофонтанного нагревателя направляют для дожига в котел-утилизатор.
5. Способ по п.1, отличающийся тем, что получаемые горячий полукокс и несущие газы подают совместно без охлаждения в горн доменной печи, а не использованные в технологии пиролиза твердого топлива парогазовые продукты и пиролизный газ подают в парогазовую установку для получения электроэнергии, используемой в технологии пиролиза.
6. Способ по п.1, отличающийся тем, что поток газовзвеси, состоящей из полукокса и продуктов сгорания в муфеле парогазовой смеси или пиролизного газа, направляют в первый байпас, после которого один поток направляют в циклон теплоносителя, а второй поток – в другой байпас, разделяющий газовзвесь на поток, направляемый в циклон товарного полукокса, и на поток, направляемый в следующий по ходу потока байпас, и затем – либо в циклон, из которого осажденный полукокс подают в горн доменной печи, либо всю газовзвесь, минуя циклон, направляют в домну.
7. Установка для пиролиза твердого топлива с помощью твердого теплоносителя с получением целевого продукта – полукокса, состоящая из аэрофонтанной сушилки, соединенной с циклоном сухого топлива, циклона твердого теплоносителя, причем указанные циклоны подключены через смеситель к барабанному реактору, снабженному пылеосадительной камерой с циклонами, отличающаяся тем, что установка содержит аэрофонтанный нагреватель, состоящий из подъемного вертикального стояка и цилиндроконического аэрофонтанного аппарата, и соединенный с газоходом отходящих газов, причем подъемный вертикальный стояк сообщен с муфелем для сжигания газообразного или жидкого пиролизных топлив, соединенным с трубопроводами подачи воздуха, пара, дымовых газов, парогазовой смеси, газа пиролиза, жидких продуктов пиролиза.
8. Установка по п.7, отличающаяся тем, что на газоходе отходящих газов установлены три последовательно расположенных байпаса.
РИСУНКИ
|
|