|
|
(21), (22) Заявка: 2008140764/11, 14.10.2008
(24) Дата начала отсчета срока действия патента:
14.10.2008
(46) Опубликовано: 10.01.2010
(56) Список документов, цитированных в отчете о поиске:
RU 2130407 C1, 20.05.1999. RU 2305056 C1, 27.08.2007. RU 2302547 C1, 10.07.2007. RU 2237189 C2, 27.09.2004. DE 4012103 C1, 25.07.1991.
Адрес для переписки:
443112, г.Самара, ул. Крайняя, 18, кв.17, Н.Б. Болотину
|
(72) Автор(ы):
Болотин Николай Борисович (RU)
(73) Патентообладатель(и):
Болотин Николай Борисович (RU)
|
(54) ГИПЕРЗВУКОВОЙ САМОЛЕТ И РАКЕТНАЯ ДВИГАТЕЛЬНАЯ УСТАНОВКА САМОЛЕТА
(57) Реферат:
Изобретения относятся к авиации, а именно к гиперзвуковым самолетам и двигателям. Самолет содержит фюзеляж, носовую коническую часть, крылья, стабилизаторы, топливные баки, ракетную двигательную установку и трубопроводы подвода компонентов топлива к ней. Ракетная двигательная установка установлена в задней части фюзеляжа. Двигательная установка содержит турбонасосный агрегат с установленными на валу крыльчатками окислителя и горючего, турбиной, пусковой турбиной и соосно установленным газогенератором и две камеры сгорания с выдвижными сопловыми насадками. Достигается увеличение скорости и экономичности самолета. 2 н. и 2 з.п. ф-лы, 4 ил.
ИИзобретение относится к авиации, а именно к гиперзвуковым самолетам.
Известен гиперзвуковой самолет по патенту РФ на изобретение 2010744. Корпус самолета выполнен в любом продольном сечении по кубической параболе с затупленной кормовой частью и углом стреловидности по передней кромке не менее 60°. Руль высоты выполнен в виде шарнирно-закрепленной передней части корпуса.
Недостаток – относительно низкая скорость полета самолета М=4 6.
Известен гиперзвуковой самолет по патенту РФ на изобретение 2130407, содержащий фюзеляж, крылья стартовые и маршевые двигательные установки. Стартовые двигательные установки выполнены в виде газотурбинных двигателей – ГТД, а маршевые двигатели – в виде прямоточных двигателей, конкретно в запатентованной разработке предложено применить пульсирующие детонационные воздушно-реактивные двигатели.
Недостатки этого самолета: относительно низкая скорость полета самолета и длительное время его разгона до гиперзвуковых скоростей из-за низкой тяги ГТД.
Основной элемент выходного устройства реактивного двигателя и двигателя с комбинированной тягой – это реактивное сопло. В реактивном сопле происходит расширение газа, выходящего из турбины или форсажной камеры газотурбинного двигателя или из камеры сгорания (или другого устройства для подогрева рабочего тела) ракетного двигателя, сопровождаемое увеличением его скорости и кинетической энергии. Расширение газа в сопле реактивном происходит до давления окружающей среды на расчетном режиме сопла и до давления, отличного от давления окружающей среды, на нерасчетных режимах сопла. Скорость истечения газа из реактивного сопла воздушно-реактивного двигателя на расчетном режиме сопла определяет при данной скорости полета величину удельной тяги двигателя. Скорость истечения газа из реактивного сопла ракетного двигателя на расчетном режиме сопла определяет величину удельной тяги двигателя независимо от скорости полета. Скорость истечения газа из реактивного сопла современных реактивных двигателей в земных статических условиях доходит до 1000 м/с и более у воздушно-реактивных двигателей и до 3000 м/с и более у ракетных двигателей. Различают регулируемое и нерегулируемое реактивное сопло. Регулируемое сопло снабжается устройством для изменения его сечения при работе двигателя. В дозвуковом сужающемся сопле регулирование состоит, как правило, в изменении площади выходного сечения сопла. В сверхзвуковом сопле регулированию подвергаются как площадь критического сечения, так и площадь выходного сечения сопла. Регулируемое сопло применяется в турбореактивных двигателях с форсажной камерой, а и его регулирование практически не применяется из-за очень высокой температуры истечения продуктов сгорания.
Задачи создания гиперзвукового самолета: уменьшение времени разгона самолета до гиперзвуковых скоростей и увеличение скорости полета.
Решение указанной задачи достигнуто за счет того, что гиперзвуковой самолет, содержащий фюзеляж, носовую коническую часть, крылья, стабилизаторы, топливные баки, ракетную двигательную установку и трубопроводы подвода компонентов топлива к ней, отличающийся тем, что ракетная двигательная установка установлена в задней части фюзеляжа и содержит турбонасосный агрегат, две камеры сгорания с выдвижными сопловыми насадками. В носовой конической части радиально установлены четыре управляющих реактивных сопла, соединенных через регуляторы с вспомогательным газогенератором.
Решение указанных задач достигнуто в ракетной двигательной установке самолета, содержащая турбонасосный агрегат с установленными на валу крыльчатками окислителя и горючего, турбиной, пусковой турбиной и соосно установленным газогенератором, и камеры сгорания, соединенные газоводами с камерами сгорания, отличающаяся тем, что применены две камеры сгорания, а под ними установлены выдвижные сопловые насадки. В газоводе одной из камер сгорания установлен регулятор.
Предложенное техническое решение обладает новизной, изобретательским уровнем и промышленной применимостью. Новизна подтверждается проведенными патентными исследованиями, изобретательский уровень – тем, что новая совокупность существенных признаков позволила получить новый технический эффект, а именно – уменьшение времени разгона самолета до гиперзвуковых скоростей и увеличение скорости полета. Промышленная применимость обусловлена тем, что для реализации изобретения не требуется создания новых неизвестных из уровня техники деталей и узлов и новых технологий.
Сущность изобретения поясняется чертежами, где
на фиг.1 приведена схема гиперзвукового самолета,
на фиг.2 приведен разрез А-А,
на фиг.3 – вид самолета сзади,
на фиг.4 приведена схема ракетной двигательной установки самолета.
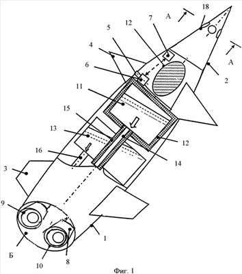
Гиперзвуковой самолет (фиг.1) содержит фюзеляж 1, носовую коническую часть 2, крылья 3, стабилизаторы 4, установленные на осях 5 с возможностью поворота. Оси 5 соединены с приводами 6. Привод 6 соединен с блоком управления 7. В задней части фюзеляжа 1 размещена ракетная двигательная установка 8, содержащая две камеры сгорания 9 с сопловыми насадками 10. Внутри фюзеляжа 1 установлены бак окислителя 11 с изоляцией бака 12, бак горючего 13, трубопровод окислителя 14, подсоединенный к баку окислителя 11, имеющий тепловую изоляцию 15. К баку горючего 16 в его нижней части подстыкован трубопровод горючего 16. Бак окислителя 11 соединен трубопроводом подвода окислителя 14 ракетной двигательной установкой 8. Бак горючего 13 соединен трубопроводом горючего 16 с ракетной двигательной установкой. В передней части фюзеляжа 1 находится кабина пилота 17. В носовой конической части 2 радиально установлено четыре управляющих сопла 18 (фиг.2), соединенных с дополнительным газогенератором 19 и имеющих регуляторы 20. Фюзеляж 1 самолета установлен на шасси 21 (фиг.3).
Ракетная двигательная установка 8 (фиг.4) содержит две камеры сгорания 9 и турбонасосный агрегат (ТНА) 22. Турбонасосный агрегат 22, в свою очередь, содержит установленные на валу ТНА 23 крыльчатку насоса окислителя 24, крыльчатку насоса горючего 25, пусковую турбину 26, дополнительный насос горючего 27, с валом дополнительного насоса горючего 28, соединенным мультипликатором 29, размещенным в корпусе 30 с валом ТНА 23, основную турбину 31, выполненную в верхней части турбонасосного агрегата 22. Газогенератор 32 установлен над основной турбиной 31 соосно с турбонасосным агрегатом 22. Камера сгорания 21 содержит сопло 33, выполненное из двух оболочек и зазором А между ними, и головку камеры сгорания 34, внутри которой выполнены наружная плита 35 и внутренняя плита 36 с полостью Б между ними. Внутри головки камеры сгорания 34 установлены форсунки окислителя 37 и форсунки горючего 38. Форсунки окислителя 37 сообщают полость В с внутренней полостью камеры сгорания Д, а форсунки горючего 38 сообщают полость Б с внутренней полостью камеры сгорания Д. На наружной поверхности камеры сгорания 21 установлен коллектор горючего 39, от которого отходят топливопроводы 40 к нижней части сопла 33. К коллектору горючего 39 подключен выход из клапана горючего 41, вход которого трубопроводом горючего 42 соединен с выходом из крыльчатки насоса горючего 25. Выход из дополнительного насоса горючего 27 соединен топливопроводом высокого давления 43 через регулятор расхода 44, имеющий привод 45 и клапан высокого давления 46 с газогенератором 32, конкретно – с полостью Е. Выход из крыльчатки насоса окислителя 24 трубопроводом окислителя 47 через клапан 48 тоже соединен с генератором 32, конкретно с его полстью Ж. На головке 35 камеры сгорания 21 установлены запальные устройства 49, а на газогенераторе 31 – запальные устройства 50.
К пусковой турбине 26 подстыкован трубопровод высокого давления 51 с пусковым клапаном 52, предназначенный для запуска пусковой турбины 26. Другой конец трубопровода высокого давления 52 соединен с баллоном сжатого воздуха 53.
К блоку управления 21 электрическими связями 54 подключены электрозапальные устройства 49 и 50, клапан горючего 41, клапан окислителя 48, привод регулятора расхода 45, клапан высокого давления 46, пусковой клапан 52 и регулятор 55, установленный в газоводе 56 одной из камер сгорания 9.
К коллектору горючего 39 подключен продувочный трубопровод 57 с клапаном продувки 58. Камеры сгорания 9 могут быть установлены на цапфах 59 для их качания при управлении курсом самолета. Сопловые насадки 10 закреплены на общей раме 60 и к ним присоединены штоки 61 приводов 62 для синхронного перемещения.
Ориентировочные характеристики гиперзвукового самолета:
| Скорость полета |
М=12 |
| Стартовый вес, т |
125 |
| Тяга ракетной двигательной установки, т |
2×75 |
| Время набора скорости М=12, с |
120 |
| Компоненты ракетного топлива для ЖРД |
 |
| Окислитель: |
кислород |
| Горючее: |
керосин |
При запуске ракетной двигательной установки 8 с блока управления 7 подаются сигналы на пусковой клапан 52. Воздух высокого давления с наземной системы по трубопроводу высокого давления 51 подается на пусковую турбину 26 и раскручивает ротор ТНА 22. Давление окислителя и горючего на выходе из крыльчаток насосов окислителя 22 и горючего 23 возрастает. Подается сигнал на открытие клапанов 41, 46 и 48. Окислитель и горючее поступает в камеру сгорания 21 и газогенератор 32. Подается сигнал на запальные устройства 49 и 50, топливная смесь в камере сгорания 21 и в газогенераторе 32 воспламеняется. Стартовый ракетный двигатель 4 запустился. Регулятором расхода 44 при помощи привода 45 осуществляют регулирование режима его работы.
При выключении стартового ракетного двигателя с блока управления 7 подается сигнал на клапаны 41, 46 и 48 и 55, которые закрываются. Потом подается сигнал на открытие продувочного клапана 52 и инертный газ по продувочному трубопроводу 51 поступает в топливный коллектор 39 и далее в полость А для удаления остатков горючего.
При старте и разгоне гиперзвукового самолета управление углами полета осуществляется рассогласованием тяги камер сгорания 9 при помощи регулятора 55, уменьшающего подачу газа из газогенератора 32 в одну из камер сгорания 9. При полете в атмосфере управление самолетом выполняет блок управления 7 при помощи приводов 6, которые отклоняют стабилизаторы 4. При полете на большой высоте или в разреженной атмосфере на высоте запускают вспомогательный газогенератор 19 (фиг.3) и при помощи регуляторов 20 подают продукты сгорания в одно из реактивных управляющих сопел 18. При выходе в космос приводами 62 сдвигают раму 60 с насадками сопел 10 в нижнее положение. Степень расширения сопел 33 увеличивается, при этом увеличивается их реактивная тяга без изменения расхода топлива. В результате удельный расход топлива уменьшается, т.е. двигатели работают в экономичном режиме.
Приземление самолета осуществляется горизонтально на шасси 21.
Применение изобретения позволило следующее.
1. Повысить скорость полета гиперзвукового самолета до М=12.
2. Повысить потолок полета самолета до уровня космических высот, т.к. для его полета и управления не нужна атмосфера.
3. Ускорить процесс набора максимальной гиперзвуковой скорости.
4. Упростить схему питания топливом стартовых и маршевых двигателей.
5. Повысить надежность гиперзвукового самолета.
6. Увеличить мощность и удельные характеристики гиперзвукового самолета.
7. Уменьшить вес самолета.
8. Обеспечить надежное управление самолетом за счет применения двух систем управления: аэродинамической и газодинамической.
9. Улучшить запуск и выключение ракетной двигательной установки и обеспечить их очистку от остатков горючего после выключения продувкой полостей камер сгорания инертным газом.
Формула изобретения
1. Гиперзвуковой самолет, содержащий фюзеляж, носовую коническую часть, крылья, стабилизаторы, топливные баки, ракетную двигательную установку и трубопроводы подвода компонентов топлива к ней, отличающийся тем, что ракетная двигательная установка установлена в задней части фюзеляжа и содержит турбонасосный агрегат, две камеры сгорания с выдвижными сопловыми насадками.
2. Гиперзвуковой самолет по п.1, отличающийся тем, что в носовой конической части радиально установлены четыре управляющих реактивных сопла, соединенных через регуляторы с вспомогательным газогенератором.
3. Ракетная двигательная установка самолета, содержащая турбонасосный агрегат с установленными на валу крыльчатками окислителя и горючего, турбиной, пусковой турбиной и соосно установленным газогенератором, и камеры сгорания, соединенные газоводами с камерами сгорания, отличающаяся тем, что применено две камеры сгорания, а под ними установлены выдвижные сопловые насадки.
4. Ракетная двигательная установка самолета по п.3, отличающаяся тем, что в газоводе одной из камер сгорания установлен регулятор.
РИСУНКИ
|
|