|
|
(21), (22) Заявка: 2008129155/11, 17.07.2008
(24) Дата начала отсчета срока действия патента:
17.07.2008
(46) Опубликовано: 10.01.2010
(56) Список документов, цитированных в отчете о поиске:
RU 2123432, 20.12.1998. WO 98/10975, 19.03.1998. US 5228528, 20.07.1993. US 3814046, 04.06.1974.
Адрес для переписки:
119454, Москва, пр-кт Вернадского, 24, кв.12, пат. пов. С.Н. Белоусько, рег. 1048
|
(72) Автор(ы):
Максименко Роман Васильевич (RU)
(73) Патентообладатель(и):
Максименко Роман Васильевич (RU)
|
(54) ДВИЖИТЕЛЬ ТРАНСПОРТНОГО СРЕДСТВА
(57) Реферат:
Изобретение относится к области транспорта и направлено на усовершенствование движителей транспортных средств высокой проходимости. Движитель транспортного средства содержит герметичную эластичную оболочку в виде цилиндрического рукава с вывернутыми и герметично соединенными друг с другом концами, имеющую при заполнении воздухом под давлением форму вырожденного тора. Верхнюю часть оболочки охватывает замкнутая цепь, связанная с зубчатым колесом привода для перемещения этой цепи между обращенными навстречу друг другу внутренними поверхностями оболочки и по наружной поверхности верхнерасположенной части оболочки. Цепь введена в зацепление с каретками, прикрепленными к наружной и внутренней поверхностям верхней части оболочки на расстоянии относительно друг друга поперек верхней части оболочки. При этом каретки последовательно связаны между собой по смежно расположенным концам шарнирно прикрепленными звеньями. На каждом конце каждая каретка выполнена с телом качения для перемещения по направляющим элементам, прикрепленным к раме транспортного средства, которая выполнена с ограничителями боковых перемещений оболочки. Каретки прикреплены к наружной и внутренней поверхностям верхней части оболочки за счет резьбового соединения с втулками в сформированных в оболочке клапанах для подкачки оболочки воздухом. Технический результат заключается в повышении долговечности движителя и повышении курсовой устойчивости транспортного средства. 2 ил.
Изобретение относится к области транспортного машиностроения, в частности к конструкции транспортного средства с движителями иными, чем обычные колеса и гусеницы. Точнее, изобретение относится к тороидным движителям транспортного средства высокой проходимости, предназначенного для движения по пересеченной местности и грунтам со слабой несущей способностью, а так же по водоемам неограниченной глубины и снежной или ледяной поверхности, в том числе дрейфующим льдам Арктики. Благодаря использованию тороидного движителя транспортное средство может использоваться в труднодоступных районах Сибири, Крайнего Севера, Арктике и Антарктиде для перемещения людей и грузов.
Известен движитель транспортного средства, содержащий ведущую от привода бесконечную ленту или ремни, огибающую установленные на раме транспортного средства ролики, один из которых предназначен для привода этой ленты или ремней и который связан с приводом, а так же натяжной ролик, предназначенный для регулирования прилегания ленты или ремней к поверхности тороидальной оболочки.
Известен движитель транспортного средства, содержащий герметичную эластичную оболочку в виде цилиндрического рукава с вывернутыми и герметично соединенными друг с другом концами, имеющую при заполнении воздухом под давлением форму вырожденного тора с двумя обращенными навстречу друг другу внутренними и двумя наружными поверхностями, замкнутый бесконечный элемент, связанный с зубчатым колесом привода его вращения для перемещения этого элемента между обращенными навстречу друг другу внутренними поверхностями оболочки и по наружной поверхности верхнерасположенной части оболочки (WO 98/10975, B62D 57/02, опубл. 19.03.1998). Принято в качестве прототипа для заявленного объекта.
Недостатком всех известных конструкций, в том числе и по прототипу приводов эластичных тороидальных оболочек является ненадлежащее соединение или фиксация тороидальной оболочки в нулевом положении по отношению к раме транспортного средства. Учитывая, что тороидальная тонкостенная оболочка больших размеров не имеет устойчивого положения и формоудержания при воздействии меняющейся по величине и направлению внешней нагрузке, то такой движитель серьезно подвержен изменению формы оболочки, что сказывается на устойчивости транспортного средства. Кроме того, оболочка работает под внутренним давлением и в процессе силового нагружения возможны утечки воздуха, что приводит к появлению разворачивающего момента, отклоняющего транспортное средства от направления перемещения.
Недостатком конструкции тороидного движителя с тороидальной оболочкой, позволяющей перемещаться по воде, является использование ковшеобразной формы карманов, пришитых к оболочке снаружи. Карманы при движении по воде наполняются водой и, когда оболочка заворачивается внутрь тора, вода не вытекает из карманов и попадает внутрь тороидального мешка, что приводит к появлению дополнительного сопротивления для привода и повышенному проскальзыванию ленты или ремней по наружной поверхности оболочки. А при низких температурах движение вообще невозможно, так как вода начнет замерзать в карманах.
Кроме того, работа привода, то есть выворачивания тороидальной оболочки, прямо зависит от плотности и надежности прилегания ленты или ремней к поверхности оболочки, что обеспечивается заданным надувом оболочки и работой прижимных роликов. Так как оболочка не имеет устойчивой формы, то при некоторых положениях транспортного средства (например, при наклоне вперед или назад или заваливании на борт) между лентой или ремнями и оболочкой теряется контакт, что приводит к остановке транспортного средства и прекращению функционирования движителей.
Настоящее изобретение направлено на решение технической задачи по обеспечению надежной кинематической фиксации тороидальной оболочки с элементами привода выворачивания этой оболочки и позиционной фиксации оболочки к раме транспортного средства, обеспечению централизованной подкачки оболочки в процессе движения или стоянки.
Достигаемый при этом технический результат заключается в повышении эксплуатационных качеств за счет повышения долговечности тороидальной оболочки, обеспечения перемещения в условиях низких температур после преодоления водных преград, поддержания постоянно равным давление в оболочках по бортам и сохранения оболочками бортов своей формы в границах боковых ограничителей.
Указанный технический результат достигается тем, что в движителе транспортного средства, содержащем герметичную эластичную оболочку в виде цилиндрического рукава с вывернутыми и герметично соединенными друг с другом концами, имеющую при заполнении воздухом под давлением форму вырожденного тора с двумя обращенными навстречу друг другу внутренними и двумя наружными поверхностями, замкнутый бесконечный элемент, связанный с зубчатым колесом привода его вращения для перемещения этого элемента между обращенными навстречу друг другу внутренними поверхностями оболочки и по наружной поверхности верхнерасположенной части оболочки, замкнутый бесконечный элемент выполнен в виде цепи, введенной в зацепление с каретками, прикрепленными к наружной и внутренней поверхностям верхней части оболочки на расстоянии относительно друг друга поперек верхней части оболочки, при этом каретки последовательно связаны между собой по смежно расположенным концам шарнирно прикрепленными звеньями, а на каждом конце каждая каретка выполнена с телом качения для перемещения по направляющим элементам, прикрепленным к раме транспортного средства, выполненной с ограничителями боковых перемещений оболочки, при этом вдоль нижней части оболочки на ее поверхности размещены карманы с входным и выходным отверстиями для захвата порции воды и ее вытекания через выходное отверстие, а каретки прикреплены к наружной и внутренней поверхностям верхней части оболочки за счет резьбового соединения с втулками в сформированных в оболочке клапанах для подкачки оболочки воздухом.
Указанные признаки являются существенными и взаимосвязаны с образованием устойчивой совокупности существенных признаков, достаточной для получения требуемого технического результата.
Настоящее изобретение поясняется конкретным примером исполнения, который, однако, не является единственно возможным, но наглядно демонстрирует возможность достижения требуемого технического результата.
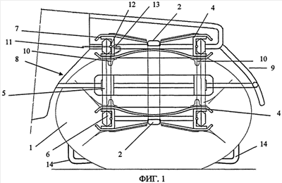
На фиг.1 – движитель для одного борта, вид спереди;
фиг.2 – вид сбоку на движитель.
Согласно настоящего изобретения рассматривается конструкция движителя для тороидного транспортного средства высокой проходимости и низкого давления на грунт.
Движитель транспортного средства с каждого борта последнего содержит герметичную эластичную оболочку 1 в виде цилиндрического рукава с вывернутыми и герметично соединенными друг с другом концами, имеющую при заполнении воздухом под давлением форму вырожденного тора. Верхнюю часть оболочки охватывает замкнутая цепь 2, связанная с зубчатым колесом 3 (может быть выполнена с устройством натяжения) бортового привода ее вращения (по типу гусеничной трансмиссии привода звездочек бортов) для перемещения этой цепи между обращенными навстречу друг другу внутренними поверхностями оболочки и по наружной поверхности верхнерасположенной части оболочки. Цепь введена в зацепление с каретками 4, прикрепленными к наружной и внутренней поверхностям верхней части оболочки 1 на расстоянии относительно друг друга поперек верхней части оболочки. Каретки последовательно связаны между собой по смежно расположенным концам шарнирно прикрепленными звеньями 5. На каждом конце каждая каретка выполнена с телом качения типа ролика 6 или скольжения для перемещения по направляющим элементам в виде рельсов 7, прикрепленных к раме транспортного средства. Рельсы для направления движения и перемещения кареток фиксировано позиционированы относительно друг друга и рамы, что обеспечивает перемещение кареток только в осевом направлении. Так как каретки прикреплены к оболочке, то они, по сути, по отношению к рельсам выполняют функцию не только привода втягивания оболочки, но и ее удержания от смещений как в осевом, так и в поперечном направлениях. Таким образом обеспечивается формоудержание оболочки независимо от положения рамы транспортного средства и изменений нагрузки на движители. Так как цепь введена в зацепление с каретками, а последние позиционированы, то оболочка всегда будет иметь контакт с цепью, что гарантирует втягивание оболочки. При этом исключается необходимость прижатия цепи к поверхности оболочки.
Рама выполнена с ограничителями боковых перемещений оболочки. Со стороны рамы ограничителем является поверхность борта 8 рамы, а с наружной стороны оболочки ограничитель выполнен в виде дугообразных трубчатых элементов 9 или щита такой же формы. Кривизна поверхностей ограничителей подбирается из условия приближения к форме оболочки. При этом ограничители относительно оболочки установлены дистантно для обеспечения возможности деформации оболочки под действием внешней нагрузки и ее поперечных смещений без потери формы. Каретки 4 прикреплены к наружной и внутренней поверхностям верхней части оболочки за счет резьбового соединения с втулками в сформированных в оболочке клапанах 10 для подкачки оболочки воздухом.
Таким образом, привод оболочки выполнен из направляющих рельсов, соединенных между собой кронштейнами. По этим рельсам перемещаются в осевом направлении каретки, имеющие тела качения. Каретки соединены между собой тягами с шарнирами на концах. Каретки могут быть выполнены в виде одного узла или из двух концевых узлов, которые соединены между собой перпендикулярно по отношению направляющих рельс пластинами в виде лыж. Тороидальная оболочка путем резьбового соединения крепится к кареткам привода. В конструкции может для каждой оболочки может работать одна или две роликовые цепи, которые входят в зацепление с каретками и приводными звездочками, на которые подается момент, или звездочки входят в зацепление на прямую с каретками. Вся конструкция в сборе крепится к раме транспортного средства по бортам.
Централизованная подкачка имеет штатный компрессор, от которого воздух по трубкам через влагомаслоотделитель и контрольный манометр поступает по каналу 11 к одному из направляющих рельсов. Далее по распределительному каналу 12 поступает к кареткам, в которых имеется электромагнитный клапан 13, далее через клапаны 10, интегрированные в тороидальную оболочку, воздух поступает в полость самой тороидальной оболочки.
Повышение долговечности тороидальной оболочки имеет конструктивное решение, заключающееся в том, что наружная часть оболочки изготавливается из эластичного полотна, способного работать на истирание при низких температурах, внутренняя камера изготавливается из резинового полотна, способного работать, сохранять упругоэластичные свойства при низких температурах, и герметичность. В оболочку интегрируются клапана с резьбовыми втулками, вваренными (вулканизацией) в резиновые клапана, через которые тороидальная оболочка фиксируется к кареткам привода и через которые осуществляется подкачка.
Вдоль нижней части оболочки на ее поверхности размещены ковшеобразные карманы 14 с входным и выходным отверстиями для захвата порции воды и ее вытекания через выходное отверстие. Способность тороидальной оболочки уверенно передвигаться по воде так же имеет конструктивное решение, заключающееся в том, что к наружной оболочке в местах, где оболочка контактирует с поверхностью воды, в осевом направлении в два ряда пришиваются ковшеобразные карманы, которые имеют вход и выход воды через отверстия разного проходного сечения, входное из которых по размеру в два раза больше выходного отверстия (это конкретный пример, соотношение проходных сечений может быть различным, в равной степени это касается и количества отверстий выхода).
Движитель функционирует следующим образом. От трансмиссии крутящий момент поступает на ведущую звездочку и вращает ее, что приводит к перемещению цепи (цепей), введенной в зацепление с каретками. Под тяговым усилием цепи каретки перемещаются по направляющим рельсам. Так как каретки по концам связаны между собой шарнирно соединенными связями, то каретки не имеют возможности поперечных и угловых смещений, но имеют возможность перемещения вдоль оболочки. Связи кареток с оболочкой через силовые втулки в клапанах подкачки обеспечивают позиционирование оболочки относительно рельс и, следовательно, оболочка всегда будет находиться в зоне между ограничителями. Таким образом, при перемещении цепи через каретки оболочка начинает втягиваться, что приводит к перемещению транспортного средства.
Маневрирование транспортным средством с таким движителем обеспечивается по аналогии бортового привода за счет уменьшения крутящего момента на одном борту или остановки движителя этого борта.
Данный тороидный движитель чувствителен к давлению в полости оболочки, которое обеспечивает поддержание ее формы. Так как для оболочек больших размеров решение вопроса полной герметизации полости представляет собой достаточно сложную задачу, то любые утечки могут быть компенсированы порционными подкачками. Для этого используется система автоматической подкачки, обеспечивающая порционную подачу воздуха в полость оболочки при прохождении каретки, связанной с клапаном подкачки, интегрированным в оболочку, через канал подачи воздуха. Система контроля давления в оболочке определяет режим включения подкачки, после восстановления заданного давления система отключает подачу воздуха. Изменением давления в оболочке так же регулируют высоту положения рамы транспортного средства.
При движении по воде ковшеобразные карманы, выполненные на уровне ватерлинии, захватывают воду, отталкиваясь от нее. И выпускают воду через выходное отверстие меньшего диаметра в момент подъема карманов над уровнем ватерлинии и перед тем, как эти карманы переместятся во внутрь рукава оболочки. Таким образом, при сохранении возможности перемещения по воде исключается попадание воды между рукавами оболочки и исключается задержка воды в карманах. Что может привезти при низких арктических температурах к остановке движителя или к разрыву оболочки.
Настоящее изобретение промышленно применимо, изготовлено и прошло испытания, которые показали высокую курсовую устойчивость транспортного средства и независимость работы движителя от колебаний внешней нагрузки по длине оболочки.
Формула изобретения
Движитель транспортного средства, содержащий герметичную эластичную оболочку в виде цилиндрического рукава с вывернутыми и герметично соединенными друг с другом концами, имеющую при заполнении воздухом под давлением форму вырожденного тора с двумя обращенными навстречу друг другу внутренними и двумя наружными поверхностями, замкнутый бесконечный элемент, связанный с зубчатым колесом привода его вращения для перемещения этого элемента между обращенными навстречу друг другу внутренними поверхностями оболочки и по наружной поверхности верхнерасположенной части оболочки, отличающийся тем, что замкнутый бесконечный элемент выполнен в виде цепи, введенной в зацепление с каретками, прикрепленными к наружной и внутренней поверхностям верхней части оболочки на расстоянии относительно друг друга поперек верхней части оболочки, при этом каретки последовательно связаны между собой по смежно расположенным концам шарнирно прикрепленными звеньями, а на каждом конце каждая каретка выполнена с телом качения для перемещения по направляющим элементам, прикрепленным к раме транспортного средства, выполненной с ограничителями боковых перемещений оболочки, при этом вдоль нижней части оболочки на ее поверхности размещены карманы с входным и выходным отверстиями для захвата порции воды и ее вытекания через выходное отверстие, а каретки прикреплены к наружной и внутренней поверхностям верхней части оболочки за счет резьбового соединения с втулками в сформированных в оболочке клапанах для подкачки оболочки воздухом.
РИСУНКИ
|
|