|
|
(21), (22) Заявка: 2008117146/13, 30.09.2005
(24) Дата начала отсчета срока действия патента:
30.09.2005
(46) Опубликовано: 10.01.2010
(56) Список документов, цитированных в отчете о поиске:
WO 2004/057973 A1, 15.04.2004. WO 01/33971 A1, 17.05.2001. EP 1227732 A1, 07.08.2002. RU 2127526 C1, 20.03.1999.
(85) Дата перевода заявки PCT на национальную фазу:
30.04.2008
(86) Заявка PCT:
DK 2005/000624 20050930
(87) Публикация PCT:
WO 2007/036227 20070405
Адрес для переписки:
129090, Москва, ул. Б.Спасская, 25, стр.3, ООО “Юридическая фирма Городисский и Партнеры”, пат.пов. С.А.Дорофееву, рег. 146
|
(72) Автор(ы):
БОНКЕ Джонни (DK)
(73) Патентообладатель(и):
НИРО А/С (DK)
|
(54) УСТРОЙСТВО И СПОСОБ СУШКИ ЖИДКОСТЕЙ С ВЫСОКИМ СОДЕРЖАНИЕМ УГЛЕВОДОВ
(57) Реферат:
Устройство для сушки жидкости, содержащей преимущественно сухие вещества углеводов, с получением нелипкого порошка. Устройство включает распылительную сушильную камеру (5), в верхней части которой расположен распыляющий элемент (4), способный распылять каплями жидкость, преимущественно содержащую сухие вещества углеводов, средства (6) для подачи сушильного газа к распыленным каплям для их частичной сушки до влажных частиц и устройство для посткристаллизации (9) влажных частиц, полученных из сушильной камере, в нелипкий порошок. Устройство дополнительно включает фильтрующий элемент (7), расположенный внутри сушильной камеры, и средство (16) для удаления отработанного сушильного газа через фильтрующий элемент. Устройство подходит для обработки жидкости с высоким содержанием углеводов, таких как молочная сыворотка и пермеат молочной сыворотки. Также настоящее изобретение относится к способу получения нелипких порошков. Изобретение позволяет повысить выход конечного продукта. 2 н. и 29 з.п. ф-лы, 1 ил.
Настоящее изобретение относится к устройству, подходящему для сушки жидкости, содержащей преимущественно сухие вещества углеводов, с получением нелипкого порошка. Также настоящее изобретение относится к способу получения нелипкого порошка, по существу, из углеводов, изначально содержащихся в виде сухого вещества в жидкости, такой как молочная сыворотка или пермеат молочной сыворотки.
Жидкости с высоким содержанием углеводов, как правило, трудны для перевода в сухую форму, которую легко транспортировать, поскольку продукт становится липким при определенных температурах и определенном влажностном режиме. Липкость может являться результатом спекания в сушильных аппаратах.
Типичный процесс включает стадию начального концентрирования жидкости, которая может представлять собой молочную сыворотку или пермеат молочной сыворотки, для увеличения содержания сухих веществ до максимально возможного высокого уровня с обеспечением достаточно низкой вязкости для того, чтобы распылить жидкость на последующей стадии распылительной сушки. Как правило, на стадии концентрирования содержание сухих веществ в жидкости может быть увеличено до концентрации выше насыщенного раствора, что в результате ведет к кристаллизации углеводов. Возможно, перед стадией распылительной сушки проводят стадию кристаллизации. Как правило, стадию кристаллизации проводят в емкости с контролем температуры. Затем концентрированную жидкость подвергают обработке в режиме, способствующем росту кристаллов. Время выдержки и температурный режим зависят от различных факторов, включая тип углеводов, концентрацию ингибиторов или стимуляторов кристаллизации и наличие перемешивания.
В предшествующем уровне техники были предложены альтернативы распылительной сушки жидкостей с высоким содержанием углеводов. В WO 97/35486 описывается способ перевода жидкой молочной сыворотки или пермеата молочной сыворотки, по существу, в легкосыпучие, не спекающиеся порошковые продукты с использованием сушки воздухом. Процесс включает стадию вакуумного выпаривания сыворотки до содержания сухих веществ 65-80%, кристаллизацию сывороточного концентрата и сушку воздухом сыворотки, где основной поток изначально охлажденного сывороточного концентрата проходит через стадии кристаллизации, с подачей второго или третьего потока, смешивающегося с основным потоком.
Более прогрессивная технология приведена в патенте США 6790288 (Niro A/S), где кристаллический моногидрат альфа-лактозы восстановлен из вязкого лактозосодержащего водного раствора обработкой указанной жидкости одновременно нагреванием, удалением пара и механическим перемешиванием с высоким усилием сдвига с обеспечением кристаллизации, стимулирующей снижение вязкости жидкости за счет образованных и суспендированных в ней кристаллов, что увеличивает концентрацию перемешанной жидкости и одновременно кристаллизацию лактозы из нее. Последующее охлаждение, сушка и измельчение дают выход готового продукта в виде частиц моногидрата альфа-лактозы.
Обычно стадию кристаллизации проводят перед распылительной сушкой, как описывается в WO 02/087348 и WO 2004/057973. Заявитель предлагает обработку жидкого продукта при температуре выше температуры кристаллизации любого из компонентов жидкого продукта в теплообменнике, мгновенное отделение летучих компонентов из указанного жидкого продукта с получением пастообразного концентрата, предварительное охлаждение фракции указанного пастообразного концентрата и сушку указанного комбинированного продукта. На стадии предварительного охлаждения, очевидно, происходит кристаллизация лактозы за счет быстрого прямого предварительного охлаждения без какого-либо значительного увеличения вязкости, что могло бы привести к неперекачиваемости пасты. В последней публикации предложен способ, в котором сывороточный концентрат нагревают выше температуры кристаллизации и затем проводят кристаллизацию перед распылительной сушкой. На последующей стадии распылительной сушки кристаллизацию проводят с помощью сушильного газа.
Распылительная сушка является хорошо известной технологией для получения высушенных, агломерированных порошков для детского питания, цельного молока, обезжиренного молока и аналогичных продуктов, которые могут быть высушены до низкого уровня содержания влаги в сушильной камере. Жидкости с высоким содержанием кристаллизуемых углеводов не могут быть легко высушены распылительной сушкой до частиц с низким содержанием влаги. Например, пермеат молочной сыворотки, обычно включающий сухие вещества, состоящие на 80-85% из углеводов, не может быть нормально концентрирован до содержания сухих веществ 78-75%, потому что частицы, высушенные распылительной сушкой, становятся слишком липкими и агломерируют. Этот феномен назван здесь спеканием.
В патенте США 5006204 (Niro) предлагается обрабатывать влажный, высушенный распылительной сушкой порошок с содержанием влаги обычно 8-12% на стадии выдержки, предшествующей обработке в подвижном (псевдоожиженном) слое. На стадии выдержки используют диск, расположенный между распылительной сушилкой и подвижным слоем, указанный диск имеет конусообразную верхнюю поверхность, вал, поддерживающий диск для вращения в горизонтальной плоскости и механизм для вращения диска, в результате чего на поверхность диска поступает частично высушенная в распылительной сушилке молочная сыворотка, которая доставляется в подвижный слой, при этом происходит кристаллизация сыворотки в виде осадка на поверхности диска. Во время выдержки большое количество лактозы кристаллизуется, и обычно конечный продукт выходит со степенью кристаллизации более чем 92%. После стадии выдержки порошок может быть высушен в подвижном слое до конечного уровня содержания свободной влаги, обычно 1,5-2,5%.
Отработанный сушильный газ, покидая сушильную камеру, содержит мелкие частицы, называемые здесь мелкие частицы или мелочь, которую необходимо отделить от газа. В предшествующем уровне техники для распылительных сушилок предложены различные варианты способов отделения, которые могут быть отнесены к категории как внешних, так и внутренних средств отделения. Внутренние средства отделения обычно представляют собой фильтры, расположенные внутри сушильной камеры, а внешние средства отделения обычно включают фильтры и/или циклоны, следующие за влажными скрубберами, для окончательного отделения захваченных воздухом частиц.
Удаление мелочи средствами внутреннего отделения дает возможность получения нелипких порошков, которые могут быть высушены до низкого содержания влаги без спекания. В патенте США 4741803 описывается распылительная сушка, включающая зону фильтрации, расположенную по всей ширине верхней секции распылительной сушилки, где сепаратор содержит пористые фильтрующие элементы в форме трубок, закрытых со стороны дна, расположенных таким образом, что весь поток сушильного газа проходит через пористые фильтрующие элементы, ударяясь о частицы продукта, захваченные сушильным газом, и таким образом отделяя их. Распылительная сушка из предшествующего уровня также включает средства введения потока сжатого газа через пористые фильтрующие элементы для удаления адгезированных им частиц продукта; указанные средства располагают таким образом, что поток указанного сжатого воздуха проходит наружу через пористые фильтрующие элементы в направлении, противоположном сушильному газу.
В патенте ЕР 1227732 (Niro A/S) описывается способ, предусматривающий стадию удаления потока отработанного сушильного газа и газа из встроенного устройства для сушки в подвижном (псевдоожиженном) слое при температуре 60-95°С из камеры через гибкие фильтрующие элементы в указанной камере, улавливая таким образом мелкие частицы, захваченные указанным потоком на поверхности элементов фильтра. Мелкие частицы, осажденные на гибкие фильтрующие элементы, высвобождаются за счет коротких, умеренных противопотоков, что является причиной их падения на стенку усеченного конуса сушильной камеры и последующего попадания во встроенное устройство для сушки в подвижном слое. В патенте США 6058624 (Niro A/S) описывается применение, по существу, негибких фильтров, фильтрующие элементы могут быть очищены на месте средствами, описанными в патенте США 6332902 (Niro A/S).
В предшествующем уровне техники представлены средства внешнего отделения мелочи, полученной в результате распылительной сушки жидкости с высоким содержанием кристаллизуемых углеводов. Для специалиста в данной области техники должно быть очевидно, что фильтрующие устройства внутри сушильной камеры не должны удерживать мелкие частицы, так как они могут слипаться или проникать в матрицу фильтра и забивать фильтрующее устройство.
Таким образом, в WO 02/087348 и США 5006204, приведенных выше, использованы внешние устройства для отделения. В WO 04/057973, также приведенном выше, описывается возможность использования внешних фильтрующих мешков для удаления мелких частиц из потока отработанного сушильного газа. Перед фильтрацией вспомогательный газ подают в отработанный сушильный газ в таком количестве при такой температуре и относительной атмосферной влажности, при которых в смеси отработанного газа с уловленными мелкими частицами и вспомогательного газа не происходит слипание уловленных мелких частиц. Кроме того, сухие частицы преимущественно подают в отработанный сушильный газ. Эти сухие частицы служат в качестве носителей для все еще влажных мелких частиц в отработанном сушильном газе.
При обработке отработанного газа, полученного при распылительной сушке жидкости с высоким содержанием углеводов, традиционно используют способы наружного отделения по отношению к сушильной камере для удаления мелких липких частиц из отработанного газа. Способы удаления из предшествующего уровня техники обычно включают использование циклонов с последующими влажными скрубберами для окончательного отделения захваченных воздухом частиц. Известные способы имеют некоторые недостатки при обработке продуктов, которые заключаются в трудности при транспортировке. Частицы адгезируются в переходном канале между сушильной камерой и устройством для отделения частиц, и необходимо их удалять. Такое удаление часто проводится вручную и требует остановки производственного процесса. Для уменьшения адгезии частиц на канале в канал часто инжектируют теплый сухой воздух, что повышает общие энергозатраты. Кроме того, использование устройств для удаления частиц из сушильного газа усложняет процесс производства.
Целью настоящего изобретения является устройство для получения нелипких порошков, которое в то же самое время транспортирует отработанный газ, включающий мелкие частицы, экономичным и оптимизирующим процесс способом.
Настоящее изобретение относится к устройству для сушки жидкости, преимущественно содержащей сухие вещества углеводов, с получением нелипкого порошка, включающему сушильную камеру (5), в верхней части которой расположен распыляющий элемент (4), способный распылять каплями жидкость, содержащую преимущественно сухие вещества углеводов, средства подачи сушильного газа к распыленным каплям для их частичной сушки до влажных частиц и устройство для выдержки (9) для последующей кристаллизации (“посткристаллизации”) влажных частиц, полученных из сушильной камеры, в нелипкий порошок, где фильтрующий элемент (7), расположенный внутри сушильной камеры, обеспечен средством для удаления отработанного сушильного газа через фильтрующий элемент.
Предполагалось, что из-за липкой природы частиц, присутствующих в отработанном сушильном газе, расположенный внутри фильтр будет забиваться при проведении производственного процесса через небольшой промежуток времени. В результате забивания фильтрующего элемента должно возникать быстрое увеличение перепада давления. Неожиданно было обнаружено, что быстрого увеличения перепада давления не наблюдалось.
Дополнительные преимущества изобретения включают компактное размещение оборудования и уменьшение числа поверхностей, контактирующих с продуктом. При компактном размещении оборудования уменьшается занимаемая площадь поверхности пола и уменьшается число поверхностей, контактирующих с продуктом, что упрощает мойку устройства.
Используемый здесь термин «нелипкий» описывает свойства порошка с практической точки зрения. Соответственно, нелипкий порошок представляет собой продукт, который может быть транспортирован без слипания отдельных частиц, по существу препятствующего дальнейшей обработке порошка. Отсутствие липкости свойственно определенным порошкам при определенной комбинации температуры, концентрации свободной влаги и степени кристаллизации. В определенных вариантах воплощения настоящего изобретения нелипкий порошок состоит из легкосыпучих частиц.
В зависимости от конструкции устройства по настоящему изобретению распыляющий элемент может быть выбран из центробежного распылителя, пневмораспылителя или форсуночного распылителя под давлением. Средства подачи сушильного газа к распыленным каплям для их частичной сушки до влажных частиц обычно включают вентилятор и калорифер. Скорость потока и температура газа, подаваемого в распылительную камеру, в норме может контролироваться для получения требуемых показателей сушки. Сушильный газ обычно подается в сушильную камеру через кольцевой канал, расположенный вокруг распыляющего элемента.
Сушильная камера может быть любой подходящей формы при условии, что влажные частицы могут собираться и транспортироваться в устройство для выдержки. Обычно сушильная камера включает верхнюю часть и нижнюю части, указанная верхняя часть представляет собой, по существу, цилиндр, закрытый наверху потолком, а указанная нижняя часть представляет собой сужающуюся вниз стенку в виде усеченного конуса.
Сужающийся вниз усеченный конус соединен с выходным патрубком для сбора влажных частиц после процесса распылительной сушки. Традиционно сушильная камера не включает встроенное устройство для сушки в подвижном слое, если обработанные продукты высушены до низкого содержания влаги. Влажный продукт может быть собран в контейнер и затем транспортирован в устройство для выдержки. Желательно, чтобы выходной патрубок сушильной камеры был соединен с устройством для выдержки для непосредственной доставки частично высушенных влажных частиц. Устройство для выдержки может иметь любую форму, которая позволяет проводить посткристаллизацию влажных частиц. В некоторых патентных заявках используют движущуюся конвейерную ленту. Движущаяся конвейерная лента может быть влагопроницаемой или влагонепроницаемой, и влажные частицы могут кристаллизоваться на ленте или сетчатых поддонах. В других патентных заявках устройство для выдержки представляет собой диск с конусообразной верхней поверхностью, вал, поддерживающий диск для вращения в горизонтальной плоскости, и механизм для вращения диска. Последнее устройство описано в патенте США 5006204 (Niro), приведенном здесь ссылкой.
Внутренний фильтрующий элемент может быть изготовлен из любого подходящего материала с размером пор, подходящим для задержки интересующих мелких частиц. В одном варианте воплощения настоящего изобретения фильтр изготавливают из жесткого материала, как описано в WO 97/14288 (Niro). Жесткий материал может представлять собой керамику, металлокерамику или полимер. Однако обычно предпочтительно, чтобы фильтрующий элемент был гибким фильтрующим элементом. Предпочтительным материалом для гибкого фильтрующего элемента является материал, пробиваемый иглой. Предпочтительный гибкий фильтр изготавливают из двухслойного пробиваемого полиэстра (этилен политерефталат). Объем пор должен быть достаточным для удержания частиц и обеспечивать высокую газопроницаемость. В подходящем материале объем пор составляет около 78%, толщина материала составляет 1,5-2 мм и газопроницаемость составляет около
150 л/м3. Подходящий материал фильтрующего элемента выбирают таким образом, чтобы он удерживал частицы с размером 1-10 мкм или более.
Гибкий фильтрующий элемент служит для удержания частиц и удаления отработанного осушающего воздуха. Форма фильтра не имеет значения. Подходящий вариант воплощения включает гибкий фильтрующий элемент в форме фильтрующего мешка, расположенного вертикально в сушильной камере. Фильтрующий мешок имеет закрытое дно и в верхней части связан со средствами удаления отработанного осушающего воздуха. Ряд фильтрующих мешков может быть расположен по кругу внутри сушильной камеры в верхней цилиндрической части для уменьшения занимаемого пространства. Подходящими средствами для удаления отработанного сушильного газа являются вентиляторы, но могут быть использованы любые устройства, способные создавать перепад давлений в фильтре, достаточный для удаления отработанного сушильного газа.
Для предотвращения забивания фильтрующий мешок может иметь сопло, создающее короткие, умеренные противопотоки газа под давлением, что вызывает падение мелких частиц, осевших на гибком фильтрующем элементе, в нижнюю часть сушильной камеры. С помощью подходящего регулирования частицы могут быть освобождены из гибких фильтрующих мешков минимальным противотоком при низком давлении, которое не распространяет частицы по всей площади внутри сушильной камеры, но позволяет им падать непосредственно вниз в коническую секцию. Обычно сопло активируется каждые 3 минуты. Могут быть выбраны более длинные или более короткие периоды между отдельными противотоками исходя из необходимости предотвращения забивания. Сопло обычно представляет собой насадку с обратной воздушной тягой, например, как описано в патенте США 6332902 (Niro), который включен сюда путем ссылки.
В одном из аспектов настоящего изобретения устройство по настоящему изобретению включает вторую сушку частиц, кристаллизованных в устройстве для выдержки. Устройство для сушки может быть выбрано из различных устройств, известных специалисту в данной области техники, например устройство для сушки может быть движущейся бесконечной лентой для свободного или принудительного выпаривания остаточной влаги или в устройстве для сушки в подвижном слое. Обычно предпочтительным для лучшего контроля влаги является устройство для сушки в подвижном слое. Предпочтительным устройством для сушки в подвижном слое является Niro VIBRO-FLUIDIZER®.
Также может быть желательно охлаждение частиц после стадии постсушки. Желательно, чтобы устройство для сушки в подвижном слое было разделено на сушильное отделение и охлаждающее отделение для синхронизированной сушки и охлаждения частиц.
Устройство для распылительной сушки по настоящему изобретению может принимать исходное сырье из любого внешнего или внутреннего источника. Если исходное сырье получают на месте, то устройство по настоящему изобретению дополнительно включает выпарное устройство и кристаллизатор, расположенные перед распыляющим элементом. Выпарное устройство удаляет воду с увеличением содержания сухих веществ. Различные устройства, предназначенные для этого, включают паровой выпарной аппарат, выпарной аппарат с падающей пленкой и ультрафильтрационную установку, каждое из которых по настоящему изобретению может быть использовано по отдельности или в комбинации.
Кристаллизатор включает емкость со средством для контроля температуры. Выбор начальной и конечной температуры, как и температурного режима последующего охлаждения, зависит от исходного сырья. Жидкость, полученную при концентрировании, возможно, вводят в малом количестве в качестве кристаллической затравки для инициации кристаллизации. Время достижения максимальной степени кристаллизации зависит от типа углеводов, содержания ингибиторов или стимуляторов кристаллизации и от вида перемешивания в емкости.
Также настоящее изобретение относится к способу получения нелипкого порошка, по существу, из углеводов, изначально содержащихся в виде сухого вещества в жидкости, предусматривающему стадии:
– капельного распыления в сушильной камере жидкости с содержанием, по меньшей мере, 50 вес.% углеводов,
– подачи к каплям сушильного газа для их частичной сушки с получением влажных частиц с содержанием свободной влаги 8-13 вес.%,
– удаления влажных частиц из сушильной камеры и
– кристаллизации в течение периода времени, достаточного для получения нелипкого порошка,
где отработанный сушильный газ удаляют через фильтрующий элемент, расположенный внутри сушильной камеры.
Углеводы, по существу присутствующие в обрабатываемой жидкости, являются подходящими для обработки при температуре окружающей среды, чтобы избежать охлаждения устройства и окружающей среды. В предпочтительном варианте воплощения настоящего изобретения чистые углеводы представляют собой при температуре окружающей среды кристаллы. Более предпочтительно, чистые углеводы находятся в кристаллической форме при температуре 60°С. Содержание углеводов обычно составляет более 50 вес.% для повышения способности образовывать подходящие кристаллы посредством стадии кристаллизации. Желательно, чтобы углеводы составляли, по меньшей мере, 70 вес.% от общего содержания сухих веществ в жидкости. В предпочтительном варианте воплощения настоящего изобретения содержание углеводов от общего содержания сухих веществ в жидкости составляет, по меньшей мере, 80 вес.%.
Содержание свободной влаги должно быть достаточным для осуществления процесса кристаллизации, но не выше общего содержания влаги во влажных частицах. Предпочтительно содержание влаги во влажных частицах составляет 9-11 вес.%.
Обычно желательно использовать сушильный газ с как можно более высокой температурой, поскольку с повышением температуры повышается потенциал сушки сушильного газа. Однако по настоящему изобретению высокие температуры увеличивают липкость частиц. Обычно сушильный газ подают при температуре от 100°С до 180°С. Предпочтительно рабочая температура для продуктов, получаемых из молочной сыворотки, составляет от 150°С до 170°С.
Отработанный сушильный газ обычно удаляют при температуре, как можно более низкой для усиления потенциала сушки. Предпочтительно отработанный сушильный газ удаляют при температуре от 45°С до 80°С. В предпочтительном аспекте настоящего изобретения отработанный сушильный газ удаляют при температуре от 50°С до 65°С.
На стадии выдержки свойства влажных частиц изменяются от липких к нелипким благодаря посткристаллизации. В зависимости от требуемых свойств может быть получена высокая, средняя или низкая степень кристаллизации. В большинстве случаев требуется высокая степень кристаллизации. В одном из аспектов настоящего изобретения влажные частицы кристаллизуются в течение периода времени, достаточного для достижения степени кристаллизации 85% или более. В другом аспекте настоящего изобретения влажные частицы кристаллизуются в течение периода времени, достаточного для достижения степени кристаллизации 90%, предпочтительно 92% или более. Время, необходимое для достижения требуемой степени кристаллизации, зависит от содержания влаги, типа и степени чистоты углеводов. Обычно, однако, влажные частицы кристаллизуются в течение 5 минут или более.
После стадии посткристаллизации частицы, по существу, не слипаются и могут быть транспортированы для дальнейшего использования. Однако эта стадия подходит для сушки влажных частиц. В одном из аспектов настоящее изобретение дополнительно включает стадию сушки кристаллизованных частиц до содержания свободной влаги 3% или менее, и наиболее предпочтительно уровень содержания свободной влаги составляет от 0,5 до 2,5%.
Для очистки отработанного сушильного газа сушильную камеру оборудуют внутренними фильтрами, способными удерживать мелкие влажные частицы выше определенного размера. Как правило, фильтр сконструирован так, чтобы удерживать частицы более 1-10 микрон.
Влажные мелкие частицы осаждаются на фильтре, что приводит к перепаду давления. После определенного времени использования фильтр необходимо регенерировать. В определенном аспекте настоящего изобретения мелкие влажные частицы, осажденные на фильтрующий элемент, удаляют короткими, умеренными противопотоками, создаваемыми соплом, расположенным в чистой воздушной стороне фильтрующего элемента.
В подходящем варианте давление противопотока воздуха составляет 2-6 бар, как правило, 4-5 бар, и время подачи составляет 0,1-0,3 секунды, как правило, 0,1-0,2. Подходящий интервал между подачей противопотоков в отдельные фильтры составляет как от 1 до 6 минут, так и от 2 до 4 минут. Если сушильная камера оборудована более чем одним фильтром, то противопотоки различных фильтров, как правило, активируют в различное время. В качестве альтернативы могут быть использованы импульсы низкого давления в течение более длительного периода времени.
Жидкость, обрабатываемая способом по настоящему изобретению, может быть получена из различных источников. В одном аспекте настоящего изобретения жидкость выбирают из группы, состоящей из молочной сыворотки, кислой сыворотки, пермеата молочной сыворотки, пермеата молока, фруктов или овощей, содержащих углеводы и мед. Пермеат молочной сыворотки обычно содержит более 80% углеводов и, следовательно, подходит для способа по настоящему изобретению.
Овощами с высоким содержанием углеводов в сухом веществе, например, являются томатная паста или концентрат.
Как правило, способ по настоящему изобретению может быть использован для большинства жидкостей, включающих раствор сахара или сахарных спиртов. Например, растворы, содержащие сорбит, ксилит и декстрозу, могут быть обработаны способом, описанным здесь.
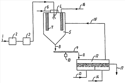
Краткое описание чертежей
На чертеже приведена схема установки, включающей устройство по настоящему изобретению.
Детальное описание изобретения
Сыпучие пищевые и молочные продукты можно охарактеризовать характерной для них кривой липкости. Под кривой липкости продукта здесь понимается комбинация содержания влаги в продукте и температуры, при которой продукт демонстрирует липкость. Комбинации влажности и температуры ниже кривой липкости в результате дают нелипкий продукт. Комбинации влажности и температуры выше кривой липкости в результате дают липкий продукт.
Продукты с относительно высоким содержанием влаги, при относительно высокой температуре не становящиеся липкими, могут быть охарактеризованы как легкие для распылительной сушки, и такие продукты, как правило, могут быть высушены распылительной сушкой с эффективными энергозатратами, поскольку может быть использована высокая температура сушки. Примерами таких продуктов являются белки и углеводы с высокой молекулярной массой, которые могут быть высушены при температуре на входе 270°С и температуре на выходе 100°С, с потенциалом сушки 170°С.
Продукты, нелипкие только при относительно низком содержании влаги и низкой температуре, можно охарактеризовать как трудные для распылительной сушки, такие продукты предполагают использование устройства с сильными потоками воздуха, поскольку такие продукты могут быть высушены только при низких температурах сушки. Примерами таких продуктов являются продукты с высоким содержанием компонентов с низкой температурой плавления или с высоким содержанием некристаллизованных низкомолекулярных углеводов, например мед, фруктовые соки, кислая сыворотка и молочный или сывороточный пермеат. Для сушки таких продуктов требуются температура на входе 130°С и температура на выходе 85°С с потенциалом сушки только 45°С. Для липкости в дополнение к содержанию влаги и температуре важной является степень кристаллизации. Как правило, частицы, имеющие высокую степень кристаллизации, имеют меньшую тенденцию к липкости по сравнению с более аморфными частицами.
Настоящее изобретение относится к распылительной сушке таких жидкостей, которые могут быть охарактеризованы как трудные для распылительной сушки.
Вариант воплощения установки включает устройство, приведенное на чертеже. Жидкость 1 с высоким содержанием углеводов и относительно низким содержанием сухих веществ входит в установку. Как правило, количество углеводов составляет, по меньшей мере, 50% от общего содержания сухих веществ, предпочтительно более 70% и более предпочтительно более 80%. В выпарном устройстве 2 жидкость концентрируют, то есть удаляют воду из сырья. Подходящие примеры выпарных устройств включают выпарные аппараты с падающей пленкой и выпарные аппараты с принудительной циркуляцией. Жидкость выходит из выпарного аппарата, как правило, с содержанием сухих веществ в пределах, равных 55-85%. Концентрированная жидкость входит в кристаллизатор 3. Кристаллизатор 3 оборудован устройством для контроля температуры и средствами перемешивания. В процессе гомогенной кристаллизации кристаллизация начинается при снижении температуры ниже температуры растворимости. Для определенных видов сырья предпочтительно использовать гетерогенную кристаллизацию, то есть введение небольшого количества, такого как около 0,1%, сухих веществ кристаллов для инициирования или стимулирования кристаллизации перенасыщенной жидкости. Например, в концентрат для стимуляции кристаллизации может быть введен тонко размолотый моногидрат альфа-лактозы, когда сырьем является сывороточный пермеат или другой продукт, полученный из молока.
В одном из аспектов настоящее изобретение относится к жидкости или ее части, мгновенно охлажденной для получения большого числа мелких кристаллов. Если мгновенному охлаждению подвергают только часть жидкости, то эту часть возвращают, и она становится источником стимулирования кристаллизации.
Время достижения оптимальной степени кристаллизации зависит от скорости охлаждения емкости, конечной температуры, типа углевода, содержания ингибиторов или стимуляторов кристаллизации и типа перемешивания в емкости. При достижении минимальной выбранной температуры жидкость оставляют на период времени, равный от 20 минут до 12 часов, для прохождения процесса кристаллизации. Степень кристаллизации зависит от фактического содержания лактозы в концентрированной жидкости, конечной температуры на стадии кристаллизации и времени кристаллизации.
Затем сырье подают в распыляющий элемент 4, выбранный из распылительных форсунок высокого давления, пневмораспылителей и вращающихся кольцевых распылителей. Распыляющий элемент распыляет сырье каплями. Сушильный газ 6 подают сверху вниз из секции сушильной камеры 5 к распыленным каплям. Температура сушильного газа, как правило, находится в пределах 100-180°С, но может быть повышена или понижена в зависимости от свойств сырья и требуемого продукта. Отработанный сушильный газ фильтруют во внутреннем фильтрующем элементе 7 в виде мешка для удержания мелких влажных частиц в сушильной камере и удаления отработанного сушильного газа. Как правило, при удалении отработанный сушильный газ имеет температуру от 45 до 80°С.
Частицы, высушенные распылительной сушкой, обычно имеют содержание свободной влаги 8-13 вес.%. Влажные частицы выходят из сушильной камеры через выходное отверстие для продукта 8 и подаются непосредственно на устройство 9 для посткристаллизации в виде вращающегося диска. Умеренное содержание свободной влаги позволяет молекулам быть достаточно подвижными для кристаллизации. Длительность посткристаллизации зависит от типа углевода и содержания свободной влаги. Обычно для достижения высокой степени кристаллизации достаточно обработки в течение от 5 до 12 минут, при этом достигая степени кристаллизации выше 85%, предпочтительно выше 90%. Устройство 9 снабжено средством 10 вращения диска, т.е. двигателем, который медленно поворачивает диск до места выгрузки 11, в котором кристаллизованный продукт соскребают в устройство 12 для вторичной сушки частиц в подвижном слое.
Устройство 12 для вторичной сушки частиц может быть устройством для сушки в подвижном слое, например, таким как Niro VIBRO-FLUIDIZER®, включающим сушильное отделение и охлаждающее отделение. Осушающий воздух 13 подают в сушильное отделение устройства для сушки в подвижном слое на входе для вторичной сушки кристаллизованных частиц. Охлаждающий воздух 14 подают в охлаждающее отделение на выходе продукта. На выходе для продукта 17 частицы собирают с возможностью упаковки и отгрузки любым подходящим способом. Содержание свободной влаги в конечном продукте, как правило, составляет около 0,5-2,5%.
Отработанный сушильный газ и охлаждающий воздух возвращают через трубопровод 15 в сушильную камеру. Отработанный сушильный газ удаляют из сушильной камеры через трубопровод 16. Для большинства процессов отработанный сушильный газ может быть выпущен непосредственно в окружающую среду.
Воздух из устройства для сушки в подвижном слое и/или сушильной камеры можно подавать во внешний сепаратор, такой как фильтр или циклон, из которого отделенные мелкие частицы частично или полностью могут возвращаться на сушку или вторичную сушку для увеличения степени агломерации. Возвращение мелких частиц в распылительную сушилку может быть осуществлено известным образом, например, вокруг распылителя.
Примеры
Пример 1
Распылительная сушка пермеата молочной сыворотки.
Использовали пермеат молочной сыворотки, полученный в результате ультрафильтрации. Сывороточный пермеат имел следующий состав:
Лактоза 83%
Минеральные вещества (зола) 9,3%
Кислоты 3,0%
Другое 4,7%
Минеральный состав:
Натрий 0,7%
Кальций 0,4%
Калий 2,5%
Магний 0,1%
Фосфат 1,0%
Хлорид 1,7%
Сульфат 0,3%
Другое 2,6%.
Сывороточный пермеат концентрировали в выпарном аппарате с падающей пленкой, мгновенно охлаждали при общем содержании сухих веществ 60% до температуры 35°С. В концентрат вводили тонко размолотый моногидрат альфа-лактозы (0,1% от общего содержания сухих веществ) и охлаждали на 2°С в час до 20°С. При температуре 20°С концентрат кристаллизовали дополнительно в течение 10 часов.
Концентрат распыляли пневматическим распылением жидкости в распылительной сушильной камере со встроенными гибкими фильтрующими мешками при следующих условиях сушки:
Температура основного осушающего воздуха: 158°С
Температура на выходе из сушилки: 55°С
Температура концентрата пермеата: 20°С
Давление в распыляющей форсунке: 120 бар.
Длительность технологического процесса составила около 2,5 дня, снижение давления носило линейный характер. Повышение перепада давления было высчитано как 0,1 мбар в час. Поведение фильтрующего мешка указывало, что поры не забивались, как предполагалось из-за липкой природы частиц. Фактически линейная форма схожа с формой диаграмм для жидкостей, распыленных до почти полного высушивания.
Порошок пермеата, собранный на выходе из сушильной камеры, анализировали, и было установлено содержание свободной влаги 10,1%.
Затем влажные частицы подвергали посткристаллизации на вращающемся диске в течение 8,5 минут. Затем частицы обрабатывали в устройстве для сушки в подвижном слое для вторичной сушки, и после грубого измельчения продукт имел следующие свойства:
Общее содержание влаги: 4,67%
Содержание свободной влаги: 1,01%
Насыпная плотность: 0,65 г/мл (повтор 100 раз)
Средний размер частиц: 267 микрон
Гигроскопичность: 7,6 (метод NIRO А 14 а)
Спекаемость: 19 (метод NIRO А 15 а).
Пример 2
Концентрировали сыворотку с содержанием лактозы 72% в выпарном аппарате с падающей пленкой и мгновенно охлаждали при общем содержании сухих веществ 55% до температуры 32°С. Концентрат охлаждали на 3,5°С в час до 12°С. При температуре 12°С концентрат кристаллизовали дополнительно в течение 20 часов.
Концентрат распыляли пневматическим распылением жидкости в распылительной сушильной камере со встроенными гибкими фильтрующими мешками при следующих условиях сушки:
Температура основного осушающего воздуха: 152°С
Температура на выходе из сушилки: 58°С
Температура концентрата пермеата: 22°С
Давление в распыляющей форсунке: 120 бар.
Во время технологического процесса снижение давления носило линейный характер, и повышение перепада давления было высчитано как 0,1 мбар за 7 часов. Поведение фильтрующего мешка указывало, что поры не забивались, как предполагалось из-за липкой природы частиц. Фактически линейная форма схожа с формой диаграмм для жидкостей, распыленных до почти полного высушивания.
Порошок сыворотки из сушильной камеры анализировали и установили, что содержание свободной влаги составляет 9,05-9,93%.
Длительность посткристаллизации на движущейся ленте составила 8, 5 минут.
После конечной сушки в устройстве для сушки в подвижном слое и грубого измельчения проанализированный образец порошка имел следующие свойства:
Общее содержание влаги: 3,75%
Содержание свободной влаги: 0,61%
Насыпная плотность: 0,66 г/мл (повтор 100 раз)
Средний размер частиц: 210 микрон
Гигроскопичность: 11 (метод NIRO А 14 а)
Спекаемость: 6 (метод NIRO А 15 а).
Формула изобретения
1. Устройство для сушки жидкости, содержащей преимущественно сухие вещества углеводов, с получением нелипкого порошка, содержащее сушильную камеру (5), в верхней части которой расположен распыляющий элемент (4), способный распылять жидкость, преимущественно содержащую сухие вещества углеводов, в виде капель, средства подачи сушильного газа к распыленным каплям для их частичной сушки до влажных частиц и устройство (9) для пост-кристаллизации влажных частиц, полученных из сушильной камеры, в нелипкий порошок, причем фильтрующий элемент (7) расположен внутри сушильной камеры, при этом обеспечено средство удаления отработанного сушильного газа через фильтрующий элемент.
2. Устройство по п.1, в котором сушильная камера включает верхнюю часть и нижнюю часть, при этом верхняя часть представляет собой по существу цилиндр, закрытый на верху потолком, а указанная нижняя часть представляет собой сужающуюся вниз стенку в виде усеченного конуса.
3. Устройство по п.2, в котором нижняя часть сушильной камеры входит в выходной патрубок.
4. Устройство по п.3, в котором выходной патрубок (8) сушильной камеры сообщен с устройством для пост-кристаллизации (9) для доставки частично высушенных влажных частиц, причем указанное устройство для пост-кристаллизации (9) выбрано из группы, состоящей из вращающегося диска или конвейерной ленты.
5. Устройство по п.3, в котором устройство для пост-кристаллизации (9) представляет собой вращающийся диск, включающий конусообразную верхнюю поверхность, вал, поддерживающий диск для вращения в горизонтальной плоскости, и средство (10) для вращения диска.
6. Устройство по любому из пп.1-5, в котором фильтрующий элемент (7) представляет собой гибкий фильтрующий элемент в форме мешка, расположенного вертикально в сушильной камере, закрытого на дне и соединенного на верху со средством удаления отработанного осушающего воздуха.
7. Устройство по п.6, в котором фильтрующий мешок снабжен соплом, создающим короткий, умеренный противопоток газа под давлением, чтобы заставить мелкие частицы, осевшие на гибком фильтрующем элементе, упасть в нижнюю часть сушильной камеры.
8. Устройство по любому из пп.1-5, 7, дополнительно содержащее устройство (12) для вторичной сушки частиц, прошедших пост-кристаллизацию в устройстве (9) для пост-кристаллизации.
9. Устройство по п.8, в котором устройство (12) для вторичной сушки представляет собой устройство для сушки в подвижном слое.
10. Устройство по п.8, в котором подвижный слой разделен на сушильное отделение и охлаждающее отделение.
11. Способ получения нелипкого порошка из жидкости, преимущественно содержащей сухие вещества углеводов, предусматривающий стадии: распыления жидкости с общим содержанием сухих веществ, по меньшей мере, 50 вес.% углеводов в сушильной камере в виде капель, подачи к каплям сушильного газа для их частичной сушки с получением влажных частиц с содержанием свободной влаги 8-13 вес.%, удаления влажных частиц из сушильной камеры, и кристаллизации в течение периода времени, достаточного, чтобы порошок стал нелипким, причем отработанный сушильный газ удаляют через фильтрующий элемент, расположенный внутри сушильной камеры.
12. Способ по п.11, в котором углевод в чистом виде представляет собой кристалл при температуре окружающей среды.
13. Способ по п.11 или 12, в котором жидкость имеет общее содержание углеводов по сухому веществу, по меньшей мере, 70 вес.%.
14. Способ по п.11 или 12, в котором жидкость имеет общее содержание углеводов по сухому веществу, по меньшей мере, 80 вес.%.
15. Способ по п.11 или 12, в котором содержание свободной влаги во влажных частицах составляет 9-11 вес.%.
16. Способ по п.11 или 12, в котором сушильный газ подают при температуре от 100 до 180°С.
17. Способ по п.11 или 12, в котором сушильный газ подают при температуре от 150 до 170°С.
18. Способ по п.11 или 12, в котором отработанный сушильный газ удаляют при температуре от 45 до 80°С.
19. Способ по п.11 или 12, в котором отработанный сушильный газ удаляют при температуре от 50 до 65°С.
20. Способ по п.11 или 12, в котором влажные частицы кристаллизуют в течение периода времени, достаточного для достижения степени кристаллизации 85% или более.
21. Способ по п.11 или 12, в котором влажные частицы кристаллизуются в течение периода времени, достаточного для достижения степени кристаллизации 90%, предпочтительно 92% или более.
22. Способ по п.11 или 12, в котором влажные частицы кристаллизуют в течение 5 мин или более.
23. Способ по п.11 или 12, дополнительно предусматривающий стадию сушки кристаллизованных частиц до содержания свободной влаги 3% или менее.
24. Способ по п.11 или 12, в котором мелкие влажные частицы, осажденные на фильтрующий элемент, высвобождают короткими, умеренными противопотоками, создаваемыми соплом, расположенным на чистой воздушной стороне фильтрующего элемента.
25. Способ по п.20, в котором фильтрующий элемент представляет собой гибкий фильтрующий элемент в форме фильтрующего мешка, расположенного вертикально в сушильной камере, закрытого на дне и соединенного на верху со средством удаления отработанного осушающего воздуха.
26. Способ по любому из пп.11, 12 и 25, в котором фильтрующий мешок снабжен соплом, создающим короткий, умеренный противопоток газа под давлением, заставляющим мелкие частицы, осевшие на гибком фильтрующем элементе, падать в нижнюю часть сушильной камеры.
27. Способ по любому из пп.11, 12 и 25, в котором жидкость выбирают из группы, состоящей из молочной сыворотки, кислой сыворотки, пермеата молочной сыворотки, пермеата молока, фруктовых или овощных соков и меда.
28. Способ по п.27, в котором жидкость представляет собой пермеат молочной сыворотки.
29. Способ по п.27, в котором овощной сок является томатной пастой или концентратом.
30. Способ по любому из пп.11, 12 и 25, в котором жидкость представляет собой раствор сахара или сахарных спиртов.
31. Способ по п.30, в котором указанный сахар или сахарный спирт выбран из группы, состоящей из сорбита, ксилита и декстрозы.
РИСУНКИ
|
|