Патент на изобретение №2377750

Published by on




РОССИЙСКАЯ ФЕДЕРАЦИЯ



ФЕДЕРАЛЬНАЯ СЛУЖБА
ПО ИНТЕЛЛЕКТУАЛЬНОЙ СОБСТВЕННОСТИ,
ПАТЕНТАМ И ТОВАРНЫМ ЗНАКАМ
(19) RU (11) 2377750 (13) C2
(51) МПК

A01B59/04 (2006.01)
A01B59/06 (2006.01)

(12) ОПИСАНИЕ ИЗОБРЕТЕНИЯ К ПАТЕНТУ

Статус: по данным на 17.09.2010 – может прекратить свое действие

(21), (22) Заявка: 2007126142/11, 09.07.2007

(24) Дата начала отсчета срока действия патента:

09.07.2007

(43) Дата публикации заявки: 20.01.2009

(46) Опубликовано: 10.01.2010

(56) Список документов, цитированных в отчете о
поиске:
SU 1258749 A1, 23.09.1986. SU 352616 A, 24.10.1972. US 6796384 B1, 28.09.2004. EP 1606984 A1, 21.12.2005. CA 2067911 A1, 02.11.1993.

Адрес для переписки:

422015, Республика Татарстан, г. Казань, ул. К. Маркса, 65, ФГОУ ВПО “Казанский государственный аграрный университет”, отдел научных исследований и инноваций

(72) Автор(ы):

Халиуллин Фарит Ханафиевич (RU),
Гайнетдинов Ильнур Мидехатович (RU),
Зимагулов Анас Хафизович (RU)

(73) Патентообладатель(и):

Казанский государственный аграрный университет (RU)

(54) СТАБИЛИЗАТОР НАГРУЗКИ НАВЕСНОГО МЕХАНИЗМА

(57) Реферат:

Изобретение относится к области тракторостроения и механизации сельского хозяйства. Стабилизатор содержит гибкий элемент тяги навесного механизма, нижние и верхнюю тяги, соединенные между собой, и упруго-демпфирующие устройства. Упруго-демпфирующие устройства выполнены в виде пружин и гидравлических амортизаторов, соединенных параллельно в цепь нижних тяг навесного механизма. Верхние концы упруго-демпфирующих устройств соединены с трактором, а их нижние концы соединены с нижними балансирами, закрепленными между собой через вал. Верхняя тяга крепится к верхнему балансиру. Технический результат направлен на повышение долговечности сборочных единиц агрегата и эффективности его работы путем снижения амплитуд колебаний тягового усилия на крюке при работе с навесными и прицепными орудиями. 1 з.п. ф-лы, 4 ил.

Изобретение относится к области тракторостроения и механизации сельского хозяйства, в частности к навесному механизму трактора, может быть использовано в агрегатах лесной промышленности.

Известно навесное устройство [1], содержащее подъемные рычаги, раскосы, верхнюю тягу и нижние тяги.

Недостатком является неспособность гашения ударных нагрузок на крюке, так как жесткость элементов конструкции лишь в очень малой степени гасит колебания усилия.

Известно устройство для контроля загрузки тягача с гибким элементом, установленное на тяге навесного механизма [2]. Гибкий элемент соединен с поршнем регулятора воздуха, который соединяет источник и шину силовым регулятором переключения передач коробки перемены передач. Регулятор позволяет автоматически регулировать на каждой передаче давление воздуха во всасывающем коллекторе.

Недостатками являются сложность, возможность работы только с прицепными орудиями при установке на верхнюю тягу не позиционирует орудие.

Известно также устройство управления тяговым режимом тягача с прицепной сельскохозяйственной машиной [3], в котором тягач и сельскохозяйственная машина связаны между собой динамометрическим звеном, выполненным в виде цилиндра, корпус которого соединен с корпусом тягача, а подпружиненный поршень со штоком – дышлом машины. Поршень связан кинематически с регулятором давления воздуха в шинах сельскохозяйственной машины, а также с золотником распределителя, управляющая полость которого соединена через трубопроводы с клапанами, с насосом. Обмотки клапанов через контакты, фиксирующие положение рычага коробки передач тягача, соединены с источником питания.

Устройство не предназначено для гашения колебаний нагрузки на навесном механизме, возможность работы только с прицепными орудиями при установке на верхнюю тягу не позиционирует орудие.

Целью изобретения является повышение долговечности сборочных единиц агрегата и эффективности его работы путем растягивания и снижения амплитуд колебаний тягового усилия на крюке при работе с навесными орудиями.

Данная цель достигается путем установки на трактор упруго-демпфирующих устройств, которые крепятся одним концом к трактору, а другим к нижним балансирам, соединенным между собой через вал, на нижние балансиры еще закреплены нижние тяги, верхняя тяга крепится к верхнему балансиру. Параллельность хода верхнего и нижних тяг достигается путем соединения балансиров с помощью соединительных штанг. Подъем и опускание навесного устройства достигается с помощью подъемных рычагов и раскосов, соединенных с нижними тягами. Жесткость упруго-демпфирующих устройств регулируется путем замены пружин в зависимости от того, на каких работах эксплуатируется трактор. Демпфирование регулируется путем изменения проходного сечения каналов, соединяющего верхние и нижние емкости.

На фиг.1 представлена кинематическая схема навесного устройства со стабилизатором нагрузки на крюке. На фиг.2 представлен чертеж навесного устройства. На фиг.3 представлена сборочная единица.

Стабилизатор состоит из двух упруго-демпфирующих устройств 1, размещенных на корпусе заднего моста трактора за боковым кожухом полуоси трактора, которые крепятся одним концом к трактору, а другим к нижним балансирам 2, закрепленным между собой через вал 3. На нижние балансиры также крепятся нижние тяги 4, верхняя тяга 5 крепится к верхнему балансиру 6. Параллельность хода верхней и нижних тяг достигается путем соединения балансиров с помощью соединительных штанг 7. Подъем и опускание навесного устройства достигается с помощью подъемных рычагов 8 и раскосов 9, соединенных с нижними тягами. Для предотвращения поломки элементов устройства на транспортных работах при спуске с горы, а также при движении задним ходом установлены упоры 10, ограничивающие ход нижних рычагов.

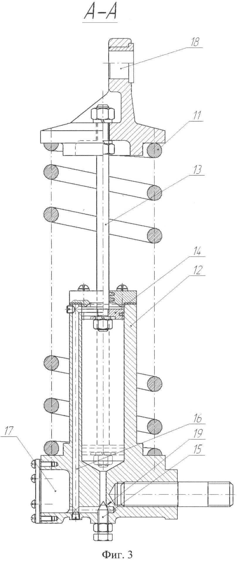
Упруго-демпфирующее устройство 1 состоит из гибкого элемента в виде пружины 11, который в предварительно зажатом состоянии расположен между верхней проушиной 18, к которой крепится шток 13, и нижним корпусом 12, представляющим собой цилиндр, к штоку 13 закреплен поршень 14, который находится внутри цилиндра корпуса, вдоль корпуса просверлен канал 16, соединяющий полости, образованные над и под поршнем 14, болта 15, ввертыванием и вывертыванием которого регулируется проходное сечение 19, компенсационной емкости 17, в которой накапливается жидкость, которая не умещается в пространство над поршнем 14 при движении поршня вниз, соединен с каналом 16.

Устройство работает следующим образом: при резком увеличении нагрузки на крюке выше установленного в рабочей зоне (Фиг.4) верхняя 5 и нижние тяги 4 отстают от трактора благодаря ходу балансиров 2 и 6. При этом балансиры 2 и 6 поворачиваются вокруг своей оси, одновременно воздействуют на упруго-демпфирующие устройства 1, установленные по обоим бокам трактора. Пружины 11 под действием усилия сжимаются, накапливая в себе энергию. При уменьшении нагрузки пружина 11 (Фиг.3) возвращает своей энергией балансир 2 и через соединительные штанги 7 балансир 6 в исходное положение. Демпферы, создавая гидравлическое сопротивление перемещению поршня 14, следовательно, и сжатию и разжатию пружины 11, препятствует возникновению колебательного процесса. Это происходит благодаря перетеканию жидкости из нижнего пространства в верхнее через канал 16. Так как шток 13 демпфера занимает некоторый объем, вытесненная из нижнего пространства жидкость больше, чем пространство, образуемое в верхнем, предусмотрена компенсационная емкость 17, в которой накапливается избыток жидкости. Скорость протекания жидкости через канал 16 регулируется болтом 15. При превышении нагрузки в тягах выше установленного значения срабатывает упруго-демпфирующее устройство и обеспечивается сглаживание нагрузки, то есть срезается амплитуда колебаний.

Источники информации

1. Тракторы «Беларусь» МТЗ-80/82. – Минск: Урожай, 1984, 352 с.

2. АС 1364496 СССР. Устройство управления тяговым режимом тягача с прицепной сельскохозяйственной машиной. / Авт. изобр. Зимагулов А.Х., Булгариев Г.Г., Зимагулова Г.А. Опубл. 07.01.88, БИ 1.

3. AC 1273757 СССР. Устройство для контроля загрузки двигателя тягача / Авт. изобр. Зимагулов А.Х. Опубл. 30.11.86, БИ.44.

Формула изобретения

1. Стабилизатор нагрузки навесного механизма, содержащий гибкий элемент тяги навесного механизма, отличающийся тем, что содержит нижние и верхнюю тяги, соединенные между собой, и упругодемпфирующие устройства, выполненные в виде пружин и гидравлических амортизаторов, соединенных параллельно в цепь нижних тяг навесного механизма, верхние концы упругодемпфирующих устройств соединены с трактором, а их нижние концы соединены с нижними балансирами, закрепленными между собой через вал, а верхняя тяга крепится к верхнему балансиру.

2. Стабилизатор по п.1, отличающийся тем, что верхний и нижние балансиры соединены между собой при помощи соединительных штанг.

РИСУНКИ

Categories: BD_2377000-2377999