Патент на изобретение №2377749

Published by on




РОССИЙСКАЯ ФЕДЕРАЦИЯ



ФЕДЕРАЛЬНАЯ СЛУЖБА
ПО ИНТЕЛЛЕКТУАЛЬНОЙ СОБСТВЕННОСТИ,
ПАТЕНТАМ И ТОВАРНЫМ ЗНАКАМ
(19) RU (11) 2377749 (13) C1
(51) МПК

A01B49/06 (2006.01)

(12) ОПИСАНИЕ ИЗОБРЕТЕНИЯ К ПАТЕНТУ

Статус: по данным на 17.09.2010 – действует

(21), (22) Заявка: 2008143028/12, 29.10.2008

(24) Дата начала отсчета срока действия патента:

29.10.2008

(46) Опубликовано: 10.01.2010

(56) Список документов, цитированных в отчете о
поиске:
RU 2283569 С1, 20.09.2006. US 3482735 А, 09.12.1969. US 4790484 А, 13.12.1988. RU 2053616 С1, 10.02.1996.

Адрес для переписки:

656056, г.Барнаул, ул. Короленко, 3, кв.69, В.С. Красовских

(72) Автор(ы):

Красовских Виталий Степанович (RU),
Соколов Валерий Викторович (RU),
Гейнрих Игорь Оскарович (RU),
Красовских Евгений Витальевич (RU)

(73) Патентообладатель(и):

Красовских Виталий Степанович (RU)

(54) КОМБИНИРОВАННЫЙ ПОЧВООБРАБАТЫВАЮЩИЙ ПОСЕВНОЙ АГРЕГАТ

(57) Реферат:

Комбинированный почвообрабатывающий посевной агрегат содержит колесное тягово-транспортное средство, прицепную комбинированную почвообрабатывающую посевную машину, бункер для семян и удобрений. Бункер для семян и удобрений выполнен навесным и установлен над задним мостом колесного тягово-транспортного средства. Бункер стойками шарнирно крепится к внешним опорам на полуосях задних колес. Изобретение обеспечивает снижение уплотняющего воздействия ходовой части на почву, снижение металлоемкости и затрат энергии на перемещение, улучшение маневренности и качества посева зерновых. 1 з.п. ф-лы, 4 ил.

Изобретение относится к сельскохозяйственному машиностроению, в частности к почвообрабатывающим посевным машинам.

Известно широкозахватное почвообрабатывающее орудие, содержащее установленные на раме поворотные в горизонтальной плоскости брусья, на которых шарнирно смонтированы секции с рабочими органами и опорными колесами (а.с. СССР 1384224, А01В 7/00 от 08.10.86, опубл. БИ 12 от 30.03.88). Недостатком данного орудия является сложность наблюдения за почвообрабатывающим орудием из кабины трактора, так как секции рабочих органов закреплены на брусьях, размещенных сзади трактора, а это приводит к ухудшению качества обработки почвы или посева.

Известна комбинированная почвообрабатывающая машина, содержащая центральную и боковые секции с закрепленными на них рабочими органами, опорными колесами и силовыми гидроцилиндрами, шарнирными балками сцепки, которые позволяют переводить агрегат из рабочего в транспортное положение и обратно (патент US 1535405 А1, 15.01.1990. US 4881603 Al, 21.11.1989.). Недостатком данной машины является сложность прицепного устройства, большая кинематическая длина агрегата при транспортировке, а ходовая система трактора не используется для транспортировки этой машины.

Известна комбинированная почвообрабатывающая машина, содержащая центральную и боковые секции с закрепленными в них рабочими органами, опорными колесами и силовыми гидроцилиндрами для поворота боковых секций относительно вертикальных осей, причем боковые секции закреплены на шарнирных балках, один конец которых шарнирно связан с поперечной балкой, изготовленной на центральной секции, второй конец каждого звена шарнирных балок связан с боковыми секциями, установленными на вертикальных и горизонтальных осях звеньев подвижно, при этом шарнирные балки соединены с центральной секцией гидроцилиндрами, причем шарнирные балки и корпуса гидроцилиндров изготовлены с возможностью перемещения вокруг вертикальных и горизонтальных осей (а.с. СССР 1535405, А01В 73/00, 59/04 от 04.05.88, опубл. БИ 2 от 15.01.90 – прототип). Недостатком дайной машины является сложность конструкции и сложность наблюдения за машиной из кабины трактора, так как она размешена сзади трактора, что приводит к ухудшению качества обработки почвы и посева. Кроме того, вся масса комбинированной почвообрабатывающей машины размещена сзади трактора, что ухудшает его эксплуатационные характеристики, а также снижает маневренность трактора и увеличивает тяговое сопротивление.

Исследования показывают, что с целью повышения тягово-сцепных и технико-экономических показателей тракторов типа К-701, К-744, Т-150К и др. необходимо сдваивать и даже страивать колеса (формула колес 8К8 или 12К12). Это существенно повышает сцепные свойства тракторов и по этому показателю они приближаются к гусеничным тракторам. Грузоподъемность этих движителей удваивается, что позволяет часть весовой нагрузки переносить с ходовой системы посевных комплексов на движители тракторов. Дополнительная догрузка ходовых систем колесных тракторов в настоящее время осуществляется через остов трактора, опорные подшипники и ступицы ведущих колес. Поэтому величина дополнительного веса ограничивается предельно допустимой нагрузкой на подшипники. Если же дополнительную весовую нагрузку воспринимать через ступицы (или подшипники, полуоси) наружных колес, то общую массу тягово-транспортного средства можно увеличить не менее чем в два раза. Например, с учетом допустимой нагрузки заднего моста трактора К-701 эта масса может составить около 17 т, что более чем в 23 раза превышает массу семян и удобрений, перевозимых на одно- или двухосных бункерах посевных комплексов «Кузбасс» или «Томь-10». При полной догрузке ходовой системы трактора коэффициент использования сцепного веса даже при предельных нагрузках на крюке (Pкр.макс60 кН) составит кр=Pкр.макс/Gмакс=60 кН/310 кН0,2, где Pкр.макс и Gмакс – соответственно максимальные нагрузка на крюке и вес трактора, кН. Для трактора К-701 без догрузки ходовой системы и формуле колес 4К4 этот показатель будет равен кр=0,43, а буксование движителей макс=1418%. При сдвоенных колесах (8К8) максимальная величина буксования составит макс=56%, что позволит снизить затраты мощности на буксование движителей с 2432 кВт до 79 кВт. Это позволит без нарушения агротехнических требований существенно расширить рабочий диапазон тяговых нагрузок на крюке трактора и повысить грузоподъемность ходовой системы.

Задачей изобретения является создание комбинированного почвообрабатывающего посевного агрегата, обеспечивающего снижение уплотняющего воздействия ходовой части агрегата на почву, снижение металлоемкости и затрат энергии на перемещение агрегата, улучшение маневренности агрегата и качества посева зерновых.

Настоящая задача решается тем, что в комбинированном почвообрабатывающем посевном агрегате, содержащем колесное тягово-транспортное средство, прицепную комбинированную почвообрабатывающую посевную машину, бункер для семян и удобрений, бункер для семян и удобрений выполнен навесным, установлен над задним мостом колесного тягово-транспортного средства и стойками шарнирно крепится к внешним опорам на полуосях задних колес. Бункер для семян и удобрений выполнен из двух секций.

Изобретение сопровождается чертежами

Фиг.1 – схема агрегата в рабочем положении, вид сбоку.

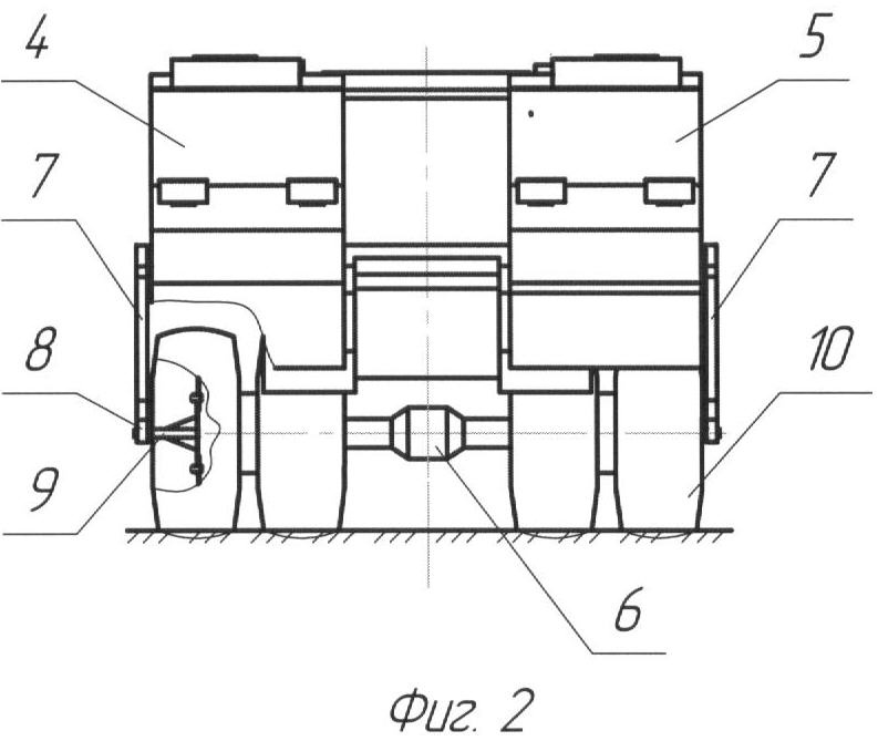
Фиг.2 – колесно-тяговое средство с бункером, вид сзади.

Фиг.3 – колесно-тяговое средство с бункером, опирающимся на землю при его отсоединении (подсоединении).

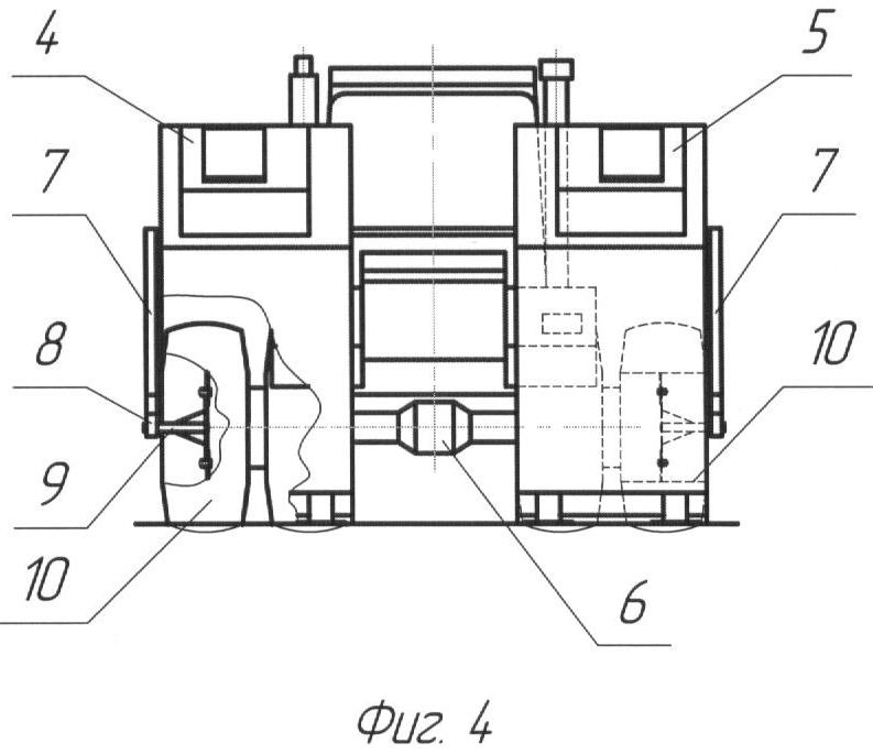
Фиг.4 – колесно-тяговое средство с бункером, опирающимся на землю при его отсоединении (подсоединении) вид сзади.

Комбинированный почвообрабатывающий посевной агрегат состоит из тягово-транспортного колесного средства 1 (фиг.1), комбинированной прицепной почвообрабатывающей посевной машины 2, навесного бункера 3 для семян и удобрений, выполненного из двух секций 4 и 5 (фиг.2), установленного над задним мостом 6 (фиг.1, 2), колесного тягово-транспортного средства 1 и стойками 7 шарнирно крепится посредством опор 8 к полуосям 9 (фиг.2), задних колес 10 с их внешней стороны или с опорой на ось или ступицу между смежными колесами (не показано). В качестве шарнира использован подшипник (не показано). Бункер 3 (фиг.1) содержит механизм фиксации (не показан) от поворота его во время работы относительно остова трактора.

Высота секций 4 и 5 (фиг.2), бункера и расстояние между их внутренними боковыми сторонами выполняются и устанавливаются так, чтобы обеспечить необходимую обзорность навесной системы тягово-транспортного колесного средства.

Такой способ установки позволяет поворачивать секции бункера относительно оси задних колес тягово-транспортного колесного средства, поэтому при транспортировке они жестко фиксируются относительно остова.

Снятие бункера на шасси тягово-транспортного колесного средства производится следующим образом. Корпус бункера соединяется с помощью дополнительных тяг с механизмом навески тягово-транспортного колесного средства (не показано), от остова тягово-транспортного колесного средства отсоединяются механизмы бункера и с помощью гидронавесной системы тягово-транспортного колесного средства бункер поворачивается по часовой стрелке относительно оси задних колес тягово-транспортного колесного средства до установки его днища на опорную поверхность (фиг.3). Отсоединяются секции 4 и 5 бункера (фиг.4) от опор 8 задних колес тягово-транспортного колесного средства. Установка бункера на тягово-транспортного колесного средства осуществляется в обратной последовательности.

Дозировка технологического материала может быть осуществлена катушечным дозатором, а подача к рабочим органам семян и удобрений воздушным потоком, аналогично прототипу.

Такой способ установки бункера и его транспортировка на шасси тягово-транспортного колесного средства позволит упростить конструкцию агрегата, снизить его материалоемкость, уменьшить количество колес на два опорных колеса по сравнению с одноосным бункером и на четыре опорных колеса в сравнении с двухосным бункером. Это позволит увеличить сцепной вес тягово-транспортного колесного средства, что окажет положительное влияние на снижение потерь мощности на буксование движителей тягово-транспортного колесного средства, снизит затраты энергии на движение агрегата, т.к. уменьшится его общая масса.

Наиболее существенным снижение затрат энергии на перекатывание агрегата будет при замене прицепного двухосного бункера, который передвигается по обработанной и засеянной поверхности.

Уменьшение кинематической длины агрегата и улучшение обзорности рабочих органов комплекса (в сравнении с одноосным прицепным бункером) также окажут существенное влияние на производительность и энергозатраты агрегата.

По дополнительной грузоподъемности задние мосты тягово-транспортного колесного средства со сдвоенными колесами (например, К-700, К-701, К-744 и др.) превышают вес семян и удобрений, перевозимых отдельно на одноосных и двухосных бункерах в составе с современными почвообрабатывающими посевными комплексами.

Если же возникает необходимость в увеличении массы перевозимых технологических материалов или снижения удельного давления движителей тягово-транспортного колесного средства на почву, то дополнительные бункеры можно установить с опорой на передний мост по указанному выше способу.

Все это будет способствовать улучшению агротехнических показателей агрегата, снижению энергозатрат на выполнение технологического процесса обработки почвы и посева зерновых культур.

Такая компоновка агрегата упрощает конструкцию комплекса, снижает его материалоемкость, улучшает маневренность и тягово-сцепные свойства трактора, снижает отрицательное воздействие движителей на почву и затраты энергии на перемещение агрегата, улучшается качество посева.

Формула изобретения

1. Комбинированный почвообрабатывающий посевной агрегат, содержащий колесное тягово-транспортное средство, прицепную комбинированную почвообрабатывающую посевную машину, бункер для семян и удобрений, отличающийся тем, что бункер для семян и удобрений выполнен навесным, установлен над задним мостом колесного тягово-транспортного средства и стойками шарнирно крепится к внешним опорам на полуосях задних колес.

2. Агрегат по п.1, отличающийся тем, что бункер для семян и удобрений выполнен из двух секций.

РИСУНКИ

Categories: BD_2377000-2377999