|
|
(21), (22) Заявка: 2007108065/09, 29.06.2005
(24) Дата начала отсчета срока действия патента:
29.06.2005
(30) Конвенционный приоритет:
05.08.2004 DE 102004038213.1
(43) Дата публикации заявки: 10.09.2008
(46) Опубликовано: 27.12.2009
(56) Список документов, цитированных в отчете о поиске:
US 2003/174708 A1, 18.09.2003. RU 2231112 C1, 20.06.2004. EP 0593195 A2, 20.04.1994. WO 01/05123 A1, 18.01.2001. WO 01/86869 A2, 15.11.2001.
(85) Дата перевода заявки PCT на национальную фазу:
05.03.2007
(86) Заявка PCT:
EP 2005/053077 20050629
(87) Публикация PCT:
WO 2006/015911 20060216
Адрес для переписки:
101000, Москва, М.Златоустинский пер., 10, кв.15, “ЕВРОМАРКПАТ”, пат.пов. И.А.Веселицкой, рег. 11
|
(72) Автор(ы):
ХАРТВИХ Флориан (DE), ХОРСТ Кристиан (DE), БАЙЛЕР Франц (DE)
(73) Патентообладатель(и):
РОБЕРТ БОШ ГМБХ (DE)
|
(54) СПОСОБ И УСТРОЙСТВО ДЛЯ ОБРАЩЕНИЯ К ПАМЯТИ СООБЩЕНИЙ КОММУНИКАЦИОННОГО МОДУЛЯ
(57) Реферат:
Изобретение относится к способу и устройству для обращения к памяти сообщений коммуникационного модуля в режимах ввода данных в память сообщений или вывода данных из нее. Техническим результатом является оптимизация процесса передачи данных между процессором абонентского устройства и памятью сообщений с точки зрения скорости передачи и обеспечения целостности данных. Способ обращения к памяти сообщений коммуникационного модуля в режимах ввода данных в память сообщений или вывода данных из нее заключается в вводе данных в соответствующую основную буферную память и переключении между режимами обращения к основной буферной памяти и к теневой памяти с возможностью ввода последующих данных в теневую память и одновременного вывода из основной буферной памяти уже введенных в нее данных в предусмотренном направлении. Причем память сообщений связана с буферным запоминающим устройством, а данные передают в первом направлении – в память сообщений, и во втором направлении – из памяти сообщений, при этом для данных, передаваемых в первом направлении, буферное запоминающее устройство имеет входной буфер, а для данных, передаваемых во втором направлении, – выходной буфер, причем каждый из указанных буферов разделен на две части: на основную буферную память и относящуюся к ней теневую память. 6 н. и 9 з.п. ф-лы, 12 ил.
Область техники, к которой относится изобретение
Настоящее изобретение относится к способу и устройству для обращения к памяти сообщений коммуникационного модуля в режимах ввода данных в память сообщений или вывода данных из нее, охарактеризованным в ограничительной части независимых пунктов формулы.
Уровень техники
Объединение в сеть блоков управления, датчиков и приводов посредством систем связи, например шинных систем обмена данными, в последние годы получает все более широкое распространение как в области автомобилестроения, так и в области машиностроения, и прежде всего в области станкостроения, а также систем автоматизированного управления технологическими процессами. При этом за счет распределения функций между несколькими блоками управления можно достичь синергетических эффектов.
Подобные системы принято называть распределенными системами. Для обмена данными между различными оконечными или абонентскими устройствами все чаще используются системы связи, построенные по принципу шинных систем обмена данными. В таких системах функции управления обменом данными, равно как и функции обработки возникающих при этом ошибок, регулируются протоколом обмена данными. Известны такие протоколы обмена данными, как протокол CAN (сокр. от англ. “Controller Area Network”, локальная сеть для обмена данными между органами управления), протокол TTCAN (сокр. от англ. “Time Triggered Controller Area Network”, локальная сеть для обмена данными между органами управления с доступом через синхронизированные контроллеры), а также протокол FlexRay для организации обмена данными между электронными компонентами транспортных средств, причем у последнего протокола существует уже вторая (V2.0) редакция спецификации. При этом FlexRay – это быстродействующая детерминистическая и устойчивая к сбоям шинная система, особенно хорошо приспособленная для использования в транспортных средствах. Протокол FlexRay работает по методу многоабонентского доступа с временным разделением каналов (сокр. TDMA, от англ. “Time Division Multiple Access”), в соответствии с которым различным подключенным к сети или шине обмена данными компонентам, т.е. абонентским устройствам, присваиваются различные жестко заданные интервалы времени (так называемые слоты), в течение которых эти устройства имеют исключительное право на доступ к каналу связи. Сравнимым образом работают и системы, построенные на основе стандарта TTCAN. При этом при работе шинной системы обмена данными интервалы времени повторяются по заданному циклу, что позволяет заранее точно знать момент передачи сообщения по шине и организовать доступ к шине по детерминистическому принципу. Для оптимального использования полосы пропускания шинной системы обмена данными протоколом FlexRay предусматривается наличие у цикла не только статической, но и динамической части. При этом под статической частью цикла работы шинной системы, расположенной в начале такого цикла, понимается та часть этого цикла, к которой относятся жестко распределенные между абонентскими устройствами интервалы времени. В динамической же части цикла интервалы времени выделяются динамически. В пределах этой динамической части выделяются так называемые мини-интервалы (мини-слоты), представляющие собой заданные весьма короткие отрезки времени, в течение которых абонентское устройство имеет гарантированное право исключительного доступа к шине. И лишь в том случае, когда абонентское устройство действительно обращалось к шине в течение очередного отведенного ему мини-интервала, это устройство может получить право доступа к шине в течение запрошенного им более длительного интервала. Таким образом, полоса пропускания занимается только тогда, она действительно нужна. Обмен данными в сети FlexRay организован с использованием двух раздельных физических проводников, причем максимальная скорость передачи данных по каждому из них составляет 10 мегабит в секунду. При этом оба этих канала передачи данных соответствуют физическому уровню предложенной Международной организацией по стандартизации семиуровневой базовой эталонной модели (OSI) взаимодействия открытых систем. Применение двух проводников призвано, в частности, обеспечить возможность передачи сообщений с резервированием, а значит – с обеспечением отказоустойчивости, однако проводники могут использоваться и для передачи по ним различных сообщений с соответствующим удвоением их общей пропускной способности. Предусмотрена также возможность работы сети FlexRay с пониженными скоростями передачи данных.
Для обеспечения синхронного выполнения функций, а также для увеличения полосы пропускания за счет сокращения пауз между сообщениями подключенные к сети передачи данных распределенные компоненты, т.е. абонентские устройства этой сети, должны работать синхронно, т.е. с использованием так называемого глобального времени. В целях синхронизации встроенных часов в пределах статической части цикла передаются сообщения синхронизации, на основе которых каждое абонентское устройство шины FlexRay по предписанному спецификацией протокола FlexRay алгоритму подстраивает свои встроенные часы таким образом, чтобы встроенные часы всех абонентских устройств шли синхронно друг с другом. В сети, работающей по протоколу TTCAN, синхронизация осуществляется сравнимым образом.
Узел, абонентское устройство, или хост (по сути синонимичные понятия), сети FlexRay, имеет собственный процессор, т.е. хост-процессор, контроллер шины FlexRay, иначе называемый коммуникационным контроллером, а также – при контроле шины – блок защиты шины. При этом указанным процессором формируются и обрабатываются данные, передаваемые через контроллер шины FlexRay. Сеть FlexRay поддерживает передачу по ней в процессе обмена данными сообщений или коммуникационных объектов, содержащих, например, до 254 байт данных. Передача этих сообщений, или коммуникационных объектов, между физическим уровнем, то есть между каналом связи, и хост-процессором, т.е. процессором абонентского устройства, обеспечивается коммуникационным модулем, в частности коммуникационным контроллером.
Доступ к памяти сообщений коммуникационного модуля, в частности коммуникационного контроллера шины FlexRay, осуществляется как процессором абонентского устройства, т.е. хост-процессором, так и через интерфейсные модули физического уровня. При этом доступ к процессору абонентского устройства включает в себя запись и считывание конфигурационных данных, данных о состоянии, а также собственно передаваемых данных. Доступ со стороны интерфейсных модулей к физическому уровню включает в себя чтение отправляемых сообщений и сохранение полученных сообщений, причем в обоих случаях необходимо принимать соответствующие меры для обеспечения целостности этих сообщений.
Исходя из вышеизложенного, в основу настоящего изобретения была положена задача оптимизации процесса передачи данных между процессором абонентского устройства и памятью сообщений с точки зрения скорости передачи и обеспечения целостности данных.
Раскрытие изобретения
Вышеуказанная задача решается в соответствии с изобретением исходя из способа и устройства для доступа памяти сообщений коммуникационного модуля в режимах ввода данных в память сообщений или вывода данных из нее, причем память сообщений связана с буферным запоминающим устройством, и данные передают в первом направлении – в память сообщений, и во втором направлении – из памяти сообщений, при этом для данных, передаваемых в первом направлении, буферное запоминающее устройство имеет входной буфер, а для данных, передаваемых во втором направлении, – выходной буфер, каждый из двух буферов: входной и выходной, разбит на две части, а именно на основную буферную память и относящуюся к ней теневую память, а при передаче данных в каждом из указанных направлений выполняют следующие действия: вводят данные в соответствующую основную буферную память и переключаются между режимами обращения к основной буферной памяти и к теневой памяти с возможностью ввода последующих данных в теневую память и одновременного вывода из основной буферной памяти уже введенных в нее данных в предусмотренном направлении. Таким образом, в соответствии с изобретением для доступа к данным в памяти сообщений коммуникационного модуля вводится буферное запоминающее устройство, имеющее входную и выходную буферную память, причем входная буферная память имеет первую основную буферную память и относящуюся к ней первую теневую память, а выходная буферная память имеет вторую основную буферную память и относящуюся к ней вторую теневую память, причем предусмотрены первые средства, обеспечивающие переключение между режимами обращения к первой основной буферной памяти и к первой теневой памяти, и вторые средства, обеспечивающие переключение между режимами обращения ко второй основной буферной памяти и ко второй теневой памяти.
Иными словами, для доступа к данным в памяти сообщений коммуникационного модуля изобретением предусмотрена буферная память, содержащая основную буферную память и относящуюся к последней теневую память, а также предусмотрены средства, позволяющие переключаться между режимами обращения к основной буферной памяти и к теневой памяти.
Таким образом, в изобретении предложены способ и устройство обмена данными между процессором абонентского устройства и памятью сообщений, предусматривающие за счет включения промежуточного буферного запоминающего устройства, в частности входного буфера для записи данных и выходного буфера для считывания данных, развязать операции обращения к памяти, осуществляемого передающими и приемными блоками. При этом управление доступом и контроль обращения к памяти сообщений осуществляется, в частности, диспетчером сообщений, за счет чего удается обеспечить требуемую целостность данных, относящихся к сохраненным сообщениям. Кроме того, преимущество настоящего изобретения заключается в том, что вышеупомянутое переключение между режимами обращения позволяет существенно повысить скорость передачи данных, а разделение буферной памяти на две части позволяет осуществлять операции записи и считывания данных с чередованием и соответственно исключить опасности одновременного доступа в процессе передачи данных к одним и тем же ячейкам памяти и на считывание, и на запись, что, в свою очередь, позволяет обеспечить целостность данных.
В предпочтительном варианте осуществления изобретения переключение между режимами обращения к основной буферной памяти и к теневой памяти отображают посредством идентификатора, а в особом варианте осуществления изобретения оно инициируется посредством идентификатора.
Передачу данных из соображений целесообразности осуществляют в виде сообщений, которым присваивают идентификаторы сообщений, причем переключение между режимами обращения к основной буферной памяти и к теневой памяти осуществляют при записи идентификатора сообщения в задаваемый регистр.
При этом особенно предпочтителен вариант, в котором содержащиеся в сообщении данные разделены по меньшей мере на первые данные, а именно конфигурационные данные и данные о состоянии, а также на вторые данные, которые собственно и являются передаваемыми в сообщении полезными данными, причем в зависимости по меньшей мере от одного идентификатора передают либо только первые данные, либо только вторые данные, либо как первые, так и вторые данные.
Доступ к данным может отображаться посредством идентификатора доступа, который записывают в регистр. В предпочтительном варианте по самому такому идентификатору доступа или по его местоположению в регистре можно определить, к какой именно основной буферной памяти или к какой именно теневой памяти осуществляется обращение.
При переключении между режимами обращения целесообразно также менять местами по меньшей мере некоторые записи в регистрах, в частности вышеупомянутые идентификаторы.
Для инициирования переключения между режимами обращения к основной буферной памяти и к теневой памяти целесообразно предусмотреть идентификатор переключения.
Кроме того, при наличии данных, подлежащих записи в память, по меньшей мере для одного направления передачи данных в регистр может записываться идентификатор начала передачи.
Применение предлагаемого в изобретении буферного запоминающего устройства с содержащимися в нем входным и выходным буферами, а также переключение между режимами обращения позволяет обеспечить бесперебойный доступ процессора абонентского устройства к памяти сообщений, несмотря на наличие присущих модулю времен задержки. Обеспечиваемое в соответствии с изобретением оптимальное использование памяти и отсутствие перебоев в передаче данных позволяют, с одной стороны, повысить скорость передачи и, с другой стороны, обеспечить целостность данных.
Иные преимущества и предпочтительные варианты осуществления изобретения рассмотрены ниже на примере некоторых вариантов осуществления изобретения, а также охарактеризованы в формуле изобретения.
Краткое описание чертежей
Ниже изобретение более подробно пояснено со ссылкой на прилагаемые чертежи, на которых показано:
на фиг.1 – схематичное изображение коммуникационного модуля и его соединения с физическим уровнем, т.е. с каналом связи и с абонентским устройством в системе связи,
на фиг.2 – более подробное изображение одного из конкретных вариантов выполнения коммуникационного модуля, показанного на фиг.1, а также его соединения (с шиной),
на фиг.3 – структура памяти сообщений,
на фиг.4-6 – схематичное изображение архитектуры и процесса доступа к данным с передачей данных в направлении от абонентского устройства к памяти сообщений,
на фиг.7-9 – схематичное изображение архитектуры и процесса доступа к данным с передачей данных в направлении от памяти сообщений к абонентскому устройству,
на фиг.10 – схематичное изображение диспетчера (обработчика) сообщений и содержащихся в нем конечных автоматов,
на фиг.11 – еще одно схематичное изображение элементов коммуникационного модуля, абонентского устройства, а также соответствующих трактов передачи данных, управляемых диспетчером сообщений,
на фиг.12 – распределение прав доступа применительно к показанным на фиг.11 трактам передачи данных.
Ниже изобретение более подробно рассмотрено на примере нескольких вариантов его осуществления.
Осуществление изобретения
На фиг.1 схематично изображен коммуникационный модуль 100 сети FlexRay, обеспечивающий соединение абонентского устройства, или хоста, 102 сети FlexRay с каналом 101 связи в этой сети, т.е. с ее физическим уровнем. Для этого коммуникационный модуль 100 соединен с абонентским устройством, т.е. с процессором 102 этого устройства, соединением 107, а с каналом 101 связи – соединением 106. Распределение времени доступа к каналу, а также целостность данных обеспечиваются в основном тремя входящими в состав коммуникационного модуля схематично показанными на чертеже устройствами. Первое 105 из этих устройств обеспечивает сохранение, в частности промежуточное сохранение (буферизацию), по меньшей мере части передаваемых сообщений. Между абонентским устройством 102 и этим первым устройством 105 расположено второе устройство 104, соединенное с ними соединениями 107 и 108. Между абонентским устройством 101 и первым устройством 105 расположено соединенное с ними соединениями 106 и 109 третье устройство 103, чем достигается гибкий ввод и вывод данных в составе сообщений, прежде всего сообщений на основе протокола FlexRay, в первое устройство 105 и соответственно из него, с обеспечением целостности данных при оптимальной скорости передачи данных.
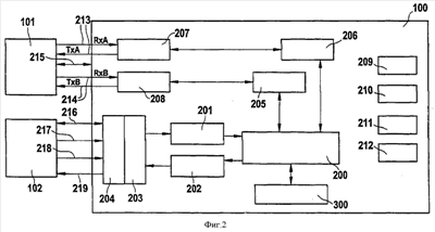
На фиг.2 этот коммуникационный модуль 100 в предпочтительном варианте его выполнения изображен более подробно. Также более подробно изображены и соответствующие соединения 106-109. При этом второе устройство 104 имеет входную буферную память 201 (буфер на входе), ниже также называемую входным буфером, выходную буферную память 202 (буфер на выходе), ниже также называемую выходным буфером, а также интерфейсный модуль, состоящий из двух частей 203 и 204, причем субмодуль 203 является универсальным, независимым от абонентского устройства, в то время как субмодуль 204 является специализированным, т.е. может иметь ту или иную конструкцию в зависимости от конкретного абонентского устройства. Этим специализированным субмодулем 204 интерфейсного модуля (англ. Customer CPU Interface, CIF) обеспечивается интерфейс для связи процессора 102 абонентского устройства, который может иметь различные особенности в зависимости от того, о каком конкретно абонентском устройстве идет речь, с коммуникационным модулем сети FlexRay. Для этого предусмотрены линия 216 передачи данных с возможностью передачи в двух направлениях, адресная линия 217 и управляющий вход 218. Также предусмотрен выход 219 для передачи сигналов прерывания. Зависимый от абонентского устройства субмодуль 204 соединен с универсальным субмодулем 203 (англ. Generic CPU Interface, GIF), благодаря чему интерфейсный модуль FlexRay получает универсальный интерфейс для его связи с процессорами абонентских устройств, который с использованием субмодулей, адаптированных к специфике конкретных абонентских устройств и их процессоров, может соединяться с большим количеством самых различных абонентских устройств. Благодаря этому адаптация, учитывающая особенности абонентского устройства, необходима только для субмодуля 204, что позволяет существенно снизить затраты, связанные с подключением к шине FlexRay самых различных абонентских устройств.
Входной буфер 201 и выходной буфер 202 могут быть выполнены либо в виде одного, либо в виде раздельных модулей памяти. При этом входной буфер 201 служит для промежуточного сохранения сообщений, подлежащих передаче в память 200 сообщений. Этот входной буфер предпочтительно выполнен с возможностью сохранения в нем двух полных сообщений, каждое из которых включает в себя заголовок, содержащий, в частности, конфигурационные данные, и основную часть, содержащую собственно передаваемые, или полезные, данные. При этом сам входной буфер выполнен из двух частей: основной буферной памяти и теневой (скрытой) памяти, причем за счет попеременной записи в обе указанные части входного буфера и смены режима обращения к ним (т.е. переключения между этими режимами) удается увеличить скорость передачи данных между процессором 102 абонентского устройства и памятью 200 сообщений. Аналогичным образом выходной буфер служит для промежуточного сохранения сообщений, подлежащих передаче из памяти 200 сообщений в процессор 102 абонентского устройства. При этом выходной буфер 202 также выполнен с возможностью сохранения в нем двух полных сообщений, каждое из которых включает в себя заголовок, содержащий, в частности, конфигурационные данные, и основную часть, содержащую собственно передаваемые полезные данные. И в этом случае выходной буфер 202 выполнен из двух частей: основной буферной памяти и теневой (скрытой) памяти, причем и в рассматриваемом случае за счет попеременного считывания из этих частей буфера и смены режима обращения к ним удается увеличить скорость передачи данных между абонентским устройством, или его процессором 102, и памятью 200 сообщений. Второе устройство 104, имеющее элементы 201-204, соединено с первым устройством 105 показанным на чертеже образом.
Устройство 105 состоит из диспетчера, или обработчика, 200 сообщений (англ. Message Handler, MHD) и памяти 300 сообщений, в частности ЗУПВ (англ. Message RAM). Диспетчер сообщений контролирует процесс передачи данных между входным буфером 201 и выходным буфером 202 с одной стороны и памятью 300 сообщений с другой стороны, соответственно управляет указанным процессом. Аналогичным образом, посредством третьего устройства 103 он контролирует процесс передачи данных в обратном направлении, соответственно управляет этим процессом. Память сообщений предпочтительно выполнена в виде однопортового ЗУПВ. Эта память служит для хранения сообщений или коммуникационных объектов, т.е. для хранения передаваемых полезных данных совместно с относящимися к ним конфигурационными данными и данными о состоянии. Структура памяти 300 сообщений более подробно показана на фиг.3.
Третье устройство 103 состоит из элементов 205-208. Поскольку шина FlexRay имеет на физическом уровне два канала передачи данных, это устройство 103 имеет два тракта передачи данных, каждый из которых пригоден для передачи данных в обоих направлениях. Эти тракты обозначены на чертеже позициями 213 и 214, причем для тракта или канала А передачи данных взаимно противоположные направления передачи данных обозначены позициями RxA и ТхА, а для тракта или канала В – позициями RxB и ТхВ. Позицией 215 обозначен необязательный двунаправленный управляющий вход. Третье устройство 103 соединяется через первый буфер 205 с каналом В и через второй буфер 206 с каналом А. Оба этих буфера, или промежуточных ЗУПВ А и В, служат для промежуточного сохранения данных, передаваемых в первое устройство 105 и из него. В соответствии с наличием двух каналов оба этих буфера 205 и 206 соединены каждый со своим интерфейсным модулем 207 и 208, в состав которых входит контроллер сети FlexRay, иначе называемый контроллером протокола шины и состоящий из приемопередающих регистров сдвига и конечного автомата FlexRay. В соответствии с этим оба буфера 205 и 206 выполняют функции промежуточной памяти для хранения данных, передаваемых между регистрами сдвига интерфейсных модулей или контроллером 207 и 208 сети FlexRay, с одной стороны и памятью 300 сообщений с другой стороны. И в этом случае в каждом из буферов 205 или 206 сохраняются поля данных, т.е. несущая полезную информацию часть двух сообщений на основе протокола FlexRay.
Кроме того, в коммуникационном модуле 100 предусмотрено глобальное программно-временное устройство (ПВУ) (англ. Global Time Unit, GTU), отвечающее за синхронизацию работы абонентского устройства с другими подключенными к шине FlexRay абонентскими устройствами, т.е. за обработку микро- (µТ) и макро- (МТ) импульсов сигнала времени. Кроме того, указанное ПВУ 209 отвечает за отказоустойчивую синхронизацию часов счетчиков циклов (англ. Cycle Counter), а также за контроль во времени процессов в статической и динамической частях цикла работы шины FlexRay.
Позицией 210 обозначен блок общего управления системой (англ. System Universal Control, SUC), контролирующий режимы работы коммуникационного контроллера FlexRay и управляющий этими режимами. К ним относятся такие режимы, как активизация, запуск, первичное или повторное подключение к шине, а также нормальный и пассивный режимы работы.
Позицией 211 обозначен блок управления шиной и обработки ошибок (англ. Network- and Error Management, NEM), предусмотренный редакцией 2.0 спецификации протокола FlexRay. Позицией 212 обозначен блок управления прерываниями (англ. Interrupt Control, INT), управляющий флагами прерываний, осуществляемых по факту регистрации определенных состояний или по факту регистрации ошибок (англ. status and error interrupt flags), и контролирующий выходы 219 для передачи сигналов прерывания в процессор 102 абонентского устройства, соответственно управляющий этими выходами. Блок 212 также имеет таймер абсолютного или относительного времени, соответственно таймер для генерирования прерываний по времени, иначе называемых прерываниями по таймеру.
Сеть FlexRay может быть сконфигурирована для передачи по ней в процессе обмена данными, соответственно для сохранения в буфере сообщений, сообщений, соответственно коммуникационных объектов, содержащих, например, до 254 байт данных. Память 300 сообщений выполнена, в частности, в виде ЗУПВ для сохранения сообщений, способного сохранять, например, не более шестидесяти четырех коммуникационных объектов. Все функции, относящиеся к обработке сообщений, соответственно к управлению сообщениями, реализованы в диспетчере 200 сообщений. К таким функциям относятся, например, фильтрация по критерию допустимости, передача сообщений между блоками 207 и 208, относящимися к контроллеру сети FlexRay, с одной стороны и памятью 300 сообщений с другой стороны, а также контроль последовательности передачи и подготовка конфигурационных данных, соответственно данных о состоянии.
Внешний процессор 102, т.е. процессор 102 абонентского устройства, может через интерфейс абонентского устройства, т.е. посредством специализированного субмодуля 204, получать доступ к регистрам коммуникационного модуля системы FlexRay. При этом может использоваться большое количество разнообразных регистров. Эти регистры используются для конфигурирования и управления работой контроллера сети FlexRay, т.е. интерфейсных модулей 207 и 208, диспетчера 200 сообщений, глобального ПВУ 209, блока 210 общего управления системой, блока 211 управления шиной и обработки ошибок, контроллера 212 прерываний, а также для управления доступом к памяти 300 сообщений и отображения соответствующего состояния. По меньшей мере некоторые из этих регистров более подробно рассмотрены ниже со ссылкой на фиг.4-6 и 7-9. Такой предлагаемый в изобретении коммуникационный модуль системы FlexRay позволяет простым путем реализовать редакцию 2.0 спецификации протокола FlexRay, соответственно позволяет простым путем создать специализированную ИС или микроконтроллер с поддержкой шины FlexRay, имеющие соответствующий объем функций.
На фиг.3 более подробно показана структура памяти 300 сообщений. Для того чтобы контроллер сети FlexRay был способен выполнять весь объем функций, требуемый от него в соответствии со спецификацией протокола FlexRay, этот контроллер должен иметь буфер для отправляемых сообщений и буфер для корректно принятых сообщений. Протокол FlexRay позволяет отправлять и получать сообщения с объемом полезной информации от 0 до 254 байт. Как показано на фиг.2, память сообщений является одним из элементов коммуникационного модуля 100 сети FlexRay. Описанный ниже способ, а также пригодная для осуществления этого способа память сообщений позволяют сохранять подлежащие отправке и полученные сообщения, в частности в ЗУПВ, причем предлагаемый в изобретении способ позволяет сохранять в памяти сообщений заданного объема переменное число сообщений. При этом количество помещающихся в память сообщений зависит от объема собственно передаваемых данных, содержащихся в каждом сообщении, что позволяет, с одной стороны, использовать для хранения сообщений лишь необходимый минимум памяти, не накладывая при этом ограничений на объем содержащихся в каждом сообщении полезных данных, и, с другой стороны, позволяет оптимальным образом использовать (любой) доступный объем памяти. Ниже более подробно описан способ распределения объема предусмотренной в контроллере связи FlexRay памяти сообщений, в частности представляющей собой ЗУПВ, между сегментами этой памяти, в переменном соотношении.
Допустим в качестве примера, что у нас есть память сообщений, пригодная для сохранения слов заданной длины, составляющей n бит, где n=8, 16, 32 и т.д., причем объем этой памяти достаточен для сохранения m слов (и m, и n – натуральные числа). При этом память 300 сообщений разбивают на два сегмента: сегмент HS заголовков и сегмент DS данных. В соответствии с этим на каждое сообщение в сегменте заголовков памяти сообщений создается участок НВ, предназначенный для сохранения заголовка этого сообщения, а в сегменте данных памяти сообщений создается участок DB, предназначенный для сохранения данных этого сообщения. Соответственно, для сообщений 0, 1, , k (где k – натуральное число) создаются участки НВ0, НВ1, , HBk сегмента заголовков и участки DB0, DB1, , DBk сегмента данных. Иными словами, каждое сообщение, передаваемое по шине FlexRay, рассматривается как включающее в себя первые и вторые данные, причем под первыми данными понимаются содержащиеся в заголовках конфигурационные данные и/или данные о состоянии, сохраняемые в участках НВ (НВ0, НВ1, , HBk) сегмента заголовков. Под вторыми данными понимаются собственно содержащиеся в сообщении данные, сохраняемые в участках DB (DB0, DB1, , DBk) сегмента данных. В соответствии с этим объем памяти, занимаемый каждым сообщением, складывается из двух частей: первая часть соответствует объему относящихся к сообщению первых данных и может измеряться в битах, байтах или количестве слов, а вторая часть соответствует объему относящихся к сообщению вторых данных и также может измеряться в битах, байтах или количестве слов, причем объем вторых данных у разных сообщений может быть различным. Общий объем памяти 300 сообщений распределяется между сегментом HS заголовков и сегментом DS данных в переменном соотношении, т.е. жестко заданной границы между указанными сегментами не существует. В соответствии с изобретением это распределение осуществляется в зависимости от количества k сообщений, а также в зависимости от объема вторых данных, т.е. в зависимости от объема полезных данных, содержащихся в одном сообщении, соответственно содержащихся суммарно в k сообщениях. В соответствии с изобретением с конфигурационными данными KD0, KD1, , KDk каждого соответствующего сообщения непосредственно соотносят по одному указателю DP0, DP1, , DPk. В одном из конкретных вариантов осуществления изобретения с каждым участком НВ0, НВ1, , HBk сегмента заголовков соотносят жестко заданное число слов, в рассматриваемом варианте равное двум, что позволяет в каждом случае совместно сохранять в одном и том же участке НВ как конфигурационные данные KD (KD0, KD1, , KDk), так и указатель DP (DP0, DP1, , DPk). Непосредственно после этого сегмента HS заголовков, в котором выделены участки НВ для хранения первых данных, т.е. заголовков сообщений, и размер которого зависит от количества k подлежащих сохранению сообщений, в памяти сообщений расположен сегмент DS данных, предназначенный для сохранения собственно содержащихся в сообщениях данных D0, D1, , Dk. Объем этого сегмента DS данных зависит от объема данных, содержащихся в сохраненных сообщениях, соответственно от объема занятых этими данными участков сегмента данных, причем в рассматриваемом примере объем участка DB0 сегмента данных составляет шесть слов, объем участка DB1 – одно слово, и объем участка DBk – два слова. Соответствующие указатели DP0, DP1, , DPk в каждом случае указывают на начало, т.е. на начальный адрес соответствующего участка DB0, DB1, , DBk сегмента данных, в котором хранятся данные D0, D1, , Dk, содержащиеся в соответствующем сообщении 0, 1, , k. В соответствии с этим объем памяти сообщений распределяется между сегментом HS заголовков и сегментом DS данных в переменном соотношении, зависящем как от общего количества сообщений, так и от объема данных в сообщении, соответственно от суммарного объема вторых данных. В случае, когда память сообщений сконфигурирована под меньшее число сообщений, сегмент заголовков имеет уменьшенный объем, а высвободившаяся за счет такого уменьшения память дополнительно относится к сегменту DS данных, соответственно может быть использована для хранения полезных данных. Такая гибкость в конфигурировании памяти позволяет оптимизировать использование последней, что в некоторых случаях позволяет обойтись меньшим объемом памяти. В соответствии с этим свободный объем FDS сегмента данных, также в зависимости от количества k сохраненных сообщений и от объема относящихся к сохраненным сообщениям вторых данных, может быть минимальным или даже нулевым.
Наряду с использованием указателей первые и вторые данные, т.е. конфигурационные данные KD (KD0, KD1, , KDk) и собственно данные D (D0, D1, , Dk), могут сохраняться в заданной последовательности, причем последовательность участков НВ0 HBk сегмента HS заголовков идентична последовательности участков DB0 DBk сегмента DS данных. Такой подход позволяет при определенных условиях даже отказаться от использования указателей.
В одном из конкретных вариантов осуществления изобретения в памяти сообщений предусмотрен генератор данных, используемых для обнаружения ошибок, прежде всего генератор битов контроля четности, а также элемент для обнаружения ошибок, прежде всего элемент для контроля этих битов, что позволяет за счет формирования и сохранения контрольной суммы, и прежде всего бита контроля четности, для каждого слова или для каждого сегмента памяти (НВ и/или DB) обеспечить контроль корректности данных, сохраненных в сегментах HS и DS. Могут применяться и иные методы контроля корректности данных, соответственно методы обнаружения ошибок, например контроль с использованием циклического избыточного кода по типу CRC (англ. Cyclical Redundancy Check), или методы обнаружения и исправления ошибок по типу ЕСС (англ. Error Correction Code). Предлагаемый в изобретении подход позволяет по сравнению с жестким разделением памяти сообщений на сегменты обеспечить следующие преимущества.
Пользователь на этапе программирования может решить, желает ли он использовать большее количество сообщений с меньшим полем данных либо меньшее количество сообщений с большим полем данных. При работе с сообщениями с варьирующимся объемом полезных данных изобретение позволяет оптимально использовать объем доступной памяти. Пользователь получает возможность использования одного и того же участка сегмента данных совместно для различных сообщений.
При реализации коммуникационного контроллера на ИС можно адаптировать объем памяти сообщений к требованиям конкретной прикладной задачи за счет коррекции емкости ЗУ, не меняя при этом остальных функций коммуникационного контроллера.
Ниже со ссылкой на фиг.4-6, а также фиг.7-9 более подробно описан процесс доступа процессора абонентского устройства к данным, т.е. процесс записи и считывания им конфигурационных данных и данных о состоянии, а также собственно данных с использованием буферной памяти 201 и 202. При этом задачей является достижение развязки в передаче данных таким образом, чтобы обеспечить целостность передаваемых данных и одновременно с этим высокую скорость их передачи. Как более подробно описано ниже со ссылками на фиг.10, 11 и 12, управление описанными процессами осуществляется диспетчером 200 сообщений.
Ниже со ссылкой на фиг.4, 5 и 6 более подробно описаны процессы записи данных процессором 102 абонентского устройства в память 300 сообщений с использованием входного буфера 201. Для этого на фиг.4 более подробно показан коммуникационный модуль 100 системы связи, причем для упрощения на чертеже изображены лишь существенные элементы этого коммуникационного модуля 100. К таким элементам относятся диспетчер 200 сообщений, отвечающий за управление процессами, а также два регистра 403 и 404 команд, которые могут размещаться либо вне диспетчера 200 сообщений в коммуникационном модуле 100, либо в самом диспетчере 200 сообщений. При этом позицией 403 обозначен относящийся к входному буферу регистр (англ. Input Buffer Command Request Register) запроса команд, а позицией 404 – относящийся к тому же буферу регистр (англ. Input Buffer Command Mask Register) маскирования команд. Запись данных в память 300 сообщений осуществляется процессором 102 абонентского устройства через расположенный между ним и этой памятью входной буфер 201. Этот входной буфер 201 выполнен разделенным, или раздвоенным, а именно из основной буферной памяти 400 и относящейся к ней теневой памяти 401. Такой подход позволяет осуществлять описанный ниже непрерывный доступ процессора 102 абонентского устройства к сообщениям, коммуникационным объектам или данным, хранящимся в памяти 300 сообщений, и при этом позволяет обеспечить целостность этих данных и увеличение скорости их передачи. Управление доступом осуществляется посредством относящихся к входному буферу регистра 403 запроса команд и регистра 404 маскирования команд. В регистре 403 числами от 0 до 31 обозначены его двоичные разряды, соответственно в рассматриваемом примере регистр 403 является 32-битным. То же самое относится и к регистру 404 с его обозначенными числами от 0 до 31 двоичными разрядами.
В соответствии с изобретением двоичные разряды 0-5, 15, 16-21 и 31 регистра 403 могут выполнять определенные функции по управлению процессами. Так, в двоичные разряды 0-5 регистра 403 может записываться идентификатор IBRH (англ. Input Buffer Request Host), используемый в качестве идентификатора сообщения. Точно так же в двоичные разряды 16-21 регистра 403 может записываться “теневой” идентификатор сообщения IBRH (англ. Input Buffer Request Shadow). В двоичный разряд 15 регистра 403 может записываться идентификатор IBSYH доступа, а в двоичный разряд 31 этого регистра – идентификатор IBSYS доступа. Можно отметить и двоичные разряды 0-2 регистра 404, в двоичные разряды 0 и 1 которого записываются характеризующие данные идентификаторы LHSH (англ. Load Header Section Host) и LDSH (англ. Load Data Section Host). Эти идентификаторы в рассматриваемом варианте представлены в простейшей форме, а именно каждый из них является однобитным. В двоичный разряд 2 регистра 404 записывается идентификатор STXRH (англ. Set Transmission X Request Host) начала передачи.
Ниже описан процесс обращения к памяти сообщений для данных через входной буфер.
Данные передаваемого сообщения записываются процессором 102 абонентского устройства во входной буфер 201. При этом процессором 102 могут записываться либо только конфигурационные данные KD заголовка сообщения – в выделенный в памяти сообщений сегмент HS заголовков, либо только содержащиеся в сообщении полезные данные D – в выделенный в памяти сообщений сегмент DS данных, либо и те, и другие данные. Подлежащие передаче или записи части сообщения, т.е. конфигурационные и/или полезные данные, определяются специальными характеризующими данные идентификаторами LHSH и LDSH, записываемыми в относящийся к входному буферу регистр 404 маскирования команд. При этом идентификатор LHSH (англ. Load Header Section Host) определяет, подлежат ли передаче данные KD заголовка сообщения, т.е. конфигурационные данные, а идентификатор LDSH (англ. Load Data Section Host) – подлежат ли передаче полезные данные D сообщения. Вследствие того что входной буфер 201 имеет две части, а именно основную буферную память 400 и соответствующую теневую память 401, что позволяет осуществлять попеременное обращение к буферной памяти, в буфере также выделены участки для хранения двух дополнительных идентификаторов, относящихся к теневой памяти 401 и аналогичных описанным выше идентификаторам LHSH и LDSH. Эти идентификаторы записываются в двоичные разряды 16 и 17 регистра 404 и обозначаются как LHSS (англ. Load Header Section Shadow) и LDSS (англ. Load Data Section Shadow). Указанные идентификаторы управляют передачей данных применительно к теневой памяти 401.
В случае, когда установлен стартовый бит, т.е. в случае, когда в двоичный разряд 2 относящегося к входному буферу регистра 404 маскирования команд занесен идентификатор STXRH (англ. Set Transmission X Request Host) начала передачи, после успешного завершения передачи в память 300 сообщений соответствующих конфигурационных и/или полезных данных автоматически генерируется запрос на передачу соответствующего коммуникационного объекта. Иными словами, идентификатор STXRH начала передачи управляет автоматической передачей подлежащего передаче коммуникационного объекта, в частности непосредственно инициирует процесс такой передачи.
Аналогичный идентификатор начала передачи, именуемый STXRS (англ. Set Transmission X Request Shadow), предусмотрен и для теневой памяти, где он записывается, например, в двоичный разряд 18 относящегося к входному буферу регистра 404 маскирования команд, и в рассматриваемом варианте представляет собой простейший однобитный идентификатор. Идентификатор STXRS выполняет ту же функцию, что и описанный выше идентификатор STXRH, но применительно к теневой памяти 401.
При записи процессором 102 абонентского устройства идентификатора сообщения, в частности номера коммуникационного объекта в памяти 300 сообщений, в которую нужно переместить содержащиеся во входном буфере 201 данные, в двоичные разряды 0-5 относящегося к входному буферу регистра 403 запроса команд, т.е. после идентификатора IBRH сообщения, части входного буфера 201: основная буферная память 400 и соответствующая теневая память 401, “меняются местами”, что обозначено на чертеже полукруглыми стрелками, т.е. процессор 102 абонентского устройства и память 300 сообщений обращаются к основной буферной памяти как к теневой, и наоборот. При этом, например, также инициируется передача данных в память 300 сообщений. Данные передаются в эту память 300 из теневой памяти 401. Одновременно с этим меняются местами участки IBRH и IBRS регистра. Аналогичным образом LHSH и LDSH меняются на LHSS и LDSS. Аналогичным образом меняются местами и STXRH с STXRS. При этом идентификатор IBRS является идентификатором сообщения, т.е. определяет номер коммуникационного объекта для целей передачи, т.е. определяет, в какой из участков памяти сообщений данные (конфигурационные KD и/или полезные D) будут переданы из теневой памяти 401 последними. Идентификатор (в рассматриваемом конкретном варианте тоже являющийся однобитным) IBSYS (англ. Input Buffer Busy Shadow), записываемый в двоичный разряд 31 относящегося к входному буферу регистра 403 запроса команд, указывает на то, запущен ли на конкретный момент времени процесс передачи данных с использованием теневой памяти 401, или нет. Так, например, IBSYS=1 свидетельствует о том, что в текущий момент времени идет передача данных из теневой памяти 401, а IBSYS=0 свидетельствует об отсутствии в текущий момент времени такой передачи. Бит идентификатора IBSYS устанавливается, например, в процессе записи идентификатора IBRH сообщения в двоичные разряды 0-5 регистра 403, и указывает на запущенный процесс передачи данных между теневой буферной памятью 401 и памятью 300 сообщений. После окончания указанной передачи данных в память 300 сообщений бит идентификатора IBSYS сбрасывается, т.е. возвращается в исходное состояние.
Непосредственно во время передачи данных из теневой памяти 401 процессором 102 абонентского устройства может осуществляться запись следующего подлежащего передаче сообщения во входной буфер, т.е. в его основную буферную память 400. На запущенный процесс такой записи может указывать дополнительный идентификатор IBSYH (англ. Input Buffer Busy Host) доступа, записываемый, например, в двоичный разряд 15 регистра 403. Этот идентификатор записывается в относящийся к входному буферу регистр 403 запроса команд при записи процессором 102 абонентского устройства идентификатора IBRH сообщения в двоичные разряды 0-5 регистра 403 во время передачи данных между теневой буферной памятью 401 и памятью 300 сообщений, т.е. при IBSYS=1. После завершения текущего процесса передачи данных инициируется запрошенный процесс передачи данных (см. приведенное выше описание идентификатора STXRH), а бит IBSYH сбрасывается. Бит IBSYS остается установленным все время, пока идет передача данных в память сообщений, и указывает на то, что эта передача еще не завершена. Все упомянутые в приведенном выше описании биты, т.е. однобитные идентификаторы, могут быть и многобитными. Однако однобитные идентификаторы являются предпочтительными по соображениям экономии памяти и упрощения работы.
Описанный выше механизм позволяет процессору 102 абонентского устройства осуществлять непрерывную передачу данных в расположенные в памяти сообщений коммуникационные объекты, включающие участки НВ сегмента заголовков и участки DB сегмента данных, при условии, что скорость доступа процессора 102 к входному буферу меньше или равна внутренней скорости передачи данных интерфейсного модуля шины FlexRay, т.е. коммуникационного модуля 100.
Ниже со ссылкой на фиг.7, 8 и 9 более подробно описаны процесс обращения процессора 102 абонентского устройства к памяти 300 сообщений для считывания данных через выходной буфер 202. Для этого на фиг.7 еще раз показан коммуникационный модуль 100, причем для упрощения изображены лишь существенные элементы этого коммуникационного модуля 100. К таким элементам относятся диспетчер 200 сообщений, отвечающий за управление процессами, а также два регистра 703 и 704 команд, которые могут размещаться либо вне диспетчера 300 сообщений в коммуникационном модуле 100, либо в самом диспетчере 200 сообщений. При этом позицией 703 обозначен относящийся к выходному буферу регистр (англ. Output Buffer Command Request Register) запроса команд, а позицией 704 – относящийся к тому же буферу регистр (англ. Output Buffer Command Mask Register) маскирования команд. Считывание данных из памяти 300 сообщений осуществляется процессором 102 абонентского устройства через промежуточный выходной буфер 202. Этот выходной буфер 202 также выполнен раздвоенным, т.е. имеющим две части, а именно основную буферную память 701 и относящуюся к ней теневую память 700. Такой подход позволяет осуществлять описанный ниже непрерывный доступ процессора 102 абонентского устройства к сообщениям, коммуникационным объектам или данным, хранящимся в памяти 300 сообщений, и при этом позволяет обеспечить целостность этих данных и увеличение скорости их передачи в обратном направлении, т.е. из памяти в процессор абонентского устройства. Управление доступом осуществляется посредством относящихся к выходному буферу регистра 703 запроса команд и регистра 704 маскирования команд. И в регистре 703 числами от 0 до 31 обозначены его двоичные разряды, соответственно в рассматриваемом примере регистр 703 является 32-битным. То же самое относится и к регистру 704 с его обозначенными числами от 0 до 31 двоичными разрядами.
В соответствии с изобретением двоичные разряды 0-5, 8 и 9, 15, а также 16-21 регистра 703 могут выполнять определенные функции по управлению процессами считывания данных. Так, в двоичные разряды 0-5 регистра 703 может записываться служащий для идентификации сообщения теневой идентификатор OBRS (англ. Output Buffer Request Shadow). При этом в двоичные разряды 16-21 регистра 703 может записываться служащий для идентификации сообщения идентификатор OBRH (англ. Output Buffer Request Host). Для управления доступом в двоичный разряд 15 регистра 703 может записываться идентификатор OBSYS (англ. Output Buffer Busy Shadow). Можно отметить и двоичные разряды 0 и 1 относящегося к выходному буферу регистра 704 маскирования команд, в которые могут записываться соответственно характеризующие данные идентификаторы RDSS (англ. Read Data Section Shadow) и RHSS (англ. Read Header Section Shadow). Могут быть предусмотрены и дополнительные идентификаторы, например RDSH (англ. Read Data Section Host) и RHSH (англ. Read Header Section Host), записываемые, например, в двоичные разряды 16 и 17 соответственно. Эти идентификаторы в рассматриваемом варианте представлены для примера имеющими простейшую форму, а именно каждый из них является однобитным. В двоичный разряд 9 регистра 703 записывается идентификатор REQ начала передачи. Кроме того, предусмотрен идентификатор VIEW переключения, который записывается, например, в двоичный разряд 8 регистра 703.
Процессор 102 абонентского устройства запрашивает данные коммуникационного объекта из памяти 300 сообщений путем записи идентификатора соответствующего требуемого сообщения, в частности номера требуемого коммуникационного объекта, после идентификатора OBRS в двоичные разряды 0-5 регистра 703. В процессе считывания, как и при записи, процессор абонентского устройства может считывать либо только данные KD заголовка сообщения, т.е. конфигурационные данные и данные о состоянии, из соответствующего участка сегмента заголовков, либо только полезные данные D сообщения из соответствующего участка сегмента данных, либо и те, и другие данные. То, какая часть данных, а именно заголовок и/или полезные данные, подлежит считыванию, определяется по аналогии с записью данных идентификаторами RHSS и RDSS. Иными словами, идентификатор RHSS указывает на то, что считыванию подлежат данные заголовка сообщения, а RDSS – на то, что считыванию подлежат содержащиеся в сообщении полезные данные.
Идентификатор начала передачи служит для инициирования процесса передачи данных из памяти сообщений в теневую память 700. То есть в простейшем случае использования однобитных идентификаторов путем установки бита REQ в двоичный разряд 9 относящегося к выходному буферу регистра 703 запроса команд запускается процесс передачи данных из памяти 300 сообщений в теневую память 700. На неоконченный процесс такой записи указывает дополнительный идентификатор доступа, в качестве которого в рассматриваемом простейшем случае используется однобитный идентификатор OBSYS, записываемый в регистр 703. Во избежание коллизий в предпочтительном варианте осуществления изобретения бит REQ может устанавливаться только при неустановленном бите OBSYS, соответственно только при условии отсутствия неоконченных процессов передачи. В этом случае затем происходит передача сообщений между памятью 300 сообщений и теневой памятью 700. Процесс такой передачи может либо управляться по аналогии с рассмотренным выше со ссылкой на фиг.4, 5 и 6 процессом записи (с дополняющим использованием регистров), либо осуществляться иначе с использованием дополнительного идентификатора, а именно идентификатора VIEW переключения, записываемого в двоичный разряд 8 регистра 703. Таким образом, после завершения процесса передачи бит OBSYS сбрасывается, и путем установки бита VIEW в относящийся к выходному буферу регистр 703 основная буферная память 701 и соответствующая ей теневая память 700 меняются местами, и соответственно к основной буферной памяти обращаются как к буферной и наоборот, после чего процессор 102 абонентского устройства может считать из памяти сообщений требуемый коммуникационный объект, т.е. может считать из основной буферной памяти 701 соответствующее сообщение. При этом, по аналогии с описанным со ссылкой на фиг.4-6 процессом записи, ячейки OBRS и OBRH регистра меняются местами. Аналогичным образом RHSS и RDSS меняются на RHSH и RDSH и наоборот. В качестве защитной меры может быть предусмотрена возможность установки бита VIEW только при неустановленном бите OBSYS, т.е. при отсутствии неоконченных процессов передачи.
В соответствии с этим считывание данных из памяти 300 сообщений осуществляется процессором 102 абонентского устройства через промежуточный выходной буфер 202. Этот выходной буфер, как и входной буфер, также выполнен раздвоенным, т.е. имеющим две части, что позволяет обеспечить возможность непрерывного доступа процессора 102 абонентского устройства к сохраненным в памяти 300 сообщений коммуникационным объектам. И в рассматриваемом случае предлагаемый в изобретении подход позволяет обеспечить целостность данных и ускорить их передачу.
Применение предлагаемых в изобретении входного и выходного буферов позволяет обеспечить бесперебойный доступ процессора абонентского устройства к памяти сообщений, несмотря на наличие у модуля внутренних времен задержки.
Для обеспечения вышеуказанной целостности данных передача данных, в частности осуществляемая в коммуникационном модуле 100, производится под управлением диспетчера 200 сообщений. Этот диспетчер 200 сообщений показан на фиг.10. Диспетчер сообщений по своей функциональности может быть представлен комбинацией конечных автоматов (англ. Finite-State-Maschine, FSM). При этом количество таких конечных автоматов в соответствии с изобретением не может быть меньше трех и предпочтительно равно четырем. Первый конечный автомат (на чертеже IOBF-FSM, от англ. Input/Output Buffer State Machine) обозначен на чертеже позицией 501. Этот конечный автомат в зависимости от направления передачи данных по отношению к входному или выходному буферам может разделяться на два конечных автомата – входной автомат IBF-FSM (англ. Input Buffer FSM) и выходной автомат OBF-FSM (англ. Output Buffer FSM), причем максимально представимое количество автоматов равно пяти (IBF-FSM, OBF-FSM, TBF1-FSM, TBF2-FSM и AFSM). Однако в предпочтительном варианте осуществления изобретения предусмотрен один общий входной/выходной автомат IOBF-FSM. Один по меньшей мере второй конечный автомат в рассматриваемом конкретном варианте осуществления изобретения разбит на два элемента 502 и 503 и описанным выше со ссылкой на фиг.2 образом работает с каналами А и В передачи данных, соответственно относится к буферам 205 и 206. В другом варианте один конечный автомат может работать с обоими каналами А и В, а в предпочтительном варианте предусмотрен один конечный автомат TBF1-FSM (от англ. Transient Buffer 1 (206, RAM A) State Machine) для канала А, обозначенный на чертеже позицией 502, и один конечный автомат TBF2-FSM (от англ. Transient Buffer 2 (205, RAM В) State Machine) для канала В, обозначенный на чертеже позицией 503.
Для управления доступом трех конечных автоматов 501-503 к памяти сообщений в предпочтительном варианте осуществления изобретения предусмотрен конечный автомат-арбитр AFSM, обозначенный на чертеже позицией 500. Данные (KD и/или D) передаются с непосредственной или опосредованной синхронизацией по тактовому сигналу, выдаваемому, например, генератором, управляемым напряжением (ГУН), кварцевым генератором тактовой частоты или другими устройствами, и обрабатываемому компонентом системы связи. Тактовый сигнал Т может либо формироваться внутри коммуникационного модуля, либо поступать извне, например, по шине передачи данных. Конечный автомат-арбитр AFSM 500 с чередованием, предпочтительно каждый раз на длительность одного периода Т тактовых импульсов, предоставляет одному из трех остальных конечных автоматов 501-503 доступ к памяти сообщений. Иными словами, свободное время обращения к памяти сообщений распределяется конечным автоматом-арбитром между отдельными конечными автоматами 501, 502 и 503 с учетом поступающих от последних запросов на предоставление им такого доступа. В случае, если такой запрос поступает лишь от одного конечного автомата, он получает доступ к памяти сообщений на 100% свободного времени доступа, т.е. на длительность периодов Т всех тактовых импульсов. В случае же поступления запросов сразу от двух конечных автоматов каждый из них получает доступ на 50% времени. При поступлении запросов сразу от трех конечных автоматов каждый из них получает доступ на 1/3 времени. Такой подход позволяет оптимально использовать доступную полосу пропускания.
Первый конечный автомат IOBF-FSM, обозначенный на чертеже позицией 501, может при необходимости выполнять следующие функции:
– передача данных из входного буфера 201 в выбранный коммуникационный объект в памяти 300 сообщений,
– передача данных из выбранного коммуникационного объекта в памяти 300 сообщений в выходной буфер 202.
Конечный автомат 502 для работы с каналом А передачи данных, т.е. конечный автомат TBF1FSM, выполняет следующие функции:
– передача данных из выбранного коммуникационного объекта в памяти 300 сообщений в буфер 206 канала А,
– передача данных из буфера 206 в выбранный коммуникационный объект в памяти 300 сообщений,
– поиск подходящего коммуникационного объекта в памяти сообщений, причем при получении сообщения по каналу А с использованием фильтрации по критерию допустимости производится поиск коммуникационного объекта (во входном буфере), пригодного для сохранения этого сообщения, а при передаче -поиск следующего подлежащего передаче по каналу А коммуникационного объекта (в выходном буфере).
Аналогичным образом функционирует и конечный автомат TBF2-FSM, т.е. конечный автомат для работы с каналом В, обозначенный на чертеже позицией 503. Этот конечный автомат обеспечивает передачу данных в обоих направлениях между выбранным коммуникационным объектом в памяти 300 сообщений и буфером 205 канала В. Этот конечный автомат тоже, по аналогии с конечным автоматом TBF1-FSM, способен осуществлять поиск подходящего коммуникационного объекта в памяти сообщений, причем при получении сообщения по каналу В с использованием фильтрации по критерию допустимости производится поиск коммуникационного объекта (во входном буфере), пригодного для сохранения этого сообщения, а при передаче – поиск следующего подлежащего передаче по каналу В коммуникационного объекта (в выходном буфере).
На фиг.11 еще раз изображены процессы и тракты передачи данных. Передача данных между отдельными элементами осуществляется под управлением трех конечных автоматов 501-503. При этом позицией 102 опять обозначен процессор абонентского устройства, позицией 201 – входной буфер, а позицией 202 – выходной буфер. Позицией 300 обозначена память сообщений, а оба буфера, относящихся к каналам А и В, обозначены позициями 206 и 205 соответственно. На чертеже также показаны интерфейсные модули 207 и 208. Первый конечный автомат IOBF-FSM, обозначенный позицией 501, управляет передачей данных в направлениях Z1A и Z1B, т.е. передачей данных из входного буфера 201 в память 300 сообщений и из памяти 300 сообщений в выходной буфер 202. При этом обмен данными осуществляется по 32-битным или имеющим любую иную разрядность шинам данных. То же самое относится к передаче данных в направлении Z2 между памятью сообщений и буфером 206. Эта передача данных осуществляется под контролем конечного автомата TBF1-FSM, обозначенного на чертеже позицией 502 и отвечающего за работу с каналом А. Передача данных в направлении Z3 между памятью 300 сообщений и буфером 205 осуществляется под контролем конечного автомата TBF2-FSM, обозначенного на чертеже позицией 503. И в этом случае обмен данных осуществляется по 32-битным или имеющим любую иную разрядность шинам данных. Обычно передача целого коммуникационного объекта в указанных направлениях, соответственно по указанным трактам передачи данных, занимает несколько периодов Т тактовых импульсов. По этой причине конечным автоматом-арбитром AFSM, обозначенным на чертеже позицией 500, осуществляется распределение времени передачи, соответственно используемых для передачи периодов Т тактовых импульсов. Таким образом, на фиг.11 изображены тракты передачи данных между элементами памяти, работающими под управлением диспетчера сообщений. Для обеспечения целостности сохраненных в памяти сообщений коммуникационных объектов передача данных предпочтительно осуществляется в каждый конкретный момент времени лишь по одному из показанных на чертеже трактов Z1A и Z1B, а также Z2 и Z3 передачи данных.
На фиг.12 в качестве примера показан вариант осуществления изобретения, в котором доступные периоды Т системного тактового сигнала распределяются конечным автоматом-арбитром AFSM, обозначенным на чертеже позицией 500, между тремя конечными автоматами, каждый из которых может выдавать запросы на доступ к памяти сообщений. На стадии 1 такие запросы выдаются конечными автоматами 501 и 502, соответственно все доступное время доступа делится между ними пополам. Применительно к периодам тактового сигнала это означает, что на стадии 1 конечный автомат 501 получает доступ к памяти сообщений на длительность периодов Т1 и Т3, а конечный автомат 502 – на длительность периодов Т2 и Т4 тактового сигнала. В течение стадии 2 такой запрос поступает только от конечного автомата 501, соответственно он получает доступ к памяти сообщений в течение всей этой стадии, т.е. на длительность всех относящихся к ней периодов Т5-Т7 тактового сигнала. На стадии 3 запросы поступают от всех конечных автоматов 501-503, соответственно каждому из них выделяется треть от всего доступного времени доступа. При этом конечный автомат-арбитр AFSM распределяет время доступа, например, таким образом, что на длительность периодов Т8 и Т11 тактового сигнала доступ предоставляется конечному автомату 501, на длительность периодов Т9 и Т12 – конечному автомату 502, и на длительность периодов Т10 и Т13 – конечному автомату 503. На заключительной стадии 4 доступ осуществляется двумя конечными автоматами 502 и 503 по обоим каналам А и В коммуникационного модуля, причем время доступа распределяется таким образом, что на длительность периодов Т14 и Т16 тактового сигнала доступ предоставляется конечному автомату 502, а на длительность периодов Т15 и Т17 – конечному автомату 503.
В соответствии с этим конечный автомат-арбитр AFSM, обозначенный на чертеже позицией 500, в случае, когда более чем один конечный автомат выдает запрос на получение им обращения к памяти 300 сообщений, распределяет доступное время доступа между такими выдавшими запрос конечными автоматами попеременно, целыми периодами тактового сигнала. Такой подход позволяет обеспечить целостность хранящихся в памяти сообщений коммуникационных объектов, т.е. позволяет обеспечить целостность данных. В случае, когда, например, процессору 102 абонентского устройства требуется считать с использованием выходного буфера 202 коммуникационный объект непосредственно во время записи в этот объект принимаемого сообщения, то, в зависимости от приоритета, происходит считывание либо старого, либо обновленного содержимого коммуникационного объекта, причем ни в том, ни в другом случае не происходит конфликта, связанного с одновременным обращением к этому содержащемуся в памяти сообщений коммуникационному объекту для чтения и записи.
Предлагаемый в изобретении способ позволяет процессору абонентского устройства, не прерывая работы, считывать или записывать любой коммуникационный объект в памяти сообщений, причем на время чтения или записи доступ к этому объекту по любому из двух каналов шины FlexRay не блокируется. Одновременно с этим за счет потактового распределения прав доступа обеспечивается целостность данных, сохраненных в памяти сообщений, а также повышение скорости передачи данных, достигаемое в том числе и за счет использования всей доступной полосы пропускания.
Формула изобретения
1. Способ обращения к памяти (300) сообщений коммуникационного модуля (100) в режимах ввода данных в память (300) сообщений или вывода данных из нее, причем память сообщений связана с буферным запоминающим устройством (201 и 202), и данные передают в первом направлении – в память сообщений, и во втором направлении – из памяти сообщений, отличающийся тем, что для данных, передаваемых в первом направлении, буферное запоминающее устройство имеет входной буфер (201), а для данных, передаваемых во втором направлении, – выходной буфер (202), причем каждый из двух буферов: входной и выходной, разбит на две части, а именно на основную буферную память (400, 701) и относящуюся к ней теневую память (401, 700), а при передаче данных в каждом из указанных направлений выполняют следующие действия: вводят данные в соответствующую основную буферную память и переключаются между режимами обращения к основной буферной памяти и к теневой памяти с возможностью ввода последующих данных в теневую память и одновременного вывода из основной буферной памяти уже введенных в нее данных в предусмотренном направлении.
2. Способ по п.1, отличающийся тем, что переключение между режимами обращения к основной буферной памяти и к теневой памяти отображают посредством идентификатора.
3. Способ по п.1, отличающийся тем, что переключение между режимами обращения к основной буферной памяти и к теневой памяти инициируют посредством идентификатора.
4. Способ по п.1, отличающийся тем, что передачу данных осуществляют в виде сообщений, которым присваивают идентификаторы (IBRH, IBRS, OBRH, OBRS) сообщения, причем переключение между режимами обращения к основной буферной памяти и к теневой памяти осуществляют при записи идентификатора сообщения в задаваемый регистр (403, 404, 703, 704).
5. Способ по п.1, отличающийся тем, что передачу данных осуществляют в виде сообщений, а содержащиеся в сообщении данные разделены по меньшей мере на первые данные (KD) и вторые данные (D), причем в зависимости по меньшей мере от одного идентификатора (LHSH, LDSH, LDSS, LHSS, RHSS, RDSS, RDSH, RHSH) данных передают либо только первые данные (KD), либо только вторые данные (D), либо как первые, так и вторые данные.
6. Способ по п.1, отличающийся тем, что доступ к данным отображают посредством идентификатора (IBSYS, IBSYH, OBSYS) доступа, который записывают в регистр.
7. Способ по п.5, отличающийся тем, что по самому идентификатору (IBSYS, IBSYH, OBSYS) доступа или по его местоположению в регистре можно определить, к какой именно основной буферной памяти или к какой именно теневой памяти осуществляется обращение.
8. Способ по пп.3, 4 или 5, отличающийся тем, что при переключении между режимами обращения также меняют местами по меньшей мере некоторые записи в регистрах, в частности идентификаторы.
9. Способ по п.1, отличающийся тем, что переключение между режимами обращения к основной буферной памяти и к теневой памяти инициируют посредством идентификатора (VIEW) переключения.
10. Способ по п.1, отличающийся тем, что при наличии данных, подлежащих записи в память, по меньшей мере для одного направления передачи данных в регистр записывают идентификатор (STXRH, REQ) начала передачи.
11. Способ обращения к памяти (300) сообщений, предусматривающий применение буферной памяти (201, 202), отличающийся тем, что буферная память разбита на основную буферную память (400, 701) и относящуюся к ней теневую память (401, 700), а при обращении к памяти выполняют следующие действия: вводят данные в основную буферную память и переключаются между режимами обращения к основной буферной памяти и к теневой памяти с возможностью ввода последующих данных в теневую память и одновременного вывода из основной буферной памяти уже введенных в нее данных.
12. Буферное запоминающее устройство для обращения к памяти (300) сообщений коммуникационного модуля (100), отличающееся тем, что оно разбито на входной (201) и выходной (202) буферы, входной буфер (201) содержит первую основную буферную память (400) и относящуюся к ней первую теневую память (401), а выходной буфер (202) содержит вторую основную буферную память (701) и относящуюся к ней вторую теневую память (700), причем предусмотрены первые средства, обеспечивающие переключение между режимами обращения к первой основной буферной памяти (400) и к первой теневой памяти (401), и вторые средства, обеспечивающие переключение между режимами обращения ко второй основной буферной памяти (701) и ко второй теневой памяти (700).
13. Буфер (201, 202) для обращения к памяти (300) сообщений коммуникационного модуля (100), отличающийся тем, что он содержит основную буферную память (400, 701) и относящуюся к ней теневую память (401, 700), причем предусмотрены средства, обеспечивающие переключение между режимами обращения к основной буферной памяти (400, 701) и к теневой памяти (401, 700).
14. Коммуникационный модуль, содержащий буферное запоминающее устройство по п.12.
15. Коммуникационный модуль, содержащий буфер по п.13.
РИСУНКИ
|
|