|
|
(21), (22) Заявка: 2007143598/09, 28.04.2006
(24) Дата начала отсчета срока действия патента:
28.04.2006
(30) Конвенционный приоритет:
29.04.2005 US 60/676,276
(43) Дата публикации заявки: 10.06.2009
(46) Опубликовано: 27.12.2009
(56) Список документов, цитированных в отчете о поиске:
ЕР 0936751 А2, 18.08.1999. RU 2114508 C1, 27.06.1998. ЕР 1032237 A1, 30.08.2000. WO 01/61884 A1, 23.08.2001. US 6259927 A, 10.07.2001.
(85) Дата перевода заявки PCT на национальную фазу:
29.11.2007
(86) Заявка PCT:
IB 2006/001065 20060428
(87) Публикация PCT:
WO 2006/117629 20061109
Адрес для переписки:
191036, Санкт-Петербург, а/я 24, “НЕВИНПАТ”, пат.пов. А.В.Поликарпову
|
(72) Автор(ы):
КАЙККОНЕН Йорма (FI), НИЕЛСЕН Сари (FI), ГРОВЛЕН Асбьорн (NO)
(73) Патентообладатель(и):
Нокиа Корпорейшн (FI)
|
(54) УСТРОЙСТВО, СПОСОБ И КОМПЬЮТЕРНАЯ ПРОГРАММА, ОБЕСПЕЧИВАЮЩИЕ УПРАВЛЕНИЕ МОЩНОСТЬЮ УСОВЕРШЕНСТВОВАННОГО ЧАСТИЧНО ВЫДЕЛЕННОГО ФИЗИЧЕСКОГО КАНАЛА НИСХОДЯЩЕЙ ЛИНИИ ВО ВРЕМЯ МЯГКОЙ ПЕРЕДАЧИ УПРАВЛЕНИЯ
(57) Реферат:
Изобретение относится к системам связи. Техническим результатом является устранение нежелательного увеличения мощности обнаружимых ячеек. Для этого способ включает установление первой радиолинии с обслуживающим объектом сети и второй радиолинии с целевым объектом сети, осуществление мягкой передачи управления от обслуживающего объекта сети целевому объекту сети, получение целевого показателя качества из сети, включающей обслуживающий и целевой объекты сети, и применение целевого показателя качества только к первой радиолинии для формирования команды управления мощностью. 6 н. и 19 з.п. ф-лы, 2 ил.
Область техники
Варианты осуществления этого изобретения в широком смысле касаются цифровых сотовых систем связи, способов, терминалов и компьютерных программ, а в более узком смысле изобретение относится к пакетной передаче данных для переключения терминала от ячейки, обслуживающей терминал в настоящее время, к следующей обслуживающей ячейке.
Уровень техники
Следующие сокращения, по крайней мере некоторые из которых используются ниже, расшифровываются следующим образом:
Пакетная передача данных в системе UTRA FDD (WCDMA) описана в выпуске 6 технических спецификаций 3GPP TS 25.214 с поддержкой частичного выделенного физического канала F-DPCH и с поддержкой канала сигнализации SRB, преобразуемого в высокоскоростной совместно используемый канал HS-DSCH нисходящей линии.
Для уменьшения использования кодов при развертывании высокоскоростной нисходящей линии с пакетным доступом HSDPA был внедрен частичный выделенный физический канал F-DPCH. С помощью канала F-DPCH устанавливается новый целевой показатель качества для выработки абонентским оборудованием команд управления мощностью передачи в нисходящей линии связи. А именно, когда понятие частичного выделенного физического канала (F-DPCH) было первоначально одобрено, было решено, что выработка команд управления мощностью в нисходящей линии связи должна быть основана на целевом показателе качества, который использует целевое значение частоты ошибок, передаваемое в команде управления мощностью нисходящей линии для канала F-DPCH. Однако проблема того, должен ли критерий качества быть удовлетворен для всех линий радиосвязи при мягкой передаче управления, была оставлена для дальнейшего исследования.
Одно из предшествующих предложений в этой области (RI-050098, управление мощностью нисходящей линии с помощью канала F-DPCH, Ericsson) включает обеспечение целевого показателя качества для всех линий радиосвязи в активном наборе. Однако это может привести к избыточной мощности, используемой при передаче канала F-DPCH. В больших активных наборах некоторые из ячеек (сот) обычно не обнаружимы и выполнение качественных критериев для необнаружимой ячейки или ячеек будет являться причиной нежелательного увеличения мощности обнаружимых ячеек.
Сущность изобретения
В соответствии с вариантами осуществления изобретения решаются вышеуказанные и другие проблемы, а также реализуются другие преимущества.
В соответствии с вариантом осуществления изобретения способ включает установление первой радиолинии с обслуживающим объектом сети и второй радиолинии с целевым объектом сети, начало мягкой передачи управления от обслуживающего объекта сети целевому объекту сети, получение целевого показателя качества из сети, включающей обслуживающий объект сети и целевой объект сети, и применение целевого показателя качества только в первой радиолинии для выработки команды управления мощностью.
В соответствии с другим вариантом осуществления изобретения способ включает установление первой радиолинии между обслуживающим объектом сети и абонентским оборудованием и второй радиолинии между целевым объектом сети и абонентским оборудованием, начало мягкой передачи управления от обслуживающего объекта сети целевому объекту сети, передачу целевого показателя качества из сети, включающей обслуживающий объект сети и целевой объект сети, и получение команды управления мощностью от абонентского оборудования в ответ на передачу целевого показателя качества с использованием только первой радиолинии.
В соответствии с другим вариантом осуществления изобретения мобильный терминал включает беспроводной приемопередатчик, процессор, подсоединенный к беспроводному приемопередатчику, и устройство памяти, подсоединенное к процессору для хранения набора инструкций, выполняемых процессором для получения целевого показателя качества и применения целевого показателя качества только к радиолинии канала F-DPCH с обслуживающей ячейкой высокоскоростного совместно используемого канала HS-DSCH нисходящей линии связи, чтобы выработать команду управления мощностью.
В соответствии с другим вариантом осуществления изобретения программа из машиночитаемых инструкций, физически помещенная на носителе информации и исполняемая цифровым процессором, выполняет действия, направленные на переключение мобильного терминала между объектами сети и включающие установление первой радиолинии с обслуживающим объектом сети и второй радиолинии с целевым объектом сети, начало осуществления мягкой передачи управления от обслуживающего объекта сети целевому объекту сети, получение целевого показателя качества из сети, включающей обслуживающий объект сети и целевой объект сети, и применение целевого показателя качества только к первой радиолинии для выработки команды управления мощностью.
В соответствии с другим вариантом осуществления изобретения элемент сети включает антенну, приемопередатчик, подсоединенный к антенне, процессор, подсоединенный к приемопередатчику, и устройство памяти, подсоединенное к процессору для хранения набора инструкций, выполняемых процессором для приема целевого показателя качества и применения целевого показателя качества только к радиолинии F-DPCH с обслуживающей ячейкой HS-DSCH для выработки команды управления мощностью.
В соответствии с другим вариантом осуществления изобретения система радиосвязи включает обслуживающий элемент сети, включающий первый приемопередатчик, первый цифровой процессор и первое устройство памяти, подсоединенные друг к другу и формирующие беспроводным способом первую радиолинию с мобильным терминалом; целевой элемент сети включает второй приемопередатчик, второй цифровой процессор и второе устройство памяти, подсоединенные друг к другу и формирующие беспроводным способом вторую радиолинию с мобильным терминалом, в свою очередь мобильный терминал включает третий приемопередатчик, третий цифровой процессор и третье устройство памяти, подсоединенные друг к другу и сконфигурированные так, чтобы беспроводным способом и одновременно принимать первую и вторую радиолинии, получать целевой показатель качества из сети, включающей обслуживающий объект сети и целевой объект сети, и применять целевой показатель качества только к первой радиолинии для выработки команды управления мощностью.
В соответствии с другим вариантом осуществления изобретения устройство включает элемент для установки первой радиолинии с обслуживающим объектом сети и второй радиолинии с целевым объектом сети, элемент для осуществления мягкой передачи управления от обслуживающего объекта сети целевому объекту сети, элемент для получения целевого показателя качества из сети, включающей обслуживающий объект сети и целевой объект сети, и элемент для применения целевого показателя качества только в первой радиолинии для выработки команды управления мощностью.
В соответствии с другим вариантом осуществления изобретения интегральная схема включает элемент для того, чтобы получать от сети UTRAN целевой показатель качества, включающий целевое значение частоты ошибок, передаваемое в команде управления мощностью нисходящей линии, для канала F-DPCH, принадлежащего радиолинии от обслуживающей ячейки HS-DSCH, элемент для установки целевого отношения сигнал/помеха и элемент для регулировки целевого отношения сигнал/помеха для достижения целевого показателя качества.
В соответствии с другим вариантом осуществления изобретения программа из машиночитаемых инструкций, физически помещенная на носителе информации и исполняемая цифровым процессором, выполняет действия, направленные на переключение мобильного терминала между объектами сети, эти действия включают получение от сети UTRAN целевого показателя качества, включающего целевое значение частоты ошибок, передаваемое в команде управления мощностью нисходящей линии, для канала F-DPCH, принадлежащего радиолинии от обслуживающей ячейки HS-DSCH, установку целевого отношения сигнал/помеха и регулировку целевого отношения сигнал/помеха для достижения целевого показателя качества.
Краткое описание чертежей
Вышеупомянутые и другие аспекты вариантов осуществления этого изобретения станут более очевидными из приведенного ниже подробного описания с поясняющими чертежами.
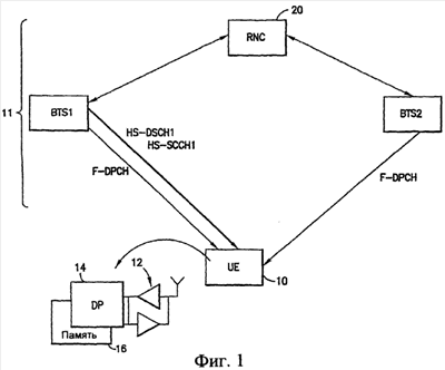
Фиг.1 иллюстрирует упрощенную блок-схему, включающую большинство элементов, используемых для осуществления этого изобретения.
Фиг.2 иллюстрирует схему варианта осуществления одного из способов изобретения.
Подробное описание
На фиг.1 проиллюстрирована упрощенная блок-схема, включающая большинство элементов, используемых для осуществления этого изобретения, такие как терминал 10 высокоскоростной нисходящей линии связи с пакетным доступом HSDPA, также называющийся абонентским оборудованием 10, первая (обслуживающая терминал в настоящее время) базовая станция BTS1 и вторая (целевая) базовая станция BTS2.
Здесь базовая станция предполагается, но это не является ограничением этого изобретения, функциональным эквивалентом узла В согласно спецификациям 25 серии 3GPP. Также в этом изобретении неважно, является ли передача управления межсотовой или внутрисотовой. В общем случае полагается, что передача управления относится к смене ячейки терминалом 10 высокоскоростной нисходящей линии связи с пакетным доступом HSDPA.
Как проиллюстрировано на фиг.1, терминал 10 HSDPA включает подходящий беспроводной приемопередатчик 12, подсоединенный к процессору данных 14 (DP), который в свою очередь включает или подсоединяется к энергозависимой и/или энергонезависимой памяти 16. Процессор 14 данных может быть интегральной схемой, действующей на компьютерной микросхеме. Устройство памяти 16 хранит управляющую программу, которая выполняется процессором 14, для работы с базовыми станциями BTS1 и BTS2, включая управляющую программу, которая предусматривается для реализации терминала 10 HSDPA согласно этому изобретению. Хотя это и не показано, считается, что базовые станции построены по одинаковому принципу. Контроллер радиосети RNC 20 также включает процессор данных DP и устройство памяти, которое хранит управляющую программу, выполняемую процессором данных DP контроллера радиосети RNC 20. Исходный узел В (BTS 1), целевой узел В (BTS2) и контроллер радиосети RNC 20 могут считаться элементами сети UTRAN 11.
В общем случае различные варианты терминала 10 HSDPA, также упоминаемого здесь как абонентское оборудование 10, могут включать, но не ограничиваются этим, мобильные телефоны, карманные компьютеры (PDA), имеющие возможность радиосвязи, портативные компьютеры, имеющие возможности радиосвязи, устройства записи изображений, подобные цифровым камерам, имеющие возможности радиосвязи, игровые устройства, имеющие возможности радиосвязи, устройства хранения и воспроизведения музыки, имеющие возможности радиосвязи, бытовые устройства, позволяющие осуществлять беспроводной доступ в Интернет и просмотр файлов, а также переносные устройства или терминалы, которые совмещают комбинации таких функций.
В соответствии с вариантом осуществления этого изобретения усовершенствование процесса смены обслуживающей ячейки HSDPA в течение процедуры мягкой передачи управления, когда абонентское оборудование 10 одновременно получает два (или более) сигнала нисходящей линии связи, включает усовершенствование характеристик абонентского оборудования 10 для выработки команд управления мощностью канала F-DPCH в случае, если активны многочисленные линии радиосвязи с каналом F-DPCH. Конкретнее, вариант осуществления этого изобретения определяет операции, с помощью которых идентифицируется линия (линии) радиосвязи, для которой (которых) абонентское оборудование 10 использует целевой показатель качества в случае, если канал F-DPCH используется в условиях мягкой передачи управления.
Как отмечалось ранее, использование целевого показателя качества для всех радиолиний в активном наборе линий связи гарантирует, что будет принята во внимание радиолиния из обслуживающей ячейки канала HS-DSCH, когда абонентское оборудование 10 определяет команды управления мощностью. Однако такой порядок действий может привести к использованию чрезмерной мощности для передачи по каналу F-DPCH. В больших активных наборах некоторые из ячеек обычно не обнаружимы и использование критериев качества для таких сигналов излишне повышает мощность обнаружимых ячеек.
Если необходимо обеспечить целевой показатель качества только для одной из радиолиний, то осуществление управления мощностью типично должно основываться на целевом показателе качества самой мощной линии связи. Проблема возникает, когда самая мощная линия связи не является линией связи обслуживающей ячейки канала HS-DSCH. Поскольку критерии отказа радиолинии основываются, по крайней мере частично, на базисных элементах синхронизации, ожидаемых от канала F-DPCH обслуживающей ячейки канала HS-DSCH, важно, чтобы управление мощностью могло регулировать мощность канала F-DPCH от обслуживающей ячейки канала HS-DSCH.
В соответствии с вариантом осуществления этого изобретения абонентское оборудование 10 вырабатывает команды управления мощностью, применяя целевой показатель качества только к радиолинии обслуживающей ячейки канала HS-DSCH. Этот способ совместим с обработкой критериев синхронизации нисходящей линии с помощью канала F-DPCH, который оценивается исключительно на базе параметра качества в полученной команде управления мощностью от обслуживающей ячейки канала HS-DSCH. Когда абонентское оборудование 10 вырабатывает команды управления мощностью так, чтобы обеспечивалось качество обслуживания обслуживающей ячейки канала HS-DSCH, базисные элементы синхронизации нисходящей линии связи могут использоваться для получения преимущества при индикации качества обслуживающей ячейки канала HS-DSCH.
Также может использоваться автономный критерий отказа радиолинии абонентского оборудования 10, предпочтительно основанный на базисных элементах синхронизации нисходящей линии связи. Кроме того, в сети UTRAN известно, к какому узлу В абонентское оборудование 10 направляет свое управление мощностью, что позволяет принять во внимание команду управления мощностью в других радиолиниях, если это потребуется.
На фиг.2 проиллюстрирован вариант осуществления одного из способов изобретения. На шаге А абонентское оборудование 10 начинает выполнять мягкую передачу управления. В это время абонентское оборудование 10 установило по крайней мере одну радиолинию с базовой станцией 1 (обслуживающая ячейка канала HS-DSCH) и по крайней мере одну радиолинию с базовой станцией 2 (целевая ячейка). На шаге В сеть UTRAN 11 устанавливает целевой показатель качества для канала F-DPCH. На шаге С сеть UTRAN 11 передает целевой показатель качества для его приема абонентским оборудованием 10, которое получает целевой показатель качества на шаге D. Абонентское оборудование 10 автономно устанавливает целевое отношение сигнал/помеха и регулирует его, чтобы достигнуть того же качества, что и целевой показатель качества, установленный сетью UTRAN 11. Целевой показатель качества установлен как целевое значение частоты ошибок, передаваемое в команде управления мощностью, для канала F-DPCH, принадлежащего радиолинии от обслуживающей ячейки канала HS-DSCH, как сообщено сетью UTRAN 11. Абонентское оборудование 10 устанавливает целевое отношение сигнал/помеха, когда канал F-DPCH установлен или переконфигурирован. Абонентское оборудование 10 не увеличивает целевое отношение сигнал/помеха, пока управление мощностью не будет сведено к текущему значению мощности. Абонентское оборудование 10 может оценить, сведено ли управление мощностью к текущему значению мощности, сравнивая среднее значение измеренных отношений сигнал/помеха с целевым значением сигнал/помеха. Наконец на шаге Е абонентское оборудование 10 вырабатывает команды управления мощностью, применяя целевой показатель качества только к радиолинии от обслуживающей ячейки канала HS-DSCH. В то время как вышеизложенный вариант осуществления описывает инициирование мягкой передачи управления, предшествующее передаче сигналов целевого показателя качества для канала F-DPCH к абонентскому оборудованию, порядок этих шагов может отличаться от порядка, описанного и проиллюстрированного на фиг.2.
Для учета параметра качества команд управления мощностью от всех каналов F-DPCH в рамках этого изобретения необслуживающим ячейкам разрешается использовать сдвиг мощности в нисходящей линии связи.
Преимущества, которые появляются в результате использования изобретения, включают следующие составляющие, но не ограничены ими: обеспечение достаточной мощности от обслуживающей ячейки канала HS-DSCH и совместимость с критерием отказа радиолинии для канала F-DPCH. Более того, сеть не расходует впустую мощность на те радиолинии в активном наборе, которые являются необнаружимыми.
Основываясь на предшествующем описании вариантов этого изобретения, нужно принимать во внимание, что изобретение касается устройства, способов и компьютерной программы для управления абонентским оборудованием 10 так, чтобы оно могло выполнить передачу управления от обслуживающей ячейки целевой ячейке путем выработки абонентским оборудованием команд управления мощностью, с использованием целевого показателя качества только для радиолинии от обслуживающей ячейки канала HS-DSCH.
Предшествующее описание обеспечивает посредством типичных и не ограничивающих изобретение примеров полное и информативное описание лучшего способа и устройства, в настоящее время известных изобретателям, для осуществления изобретения. Однако различные модификации и усовершенствования могут быть очевидны для специалистов в рамках предшествующего описания с прилагаемыми чертежами и формулой изобретения. Однако все эти и подобные им модификации этого изобретения будут все еще находиться в его рамках.
Вообще различные варианты могут быть осуществлены аппаратными средствами или схемами специального назначения, программным обеспечением, логическими устройствами или любой комбинацией вышеперечисленных устройств. Например, некоторые аспекты могут быть осуществлены в аппаратных средствах, в то время как другие аспекты могут быть осуществлены в программно-аппаратных средствах или в программном обеспечении, которое может быть выполнено устройством управления, микропроцессором или другим устройством компьютера, хотя изобретение не ограничено этим. В то время как различные аспекты изобретения могут быть проиллюстрированы и описаны как блок-схемы, схемы последовательности действий или с использованием любого другого графического представления, понятно, что эти блоки, устройство, системы, способы или методы, описанные здесь, могут быть реализованы аппаратными средствами, программным обеспечением, программно-аппаратными средствами, схемами специального назначения или логическими устройствами, аппаратными средствами, или контроллерами общего назначения, или другими компьютерными устройствами, или любой комбинацией вышеперечисленных устройств.
Варианты изобретения могут быть осуществлены на практике с помощью различных элементов, таких как модули на интегральных схемах. Проектирование интегральных схем – это высокоавтоматизированный процесс. В распоряжении разработчиков имеются сложные и мощные инструменты программного обеспечения, чтобы преобразовать схемы логического уровня в полупроводниковые схемы, готовые к травлению и формированию на полупроводниковой подложке.
Такие программы, как разработанные Synopsys, Inc. Маунтейн Вью, Калифорния и Cadence Design, Сан-Хосе, Калифорния, автоматически прокладывают дорожки из проводников и определяют местоположение компонентов на полупроводниковой интегральной схеме, используя хорошо разработанные правила проектирования, а также библиотеки предварительно записанных в память модулей проектирования. Как только проектирование полупроводниковой схемы завершено, итоговое конструктивное решение в стандартизированном электронном формате (например, Opus, GDSII или подобном) может быть передано предприятиям полупроводникового производства для изготовления.
Различные модификации и усовершенствования изобретения очевидны для специалистов из предшествующего описания с прилагаемыми чертежами. Однако любая модификация этого изобретения все еще находится в рамках вариантов этого изобретения.
Кроме того, некоторые из признаков различных вариантов этого изобретения могут использоваться без соответствующего использования других признаков. По существу, предшествующее описание нужно рассматривать как простое объяснение принципов, идей и вариантов осуществления этого изобретения и не ограничиваться им.
Формула изобретения
1. Способ переключения терминала от текущей обслуживающей ячейки к следующей обслуживающей ячейке, включающий установление первой радиолинии с обслуживающим объектом сети и второй радиолинии с целевым объектом сети; начало мягкой передачи управления от указанного обслуживающего объекта сети указанному целевому объекту сети; получение целевого показателя качества из сети, включающей обслуживающий и целевой объекты сети и применение вышеупомянутого целевого показателя качества только к указанной первой радиолинии для выработки команды управления мощностью.
2. Способ по п.1, в котором указанная мягкая передача управления характеризуется одновременным приемом первого совместно используемого канала от указанного обслуживающего объекта сети и второго совместно используемого канала от указанного целевого объекта сети.
3. Способ по п.1, в котором указанные первая и вторая радиолинии являются радиолиниями частичного выделенного физического канала, а указанный обслуживающий объект сети является обслуживающей ячейкой высокоскоростного совместно используемого канала нисходящей линии связи.
4. Способ по п.3, в котором указанный целевой показатель качества включает целевое значение частоты ошибок, передаваемое в команде управления мощностью нисходящей линии, для указанной первой радиолинии.
5. Способ по п.1, далее включающий задание целевого значения отношения сигнал/помеха и корректировку указанного целевого значения отношения сигнал/помеха для достижения качества сигнала, равного указанному целевому показателю качества.
6. Способ по п.1, также включающий передачу указанной команды управления мощностью.
7. Способ переключения терминала от текущей обслуживающей ячейки к следующей обслуживающей ячейке, включающий установление первой радиолинии между обслуживающим объектом сети и абонентским оборудованием и второй радиолинии между целевым объектом сети и указанным абонентским оборудованием; начало мягкой передачи управления от указанного обслуживающего объекта сети указанному целевому объекту сети; передачу целевого показателя качества из сети, включающей указанный обслуживающий объект сети и указанный целевой объект сети, и получение от указанного абонентского оборудования команды управления мощностью, сформированной в ответ на указанную передачу указанного целевого показателя качества, с использованием только указанной первой радиолинии.
8. Способ по п.7, в котором указанная сеть является сетью наземного радиодоступа универсальной системы мобильной связи.
9. Способ по п.7, в котором указанная мягкая передача управления характеризуется одновременной передачей первого совместно используемого канала от указанного обслуживающего объекта сети и второго совместно используемого канала от указанного целевого объекта сети.
10. Способ по п.7, в котором указанные первая и вторая радиолинии являются радиолиниями частичного выделенного физического канала, а указанный обслуживающий объект сети является обслуживающей ячейкой высокоскоростного совместно используемого канала нисходящей линии связи.
11. Способ по п.7, в котором указанный целевой показатель качества включает целевое значение частоты ошибок, передаваемое в команде управления мощностью нисходящей линии, для указанной первой радиолинии.
12. Мобильный терминал, включающий процессор, и устройство памяти для хранения набора инструкций, выполняемых процессором, для приема целевого показателя качества и применения указанного целевого показателя качества только к радиолинии частичного выделенного физического канала обслуживающей ячейки высокоскоростного совместно используемого канала нисходящей линии связи, чтобы выработать команду управления мощностью.
13. Мобильный терминал по п.12, в котором указанные инструкции служат для установки целевого отношения сигнал/помеха и корректировки указанного целевого отношения сигнал/помеха так, чтобы достигнуть качества сигнала, равного указанному целевому показателю качества.
14. Мобильный терминал по п.13, в котором инструкции также вызывают передачу передатчиком мобильного терминала указанной команды управления мощностью.
15. Мобильный терминал по п.12, который также содержит беспроводной приемопередатчик для передачи команды управления мощностью.
16. Носитель информации, на котором физически помещена программа из машиночитаемых инструкций, при исполнении которой цифровой процессор выполняет действия, направленные на переключение мобильного терминала между объектами сети, причем указанные действия включают установление первой радиолинии с обслуживающим объектом сети и второй радиолинии с целевым объектом сети; начало мягкой передачи управления от указанного обслуживающего объекта сети указанному целевому объекту сети; получение целевого показателя качества из сети, включающей обслуживающий и целевой объекты сети и применение целевого показателя качества только к указанной первой радиолинии для выработки команды управления мощностью.
17. Носитель информации по п.16, в котором действия также включают передачу указанной команды управления мощностью.
18. Носитель информации по п.16, в котором указанная мягкая передача управления характеризуется одновременным приемом первого совместно используемого канала от указанного обслуживающего объекта сети и второго совместно используемого канала от указанного целевого объекта сети.
19. Носитель информации по п.16, в котором указанный целевой показатель качества включает целевое значение частоты ошибок, передаваемое в команде управления мощностью нисходящей линии, для указанной первой радиолинии.
20. Носитель информации по п.16, в котором действия также включают установку целевого значения отношения сигнал/помеха и корректировку указанного целевого значения отношения сигнал/помеха для достижения качества сигнала, равного указанному целевому показателю качества.
21. Абонентское оборудование, включающее средства для установления первой радиолинии с обслуживающим объектом сети и второй радиолинии с целевым объектом сети; средства для начала мягкой передачи управления от указанного обслуживающего объекта сети указанному целевому объекту сети; средства для получения целевого показателя качества из сети, включающей обслуживающий и целевой объекты сети, и средства для применения указанного целевого показателя качества только к указанной первой радиолинии для выработки команды управления мощностью.
22. Абонентское оборудование по п.21, в котором указанные средства для применения целевого показателя качества служат для установки целевого отношения сигнал/помеха и для корректировки указанного целевого отношения сигнал/помеха так, чтобы достигнуть качества сигнала, равного указанному целевому показателю качества.
23. Абонентское оборудование по п.21, также содержащее передатчик для передачи указанной команды управления мощностью.
24. Абонентское оборудование по п.21 в котором указанные средства установления, начала, получения и применения включают процессор данных.
25. Интегральная схема, включающая средства для получения от сети наземного радиодоступа универсальной системы мобильной связи целевого показателя качества, включающего целевое значение частоты ошибок, передаваемое в команде управления мощностью нисходящей линии, для частичного выделенного физического канала, принадлежащего радиолинии от обслуживающей ячейки высокоскоростного совместно используемого канала нисходящей линии связи; средства для установки целевого значения отношения сигнал/помеха и средства корректировки целевого значения отношения сигнал/помеха для применения указанного целевого показателя качества только к указанной радиолинии частичного выделенного физического канала обслуживающей ячейки высокоскоростного совместно используемого канала нисходящей линии связи, чтобы выработать команду управления мощностью.
РИСУНКИ
|
|