|
|
(21), (22) Заявка: 2007134413/09, 16.02.2006
(24) Дата начала отсчета срока действия патента:
16.02.2006
(30) Конвенционный приоритет:
16.02.2005 US 60/653,798 15.08.2005 US 60/708,671
(43) Дата публикации заявки: 27.03.2009
(46) Опубликовано: 27.12.2009
(56) Список документов, цитированных в отчете о поиске:
WO 02/080483 А, 10.10.2002. RU 2181229 C1, 10.04.2002. US 6154500 А, 28.11.2000.
(85) Дата перевода заявки PCT на национальную фазу:
17.09.2007
(86) Заявка PCT:
US 2006/005785 20060216
(87) Публикация PCT:
WO 2006/089197 20060824
Адрес для переписки:
129090, Москва, ул. Б.Спасская, 25, стр.3, ООО “Юридическая фирма Городисский и Партнеры”, пат.пов. Ю.Д.Кузнецову, рег. 595
|
(72) Автор(ы):
ЛИ Чун У. (US), ХОЛЬКМАН Алехандро Р. (US), МИМРАН Арик (US), ВУЛФ Джек Кейл (US), ШЕЙНБЛАТ Леонид (US), ПАДОВАНИ Роберто (US), БЕНДЕР Пол Е. (US), РЕЗАЙИФАР Рамин (US), КХАЗАКА Самир К. (US)
(73) Патентообладатель(и):
КВЭЛКОММ ИНКОРПОРЕЙТЕД (US)
|
(54) РАБОТА В ПОЛУДУПЛЕКСНОМ РЕЖИМЕ НИЗКОГО РАБОЧЕГО ЦИКЛА В УСТРОЙСТВЕ СВЯЗИ
(57) Реферат:
Изобретение относится к технике связи. Технический результат состоит в повышении качества связи. Для этого устройство связи работает в полудуплексном режиме с использованием только каналов служебных сигналов; и по существу используется свободная работа источника опорного сигнала согласования во времени, получаемая во время приема, чтобы обеспечить возможность дрейфовать значению источника опорного сигнала согласования во времени во время передачи. 4 н. и 41 з.п. ф-лы, 10 ил.
Перекрестная ссылка на родственные заявки
По данной заявке испрашивается приоритет на основании предварительной заявки на патент США 60/653798 под названием “Устройство МДКРК (множественного доступа с кодовым разделением каналов) низкого рабочего цикла”, зарегистрированной 16 февраля 2005 г. По настоящей заявке также испрашивается приоритет в соответствии с находящейся в процессе одновременного рассмотрения предварительной заявкой на патент США 60/708671 под названием “Работа в полудуплексном режиме низкого рабочего цикла с телекоммуникационным устройством”, зарегистрированной 15 августа 2005 г. Соответственно, по настоящей заявке испрашивается установление дат приоритета датам регистрации 16 февраля 2005 г. и 15 августа 2005 г., а упоминания предварительных заявок на патент включены здесь путем ссылки.
Область техники, к которой относится изобретение
Настоящее изобретение в общем относится к передаче данных через сети передачи данных и к телекоммуникационным устройствам, которые обеспечивают возможность такой передачи. Более конкретно, изобретение относится к новой методике использования телекоммуникационного устройства в полудуплексном режиме для работы при передаче данных с низким рабочим циклом.
Уровень техники
Дистанционный мониторинг действий может включать в себя беспроводные телекоммуникационные устройства с батарейным питанием, которые контролируют информацию о рабочем состоянии и передают через радиочастотные сигналы информацию о рабочем состоянии на расположенное на расстоянии устройство для обработки информации. Часто информация о рабочем состоянии может быть передана через радиочастотные сигналы в виде коротких сообщений. При таких конфигурациях мониторинга и передачи вопросы, связанные с контролем потребляемой мощности, имеют важное значение.
В типичной операционной среде желательными являются устройства контроля/телекоммуникации с батарейным питанием с низкими затратами на техническое обслуживание и ремонт, чтобы способствовать эффективности эксплуатации и снижать затраты на техническое обслуживание и ремонт. Поэтому желательно иметь устройство контроля/телекоммуникации, которое может работать в течение длительного периода времени без необходимости в частом техническом обслуживании для замены аккумуляторной батареи и т.п. Например, телекоммуникационное устройство может быть помещено в режим ожидания или маломощный рабочий режим, когда нет никакого продолжающегося сообщения с устройством обработки информации. Обычно делается компромисс между доступностью телекоммуникационного устройства для связи с устройством обработки информации и величиной экономии потребляемой мощности, которая может быть достигнута. Телекоммуникационное устройство, использующее методику экономии потребляемой мощности, не может обеспечивать возможность осуществлять связь с расположенным на расстоянии устройством обработки информации, когда его электрические схемы или секции связи могут быть выключены во время нахождения устройства в режиме ожидания, чтобы сохранять энергию батареи.
Поэтому в технике имеется потребность в средстве малой мощности для передачи информации о рабочем состоянии через радиочастотные сигналы.
Сущность изобретения
В одном аспекте раскрыт способ работы устройства связи. Способ включает в себя работу устройства связи в полудуплексном режиме с использованием только каналов служебных сигналов; и по существу свободную работу источника опорного сигнала тактирования, получаемую во время приема, чтобы обеспечить возможность дрейфовать значению источника опорного сигнала тактирования во время передачи.
В другом аспекте раскрыто устройство связи. Причем устройство связи содержит цепочку приема и цепочку передачи, работающие в полудуплексном режиме, чтобы принимать и передавать сообщения низкого рабочего цикла (НРЦ) с использованием только каналов служебных сигналов; и полудуплексный контроллер, подсоединенный к цепочке приема и цепочке передачи, по существу со свободной работой источника опорного сигнала тактирования, получаемой во время приема, чтобы обеспечить возможность дрейфовать значению источника опорного сигнала тактирования во время передачи.
В другом аспекте раскрыт материальный носитель данных, включающий в себя компьютерную программу для работы устройства связи в полудуплексном режиме с использованием только каналов служебных сигналов. Программа содержит выполняемые команды, которые заставляют компьютер обеспечивать по существу свободную работу источника опорного сигнала тактирования, получаемую во время приема, чтобы обеспечивать возможность дрейфовать значению источника опорного сигнала тактирования во время передачи; и по существу фиксировать оценку мощности, полученную во время приема, для использования в качестве значения мощности передачи во время передачи.
Краткое описание чертежей
Фиг.1 иллюстрирует блок-схему одной реализации устройства связи, такого как устройство связи МДКРК.
Фиг.2 иллюстрирует блок-схему другой реализации устройства связи, показывающую детализированную конфигурацию следящих систем.
Фиг.3 иллюстрирует блок-схему другой реализации устройства связи, показывающую детализированные конфигурации управления мощностью и полудуплексным устройством.
Фиг.4 иллюстрирует одну альтернативную реализацию полудуплексного устройства, встроенного в цепочку приема и цепочку передачи так, чтобы выполнять полудуплексную работу в цепочке приема и цепочке передачи, с сигналами прямой линии связи и обратной линии связи, использующими одну антенну с разделением времени.
Фиг.5 иллюстрирует другую альтернативную реализацию полудуплексного устройства, встроенного в цепочку приема и цепочку передачи, но с сигналом прямой линии связи, принимаемым на антенне А, и сигналом обратной линии связи, передаваемым антенной В.
Фиг.6 – блок-схема процесса, иллюстрирующая способ передачи и приема сообщений низкого рабочего цикла (НРЦ) в полудуплексном режиме в соответствии с одной реализацией настоящего изобретения.
Фиг.7 изображает модель регистрации, в которой устройство связи передает сигнал зонда доступа (аппаратного устройства для сбора информации о графике), включающий в себя сообщения НРЦ, во время режима передачи.
Фиг.8 изображает модель, в которой устройство связи передает сообщение НРЦ через сигнал зонда доступа.
Фиг.9 изображает модель, в которой устройство связи определяет, передает ли базовая станция устройству сигналы поискового вызова.
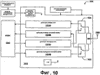
Фиг.10 иллюстрирует блок-схему другой реализации устройства связи, которое реализовано с приемопередатчиком двойного диапазона, работающим в полудуплексном режиме.
Осуществление изобретения
Природа, цели и преимущества настоящего изобретения станут более очевидны специалистам в данной области техники после рассмотрения последующего подробного описания, приведенного в связи с прилагаемыми чертежами.
С учетом вышеупомянутых проблем, связанных с дистанционным мониторингом информации о рабочем состоянии и передачей через радиочастотные сигналы, настоящее раскрытие описывает несколько вариантов осуществления для использования только каналов служебных сигналов сети передачи данных (например, сети сотовой связи, такой как сеть МДКРК или ГСМС (Глобальная система мобильной связи)), в полудуплексном режиме. В частности, информация о рабочем состоянии передается от устройства связи на расположенное на расстоянии устройство обработки информации в виде сообщений низкого рабочего цикла (НРЦ) в полудуплексном режиме.
В одной реализации устройством связи является беспроводное телекоммуникационное устройство, включающее в себя устройство связи МДКРК, а расположенным на расстоянии устройством обработки информации является процессор, размещенный внутри или соединенный с сетью МДКРК, такой как контроллер базовых станций или другие сетевые контроллеры. В другой реализации расположенное на расстоянии устройство обработки информации включает в себя другое устройство связи, реализованное в конфигурации одноранговой связи.
В одной реализации каналы служебных сигналов, используемые в МДКРК 2000 1х (Первая разработка), включают в себя каналы контрольных сигналов, синхронизации и поискового вызова в прямой линии связи и канал доступа в обратной линии связи. Каналы служебных сигналов, используемые в МДКРК 2000 1х EV-DO (Первая разработка – Только данные), включают в себя каналы контрольных сигналов, синхронизации и управления в прямой линии связи и канал доступа в обратной линии связи. В другой реализации каналы служебных сигналов включают в себя любые неинформационные каналы, которые обеспечивают конфигурацию источника опорного сигнала, тактирования, системы и доступ. В применении CDMA каналы информационного обмена переносят основную информацию, такую как двусторонние речевые сигналы для обеспечения телефонного разговора.
Термин “полудуплексный режим” относится к режиму устройства связи, при котором в течение любого данного периода передачи разрешена его работа как одного устройства из передатчика или приемника, но устройство не может и передавать, и принимать в одном и том же периоде осуществления связи.
Термин “сообщения низкого рабочего цикла” относится к сообщениям, передаваемым периодически или иногда.
Термин “режим пониженного энергопотребления” относится к режиму устройства связи, который помещает устройство связи в состояние ожидания и выключает все модули в устройстве связи за исключением счетчика времени, чтобы следить за продолжительностью ожидания. Для применений низкого рабочего цикла продолжительность ожидания часто является существенно более длительной, чем допустимо согласно протоколу общепринятой сети беспроводной связи.
Устройство связи
Фиг.1 иллюстрирует блок-схему одной реализации устройства 100 связи, такого как устройство связи МДКРК. Устройство 100 связи включает в себя полудуплексный приемопередатчик 110, полудуплексный контроллер 120, часы 130 реального времени (ЧРВ), модуль 140 управления мощностью и модем 150 (например, цифровой процессор основной полосы частот). Полудуплексный приемопередатчик 110 включает в себя цепочку 112 приема, цепочку 114 передачи и полудуплексное устройство 116. Таким образом, модули 110 и 150 в устройстве 100 связи сконфигурированы так, чтобы обеспечивать возможность сообщения через существующую сеть связи, такую как сеть МДКРК. В одной реализации устройство связи представляет собой закрепленное устройство. В другой реализации устройство связи представляет собой передвижное устройство.
В иллюстрируемой реализации на фиг.1 полудуплексный приемопередатчик 110 работает в полудуплексном режиме, в котором полудуплексное устройство 116 переключается между режимом приема и режимом передачи. В одной реализации полудуплексное устройство 116 реализовано с РЧ (радиочастотным) переключателем. В другой реализации полудуплексное устройство 116 встроено в цепочку 112 приема и цепочку 114 передачи так, что переключение между режимами выполняется цепочкой 112 приема и цепочкой 114 передачи. Когда полудуплексный приемопередатчик 110 работает в режиме приема, полудуплексное устройство 116 выбирает принимаемый сигнал прямой линии связи и направляет сигнал в процессор 150 основной полосы частот через цепочку 112 приема. В качестве альтернативы, когда полудуплексный приемопередатчик 110 работает в режиме передачи, полудуплексное устройство 116 принимает сигнал обратной линии связи, выходящий от процессора 150 основной полосы частот, через цепочку 114 передачи и направляет сигнал обратной линии связи к антенне для передачи.
В одной реализации решение о переключении на переходный режим выполняется устройством 100 связи скорее асинхронным способом, чем синхронным способом, где переключение с режима приема на режим передачи является периодическим и предсказуемым. Это асинхронное переключение или запускается событием в пределах устройства 100 связи, или в согласовании с сетевым объектом, основанным на обмениваемых сообщениях. События переключений не должны быть привязаны к сигналу тактирования базовой станции или сетевой системы.
В иллюстрируемой реализации фиг.1 простое полудуплексное устройство 116, такое как РЧ переключатель приема/передачи, заменяет внешний РЧ интерфейс общепринятого устройства связи, включающий в себя дорогостоящее и обладающее потерями дуплексное устройство. Поскольку устройство 100 связи работает в полудуплексном режиме, некоторые РЧ блоки могут использоваться с разделением времени между цепочкой 112 приема и цепочкой 114 передачи. Поэтому использование устройства связи в полудуплексном режиме обеспечивает возможность реализовывать цепочку 112 приема и цепочку 114 передачи на одной и той же кремниевой подложке без каких-либо взаимных радиопомех.
Полудуплексный контроллер 120 сконфигурирован так, чтобы управлять режимом полудуплексного приемопередатчика 110. Например, когда приемопередатчик 110 должен использоваться в режиме приема, полудуплексный контроллер 120 обеспечивает возможность цепочке 112 приема синхронизировать устройство 100 связи с сигналом тактирования сети и вычислять оценку мощности разомкнутой системы. Когда приемопередатчик 110 должен использоваться в режиме передачи, полудуплексный контроллер 120 фиксирует источник опорного сигнала тактирования наряду с системой слежения за частотой (то есть слежением указателя) и отключает цепочку 112 приема. Затем полудуплексный контроллер 120 подключает цепочку 114 передачи и обеспечивает возможность цепочке 114 передачи передавать сообщение зонда доступа на оценке мощности разомкнутой системы последней вычисленной цепочкой 112 приема. Как только приемопередатчик 110 снова готов к использованию в режиме приема, полудуплексный контроллер 120 подключает цепочку 112 приема и закрывает систему управления для источника опорного сигнала тактирования. Затем приемопередатчик 110 слушает сообщения НРЦ на каналах служебных сигналов сети передачи данных.
Для введения режима пониженного энергопотребления модуль 140 управления мощностью сконфигурирован так, чтобы управлять потребляемой мощностью устройства 100 связи, отключая все модули в устройстве 100 связи, за исключением модуля 140 управления мощностью и часов реального времени (ЧРВ) 130. Когда устройство 100 связи принимает команду от сетевого контроллера, чтобы вступить в режим пониженного энергопотребления на конкретную продолжительность времени, принятая команда посылается в модуль 140 управления мощностью, который отключает мощность для всех модулей за исключением модуля 140 управления мощностью и ЧРВ 130. В то время как устройство 100 связи находится в режиме пониженного энергопотребления, модуль 140 управления мощностью следит за конкретной продолжительностью, используя ЧРВ 130.
Фиг.2 иллюстрирует блок-схему другой реализации устройства 200 связи, изображающую детализированную конфигурацию систем слежения. Во время режима приема устройства 200 связи системы 210, 220, 230 слежения цепочки 112 приема активизированы для синхронизирования устройства 200 связи с сигналом тактирования сети и вычисления оценки мощности разомкнутой системы. Однако, когда устройство 200 связи должно использоваться в режиме передачи, полудуплексный контроллер 120 фиксирует источник 210 опорного сигнала тактирования, систему 220 слежения за частотой и вычисленную последней оценку 230 мощности разомкнутой системы. В нормальном полностью дуплексном режиме система слежения за частотой обеспечивает возможность устройству связи оставаться заблокированным на частоте и используется для регулирования гетеродина цепочки передачи таким образом, чтобы удалять любую остаточную погрешность частоты цифровых приемников.
Как только следящие системы зафиксированы, полудуплексный контроллер 120 отключает цепочку 112 приема и подключает цепочку 114 передачи. Поскольку система 220 слежения за частотой зафиксирована, гетеродину 240 цепочки 114 передачи обеспечена возможность дрейфовать. Однако, как описано ниже, поскольку продолжительность режима передачи является относительно краткой для применений низкого рабочего цикла, дрейф гетеродина не воздействует неблагоприятно на целостность передаваемого сигнала. Дополнительно, поскольку система 230 управления оценки мощности разомкнутой системы зафиксирована, усилитель 250 мощности цепочки 114 передачи установлен на передачу на вычисленной последней оценке мощности разомкнутой системы в течение всей продолжительности режима передачи. Снова, поскольку продолжительность режима передачи относительно короткая, использование той же самой мощности передачи для всего режима передачи не воздействует неблагоприятно на целостность передаваемого сигнала, особенно для того применения НРЦ, где устройство 200 связи зафиксировано. В альтернативной реализации источник опорного сигнала тактирования и оценка мощности скорее могут быть проинтегрированы по времени, чем позволено дрейфовать источнику опорного сигнала тактирования и поддерживать тот же самый уровень мощности (как в последней оценке мощности, вычисленной в режиме приема) во время режима передачи.
Фиг.3 иллюстрирует блок-схему другой реализации устройства 300 связи, показывающую детализированные конфигурации управления мощностью и полудуплексного устройства.
Когда устройство 300 связи должно использоваться в полудуплексном режиме, модуль 140 управления мощностью направляет модуль 310 регулирования мощности так, чтобы использовать цепочку 112 приема и цепочку 114 передачи в полудуплексном режиме. Поэтому когда приемопередатчик 110 должен использоваться в режиме приема, модуль 310 регулирования мощности подключает мощность к цепочке 112 приема и отключает мощность от цепочки 114 передачи. В качестве альтернативы, когда приемопередатчик 110 должен использоваться в режиме передачи, модуль 310 регулирования мощности подключает мощность к цепочке 114 передачи и отключает мощность от цепочки 112 приема.
Во время полудуплексного режима устройство 300 связи может дополнительно снижать свои потребности в мощности в состоянии незанятости благодаря обеспечению возможности режима работы, разделенного на несколько временных отрезков. В типичной беспроводной сети передачи данных, такой как сеть МДКРК, временной отрезок канала поисковой связи представляет собой 80-миллисекундный временной интервал в пределах цикла временных отрезков поисковой связи. Цикл временных отрезков поисковой связи изменяется от 16 временных отрезков (период = 1,28 секунды; индекс цикла временных отрезков = 0) до 2048 временных отрезков (период = 163,84 секунды; индекс цикла временных отрезков = 7). Таким образом, в режиме, разделенном на несколько временных отрезков, устройство 300 связи только осуществляет мониторинг выбранного подмножества временных отрезков канала поисковой связи относительно сообщений от сетевого контроллера.
Однако, для применений НРЦ, время между последовательными передачами сообщений может быть значительно длиннее, чем максимально допустимый период цикла временных отрезков поисковой связи. В этом случае сетевой контроллер может отдавать команду устройству 300 связи перейти в режим пониженного энергопотребления, где все модули за исключением модуля 140 управления мощностью и ЧРВ 130 выключены в течение предварительно определенного периода времени. В одной реализации предварительно определенный период времени может быть от одной секунды до нескольких лет.
Когда устройство 300 связи должно использоваться в режиме пониженного энергопотребления, устройство 300 связи принимает команду от сетевого контроллера войти в режим пониженного энергопотребления на предварительно определенный период времени. Модуль 140 управления мощностью принимает и направляет модуль 310 регулирования мощности так, чтобы отключить все модули в устройстве 100 связи, за исключением модуля 140 управления мощностью и ЧРВ 130. В режиме пониженного энергопотребления устройство 300 связи помещается в состояние ожидания на предварительно определенный период времени (то есть продолжительность ожидания), который часто является существенно длиннее, чем допустимо согласно протоколу общепринятой сети беспроводной связи (например, индекс цикла временных отрезков (ИЦВО) сети сотовой связи МДКРК). Модуль 140 управления мощностью следит за продолжительностью ожидания, используя ЧРВ 130.
Иллюстрируемая реализация фиг.3 также изображает полудуплексное устройство, реализованное в виде РЧ переключателя 340 для маршрутизации сигналов к антенне 342 и от нее. Во время режима приема РЧ переключатель 340 направляет сигнал прямой линии связи, принимаемый в антенне 342, в приемник 320 через внешний интерфейс 322 прямой линии связи. Во время режима передачи РЧ переключатель 340 выбирает сигнал обратной линии связи, поступающий от передатчика 330 через внешний интерфейс 332 обратной линии связи, и направляет сигнал обратной линии связи к антенне 342 для передачи.
Фиг.4 и фиг.5 иллюстрируют две альтернативные реализации полудуплексного устройства 116. Фиг.4 иллюстрирует одну альтернативную реализацию 400 полудуплексного устройства, встроенного в цепочку 412 приема и цепочку 414 передачи так, чтобы полудуплексный режим выполнялся в цепочке 412 приема и цепочке 414 передачи с сигналами прямой линии связи и обратной линии связи, совместно использующими с разделением времени одну антенну 420. Фиг.5 иллюстрирует другую альтернативную реализацию 500 полудуплексного устройства, встроенного в цепочку 512 приема и цепочку 514 передачи, но с сигналом прямой линии связи, принимаемым на антенне А 520, и сигналом обратной линии связи, передаваемым антенной В 530.
Действие низкого рабочего цикла в полудуплексном режиме
Описав различные конструктивные детали, теперь опишем некоторые операционные аспекты настоящего раскрытия.
Фиг.6 представляет блок-схему, иллюстрирующую способ передачи и приема сообщений низкого рабочего цикла (НРЦ) в полудуплексном режиме в соответствии с одной реализацией настоящего изобретения. Способ включает в себя осуществление мониторинга и передачи сообщений НРЦ от устройства 100 связи на расположенное на расстоянии устройство обработки информации в полудуплексном режиме с использованием только каналов служебных сигналов сети передачи данных. В одном примере сеть передачи данных представляет собой сеть МДКРК.
В иллюстрируемой реализации на фиг.6, когда сетевой контроллер определяет, что устройство 100 связи должно быть помещено в состояние ожидания, устройство 100 переводится в режим пониженного энергопотребления, на этапе 600, на период конкретной продолжительности времени, как устанавливается сетевым контроллером. Как описано выше, конкретная продолжительность режима пониженного энергопотребления часто является существенно длиннее, чем допустимо согласно протоколу общепринятой сети беспроводной связи, такой как сеть МДКРК. После того как устройство 100 связи пробудет в режиме пониженного энергопотребления в течение конкретной продолжительности времени, модуль 140 управления мощностью устройства 100 связи на этапе 602 переводит устройство 100 в состояние ВКЛЮЧЕНО полудуплексного режима. В некоторых реализациях устройство 100 связи может быть активизировано из режима пониженного энергопотребления, когда принимается сообщение активизирования приоритета, даже при том, что конкретная продолжительность режима пониженного энергопотребления после последнего отключения мощности не истекла.
Гетеродин (ГТР) 350 включается на этапе 604, и устанавливается диапазон частот ГТР на этапе 606. Затем подключается цепочка 112 приема на этапе 608; частота ГТР устанавливается на частоту прямой линии связи на этапе 610; и цепочка 112 приема принимает сообщения по прямой линии связи на этапе 612. В одной реализации принимаемые сообщения по прямой линии связи включают в себя команды, информацию управления и/или загрузки программного обеспечения для управления рабочим состоянием устройства 100 связи. Как только процесс приема данных завершен, цепочка приема отключается на этапе 614. В некоторых реализациях цепочка 112 приема включает в себя источник питания и другие связанные модули (не показаны).
Затем частота ГТР устанавливается на частоту обратной линии связи на этапе 616 и подключается цепочка 114 передачи на этапе 618. На этапе 620 цепочка 114 передачи передает сообщения НРЦ с использованием только каналов служебных сигналов сети передачи данных. В одной реализации сообщения НРЦ включают в себя информацию о рабочем состоянии, включающую в себя состояние, условие и/или местоположение устройства 100 связи.
Для МДКРК 2000 1х передача сообщений НРЦ с использованием только каналов служебных сигналов может быть реализована в виде коротких информационных пакетов (КИП) и/или системы передачи коротких сообщений (CMC) через обмен сообщениями информационных пакетов (СИП). Для МДКРК 2000 1x EVDO передача сообщений НРЦ с использованием только каналов служебных сигналов может быть реализована как передача “данных через передачу сигналов” (ДЧПС).
Фиг.7 – фиг.9 иллюстрируют сигнальные протоколы между устройством 100 связи и сетью с использованием каналов служебных сигналов.
Фиг.7 изображает модель регистрации, в которой устройство 100 связи передает сигнал зонда доступа, включающий в себя сообщения НРЦ, во время режима передачи. Если от базовой станции нет подтверждения в пределах предварительно определенного периода времени (ТЗД1), сигнал зонда доступа передается повторно с увеличенной мощностью 700. Как только прямое подтверждение команды (ПОДТВЕРЖДЕНИЕ L2) от базовой станции получено, передача сигналов зонда доступа завершается.
Фиг.8 изображает модель, в которой устройство 100 связи передает сообщение НРЦ через сигнал зонда доступа. Сигнал зонда доступа передается повторно до тех пор, пока не будет получено прямое подтверждение команды (ПОДТВЕРЖДЕНИЕ L2) от базовой станции. Затем базовая станция сообщает, что сеть успешно приняла переданное сообщение, в котором устройство связи подтверждает прием данных базовой станцией. Наконец, базовая станция завершает передачу сигнала зонда доступа, как только подтверждение базовой станцией принято.
Фиг.9 изображает модель, в которой устройство 100 связи определяет, передает ли базовая станция устройству сигналы поискового вызова. Если определено, что базовая станция передает устройству 100 связи сигналы поискового вызова, устройство связи подтверждает получение сигналов поискового вызова, используя сигнал зонда доступа, до тех пор, пока передача сигнала зонда доступа базовой станцией не будет закончена. Базовая станция посылает данные с использованием сообщений информационных пакетов (СИП). Затем устройство 100 связи подтверждает передачу от базовой станции, используя сигнал зонда доступа, до тех пор, пока передача базовой станцией не будет закончена.
Обращаясь опять к фиг.6, отметим, что как только процесс передачи сообщения заканчивается, цепочка 114 передачи отключается на этапе 622. Затем отключается гетеродин (ГТР) на этапе 624 и процесс повторяется посредством перевода устройства 100 связи снова в режим пониженного энергопотребления.
Другие варианты осуществления
Фиг.10 иллюстрирует блок-схему другой реализации устройства 1000 связи, который реализован с приемопередатчиком 1010 двойного диапазона, работающим в полудуплексном режиме. Устройство 1000 связи включает в себя две отдельные цепочки передачи и приема, чтобы обеспечивать возможность работы приемопередатчика 1010 более чем в двух различных диапазонах сотовой связи. В иллюстрируемой реализации двойные диапазоны представлены как диапазон 800 МГц сотовой связи и диапазон 1900 МГц СПР (системы персональной радиосвязи). Однако двойные диапазоны могут быть представлены в виде любых частотных диапазонов. Дуплексное устройство 1024 разбивает входной сигнал антенны на два диапазона сотовой связи.
Диапазон СПР реализован с помощью цепочки 1012А приема СПР и цепочки 1014А передачи СПР. Диапазон сотовой связи реализован с помощью цепочки 1012 В приема сотовой связи и цепочки 1014 В передачи сотовой связи. РЧ переключатель 1020 осуществляет выбор между каналами прямой и обратной линии связи диапазона СПР, в то время как РЧ переключатель 1022 осуществляет выбор между каналами прямой и обратной линии связи диапазона сотовой связи.
Область применения
Реализации описанной выше работы в полудуплексном режиме НРЦ можно использовать во многих различных применениях, включающих в себя отслеживание ресурсов, автоматизированное считывание показаний приборов, безналичную оплату счетчиков платы за парковку, светофоры и чувствительные элементы, рекламные щиты и общественные устройства отображения, контроль рабочего состояния машин и оборудования в реальном масштабе времени, системы домашней/офисной защиты и сигнализации, автомобильные интегрированные средства обработки и передачи информации, контроль газораспределительной системы коммунальных сооружений, контроль местоположения с использованием ГСОМ (глобальной системы определения местоположения) и другие связанные применения опроса абонентов. Передача сообщений для этих применений может изменяться в среднем от одного сообщения системы передачи коротких сообщений (CMC) в час для применения в отслеживании ресурсов до одного сообщения CMC в месяц для применения в автоматизированном считывании показаний приборов.
Специалистам в данной области техники должно быть понятно, что информация и сигналы могут быть представлены с использованием любых из ряда различных технологий и способов. Например, данные, инструкции, команды, информация, сигналы, биты, символы и кодовые элементы, которые могут упоминаться по всему приведенному выше описанию, могут быть представлены напряжениями, токами, электромагнитными волнами, магнитными полями или частицами, оптическими полями или частицами или любой их комбинацией.
Специалистам в данной области техники также должно быть понятно, что различные иллюстративные логические блоки, модули, схемы и этапы алгоритмов, описанные в связи с раскрытыми в данном описании вариантами осуществления, могут быть реализованы в виде электронного оборудования, программного обеспечения или их комбинации. Чтобы ясно проиллюстрировать эту взаимозаменяемость аппаратного обеспечения и программного обеспечения, различные иллюстративные компоненты, блоки, модули, схемы и этапы были описаны выше в общем в терминах их функциональных возможностей. Реализованы ли такие функциональные возможности как аппаратное обеспечение или программное обеспечение, зависит от конкретного применения и конструктивных ограничений, накладываемых на всю систему. Специалисты в данной области техники могут реализовывать описанные функциональные возможности различными способами для каждого конкретного применения, но такие решения реализации не должны интерпретироваться как порождение отклонения от объема настоящего изобретения.
Различные иллюстративные логические блоки, модули и схемы, описанные в связи с раскрытыми в данном описании вариантами осуществления, могут быть реализованы или выполнены с помощью процессора общего назначения, цифрового процессора сигналов (ЦПС), интегральной схемы прикладной ориентации (ИСПО), программируемой пользователем вентильной матрицы (ППВМ) или другого программируемого логического устройства, дискретного логического элемента или транзисторных логических схем, дискретных аппаратных компонентов или любой их комбинации, предназначенной для выполнения функций, описанных в данном описании. Процессором общего назначения может быть микропроцессор, но, в качестве альтернативы, процессором может быть любой обычный процессор, контроллер, микроконтроллер или конечный автомат. Процессор также может быть реализован в виде комбинации вычислительных устройств, например в виде комбинации ЦПС и микропроцессора, множества микропроцессоров, одного или больше микропроцессоров вместе с ядром ЦПС, или любой другой такой конфигурации.
Этапы способа, описанные в связи с раскрытыми в данном описании вариантами осуществления, могут быть воплощены непосредственно в аппаратном обеспечении, в программном модуле, выполняемом процессором, или в комбинации из них обоих. Программный модуль может постоянно находиться в памяти ОЗУ (оперативного запоминающего устройства), флэш-памяти, памяти ПЗУ (постоянного запоминающего устройства), памяти ППЗУ (программируемого ПЗУ), памяти ЭСППЗУ (электрически стираемого ППЗУ), регистрах, жестком диске, съемном диске, CD-ROM (неперезаписываемом компакт-диске) или любой другой форме носителя данных, известного в технике. Примерный носитель данных подсоединен к процессору таким образом, что процессор может считывать информацию с носителя данных и записывать на него информацию. В качестве альтернативы, носитель данных может быть встроен в процессор. Процессор и носитель данных могут постоянно находиться в ИСПО.
Кроме того, предыдущее описание раскрытых вариантов осуществления обеспечено для того, чтобы дать возможность любому специалисту в данной области техники выполнять или использовать настоящее изобретение. Различные модификации к этим вариантам осуществления специалистам в данной области техники будут очевидны, а универсальные принципы, определенные в данном описании, могут применяться к другим вариантам осуществления, не отступая при этом от сущности или объема изобретения. Таким образом, настоящее изобретение не предназначено для ограничения вариантами осуществления, раскрытыми в данном описании, но должно соответствовать самому широкому объему, совместимому с принципами и новыми признаками, раскрытыми в данном описании.
Формула изобретения
1. Способ работы устройства связи в полудуплексном режиме, содержащий работу устройства связи в полудуплексном режиме с использованием только каналов служебных сигналов и по существу, свободную работу источника опорного сигнала тактирования, синхронизированного с сигналом тактирования сети во время приема, чтобы обеспечить возможность дрейфовать значению источника опорного сигнала тактирования во время передачи.
2. Способ по п.1, содержащий также по существу, фиксирование оценки мощности, полученной во время приема, для использования в качестве значения мощности передачи во время передачи.
3. Способ по п.2, в котором, по существу, фиксирование оценки мощности, полученной во время приема, включает в себя использование фиксированной оценки мощности, полученной во время приема, чтобы установить выходное значение для усилителя мощности во время передачи.
4. Способ по п.3, содержащий также передачу сигнала зонда доступа на фиксированной оценке мощности разомкнутой системы, полученной во время приема.
5. Способ по п.1, в котором работа устройства связи в полудуплексном режиме включает в себя прием сообщений низкого рабочего цикла (НРЦ) во время режима приема и передачу сообщений НРЦ во время режима передачи.
6. Способ по п.1, в котором работа устройства связи в полудуплексном режиме включает в себя работу устройства МДКРК (множественного доступа с кодовым разделением каналов) через сеть МДКРК.
7. Способ по п.1, содержащий также прием команды на отключение мощности для устройства связи на предварительно определенный период времени.
8. Способ по п.7, содержащий также отключение мощности для устройства связи на упомянутый предварительно определенный период времени, подлежащий контролированию счетчиком времени, подсоединенным к устройству связи.
9. Способ по п.8, содержащий также включение устройства связи, когда счетчик времени определяет, что предварительно определенный период времени с момента последнего отключения устройства связи истек.
10. Способ по п.8, содержащий также включение устройства связи, когда получено сообщение активизирования приоритета, даже при том, что предварительно определенный период времени с момента последнего отключения устройства связи не истек.
11. Способ по п.1, в котором источник опорного сигнала тактирования включает в себя гетеродин.
12. Способ по п.1, содержащий также по существу, фиксирование системы слежения за частотой во время передачи.
13. Способ по п.1, в котором работа устройства связи в полудуплексном режиме включает в себя передачу сообщений НРЦ в виде сообщений из коротких информационных пакетов (КИП) через обмен сообщениями информационных пакетов (СИП).
14. Способ по п.1, в котором работа устройства связи в полудуплексном режиме включает в себя передачу сообщений НРЦ в виде сообщений службы коротких сообщений (CMC) через обмен сообщениями информационных пакетов (СИП).
15. Способ по п.1, в котором работа устройства связи в полудуплексном режиме включает в себя передачу сообщений НРЦ в виде данных через передачу сигналов (ДЧПС).
16. Способ по п.1, в котором работа устройства связи в полудуплексном режиме включает в себя передачу сигнала зонда доступа, включающего в себя сообщения НРЦ.
17. Способ по п.16, содержащий также повторную передачу сигнала зонда доступа с увеличенной мощностью, когда никакое подтверждение завершения не получено в пределах предварительно определенного периода времени и завершение передачи сигнала зонда доступа, когда подтверждение завершения получено.
18. Устройство связи, содержащее цепочку приема и цепочку передачи, работающие в полудуплексном режиме, чтобы принимать и передавать сообщения низкого рабочего цикла (НРЦ) с использованием только каналов служебных сигналов, и полудуплексный контроллер, подсоединенный к цепочке приема и цепочке передачи, по существу, для свободной работы источника опорного сигнала тактирования, синхронизированного с сигналом тактирования сети во время приема, чтобы обеспечить возможность дрейфовать значению источника опорного сигнала тактирования во время передачи.
19. Устройство по п.18, в котором цепочка передачи включает в себя контроллер усилителя мощности, чтобы, по существу, зафиксировать оценку мощности, полученную во время приема, для использования в качестве значения мощности передачи во время передачи.
20. Устройство по п.19, в котором контроллер усилителя мощности включает в себя модуль регулирования усилителя мощности, сконфигурированный так, чтобы использовать фиксированную оценку мощности, полученную во время приема, для установления выходного значения для усилителя мощности во время передачи.
21. Устройство по п.20, в котором цепочка передачи также передает сигнал зонда доступа на фиксированной оценке мощности разомкнутой системы, полученной во время приема.
22. Устройство по п.18, в котором устройство связи представляет собой устройство МДКРК (множественного доступа с кодовым разделением каналов), работающее через сеть МДКРК.
23. Устройство по п.18, содержащее также модуль управления мощностью, чтобы отключать устройство связи на предварительно определенный период времени и включать, когда предварительно определенный период времени истек.
24. Устройство по п.23, содержащее также счетчик времени, подсоединенный к модулю управления мощностью, чтобы осуществлять мониторинг предварительно определенного периода времени, при этом устройство связи включается, когда счетчик времени определяет, что предварительно определенный период времени с момента последнего отключения устройства связи истек.
25. Устройство по п.23, в котором модуль управления мощностью включает в себя процессор, сконфигурированный так, чтобы включать устройство связи, когда принимается сообщение активизирования приоритета, даже при том, что предварительно определенный период времени с момента последнего отключения не истек.
26. Устройство по п.18, в котором источник опорного сигнала тактирования включает в себя гетеродин.
27. Устройство по п.18, в котором цепочка передачи выдает первый сигнал для передачи сообщений НРЦ в виде сообщений из коротких информационных пакетов (КИП) через обмен сообщениями информационных пакетов (СИП).
28. Устройство по п.18, в котором цепочка передачи выдает второй сигнал для передачи сообщений НРЦ в виде сообщений службы коротких сообщений (CMC) через обмен сообщениями информационных пакетов (СИП).
29. Устройство по п.18, в котором цепочка передачи выдает третий сигнал для передачи сообщений НРЦ в виде данных через передачу сигналов (ДЧПС).
30. Аппарат связи, содержащий средство для работы устройства связи в полудуплексном режиме с использованием только каналов служебных сигналов и средство для, по существу, свободной работы источника опорного сигнала тактирования, синхронизированного с сигналом тактирования сети во время приема, чтобы обеспечить возможность дрейфовать значению источника опорного сигнала тактирования во время передачи.
31. Аппарат по п.30, содержащий также средство для, по существу, фиксирования оценки мощности, полученной во время приема, для использования в качестве значения мощности передачи во время передачи.
32. Аппарат по п.30, который представляет собой стационарный аппарат.
33. Аппарат по п.30, который представляет собой мобильный аппарат.
34. Материальный носитель данных, включающий в себя компьютерную программу для работы устройства связи в полудуплексном режиме с использованием только каналов служебных сигналов, причем программа содержит выполняемые команды, которые заставляют компьютер обеспечивать, по существу, свободную работу источника опорного сигнала тактирования, синхронизированного с сигналом тактирования во время приема, чтобы обеспечить возможность дрейфовать значению источника опорного сигнала тактирования во время передачи, и по существу, фиксировать оценку мощности, полученную во время приема, для использования в качестве значения мощности передачи во время передачи.
35. Носитель данных по п.34, в котором выполняемые команды, которые заставляют компьютер, по существу, фиксировать оценку мощности, полученную во время приема, включают в себя выполняемые команды, которые заставляют компьютер использовать фиксированную оценку мощности разомкнутой системы, полученную во время приема, чтобы установить выходное значение для усилителя мощности во время передачи.
36. Носитель данных по п.35, содержащий также выполняемые команды, которые заставляют компьютер передавать сигнал зонда доступа на фиксированной оценке мощности разомкнутой системы, полученной во время приема.
37. Носитель данных по п.34, содержащий также выполняемые команды, которые заставляют компьютер принимать команду на отключение мощности для устройства связи на предварительно определенный период времени.
38. Носитель данных по п.37, также включающий в себя выполняемые команды, которые заставляют компьютер отключать мощность для устройства связи на предварительно определенный период времени, подлежащий контролированию счетчиком времени, подсоединенным к устройству связи.
39. Носитель данных по п.38, содержащий также выполняемые команды, которые заставляют компьютер включать устройство связи, когда счетчик времени определяет, что предварительно определенный период времени с момента последнего отключения устройства связи истек.
40. Носитель данных по п.38, содержащий также выполняемые команды, которые заставляют компьютер включать устройство связи, когда получено сообщение активизирования приоритета, даже при том, что предварительно определенный период времени с момента последнего отключения устройства связи не истек.
41. Носитель данных по п.34, в котором выполняемые команды, которые заставляют компьютер управлять устройством связи в полудуплексном режиме, включают в себя выполняемые команды, которые заставляют компьютер передавать сообщения НРЦ в виде сообщений из коротких информационных пакетов (КИП) через обмен сообщениями информационных пакетов (СИП).
42. Носитель данных по п.34, в котором выполняемые команды, которые заставляют компьютер управлять устройством связи в полудуплексном режиме, включают в себя выполняемые команды, которые заставляют компьютер передавать сообщения НРЦ в виде сообщений службы коротких сообщений (CMC) через обмен сообщениями информационных пакетов (СИП).
43. Носитель данных по п.34, в котором выполняемые команды, которые заставляют компьютер управлять устройством связи в полудуплексном режиме, включают в себя выполняемые команды, которые заставляют компьютер передавать сообщения НРЦ в виде данных через передачу сигналов (ДЧПС).
44. Носитель данных по п.34, в котором выполняемые команды, которые заставляют компьютер управлять устройством связи в полудуплексном режиме, включают в себя выполняемые команды, которые заставляют компьютер передавать сигнал зонда доступа, включающий в себя сообщения НРЦ.
45. Носитель данных по п.44, содержащий также выполняемые команды, которые заставляют компьютер повторно передавать сигнал зонда доступа с увеличенной мощностью, когда никакое подтверждение завершения не получено в пределах предварительно определенного периода времени, и завершать передачу сигнала зонда доступа, когда подтверждение завершения получено.
РИСУНКИ
|
|