|
|
(21), (22) Заявка: 2007125107/09, 02.07.2007
(24) Дата начала отсчета срока действия патента:
02.07.2007
(43) Дата публикации заявки: 10.01.2009
(46) Опубликовано: 27.12.2009
(56) Список документов, цитированных в отчете о поиске:
МУР М. и др. Телекоммуникации. Руководство для начинающих. – СПб.: БХВ-Петербург, 2003, с.120-121. КАРТАШЕВСКИИ В.Г. и др. Сети подвижной связи. – М.: Эко-Тренз, 2001, с.262-264. БАРКУН М.А. и др. Цифровые системы синхронной коммутации. – М.: Эко-Тренз, 2001, с.175. RU 2127488 C1, 10.03.1999. ПРОКИС ДЖ. Цифровая связь. – М.: Радио и связь, 2000, с.600-602. WO 9905880 А2, 04.02.1995. US 6754210 B1, 22.06.2004.
Адрес для переписки:
644041, г.Омск, ул. 4-я Транспортная, 42, кв. 192, Д.В. Федосову
|
(72) Автор(ы):
Хазан Виталий Львович (RU), Федосов Дмитрий Витальевич (RU)
(73) Патентообладатель(и):
Хазан Виталий Львович (RU), Федосов Дмитрий Витальевич (RU)
|
(54) СПОСОБ ПЕРЕДАЧИ ДИСКРЕТНЫХ СООБЩЕНИЙ ПО КАНАЛАМ РАДИОСВЯЗИ
(57) Реферат:
Изобретение относится к радиосвязи и может быть использовано в системах радиосвязи с использованием абсолютного (всемирного или системного) точного времени. Способ передачи дискретных сообщений по каналам радиосвязи заключается в том, что тактовую и цикловую синхронизацию передатчика и приемника осуществляют постоянно вне зависимости от передачи сообщения и используют скорость манипуляции, которая обеспечивает длительность элементов сообщения, во много раз превосходящую время распространения сигнала или возможную разность времен распространения сигнала от передатчика до приемника, а начало передачи каждого очередного элемента сообщения производят в заранее определенные моменты абсолютного всемирного и/или системного точного времени, а также в том, что начало передачи каждого очередного знака сообщения производится в заранее определенные моменты абсолютного всемирного и/или системного точного времени, а также в том, что определяют время распространения сигнала от передатчика до приемника и на передатчике формируют сообщения с опережением на время распространения сигнала или в приемнике задерживают на время распространения сигнала моменты принятия решений о значении принимаемых элементов и знаков. Технический результат – повышение помехоустойчивости систем связи. 2 з.п. ф-лы, 2 ил., 1 табл.
Изобретение относится к системам радиосвязи и позволяет обеспечить повышение помехоустойчивости систем связи за счет принудительной тактовой и цикловой синхронизации с использованием абсолютного (всемирного или системного) точного времени.
Под принудительной синхронизацией понимается синхронизация, которая обеспечивается в системе связи по внешним сигналам станций точного времени, поступающих на приемник по отдельным каналам независимо от принимаемого информационного сигнала, или от сигналов внутреннего вторичного эталона частоты, периодически корректируемого по сигналам станций точного времени, или от сигналов внутреннего высокостабильного эталона частоты. Современные первичные стандарты частоты имеют относительную нестабильность 1·10-11÷1·10-15 (К.Одуан, Б.Гино. Измерение времени. Основы GPS. – М.: Техносфера, 2002. С.172, рис.6.11).
Под абсолютным системным точным временем понимается время, определяемое всеми объектами системы с помощью собственных вторичных эталонов частоты, обеспечивающих необходимую для работы системы стабильность.
Под абсолютным всемирным точным временем понимается всемирное (универсальное) координированное время, шкала которого поддерживается Международным бюро мер и весов и Международной службой земного вращения. (Давыдкин П.И., Колтунов М.Н., Рыжков А.В. Тактовая сетевая синхронизация. М.: ЭКО-ТРЕНДЗ, 2004).
В радиосистемах передачи сообщений существует пять видов синхронизации (Информационные технологии в радиотехнических системах. Под ред. Федорова И.Б. – М.: Изд-во МГТУ им. Баумана, 2004. С.626-646):
– фазовая, которая обеспечивает синфазность принимаемого высокочастотного и опорного колебаний при когерентном приеме сигналов;
– тактовая, которая определяет временные границы принимаемых посылок (элементов);
– цикловая, которая определяет моменты времени, соответствующие началу кодовых слов (знаков);
– кадровая, которая определяет моменты времени, соответствующие началу и концу групповых сигналов (пакетов);
– сеансная, которая определяет моменты времени, соответствующие началу и концу передаваемого сообщения.
Фазовая синхронизация модемов требуется при когерентных и квазикогерентных методах приема сигналов и обеспечивается системами фазовой автоподстройки частоты.
Тактовая синхронизация необходима для оптимального приема дискретных сигналов. Временное положение тактовых импульсов на приемной стороне радиолинии должно совпадать с моментами начала и окончания принимаемых элементов и используется интегратором или регенератором приемника при принятии решений о значении элементов (например, “0” или “1”). В современных системах передачи сообщений сигналы тактовой синхронизации выделяются из принимаемого сигнала с использованием информации о моментах времени изменения значений элементарных посылок. Для обеспечения тактовой синхронизации обычно в преамбулу телеграммы включают достаточно продолжительный фрагмент сигнала, у которого несущая манипулирована меандром, что, естественно, увеличивает продолжительность сеанса связи, то есть снижает скорость передачи сообщения. За время длительности сигнала связи местоположение фронтов элементов на оси времени может меняться из-за расхождения частот опорных генераторов передатчика и приемника, или из-за изменения уровня лучей (замираний) при многолучевости, или вследствие перемещения подвижного объекта. Поэтому в процессе приема сообщения тактовая синхронизация поддерживается регенератором радиоприемного устройства, который постоянно отслеживает среднее положение границ элементов сообщения. При малых отношениях сигнал/шум дисперсия флуктуации временных местоположений тактовых импульсов может достигать значительных величин, что ухудшает помехоустойчивость такого рода систем связи.
Цикловую синхронизацию обеспечивают отдельные устройства либо с помощью специальных синхросигналов, либо с помощью внутренней избыточности кодовых слов. И в том и в другом случае цикловая синхронизация реализуется за счет увеличения продолжительности сеанса связи, то есть снижения скорости передачи информации.
Кадровая синхронизация необходима в многоканальных системах с временным уплотнением и обычно обеспечивается “кадровыми синхрословами”, передаваемыми в начале каждого кадра.
Сеансная синхронизация обычно осуществляется либо специальными вызывными сигналами, либо принудительно с использованием абсолютного общемирового времени, когда для проведения сеанса связи назначается определенный интервал текущего времени.
Принудительная синхронизация по сигналам точного времени возможна в том случае, когда время приема соответствующего фрагмента (элемента, знака, кадра) или всего сообщения намного больше возможного интервала рассинхронизации из-за времени задержки сигнала в среде его распространения, а также из-за нестабильности опорных генераторов, являющихся вторичными эталонами частоты.
В случае сеансной синхронизации время передачи сообщения практически всегда, за исключением связи с космическими объектами, намного превосходит время задержки сигнала в канале связи. Возможная при этом рассинхронизация по времени учитывается с помощью защитных временных интервалов перед началом сеанса связи и после его окончания.
Известны различные варианты обеспечения тактовой синхронизации. Например, в очень низкочастотном диапазоне радиоволн (ниже 30 кГц) возможно обеспечить тактовую синхронизацию с помощью сигналов станций точного времени и на приемной стороне производить оценку и компенсацию относительного времени задержки между переданным и принятым сигналами (Прокис Дж. Цифровая связь. М.: Радио и связь, 2000. С.305-306). При работе на более высоких частотах в KB- и УКВ-диапазонах в существующих системах связи используются более высокие скорости передачи сообщений, при которых длительности элементов сравнимы или меньше разности возможных времен распространения сигнала по каналу связи и метод тактовой синхронизации в абсолютном времени не может быть использован.
Другой метод для достижения синхронизации символов в радиоприемных устройствах, работающих в диапазоне высоких частот, заключается в одновременной передаче передатчиком как информационных сигналов, так и тактовой частоты. Но для осуществления этого метода требуется дополнительная мощность передатчика и дополнительная полоса частот для параллельного канала передачи тактовой частоты (там же).
Третий метод тактовой синхронизации заключается в извлечении информации о местоположении тактовых импульсов непосредственно из принимаемого сигнала (там же). Эта операция в радиоприемнике сообщений осуществляется специальным устройством синхронизации и регенерации сигнала. Недостатком этого метода является то, что, во-первых, требуется время для вхождения в синхронизм и, во-вторых, при небольших отношениях сигнал/помеха имеет место случайное отклонение моментов принятия решений в приемнике о значении принимаемого элемента из-за ошибок регенератора, происходящих под влиянием аддитивных помех, что приводит к энергетическим потерям и, как следствие, к снижению помехоустойчивости систем связи.
Цикловая и кадровая синхронизации осуществляются похожим способом, например введением маркера. Маркер – это отдельный бит или короткая последовательность бит, периодически вводимая передатчиком в поток данных. Приемник, зная эту последовательность и период ее передачи, определяет корреляцию с имеющейся копией и путем подстройки добивается наибольшего значения этой корреляции. Естественно, что при этом увеличивается время передачи сообщения. В другом случае для цикловой и кадровой синхронизации используются достаточно длинные синхронизирующие кодовые слова, например последовательности Баркера или Уилларда, которые передаются как часть заголовка сообщения и имеют малое абсолютное значение побочных максимумов корреляции, что также увеличивает время передачи сообщения (Бернард Скляр. Цифровая связь. Теоретические основы и практическое применение. М., СПб., Киев: Вильямс, 2003. С.659-663).
Одновременная и постоянная кадровая синхронизация у всех объектов сети связи должна обеспечиваться при множественном доступе с временным разделением (там же).
Однако кадровая синхронизация может обеспечиваться принудительно без специально передаваемых сигналов с использованием высокостабильных опорных генераторов, синхронизируемых с помощью систем абсолютного всемирного или абсолютного системного точного времени, что сокращает время передачи и страхует систему связи от возможных ошибок систем синхронизации, подверженных влиянию аддитивных помех.
Известно, например, «Устройство для передачи и приема информации с подвижного объекта», в котором интервалы времени передачи данных с каждого подвижного объекта (кадровая синхронизация) жестко привязываются к московскому или среднеевропейскому времени. Метки точного времени на передающей и приемной сторонах радиолинии формируются с помощью приемников сигналов глобальных навигационных спутниковых систем ГЛОНАСС и GPS (Патент 2296424, опубл. 27.03.2007).
Наиболее близким к предлагаемому является способ передачи дискретных сообщений, где используется высокоскоростной пейджинговый стандарт FLEX, разработанный компанией Motorola, в котором кадровая (пакетная) синхронизация осуществляется по абсолютному времени (Дьяконов В.П., Образцов А.А., Смердов В.Ю. Электронные средства связи. М.: СОЛОН-Пресс, 2005. С.235; Карташевский В.Г., Семенов С.Н., Фирстова Т.В. Сети подвижной связи. М.: ЭКО-ТРЕНДЗ, 2001. С.262-264, прототип). Любое сообщение, предназначенное для конкретного абонента, посылается в виде пакетов, которые передаются в определенные моменты времени. Пакеты имеют фиксированную длину, и каждый из них имеет свое конкретное положение во времени. Длина пакета 1,875 с. За один час повторяется 15 циклов, каждый из которых содержит 128 пакетов, занимающих 4 мин. Синхронизация 0-го пакета 0-го цикла осуществляется с началом астрономического часа по сигналам точного времени спутниковой системы GPS. Однако стандарт FLEX не обеспечивает тактовую и цикловую синхронизацию с использованием абсолютного времени.
Низкоскоростные системы радиосвязи обладают высокой надежностью и привлекают к себе в последние годы все большее внимание. Если в KB системе связи скорость манипуляции взять минимально возможной, которая равна, например, 5 бод, то длительность элементарной посылки будет равна 200 мс. При передаче сообщения на расстояние 3000 км время распространения сигнала равно 10 мс, что составляет 5% по отношению к 200 мс. Если даже не принимать никаких мер для компенсации времени распространения, то при принудительной синхронизации с использованием абсолютного времени энергетические потери от неточности тактовой синхронизации, вызванной временем распространения на уровне вероятности ошибок 10-3, не будут превышать 0,6 дБ (Бернард Скляр. Цифровая связь. Теоретические основы и практическое применение. М., СПб., Киев: Вильямс, 2003. С.651, рис.10.15). Однако эта неточность постоянна и не зависит от отношения сигнал/помеха, что имеет место при автоподстройке синхронизатора, использующего принимаемый сигнал для формирования импульсов тактовой синхронизации.
Кроме того, возможно произвести оценку времени распространения сигнала от передатчика до приемника и компенсировать его при тактовой и цикловой синхронизации в передатчике, излучая сигнал с опережением на время его распространения, или в приемнике, задерживая моменты времени принятия решений о значениях принимаемых элементов и знаков сообщения. В этом случае в KB-диапазоне неточность тактовой синхронизации с учетом максимально возможной разности хода лучей может достигать значений 4 мс (Хмельницкий Е.А. Оценка реальной помехозащищенности приема сигналов в KB-диапазоне. – М.: Связь, 1975. С.21) и может быть уменьшена до 1% (±2 мс) по отношению к максимально возможной длительности элемента сообщения (200 мс). В этом случае на KB трассах длиной 3000 км, где разность хода лучей не превосходит в основном 1,5 мс, возможно обеспечить с принудительной синхронизацией по сигналам точного времени даже прием часто используемых сигналов частотной телеграфии со скоростью манипуляции 50 бод, имеющих длительность элементов 20 мс. При этом относительная ошибка тактовой синхронизации не будет превосходить 6,25%, что приводит к максимальным энергетическим потерям на уровне вероятности ошибок 1-10-3 порядка 1 дБ (Бернард Скляр. Цифровая связь. Теоретические основы и практическое применение. М., СПб., Киев: Вильямс, 2003. С.651, рис.10.15).
Определить время распространения сигнала от передатчика до приемника можно различными методами.
Например, зная расстояние L между передатчиком и приемником, легко оценить время распространения сигнала Т по каналу связи: T=L/c, где с – скорость распространения радиоволн в свободном пространстве, и скорректировать с учетом этого времени распространения местоположение тактовых импульсов, поступающих на устройство принятия решения о принимаемом элементе сообщения.
Возможен и другой метод оценки времени распространения, когда передатчик периодически, в строго определенный момент общемирового точного времени излучает синхросигнал, время прихода которого в точке приема сравнивается с текущим точным значением общемирового времени. В этом случае разность между известным значением точного времени, когда излучался синхросигнал, и текущим его значением, когда сигнал пришел в точку приема, и является временем распространения сигнала по каналу связи.
На точность синхронизации влияет стабильность опорных генераторов. Если относительная погрешность опорных генераторов как на передающей, так и на приемной стороне радиолинии составляет 1·10-n, то рассинхронизация тактовых генераторов передатчика и приемника на величину t произойдет за время не более, чем Т:2· Т·10-n= t (если генераторы приемника и передатчика разойдутся в разные стороны). В таблице приведены расчеты времени Т в зависимости от значений параметра n для t=2 мс, что составляет 1% от длительности элемента 200 мс.
Из приведенной таблицы следует, что при n=7, обеспечиваемом термостатированными автогенераторами (Шитиков Г.Т., Цыганков П.Я., Орлов О.М. Высокостабильные кварцевые автогенераторы. М.: Сов. радио, 1974. С.317), взаимная синхронизация приемника и передатчика, обеспечивающая точность тактовой синхронизации не хуже 1% при длительности элементов сообщения 200 мс, должна производиться не реже 1 раза каждые 3 часа.
В настоящее время существуют высокостабильные первичные эталонные источники задающих генераторов, которые обеспечивают относительную погрешность частоты не более 10-12 за 12-15 лет (Давыдкин П.Н., Колтунов М.Н., Рыжков А.В. Тактовая сетевая синхронизация. М.: ЭКО-ТРЕНДЗ, 2004. С.153). Если такой эталон частоты имеется, например, на передающей стороне радиолинии, а на приемной стороне имеется опорный генератор с относительной погрешностью 1·10-7, то продолжительность точной синхронизации увеличится в два раза и периодичность синхронизации в этом случае составит уже не 3 часа, а 6 часов.
Если же на передающем и приемном концах радиолинии обеспечивается, например, временная нестабильность частоты опорных генераторов 1·10-11, то при скорости манипуляции 5 бод взаимную синхронизацию можно производить один раз в три года.
Последний вариант вполне реализуем на практике, т.к. с помощью спутниковых радионавигационных систем ГЛОНАСС (РФ) и GPS (США) можно обеспечить стабильность вторичных эталонов частоты в аппаратуре пользователей с точностью не хуже чем 1·10-11 (Информационные технологии в радиотехнических системах. Под ред. Федорова И.Б. – М.: Изд-во МГТУ им. Баумана, 2004. С.528-529, Таблица 8.4).
Однако высокая стабильность частоты опорных генераторов (вторичных эталонов частоты) полностью не гарантирует решения задачи потактовой и цикловой синхронизации на длительный срок для подвижных объектов, так как время распространения сигнала между передатчиком и приемником изменяется при изменении их расположения относительно друг друга. Но высокостабильные опорные генераторы гарантируют высокоточное абсолютное время на объектах и тем самым дают возможность достаточно точно учитывать время распространения сигнала от передатчика до приемника даже в процессе движения объекта, с которым ведется связь.
Таким образом, при большой длительности элементов сообщения (при низкой скорости манипуляции) и при наличии высокостабильных опорных генераторов решить рационально проблему тактовой (поэлементной) и цикловой (позначной) синхронизации возможно за счет использования абсолютного точного времени, что позволит обеспечить в течение длительного времени наиболее оптимальный интегральный прием сигналов сразу же с приходом первого элемента сообщения без дополнительных затрат времени на предварительную передачу специальных синхросигналов. При этом исключается влияние аддитивных помех на точность синхронизации, которая в данном случае зависит только от стабильности эталонов частоты в передающем и в приемном устройствах и точности определения времени распространения сигнала от передатчика до приемника.
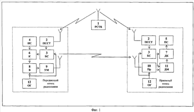
На фиг.1 представлена блок-схема канала связи с низкой скоростью передачи сообщения, использующего сигналы станции точного времени для тактовой и цикловой синхронизации, со следующими обозначениями:
1 – радиостанция точного времени (РСТВ);
2 – приемники сигналов станций точного времени (ПССТВ);
3 – блоки синхронизации, обеспечивающие начало кодирования и декодирования синхронно с началом соответствующего момента точного времени и с учетом (или без учета) времени распространения сигнала от передатчика до приемника (БС);
4 – источник сообщения (ИС);
5 – получатель сообщения (ПС);
6 – кодер, формирующий начало очередного знака синхронно с началом соответствующего момента точного времени (К);
7 – декодер, определяющий начало очередного знака по началу соответствующего момента точного времени (ДК);
8 – возбудитель передатчика (В);
9 – усилитель мощности передатчика (УМ);
10 – приемник (Пр);
11 – демодулятор, обеспечивающий интегральный (оптимальный некогерентный) прием элементов сообщения с использованием сигналов точного времени (ДМ);
12 – высокостабильные опорные генераторы (ОГ).
Сигнал радиостанции точного времени (1) с помощью приемников сигналов станций точного времени (2) принимается на передатчике и приемнике и периодически приводит блоки синхронизации (3) приемника и передатчика, которые являются внутренними часами системы, в абсолютно одинаковое состояние. Опорные генераторы (12) являются вторичными эталонами частоты передатчика и приемника и обеспечивают требуемую стабильность собственных часов этих устройств между периодами синхронизации по сигналам станции точного времени. Информация от источника сообщения (4) кодируется кодером (6) с привязкой начала кодовой последовательности и временного местоположения границ элементов к абсолютному времени по тактовым импульсам, поступающим от блока синхронизации (3) с учетом (или без учета) времени распространения сигнала. В возбудителе передатчика (8) осуществляется манипуляция сигнала и преобразование его на рабочую частоту. Усилитель мощности передатчика (9) обеспечивает согласование с антенно-фидерным трактом и излучение радиосигнала с заданным уровнем мощности в эфир. Приемник (10) преобразует принимаемый сигнал по частоте и транслирует его на вход демодулятора (11), где с помощью тактовых импульсов, поступающих от блока синхронизации (3) без учета (или с учетом) времени распространения сигнала, производится оптимальное интегральное детектирование и выносится решение о значении принимаемого элемента сообщения. С выхода демодулятора (11) бинарная последовательность поступает на вход декодера (7), где с помощью импульсов цикловой синхронизации, поступающих от блока синхронизации (3) без учета (или с учетом) времени распространения сигнала, определяется начало кодовых комбинаций и производится декодирование принятого сообщения. С выхода декодера информация поступает к получателю сообщения (5).
Пример. Скорость манипуляции равна 4 бода, значность кода равна 8. В этом случае с началом каждой нечетной (четной) секунды абсолютного времени осуществляется передача и прием первого элемента очередного знака. Решение о принятом знаке производится в конце каждой четной (нечетной) секунды. Если оптимальный интегральный некогерентный прием осуществляется с помощью коммутируемых фильтров, то они в этом случае включаются и выключаются каждые 250 мс. Примеры реализации аналоговых узкополосных коммутируемых фильтров и алгоритмы их работы можно найти, например, в монографии Финка Л.М. Теория передачи дискретных сообщений. М. 1970. 319-321 с.
Современные методы цифровой обработки сигналов позволяют реализовать оптимальный некогерентный прием сигналов с помощью процессоров.
Преимуществом предложенного метода приема низкоскоростных сигналов с использованием точного времени является то, что тактовая и цикловая синхронизация передатчика и приемника осуществляется постоянно независимо от того, передается или нет информация по каналу связи. Поэтому перед началом передачи в сообщении не требуется преамбула для вхождения в связь и прием сообщения может осуществляться сразу же, начиная с первого элемента, содержащего информацию. Таким образом, существенно сокращается время передачи сообщения и заметно повышается помехоустойчивость канала связи, т.к. определение моментов принятия решений демодулятором и декодером в данном случае не зависит от отношения сигнал/помеха, а определяется стабильностью опорных генераторов радиолинии и точностью определения времени распространения сигнала от передатчика до приемника.
Для защиты от несанкционированного доступа посторонних лиц к передаваемой информации используются методы криптографической защиты (шифрования на передатчике и дешифрования на приемнике). В нашем случае, при принудительной тактовой синхронизации с использованием абсолютного времени, легко осуществляется поточное синхронное шифрование (Бернард Скляр. Цифровая связь. Теоретические основы и практическое применение. М., СПб., Киев: Вильямс, 2003. С.935). Для работы такого рода шифраторов-дешифраторов требуется точная синхронизация генераторов, которые формируют псевдослучайные последовательности. Обычно начальное состояние генераторов псевдослучайных последовательностей инициируется перед началом сеанса связи с помощью известной пользователям пусковой комбинации (начального квазислучайного числа).
Шифрование и дешифрование осуществляется, как показано на фиг.2, где обозначено:
13 – генератор псевдослучайной последовательности передатчика (ГПП);
14 – генератор псевдослучайной последовательности приемника (ГПП*);
15 – выход генератора псевдослучайной последовательности передатчика (Кi);
16 – выход генератора псевдослучайной последовательности приемника (Кi *);
17 – сумматоры по модулю два;
18 – вход пусковых комбинаций для генератора псевдослучайной последовательности передатчика (ПК);
19 – вход пусковых комбинаций для генератора псевдослучайной последовательности приемника (ПК);
20 – вход передаваемого сообщения (Мi);
21 – выход манипулирующей последовательности (Сi);
22 – вход принятой последовательности (С*i);
23 – выход дешифрованной последовательности (М*i).
В обычных системах связи генератор псевдослучайной последовательности передатчика (13) с началом сеанса связи инициируется пусковой комбинацией (18). Для синхронизации генератора псевдослучайной последовательности передатчика с генератором псевдослучайной последовательности приемника используется специальная вызывная комбинация, с приемом которой с помощью пусковой комбинации (19) инициируется работа генератора псевдослучайной последовательности приемника (14). Шифрованный текст Сi (21) получается путем сложения по модулю два i-го элемента псевдослучайной последовательности Кi (15) и i-го символа сообщения Мi (), а дешифрованный М* i (23) – путем сложения по модулю два i-го элемента псевдослучайной последовательности Кi * (16) и i-го принятого символа шифрованного сообщения С* i (22).
В заявляемом варианте системы связи принудительная синхронизация передатчика и приемника осуществляется постоянно по абсолютному времени и для синхронизации генераторов псевдослучайной последовательности передатчика и приемника не требуется каких-либо дополнительных специальных синхросигналов. Эта операция осуществляется автоматически, так как на обоих концах радиолинии постоянно известны временные положения всех элементов передаваемого сообщения. Неточность синхронизации обусловлена лишь неточностью собственных эталонов частоты и точностью определения времени распространения сигнала по каналу связи, что, как было показано выше, составляет сотые доли элемента сообщения.
Известно, что число квазислучайных чисел на выходе генератора псевдослучайной последовательности может быть определено по формуле 2(n-2). Число n может быть достаточно большим, например равным 53 (Хазан В.Л. Математические модели дискретных каналов связи декаметрового диапазона радиоволн. Омск: Изд-во ОмГТУ, 1998. С.16). Поэтому общее количество квазислучайных чисел в генерируемом цикле в данном случае будет равно 2251799813685248. При скорости манипуляции 4 бода период цикла генерации квазислучайных чисел будет равен 562949953421312 с, что представляет собой впечатляющее число 17851026 лет и обеспечивает достаточно высокий уровень криптографической защиты. При необходимости период цикличности генератора псевдослучайной последовательности может быть еще более увеличен (Бернард Скляр. Цифровая связь. Теоретические основы и практическое применение. М., СПб., Киев: Вильямс, 2003. С.932).
Таким образом, с целью повышения надежности передачи сообщений целесообразно снижать скорость передачи сообщений до минимально допустимых величин, обусловленных нестационарностью канала связи и нестабильностью опорных генераторов. Если при этом длительность элементов намного превосходит время распространения сигнала от передатчика до приемника, то целесообразно реализовать принудительную тактовую и цикловую синхронизацию с использованием абсолютного (всемирного или системного) точного времени, производя передачу и прием каждого очередного элемента и знака сообщения в заранее определенные моменты абсолютного всемирного и/или системного точного времени. Если длительность элементов не превосходит время распространения сигнала от передатчика до приемника, но превосходит возможную разность времен распространения от передатчика до приемника, то тоже возможно применить принудительной тактовую и цикловую синхронизацию, учитывай время распространения и компенсируя его или в передатчике, формируя сообщения с опережением на время распространения сигнала, или в приемнике, задерживая на время распространения сигнала моменты принятия решений о значении принимаемых элементов и знаков.
Одновременно можно решить и проблему криптографической защиты передаваемых сообщений методом поточного шифрования с использованием абсолютного всемирного и/или системного точного времени, синхронно и непрерывно формируя псевдослучайные двоичные последовательности, которые одновременно поэлементно суммируются по модулю два с передаваемым закодированным сообщением и с принятым двоичным сообщением, и последовательность, полученная в результате суммирования последовательностей на передатчике, используется для манипуляции сигнала, а на приемнике результат суммирования последовательностей декодируется.
Принудительная синхронизация передатчика и приемника с использованием абсолютного точного времени обладает следующими преимуществами:
во-первых, не требуется специальных сигналов синхронизации, которые обычно передаются в виде преамбулы к сообщению, или маркеров, периодически вводимых в сообщение, что позволяет сократить время передачи сообщения;
во-вторых, ликвидируется зависимость точности синхронизации от отношения сигнал/помеха, которая имеет место в системах синхронизации с автоподстройкой, что повышает помехоустойчивость систем связи с принудительной синхронизацией;
и, в-третьих, по сравнению с системами, у которых сигналы синхронизации передаются по выделенным каналам связи, в системах с принудительной синхронизацией экономятся энергия передатчика и полоса частот, то есть увеличивается пропускная способность канала связи.
Формула изобретения
1. Способ передачи дискретных сообщений по каналам радиосвязи, в котором синхронизация передатчика и приемника производится по абсолютному значению времени, отличающийся тем, что тактовую и цикловую синхронизацию передатчика и приемника осуществляют постоянно вне зависимости от передачи сообщения и используют скорость манипуляции, которая обеспечивает длительность элементов сообщения, во много раз превосходящую время распространения сигнала или возможную разность времен распространения сигнала от передатчика до приемника, а начало передачи каждого очередного элемента сообщения производят в заранее определенные моменты абсолютного всемирного и/или системного точного времени.
2. Способ передачи дискретных сообщений по каналам радиосвязи по п.1, отличающийся тем, что начало передачи каждого очередного знака сообщения производится в заранее определенные моменты абсолютного всемирного и/или системного точного времени.
3. Способ передачи дискретных сообщений по каналам радиосвязи по п.2, отличающийся тем, что определяют время распространения сигнала от передатчика до приемника и на передатчике формируют сообщения с опережением на время распространения сигнала или в приемнике задерживают на время распространения сигнала моменты принятия решений о значении принимаемых элементов и знаков.
РИСУНКИ
|
|