|
|
(21), (22) Заявка: 2008132165/09, 04.08.2008
(24) Дата начала отсчета срока действия патента:
04.08.2008
(46) Опубликовано: 27.12.2009
(56) Список документов, цитированных в отчете о поиске:
SU 1644338 A1, 03.05.1989. SU 1707609 A1, 23.01.1992. GB 1566940 A, 08.05.1980.
Адрес для переписки:
690950, г.Владивосток, ГСП, ул. Суханова, 5а, ИПМТ ДВО РАН, отдел интеллектуальной собственности
|
(72) Автор(ы):
Копылов Виталий Викторович (RU), Кувшинов Геннадий Евграфович (RU), Наумов Леонид Анатольевич (RU), Чуев Геннадий Иванович (RU), Филоженко Алексей Юрьевич (RU), Шеин Александр Николаевич (RU)
(73) Патентообладатель(и):
Институт проблем морских технологий Дальневосточного отделения Российской академии наук (статус государственного учреждения) (ИПМТ ДВО РАН) (RU)
|
(54) УСТРОЙСТВО ДЛЯ ПОДКЛЮЧЕНИЯ АВТОНОМНОГО ИНВЕРТОРА НАПРЯЖЕНИЯ К ИСТОЧНИКУ НАПРЯЖЕНИЯ ПОСТОЯННОГО ТОКА (ВАРИАНТЫ)
(57) Реферат:
Изобретение относится к области электротехники. Устройство (1) для подключения автономного инвертора (2) напряжения к источнику (3) напряжения постоянного тока содержит основные элементы: реактор (4), входной конденсатор (5) инвертора, блок (6) управления зарядом входного конденсатора инвертора, цепь (16) для ограничения перенапряжений в виде демпфирующей цепи, содержащей первый (17) и второй (18) резисторы и демпфирующий конденсатор (19). Параллельно первому резистору (17) в цепь (16) включен выключатель (20). Цепь (16) может быть выполнена из одного или нескольких униполярных ограничителей напряжения. Технический результат устройства выражается в уменьшении в несколько раз следующих его параметров и показателей процесса заряда входного конденсатора: индуктивности реактора и его массы; отклонений максимальных значений зарядного тока от среднего; отклонений максимальных значений напряжений на выходном конденсаторе и других элементах автономного инвертора от напряжения источника постоянного тока; потерь энергии в реакторе и линии, соединяющей входные зажимы автономного инвертора напряжения с источником напряжения постоянного тока. 2 н. и 1 з.п. ф-лы, 3 ил.
Устройство для подключения автономного инвертора напряжения к источнику напряжения постоянного тока относится к электротехнике, в частности, к устройствам для преобразования переменного тока в постоянный и, наоборот, постоянного тока в переменный с использованием полупроводниковых приборов: транзисторов и диодов – в мостовой схеме.
Известно устройство для подключения автономного инвертора напряжения к источнику напряжения постоянного тока (первый аналог). Принципиальная схема этого устройства для подключения однофазного инвертора напряжения приведена в [1, стр.402-404, рисунок 24.1, в], а для подключения трехфазного инвертора – в [1, стр.416-418, рисунок 24.10].
Известное устройство для подключения автономного инвертора напряжения к источнику напряжения постоянного тока содержит входной конденсатор инвертора, первый зажим которого подключен к первому выводу упомянутого устройства, а второй зажим входного конденсатора инвертора напряжения соединен со вторым выводом этого устройства. Первый из этих выводов соединен с первым выходным зажимом указанного источника напряжения постоянного тока и подключен к имеющему одинаковую полярность с этим зажимом первому входному зажиму упомянутого автономного инвертора напряжения. Если, например, первый входной зажим инвертора отрицательный (к нему подключены аноды диодов вентильных плеч), то первый выходной зажим источника тоже имеет отрицательную полярность. И, наоборот, когда первый входной зажим инвертора положительный (к нему подключены катоды диодов вентильных плеч), то первый выходной зажим источника тоже имеет положительную полярность. Второй вывод упомянутого устройства соединен со вторым выходным зажимом указанного источника напряжения постоянного тока, который имеет противоположную, по отношению к первому входному зажиму автономного инвертора напряжения, полярность, и подключен ко второму входному зажиму упомянутого автономного инвертора напряжения. В цепь, соединяющую входные зажимы аналога с выходными зажимами источника напряжения постоянного тока, входят линия из соединительных проводов или шин (или двухжильный кабель) и, необязательно, аппарат для токовой защиты инвертора и его нагрузки (например, автоматический выключатель).
Недостаток данного устройства заключается в том, что амплитуда и тепловой импульс (интеграл от квадрата тока за все время его прохождения) зарядного тока входного конденсатора инвертора после подключения инвертора с незаряженным конденсатором к источнику постоянного тока с номинальным (или близким к нему) напряжением имеют чрезмерно большие значения. В результате, при большой емкости входного конденсатора инвертора, могут быть повреждены проводники линии, соединяющей вход инвертора напряжения с источником напряжения постоянного тока, а также аппараты защиты этой линии и инвертора.
Оценить кратность амплитудного значения такого тока можно на основании результатов анализа переходного процесса подключения упомянутого выше автономного инвертора с номинальным входным напряжением 800 В и номинальным входным током 100 А. Инвертор подключен к источнику постоянного тока с напряжением 800 В с помощью двухжильного кабеля сечением 35 мм2 длиной 5 м. Активное сопротивление такого кабеля равно 5,26 мОм, а его индуктивность составляет 0,0013 мГн. Пусть в качестве источника используется управляемый выпрямитель напряжения – типичный случай в современной электротехнике. На выходе такого выпрямителя включен конденсатор большой емкости. При этом такой источник приобретает свойства идеального источника напряжения постоянного тока. Максимальное значение тока, проходящего по указанному кабелю и входному конденсатору инвертора, имеет место через 0,7 мс после подключения к источнику и составляет 130 кА. Такое амплитудное значение в 1300 раз превосходит номинальное значение входного тока инвертора. Тепловой импульс равен 36,5 (кА)2 с. Такой тепловой импульс выдерживают кабели с резиновой, или подобной ей по теплостойкости, изоляцией, если сечение их токоведущих жил больше 44 мм2. Следовательно, для рассматриваемого примера кабель с сечением 35 мм2 выйдет из строя от перегрева пусковым током конденсатора. Амплитудное значение 130 кА не выдержит и автоматический выключатель, с помощью которого производится подключение кабеля к источнику и защита источника от коротких замыканий в инверторе или в его нагрузке. Подобные выключатели допускают ток с амплитудным значением не более 75 кА. Если для подключения инвертора напряжения к находящемуся в рабочем режиме, с номинальным напряжением, источнику постоянного тока использовать кабель, длина которого равна 10 м, то есть в два раза больше, то тепловой импульс уменьшится в два раза. Такой импульс выдерживают кабели, сечение токоведущих жил которых превосходит 31 мм2. Следовательно, кабель сечением 35 мм2 и длиной 10 м останется целым. Максимальное значение пускового тока конденсатора при таких параметрах кабеля равно 69 кА, то есть оно всего на 8% меньше предельного тока для автоматического выключателя. Если кабель прокладывается в одном пучке с другими кабелями, то условия его охлаждения ухудшаются, и для исключения перегрева кабеля номинальным током 100 А потребуется использовать кабель с большими сечениями токоведущих жил. Переход на сечение 50 мм2 приведет к снижению активного сопротивления кабеля. В результате максимальное значение пускового тока конденсатора при таких параметрах кабеля станет равным 93 кА. Автоматический выключатель выйдет из строя.
Таким образом, при высоких значениях емкости входного конденсатора и коротких линиях питания автономного инвертора напряжения, известное устройство можно использовать для подключения этого инвертора к источнику постоянного тока при отсутствии напряжения на выходных зажимах источника. Возбуждение этого источника должно производиться постепенно и только с уже подключенным входным конденсатором инвертора.
Известен также зарядный преобразователь емкостных накопителей, который можно использовать в составе устройства для подключения автономного инвертора напряжения к источнику напряжения постоянного тока. Этот зарядный преобразователь (второй аналог) представляет собой преобразователь постоянного тока с последовательным подключением нагрузки к резонансному контуру. Принципиальная схема его приведена в [2, стр.84, рисунок 2.31], а также в [3, стр.295, рис.13.7, а]. Применение второго аналога позволяет избавиться от указанного недостатка первого аналога: максимальное значение тока, потребляемого от источника при заряде накопительного конденсатора, подключенного к выходу второго аналога, можно ограничить требуемым значением. Указанное максимальное значение входного тока второго аналога определяется параметрами как последовательного резонансного контура, состоящего из коммутирующего реактора и коммутирующего конденсатора, так и разделительного трансформатора. Первичная обмотка этого трансформатора включена последовательно с указанным последовательным резонансным контуром, а вторичная через выпрямитель соединена с накопительным конденсатором. Цепь первичной обмотки подключена к выходу мостового инвертора, составленного из четырех электронных ключей (тиристоров или транзисторов), зашунтированных обратными диодами. Вход инвертора зашунтирован входным конденсатором и соединен с источником напряжения постоянного тока. При этом катоды двух обратных диодов подключены к положительному полюсу источника, а аноды двух других обратных диодов – к отрицательному. Рассматриваемое устройство работает циклически. Каждый цикл начинается одновременным замыканием одной пары электронных ключей, которые при этом подключают цепь первичной обмотки трансформатора к источнику. К этому времени другая пара ключей уже разомкнута. Ток цепи первичной обмотки трансформатора (и вторичной тоже) представляет собой участок синусоиды протяженностью в один период. На первой половине цикла ток проходит по электронным ключам в одном направлении, а на второй половине цикла – по шунтирующим эти ключи обратным диодам в обратном направлении. Амплитуда синусоиды снижается по экспоненте с постоянной времени, которая равна , где L – индуктивность коммутирующего реактора, R – эквивалентное активное сопротивление цепи первичной обмотки. В него входят активные сопротивления коммутирующего реактора и входного сопротивления трансформатора. (Последняя составляющая находится путем гармонической линеаризации.) Волновое сопротивление последовательного резонансного контура, , где С – емкость коммутирующего конденсатора, много больше половины R. Поэтому снижение второй амплитуды тока, проходящего по цепи первичной обмотки трансформатора, по отношению к первой амплитуде этого тока, относительно небольшое. Коммутирующий конденсатор зарядится до напряжения источника вскоре после достижения током, проходящим по цепи первичной обмотки трансформатора, первого амплитудного значения. Кроме того, при указанном соотношении между и R, к моменту окончания первой половины цикла коммутирующий конденсатор зарядится до напряжения, которое почти в два раза превосходит напряжение источника, а к моменту окончания всего цикла он разрядится до напряжения, которое намного меньше напряжения источника. И так повторяется на каждом цикле. Накопительный конденсатор заряжается постепенно, в течение многих циклов. По мере его заряда растет эквивалентное активное сопротивление R, поэтому форма тока цепи первичной обмотки трансформатора несколько изменяется: амплитуды синусоиды уменьшаются, а ее период увеличивается.
Первый недостаток данного зарядного преобразователя очевиден: это повышенная сложность (наличие трансформатора, выпрямителя, резонансного контура и инвертора). Второй его недостаток заключается в том, что, для применения его в качестве устройства для подключения автономного инвертора напряжения к источнику напряжения постоянного тока, зарядный преобразователь необходимо дополнительно усложнить. Его необходимо дополнить элементами, которые, после достижения равенства напряжений накопительного конденсатора и источника, отключат этот конденсатор от выхода зарядного преобразователя и подключат его к входу автономного инвертора.
Известно также устройство для подключения автономного инвертора напряжения к источнику напряжения постоянного тока, наиболее близкое по технической сущности к заявляемому устройству и выбранное в качестве прототипа. Принципиальная схема устройства для подключения однофазного инвертора напряжения приведена в [4, стр.84, рисунок 2.31].
Известное устройство для подключения автономного инвертора напряжения к источнику напряжения постоянного тока содержит реактор и входной конденсатор инвертора, первый зажим которого подключен к первым входному и выходному зажимам упомянутого устройства, при этом первый выходной зажим этого устройства подключен к первому входному зажиму автономного инвертора напряжения, а первый входной зажим этого устройства соединен с первым выходным зажимом источника напряжения постоянного тока, причем первый входной зажим указанного инвертора и первый выходной зажим упомянутого источника имеют одинаковую полярность, второй зажим входного конденсатора инвертора соединен со вторым выходным зажимом этого устройства, который подключен ко второму входному зажиму указанного инвертора, и с первым зажимом реактора, а второй входной зажим устройства соединен со вторым выходным зажимом упомянутого источника. В прототипе первый зажим реактора подключен как ко второму зажиму входного конденсатора, так и ко второму выходному зажиму устройства. Второй зажим реактора подключен ко второму входному зажиму устройства. Здесь реактор выполняет функцию токоограничивающего элемента. Другой возможной разновидностью такого элемента является пусковой резистор.
Цепь, соединяющая входные зажимы прототипа с выходными зажимами источника напряжения постоянного тока, выполнена так же, как и описанная выше аналогичная цепь первого аналога. Прототип отличается от упомянутого выше первого аналога наличием реактора, который благодаря своему токоограничивающему действию снижает максимальное значение тока, заряжающего конденсатор. При этом уменьшаются проявления указанного недостатка этого аналога: можно подобрать такую индуктивность реактора, что аппарат для токовой защиты линии питания инвертора не будет поврежден зарядным током входного конденсатора инвертора. Применение реактора не изменяет потери энергии в элементах цепи заряда конденсатора. Но нагрев проводников линии, соединяющей вход инвертора напряжения с источником напряжения постоянного тока, становится меньше, чем в случае первого аналога, так как большая часть потерь энергии выделится в обмотке реактора.
Применение в качестве токоограничивающего элемента реактора связано с достижением трех преимуществ по сравнению с тем другим вариантом токоограничивающего элемента, в котором реактор заменен пусковым резистором. Во-первых, такой резистор обладает относительно большим сопротивлением, и его, после окончания процесса заряда конденсатора, необходимо исключать из входной цепи инвертора во избежание существенного снижения и входного напряжения, и инвертора. Реактор же в установившихся режимах работы можно не выводить из входной цепи инвертора, так как его активное сопротивление намного меньше, чем у пускового резистора. Во-вторых, при одинаковых максимальных значениях зарядного тока конденсатора, максимальное значение производной этого тока при использовании реактора в десятки и сотни тысяч раз меньше, чем при использовании пускового резистора. (Наибольшая производная зарядного тока имеет место в первый момент после замыкания зарядной цепи, она равна , где U – напряжение источника, а L – сумма индуктивностей питающей линии и реактора.) Это преимущество реактора позволяет вводить в содержащую реактор цепь заряда электронные ключи с относительно небольшим допустимым значением производной проходящего через эти ключи тока. Существующие электронные ключи могут не обеспечить включения цепи с пусковым резистором при больших зарядных токах конденсатора. В-третьих, при одинаковых максимальных значениях зарядного тока конденсатора, первое достижение равенства напряжений конденсатора и источника при использовании зарядной цепи с реактором произойдет в несколько раз быстрее, чем конденсатор практически зарядится до напряжения источника при использовании зарядной цепи с пусковым резистором.
Прототип со вторым аналогом объединяет общий признак – наличие последовательного резонансного контура, составленного из реактора и конденсатора. Устройство прототипа значительно проще, чем второго аналога. У прототипа имеется всего один конденсатор, отсутствует трансформатор и инвертор, питающий резонансный контур. Зажимы резонансного контура подключены к выходным зажимам источника постоянно, а не переключаются, как у второго прототипа. Поэтому процесс заряда конденсатора, включенного на выходе устройства, является непрерывным, а не циклическим. Зарядный ток конденсатора на всем протяжении процесса заряда имеет форму синусоиды. Ее амплитуда снижается по экспоненте с постоянной времени, которая равна , где
R – сумма активных сопротивлений питающей линии и реактора. Заряд конденсатора завершается за время, равное четырем-пяти значениям указанной постоянной времени. Это время составляет несколько периодов зарядного тока.
Известное устройство для подключения автономного инвертора напряжения к источнику напряжения постоянного тока (прототип) помимо достоинства (снижения амплитуды зарядного тока конденсатора) обладает существенным недостатком. Он заключается в том, что к концу первой половины периода зарядного тока напряжение конденсатора достигнет своего максимума и станет чрезмерно большим, близким к двойному напряжению источника. Из-за этого требуется применять конденсатор с номинальным напряжением, превышающим указанное максимальное напряжение. В результате увеличатся размеры, масса и стоимость конденсатора. Это же замечание относится и к выбору номинального напряжения элементов, входящих в блок электронных ключей инвертора. Второй недостаток – это большие потери энергии в устройстве и в линии, которой оно соединено с источником напряжения, имеющие место во время заряда входного конденсатора инвертора. Эти потери равны энергии, которую запасает входной конденсатор за время его заряда. Второй недостаток имеет существенное значение в случаях, когда подключение инвертора напряжения к источнику напряжения происходит многократно и достаточно часто, а во время отключения от источника конденсатор разряжается. При этом не только снижается КПД преобразователя электроэнергии, каким является автономный инвертор, но и возможны перегрев и повреждение реактора. Третий недостаток – это относительно большая расчетная мощность реактора, которая равна произведению индуктивности реактора на среднее за время заряда входного конденсатора действующего значения его зарядного тока. Последняя величина определяет нагрев обмотки реактора, для его снижения при использовании прототипа имеется только одна возможность – это увеличение индуктивности реактора.
Задачей, на решение которой направлено предлагаемое изобретение, является улучшение качественных показателей процесса заряда входного конденсатора инвертора: ограничение максимальных значений зарядного тока входного конденсатора инвертора допустимым уровнем при использовании такой индуктивности реактора, которой в прототипе соответствует значительно большее амплитудное значение этого тока; снижение перенапряжений на входном конденсаторе и других элементах автономного инвертора и уменьшение потерь энергии в реакторе и в линии, соединяющей входные зажимы автономного инвертора напряжения с источником напряжения постоянного тока.
Поставленная задача достигается тем, что в устройство для подключения автономного инвертора напряжения к источнику напряжения постоянного тока, содержащее реактор и входной конденсатор инвертора, первый зажим которого подключен к первым входному и выходному зажимам упомянутого устройства, при этом первый выходной зажим этого устройства подключен к первому входному зажиму автономного инвертора напряжения, а первый входной зажим этого устройства соединен с первым выходным зажимом источника напряжения постоянного тока, причем первый входной зажим указанного инвертора и первый выходной зажим упомянутого источника имеют одинаковую полярность, второй зажим входного конденсатора инвертора соединен со вторым выходным зажимом этого устройства, который подключен ко второму входному зажиму указанного инвертора, и с первым зажимом реактора, а второй входной зажим устройства соединен со вторым выходным зажимом упомянутого источника, введены демпфирующая цепь, содержащая последовательно включенные первый и второй резисторы и демпфирующий конденсатор и которая подключена к устройству между его первым и вторым входными зажимами, а также три выключателя, блок управления зарядом входного конденсатора инвертора, измерительный преобразователь тока входного конденсатора и два диода, первый из которых подключен между первым выходным зажимом устройства и вторым зажимом реактора, а второй диод подключен между вторым выходным зажимом устройства и первым зажимом реактора, при этом оба диода включены в направлении, не проводящем по отношению к напряжению упомянутого источника, измерительный преобразователь тока входного конденсатора включен между вторым зажимом входного конденсатора и первым зажимом реактора, первый и второй выключатели подключены параллельно соответственно первому резистору и второму диоду, третий выключатель подключен между вторым зажимом реактора и одним из выходных зажимов указанного автономного инвертора, а выход блока управления зарядом входного конденсатора инвертора соединен с управляющим входом того электронного ключа указанного автономного инвертора, который включен между вторым входным зажимом и указанным выходным зажимом этого инвертора.
Поставленная задача достигается также тем, что блок управления зарядом входного конденсатора инвертора содержит командный элемент, измерительные преобразователи напряжения источника постоянного тока и напряжения входного конденсатора инвертора, запоминающий блок, компаратор, блок управления электронным ключом и четвертый выключатель, включенный между выходом блока управления электронным ключом и выходом указанного блока управления зарядом входного конденсатора инвертора, входы измерительных преобразователей напряжения источника и напряжения входного конденсатора инвертора подключены соответственно к первому и второму входным зажимам устройства и к первому и второму зажимам входного конденсатора инвертора, а к первому, второму и третьему входам блока управления электронным ключом подключены соответственно первый выход командного элемента, выход измерительного преобразователя тока входного конденсатора и первый выход компаратора, у которого второй выход подключен к первому входу запоминающего блока, а первый и второй входы подключены соответственно к выходам измерительного преобразователя напряжения входного конденсатора и запоминающего блока, у которого второй вход подключен ко второму выходу командного элемента, а третий вход подключен к выходу измерительного преобразователя напряжения упомянутого источника.
Поставленная задача достигается также тем, что в качестве демпфирующей цепи и первого выключателя используются униполярный кремниевый ограничитель напряжения, анод которого подключен к тому из входных зажимов устройства, который соединен с имеющим отрицательную полярность зажимом источника напряжения постоянного тока, а катод указанного ограничителя напряжения подключен к другому входному зажиму устройства.
Поставленная задача достигается также тем, что в качестве демпфирующей цепи и первого выключателя используются группа последовательно включенных униполярных кремниевых ограничителей напряжения, причем анод каждого последующего их них соединен с катодом каждого предыдущего, а анод первого униполярного кремниевого ограничителя напряжения подключен к тому из выводов устройства, который соединен с имеющим отрицательную полярность зажимом источника напряжения постоянного тока.
Отличительные признаки предлагаемого решения выполняют следующие функциональные задачи.
Признаки: «в устройство для подключения автономного инвертора напряжения к источнику напряжения постоянного тока введена демпфирующая цепь, содержащая последовательно включенные первый и второй резисторы и демпфирующий конденсатор и которая подключена между его первым и вторым входными зажимами » – позволяют при переходе электронного ключа в выключенное состояние замкнуть ток линии, соединяющей источник напряжения постоянного тока с входом автономного инвертора через демпфирующую цепь, снижая при этом те перенапряжение и возможность повреждения электронного ключа, которые могли бы возникнуть при отсутствии демпфирующей цепи за счет энергии, запасенной в индуктивности указанной линии.
Признаки: «в устройство для подключения автономного инвертора напряжения к источнику напряжения постоянного тока введены два диода, первый из которых подключен между первым выходным зажимом устройства и вторым зажимом реактора, а второй диод подключен между вторым выходным зажимом устройства и первым зажимом реактора, при этом оба диода включены в направлении, не проводящем по отношению к напряжению упомянутого источника» – позволяют уменьшить потери энергии в реакторе. Через первый диод замыкается ток реактора при выключении электронного ключа, если напряжение входного конденсатора инвертора еще не достигло значения напряжения источника постоянного тока. При этом большая часть энергии, запасенной в реакторе к моменту выключения электронного ключа, передается во входной конденсатор инвертора, увеличивая напряжение этого конденсатора. Если же напряжение указанного конденсатора достигнет значения напряжения источника, то начнет проводить ток второй диод, возвращая большую часть энергии, запасенной в реакторе к моменту достижения равенства напряжений указанного конденсатора и источника постоянного тока, в этот источник.
Признаки: «в устройство для подключения автономного инвертора напряжения к источнику напряжения постоянного тока введены три выключателя » и « первый выключатель подключен параллельно первому резистору » – позволяют изменять активное сопротивление демпфирующей цепи. При подключении входа устройства к источнику напряжения постоянного тока первый выключатель находится в выключенном положении, и максимальное значение указанного активного сопротивления, равное сумме сопротивлений первого и второго резисторов, ограничивает на необходимом уровне ток, заряжающий демпфирующий конденсатор. В процессе заряда входного конденсатора инвертора первый выключатель находится во включенном положении, и минимальное значение указанного активного сопротивления, равное сопротивлению второго резистора, ограничивает на необходимом уровне перенапряжения, возникающие при отключениях электронного ключа.
Признаки: «в устройство для подключения автономного инвертора напряжения к источнику напряжения постоянного тока введены три выключателя » и « второй выключатель подключен параллельно второму диоду, третий выключатель подключен между вторым зажимом реактора и одним из выходных зажимов указанного автономного инвертора » – позволяют использовать в процессе заряда входного конденсатора инвертора имеющийся в этом инверторе электронный ключ, а после окончания заряда входного конденсатора исключать из его цепи указанный электронный ключ и подключать этот конденсатор к входу автономного инвертора.
Признаки: «в устройство для подключения автономного инвертора напряжения к источнику напряжения постоянного тока введен блок управления зарядом входного конденсатора инвертора » и « выход блока управления зарядом входного конденсатора инвертора соединен с управляющим входом того электронного ключа указанного автономного инвертора, который включен между вторым входным зажимом и указанным выходным зажимом этого инвертора» – позволяют управлять процессом заряда входного конденсатора инвертора с помощью электронного ключа, входящего в состав инвертора.
Признаки: « блок управления зарядом входного конденсатора инвертора содержит командный элемент, измерительные преобразователи напряжения источника постоянного тока и напряжения входного конденсатора инвертора, запоминающий блок, компаратор, блок управления электронным ключом и четвертый выключатель, включенный между выходом блока управления электронным ключом и выходом указанного блока управления зарядом входного конденсатора инвертора, входы измерительных преобразователей напряжения источника и напряжения входного конденсатора инвертора подключены соответственно к первому и второму входным зажимам устройства и к первому и второму зажимам входного конденсатора инвертора, а к первому, второму и третьему входам блока управления электронным ключом подключены соответственно первый выход командного элемента, выход измерительного преобразователя тока входного конденсатора и первый выход компаратора, у которого второй выход подключен к первому входу запоминающего блока, а первый и второй входы подключены соответственно к выходам измерительного преобразователя напряжения входного конденсатора и запоминающего блока, у которого второй вход подключен ко второму выходу командного элемента, а третий вход подключен к выходу измерительного преобразователя напряжения упомянутого источника» – позволяют начать процесс заряда входного конденсатора, послав команду на первое включение электронного ключа и отключать электронный ключ, когда ток заряда конденсатора достигает максимального допустимого значения. Такое значение тока заряда много меньше амплитудного значения этого тока, которое имело бы место, если бы электронный ключ не выключался до окончания заряда конденсатора. Следовательно, выключение электронного при допустимом максимальном значении зарядного тока дает возможность снизить индуктивность реактора и вместе с ней его массу и стоимость. Перечисленные признаки позволяют также включать электронный ключ, когда ток заряда снижается до минимального значения. Чем меньше отличаются между собой максимальное и минимальное значения зарядного тока, тем меньше пульсации этого тока и ближе его коэффициент формы к единице. При этом снижается нагрев обмотки реактора и проводов линии, соединяющей автономный инвертор с источником постоянного тока. Кроме того, указанные признаки позволяют прервать процесс заряда входного конденсатора инвертора в тот момент, когда его напряжение достигнет значения напряжения источника постоянного тока. При этом исключается влияние падения напряжения в линии, соединяющей источник постоянного тока с входом устройства. Указанное падение напряжения зависит от значения и производной зарядного тока входного конденсатора инвертора.
Признаки: в качестве «демпфирующей цепи и первого выключателя используются униполярный кремниевый ограничитель напряжения, анод которого подключен к тому из входных зажимов устройства, который соединен с имеющим отрицательную полярность зажимом источника напряжения постоянного тока, а катод указанного ограничителя напряжения подключен к другому входному зажиму устройства» – позволяют упростить цепь для ограничения напряжения на входе устройства.
Признаки: в качестве «демпфирующей цепи и первого выключателя используются группа последовательно включенных униполярных кремниевых ограничителей напряжения, причем анод каждого последующего их них соединен с катодом каждого предыдущего, анод первого униполярного кремниевого ограничителя напряжения подключен к тому из входных зажимов устройства, который соединен с имеющим отрицательную полярность зажимом источника напряжения постоянного тока, а катод последнего из этой группы последовательно включенных униполярных кремниевых ограничителей напряжения подключен к другому входному зажиму устройства» – позволяют ограничивать напряжение на входе устройства при высоких значениях напряжения источника. Эти признаки могут также обеспечить меньшее превышение уровня перенапряжения по отношению к напряжению источника, по сравнению с вариантом, в котором применяется один униполярный кремниевый ограничитель напряжения.
Технический результат, который достигается при решении поставленной задачи, выражается в следующем. При одинаковых с прототипом средних значениях зарядного тока входного конденсатора автономного инвертора напряжения отличительные признаки предлагаемого решения позволяют в несколько раз уменьшить следующие параметры устройства и показатели процесса заряда входного конденсатора: индуктивность реактора и его массу; отклонение максимальных значений зарядного тока от среднего; отклонение максимальных значений напряжений на входном конденсаторе и других элементах автономного инвертора от напряжения источника постоянного тока; потери энергии в реакторе и в линии, соединяющей входные зажимы автономного инвертора напряжения с источником напряжения постоянного тока.
На основании изложенного можно заключить, что совокупность существенных признаков заявленного изобретения имеет причинно-следственную связь с достигнутым техническим результатом, т.е. благодаря данной совокупности существенных признаков изобретения стало возможным решение поставленной задачи. Следовательно, заявленное изобретение является новым, обладает изобретательским уровнем и пригодно для использования
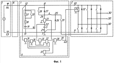
Сущность изобретения поясняется чертежом, где: на фиг.1 представлена принципиальная схема устройства для подключения автономного инвертора напряжения к источнику напряжения постоянного тока, в котором для ограничения перенапряжений используется демпфирующая цепь; на фиг.2 и фиг.3 показаны фрагменты принципиальных схем таких устройств, в которых для ограничения перенапряжений используются соответственно униполярный кремниевый ограничитель напряжения и группа последовательно включенных униполярных кремниевых ограничителей напряжения. На фиг.1, в качестве примера, изображена схема трехфазного мостового инвертора. Шесть электронных ключей инвертора зашунтированы обратными диодами. В качестве электронных ключей могут быть использованы транзисторы или полностью управляемые тиристоры.
Устройство 1 для подключения автономного инвертора 2 напряжения к источнику 3 напряжения постоянного тока содержит следующие основные элементы: реактор 4, входной конденсатор 5 инвертора и блок 6 управления зарядом входного конденсатора инвертора. Первый 7 и второй 8 выходные зажимы устройства 1 подключены соответственно к первому 9 и второму 10 входным зажимам инвертора 2, а также к первому 11 и второму 12 входным зажимам устройства 1. Зажимы 11 и 12 соединены соответственно с первым 13 и вторым 14 источника 3 с помощью линии 15, в которую может входить не показанный на фиг.1 аппарат для включения и защиты этой линии. Первые зажимы 7, 9, 11 и 13 устройства 1, инвертора 2 и источника 3 имеют одинаковую полярность, на фиг.1, 2 и 3 полярность этих зажимов отрицательная. Полярность вторых зажимов 8, 10, 12 и 14 – положительная.
В устройство 1 входит также цепь 16 для ограничения перенапряжений, которая на фиг.1 изображена в виде демпфирующей цепи, содержащей первый 17 и второй 18 резисторы и демпфирующий конденсатор 19. Параллельно первому резистору 17 включен первый выключатель 20. Цепь 16 включена между входными зажимами 11 и 12 устройства 1. Конденсатор 5 подключен своим первым зажимом 21 к выходному зажиму 7 устройства 1, а вторым зажимом 22, через измерительный преобразователь 23 тока этого конденсатора, – к первому зажиму 24 реактора 4. Второй зажим 25 реактора 4 подключен через первый диод 26 к выходному зажиму 7 устройства 1, а первый зажим 24 реактора 4 подключен через второй диод 27 к выходному зажиму 8 устройства 1. Диоды 26 и 27 включены в направлении, не проводящем по отношению к напряжению источника 3. Второй выключатель 28 подключен параллельно диоду 27. Третий выключатель 29 соединяет второй зажим 25 реактора 4 с одним из выходных зажимов 30 инвертора 2. Этот выключатель вместе с реактором 4, измерительным преобразователем 23 тока, конденсатором 5 и электронным ключом 31 инвертора 2, вместе с включенным параллельно ключу 31 обратным диодом 32, образуют цепь заряда конденсатора 5. Эта цепь подключена к выходным зажимам 7 и 8 устройства 1.
Блок 6 управления зарядом входного конденсатора инвертора содержит командный элемент 33, измерительные преобразователи 34 и 35 напряжения источника постоянного тока и напряжения входного конденсатора инвертора, запоминающий блок 36, компаратор 37, блок 38 управления электронным ключом и четвертый выключатель 39. Этот выключатель соединяет выход блока 38 управления электронным ключом с выходом 40 блока 6 управления зарядом конденсатора 5. Выход 40 соединен с управляющим входом электронного ключа 31. Входы измерительных преобразователей напряжения 34 и 35 подключены соответственно к первому 11 и второму 12 входным зажимам устройства 1 и к первому 21 и второму 22 зажимам конденсатора 5. К первому, второму и третьему входам блока 38 управления электронным ключом подключены соответственно первый выход командного элемента 33, выход измерительного преобразователя 23 тока конденсатора 5 и первый выход компаратора 37. Второй выход компаратора 37 подключен к первому входу запоминающего блока 36, а первый и второй входы компаратора 36 подключены соответственно к выходам измерительного преобразователя 35 напряжения входного конденсатора 5 и запоминающего блока 36. Второй вход запоминающего блока 36 подключен ко второму выходу командного элемента 33, а третий вход запоминающего блока 36 подключен к выходу измерительного преобразователя 34 напряжения источника 3.
Цепь 16 для ограничения перенапряжений может быть выполнена простейшим образом, как показано на фиг.2. Она в этом случае состоит из одного элемента – униполярного кремниевого ограничителя 41 напряжения. Анод и катод ограничителя 41 подключены соответственно к первому 11 и второму 12 входным зажимам устройства 1. (Название «униполярный кремниевый ограничитель напряжения» имеет также синонимы: «защитный диод» или «супрессор», а за рубежом используется термин «transient voltage surge suppressor» или сокращенно TVSS.) Цепь 16 для ограничения перенапряжений может быть выполнена также и в виде нескольких последовательно включенных в одном направлении униполярных кремниевых ограничителей 41 напряжения, как показано на фиг.3.
Устройство для подключения автономного инвертора напряжения к источнику напряжения постоянного тока, принципиальная схема которого показана на фиг.1, работает следующим образом.
До подключения к источнику 3 напряжения конденсаторов 5 и 19 равны нулю, а все четыре выключателя 20, 28, 29 и 39 разомкнуты. В разомкнутом состоянии находятся и все электронные ключи инвертора 2. При подключении линии 15 к источнику 3, напряжение которого равно U, начинается процесс заряда демпфирующего конденсатора 19. Емкость Cd этого конденсатора в сотни и тысячи раз меньше емкости С входного конденсатора 5 инвертора. Пренебрежимо малы и значения индуктивности и сопротивления линии 15. В этом случае максимальное значение зарядного тока конденсатора 19 определяется приближенной формулой: , где
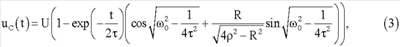
R1 и R2 – сопротивления первого 17 и второго 18 резисторов. После окончания процесса заряда конденсатора 19 его напряжение равно напряжению U источника 3. Это напряжение, измеренное измерительным преобразователем 34, сохраняется в памяти запоминающего блока 36. Выходные сигналы измерительных преобразователей 23 тока и 35 напряжения конденсатора 5, а также компаратора 37 равны нулю. Выключатели 20, 29 и 39 переводят в замкнутое состояние. Выключатель 20 шунтирует резистор 17, при этом активное сопротивление демпфирующей цепи 16 уменьшается до R2 – сопротивления резистора 18. Замыкание выключателей 29 и 39 завершает подготовку к началу процесса заряда основного конденсатора 5. Этот процесс начинается с воздействия на командный элемент 33, который через блок 38 управления электронным ключом 31 и выключатель 39 подает сигнал на включение ключа 31. Одновременно командный элемент подает сигнал на второй вход запоминающего блока 36. В результате этого запоминающий блок сохранит последнее перед замыканием ключа 31 значение U0 напряжения источника и перестанет следить за напряжением на входных зажимах 11 и 12 устройства 1. (Последнее напряжение изменяется с изменением зарядного тока из-за падения напряжения в линии.) С появлением тока и напряжения конденсатора 5 начинают изменяться выходные сигналы измерительных преобразователей 23 и 35. При пренебрежении весьма малым влиянием падения напряжения в линии 15, что также позволяет не учитывать влияние демпфирующей цепи 16 на ток и напряжение конденсатора 5, изображения по Лапласу переходных процессов зарядного тока IC(s) и напряжения UC(s) этого конденсатора можно описать, в общем случае, следующими выражениями:

где s – аргумент изображения функций времени t, L – индуктивность реактора 4, R – его активное сопротивление, UC0 – начальное напряжение конденсатора 5, IC0 – начальный ток реактора. При первом включении электронного ключа 31 две последние величины равны нулю. В этом случае справедливы следующие выражения переходных характеристик, полученные из (1) с помощью обратного преобразования Лапласа:


где – постоянная времени реактора, – волновое сопротивление последовательного резонансного контура, – резонансная угловая частота этого контура. Из-за наличия в этом конуре сопротивления R угловая частота колебаний несколько ниже резонансной.
Выражения (2) и (3) определяют колебательный процесс. Направление тока в цепи заряда изменяется через каждую половину периода угловой частоты . При положительном направлении этого тока он проходит через электронный ключ 31, источник 3 отдает мощность, и напряжение конденсатора 3 возрастает. Ток отрицательного направления проходит через обратный диод, включенный параллельно электронному ключу 31. При этом конденсатор 5 разряжается, а источник 3 потребляет мощность. Этот процесс заканчивается, если ключ 31 не будет разомкнут, через 8-10 постоянных времени реактора 4. Аналогичным образом, с возможным отсутствием электронного ключа и шунтирующего его обратного диода, протекают процессы заряда входного конденсатора в прототипе. Первый недостаток колебательного переходного процесса заряда конденсатора 5 – это большие значения превышений напряжения конденсатора 5 над напряжением источника. Максимум этих превышений наступает через половину периода угловой частоты . Его относительное значение (базовое значение – это напряжение источника) равно . Если С=0,6 Ф, L=0,6 Гн, R=0,6 Ом, то эта величина равна 0,56, что при U=800 В составляет около 450 В. Второй недостаток – большие потери энергии в реакторе. При пренебрежении активным сопротивлением линии, для приведенных значений напряжения источника и емкости конденсатора они составят 192 кДж.
Если максимальное значение ICmax зарядного тока, которое имеет место через четвертую часть периода угловой частоты , (для рассматриваемого примера это около 1500 А) не превосходит заданное в блоке 37 предельное значение IC1, то процесс заряда конденсатора 5 будет продолжаться несколько дольше этого времени, при токе заряда, который немногим меньше указанного максимального значения. Заряд конденсатора 5 прекратится, когда в первый раз напряжение конденсатора 5 достигнет первоначального значения U0 напряжения на входных зажимах 11 и 12 устройства 1. При этом сработает компаратор 37 и своим выходным сигналом через блок 38 и выключатель 39 подаст команду на отключение ключа 31. К этому моменту энергия магнитного поля реактора лишь немногим меньше энергии конденсатора при его заряде до напряжения источника, а напряжение на втором зажиме 25 реактора больше напряжения источника 3. Ток реактора при отключении ключа 31 не может мгновенно измениться и начинает замыкаться через диоды 26 и 27 и источник 3, если напряжение U этого источника не больше напряжения U0, которое было на конденсаторе 5 в момент срабатывания компаратора. (Если напряжение U за время рассматриваемого процесса несколько увеличилось, то вначале ток реактора 4 будет подзаряжать конденсатор 5 до этого напряжения, а затем станет замыкаться через диод 27 и источник 3.) Направление тока в источнике 3 противоположно направлению его напряжения. Тем самым часть энергии, полученной от источника 3, возвращается обратно. Таким образом, устройство 1 является более экономичным, чем прототип, а в реакторе 4 выделятся в виде тепла меньшие потери энергии. Для рассматриваемого примера эти потери примерно равны 145 кДж, что составляет 76% от потерь энергии в реакторе прототипа. Время, в течение которого конденсатор 5 заряжается до напряжения источника 3, равно 0,44 с. Потери энергии, идущие на нагрев реактора, всего на 24% меньше, чем в неуправляемом процессе заряда конденсатора 5.
Потери энергии в реакторе 4 пропорциональны интегралу от квадрата тока конденсатора 5, а его напряжение – интегралу от этого тока в первой степени. Поэтому при постоянных параметрах конденсатора 5 и реактора 4 и том же напряжении источника 3 для снижения потерь энергии в реакторе 4 следует снизить максимальные значения зарядного тока. Устройство 1 реализует эту рекомендацию следующим образом. Электронный ключ 31 переходит в выключенное состояние в момент, когда зарядный ток на первой стадии заряда конденсатора 5 станет равным предельному максимальному значению IC1, заданному в блоке 37 и меньшему максимального значения ICmax. Начинается вторая стадия процесса заряда конденсатора 5, на которой происходит отдача энергии, запасенной в магнитном поле реактора 4. Ток iC (t) реактора 4 замыкается через конденсатор 5 и диод 26. Напряжение конденсатора направлено встречно с током iC(t), что приводит к снижению этого тока и увеличению напряжения конденсатора 5. Одновременно с переходом ключа 31 в выключенное состояние ток линии, соединяющей устройство 1 с источником 3, начинает проходить не по реактору 4, а по демпфирующей цепи 16. Под действием этого тока напряжение на входных зажимах 11 и 12 устройства 1 увеличится скачком и станет больше напряжения источника 3. Начальное превышение напряжения на входе устройства 1 равно IC1R2. Выбором сопротивления R2 второго резистора можно достаточно точно обеспечить желаемое значение перенапряжения. Далее станет проходить быстро затухающий колебательный процесс, после завершения которого ток линии станет равным нулю, а напряжение на входе устройства 1 – равным напряжению источника 3. Желательно выбрать такое значение емкости Cd, чтобы начальное значение производной напряжения на входных зажимах устройства 1 равнялось нулю. Если эта производная положительна (при недостаточной емкости Cd), то некоторое время напряжение на указанных зажимах будет возрастать и превзойдет желаемое значение перенапряжения. Если же эта производная отрицательна, то напряжение на входе устройства 1 сразу же станет снижаться, но емкость Cd окажется больше минимально необходимой, а это приведет к увеличению стоимости и массы устройства 1.
Возвращаясь к процессу заряда основного конденсатора 5, рассмотрим сначала случай, когда минимальное предельное значение тока iC(t), заданное в блоке 38, равно нулю. Наличие диода 26 предотвращает изменение направления тока iC(t). Поэтому вторая стадия процесса изменения тока iC(t) заканчивается, когда этот ток станет равным нулю. Большая часть запасенной в реакторе 4 энергии перейдет в конденсатор 5, увеличивая его напряжение. В момент, когда ток iC(t) станет равным нулю, блок 37 подает сигнал на включение электронного ключа 31. Начинается второй цикл, в котором на первой стадии ключ 31 замкнут и ток iC (t) возрастает до значения IC1, а на второй стадии этот ключ размыкается, и ток IC1 падает до нуля. Эти циклы повторяются до тех пор, когда на первой или второй стадии напряжение uC(t) вырастет до значения, которое хранится в памяти блока 36. При этом компаратор 37 пошлет через блок 38 один сигнал на отключение ключа 31, а на первый вход запоминающего блока 36 – другой сигнал, который переведет этот блок из режима сохранения в памяти первоначального значения напряжения источника 3 в режим отслеживание этого напряжения. Если напряжение конденсатора 5 на первой стадии какого-либо цикла достигнет значения, хранящегося в памяти блока 36, то ток реактора 4 начинает замыкаться через диоды 26 и 27 и источник 3, как это описано выше. Если же напряжение конденсатора 5 достигнет напряжения на входных зажимах 11 и 12 устройства 1 на второй стадии какого-либо цикла, то ток реактора замкнется по цепи, содержащей диоды 26 и 27, линию питания устройства 1 и источник 3. При этом большая часть энергии, накопленной в реакторе 4, вернется в источник 3.
Чем меньше значение тока IC1, тем меньше потери энергии в реакторе, а число циклов и время заряда конденсатора с уменьшением IC1 увеличиваются. Так, для рассматриваемого примера (U=800 В, С=0,6 мкФ, L=0,1 Гн, R=0,15 Ом) при IC1=900 А заряд конденсатора 5 до 800 В завершится на первой стадии второго цикла через 0,85 с после начала его заряда. При этом потери энергии в реакторе составят 51,7 кДж, что в 3,7 раза меньше, чем в прототипе. При IC1=800 А заряд конденсатора 5 до 800 В завершится позже, на первой стадии третьего цикла, через 1,22 с после начала его заряда. При этом потери энергии в реакторе составят 37,2 кДж, что в 1,4 раза меньше, чем при IC1=900 А и в 5,2 раза меньше, чем в прототипе.
Можно еще в большей степени снизить потери энергии в реакторе 4 при том же полном времени заряда конденсатора 5. Для этого предельное минимальное значение IC2, при котором ключ 31 повторно включается, нужно сделать не равным нулю, а близким к IC1. Минимум потерь при этом достигается в недостижимом на практике пределе – при выполнении равенства IC2=IC1. (Пульсации зарядного тока отсутствуют, а число циклов включения и отключения ключа бесконечно велико.) При том же, что и в последнем примере, времени заряда конденсатора 5 (1,22 с) ток IC1 примерно равен 400 А, а потери энергии в реостате снизятся еще в 1,3 раза и составят 28,4 кДж (в 6,8 раза меньше, чем в прототипе). Если снизить индуктивность реактора 4, то при этом уменьшится и его активное сопротивление. Потери энергии уменьшатся пропорционально активному сопротивлению реактора. Практическая реализация рекомендаций по уменьшению индуктивности реактора и приближении IC2 к IC1 имеет два ограничения. Первое из них – это допустимая максимальная частота включения электронного ключа. Второе – это минимальное время, которое необходимо для выполнения ряда операций: измерения текущего значения тока iC (t), сравнения его с заданными пределами IC1 и IC2, подачи сигнала на изменение состояния электронного ключа и исполнения им этой команды.
Демпфирующую цепь 16 можно заменить униполярным кремниевым ограничителем 41 напряжения, как показано на фиг.2, или несколькими последовательно включенными этими ограничителями (фиг.3). Последний вариант можно использовать в двух случаях. Во-первых, когда напряжение источника 3 больше самого большого из номинальных напряжений доступных униполярных кремниевых ограничителей напряжения. Во-вторых, когда сумма номинальных напряжений нескольких униполярных кремниевых ограничителей напряжения ближе к напряжению источника, чем любого одного ограничителя. По своему принципу действия нескольких последовательно включенных ограничителей (защитных диодов) можно заменить одним, номинальное напряжение которого равно сумме номинальных напряжений каждого из последовательно включенных защитных диодов. Униполярный кремниевый ограничитель напряжения представляет собой полупроводниковый диод с лавинной обратной вольт-амперной характеристикой. При использовании ограничителя(ей) 41 на предварительном этапе, до начала процесса заряда конденсатора 5, необходимость включения выключателя 20 отпадает. (Этот выключатель в таком варианте устройства 1 отсутствует.) Нет и этапа заряда демпфирующего конденсатора 19. Первая стадия каждого цикла заряда конденсатора 5 проходит так же, как показано выше. На второй стадии каждого цикла основной процесс – разряд реактора 4 – проходит так же, как и при наличии демпфирующей цепи. Разряд же индуктивности линии 15 на ограничитель 41 напряжения имеет несущественные отличия от рассмотренного выше. Кусочно-линейная (упрощенная) схема замещения униполярного кремниевого ограничителя напряжения состоит из ЭДС Е, равной напряжению, при котором начинается лавинный пробой этого прибора, и последовательно включенного с ней резистора, сопротивление которого равно дифференциальному обратному сопротивлению Rdin защитного диода 41 (для нескольких последовательно включенных защитных диодов – сумме этих сопротивлений всех диодов). ЭДС Е на 10% и более превосходит номинальное напряжение URM в статическом режиме работы, а это напряжение должно быть не меньше напряжения U источника 3. Сопротивление Rdin выполняет функцию сопротивления R2 резистора 18 в демпфирующей цепи. Роль конденсатора 19 играет источник ЭДС Е, но при этом есть следующие отличия. Во-первых, начальное напряжение конденсатора 19 равнялось напряжению U, а ЭДС Е больше этого напряжения, по крайней мере, на 10%. Во-вторых, напряжение конденсатора изменяется по колебательному закону, возвращаясь к начальному значению, а ЭДС Е остается постоянной вплоть до нулевого значения тока индуктивности линии 15. То есть процесс разряда этой индуктивности происходит монотонно и быстрее, чем при наличии демпфирующей цепи. Такой характер этого процесса свидетельствует о преимуществе использования униполярного кремниевого ограничителя 41 напряжения, по сравнению с демпфирующей цепью 16. Другое преимущество состоит в том, что размеры и масса такого ограничителя меньше, чем сумма аналогичных показателей элементов демпфирующей цепи и выключателя 20. Недостаток применения ограничителя 41 напряжения заключается в довольно большом начальном (при выключении ключа 31) напряжении на зажимах 11 и 12 устройства 1. Оно в 1,5 раза и более превосходит URM и, тем более, напряжение U. В этом отношении защитные диоды превосходят варисторы, у которых начальное напряжение в два раза и более превосходит номинальное напряжение варистора в статическом режиме работы, но уступают демпфирующей цепи 16. Применение демпфирующей цепи 16, которая может обеспечить меньшее превышение напряжения на зажимах 11 и 12 устройства 1, позволяет, в некоторых случаях, выбрать с меньшими значениями номинальных напряжений конденсатор 5, а также электронные ключи и обратные диоды инвертора.
После срабатывания компаратора 38 и окончания процесса разряда реактора 4 выполняют следующие действия. Размыкают выключатель 20, подготавливая устройство 1 к следующему подключению к источнику 3. Размыкают выключатели 29 и 39, открывая тем самым возможность работы электронного ключа 31 в составе инвертора 2. Замыкают выключатель 28, что позволяет закоротить диод 27. При этом исключаются потери мощности в диоде 27, и обеспечивается возможность прохождения переменного тока, генерируемого инвертором 3 в его входной цепи, через конденсатор 5. После проведения указанных манипуляций инвертор 2 готов к подключению нагрузки к выходным зажимам 30 и питанию ее переменным током. Постоянная составляющая входного тока инвертора 2 поступает к его входным зажимам 9 и 10 напрямую от источника 3, минуя при этом реактор 4. Эта особенность выгодно отличает устройство 1 от его прототипа. Тем самым при работе инвертора 2 исключаются потери мощности и напряжения в реакторе 4, что повышает КПД преобразования постоянного тока в переменный. Реактор 4, работающий кратковременно, только во время заряда конденсатора 5 (это время не превышает нескольких секунд), может быть выполнен с высокими значениями плотности тока в обмотке реактора. Такая возможность обеспечивает многократное уменьшение массы реактора 4, по сравнению с реактором прототипа.
После окончания работы инвертора 2 выключатель 28 переводят в разомкнутое состояние. Устройство 1 готово к новому подключению к источнику 3 и новому процессу заряда конденсаторов 19 и 5. Если перерыв в подключении устройства 1 к источнику 3 был непродолжителен, то конденсаторы 19 и 5 могут полностью не разрядиться. Это обстоятельство нисколько не осложнит рассмотренный процесс проведения как подготовительных операций (изменения состояния выключателей 20, 28, 29 и 39), так и заряда конденсатора 5, только время заряда конденсаторов 19 и 5 станет меньше.
Источники информации
1. Электротехника: Учебное пособие для вузов. – В 3-х книгах. Книга II. Электрические машины. Промышленная электроника. Теория автоматического управления / Под ред. П.А.Бутырина, Р.Х.Гафиятуллина, А.Л.Шестакова. – Челябинск: Изд-во ЮУрГУ, 2004. – 711 с.
2. Электротехнический справочник: В 3 т.Т 2. Электротехнические изделия и устройства / Под общ. ред. профессоров МЭИ: И.И.Орлова (гл. ред.) и др. – М.: Энергоатомиздат, 1988. – 880 с.
3. В.И.Мелешин. Транзисторная преобразовательная техника. – М.: Техносфера. – 2005. – 632 с.
4. Зиновьев Г.С. Основы силовой электроники: Учебник. – Новосибирск: Изд-во НГУ, 2000 г. – Ч.2 – 197 с. (прототип).
Формула изобретения
1. Устройство для подключения автономного инвертора напряжения к источнику напряжения постоянного тока, содержащее реактор и входной конденсатор инвертора, первый зажим которого подключен к первым входному и выходному зажимам упомянутого устройства, при этом первый выходной зажим этого устройства подключен к первому входному зажиму автономного инвертора напряжения, а первый входной зажим этого устройства соединен с первым выходным зажимом источника напряжения постоянного тока, причем первый входной зажим указанного инвертора и первый выходной зажим упомянутого источника имеют одинаковую полярность, второй зажим входного конденсатора инвертора соединен со вторым выходным зажимом этого устройства, который подключен ко второму входному зажиму указанного инвертора, и с первым зажимом реактора, а второй входной зажим устройства соединен со вторым выходным зажимом упомянутого источника, отличающееся тем, что в устройство введены демпфирующая цепь, содержащая последовательно включенные первый и второй резисторы и демпфирующий конденсатор, и которая подключена между первым и вторым входными зажимами устройства, а также три выключателя, блок управления зарядом входного конденсатора инвертора, измерительный преобразователь тока входного конденсатора и два диода, первый из которых подключен между первым выходным зажимом устройства и вторым зажимом реактора, а второй диод подключен между вторым выходным зажимом устройства и первым зажимом реактора, при этом оба диода включены в направлении, не проводящем по отношению к напряжению упомянутого источника, измерительный преобразователь тока входного конденсатора включен между вторым зажимом входного конденсатора и первым зажимом реактора, первый и второй выключатели подключены параллельно соответственно первому резистору и второму диоду, третий выключатель подключен между вторым зажимом реактора и одним из выходных зажимов указанного автономного инвертора, а выход блока управления зарядом входного конденсатора инвертора соединен с управляющим входом того электронного ключа указанного автономного инвертора, который включен между вторым входным зажимом и указанным выходным зажимом этого инвертора.
2. Устройство для подключения автономного инвертора напряжения к источнику напряжения постоянного тока, содержащее реактор и входной конденсатор инвертора, первый зажим которого подключен к первым входному и выходному зажимам упомянутого устройства, при этом первый выходной зажим этого устройства подключен к первому входному зажиму автономного инвертора напряжения, а первый входной зажим этого устройства соединен с первым выходным зажимом источника напряжения постоянного тока, причем первый входной зажим указанного инвертора и первый выходной зажим упомянутого источника имеют одинаковую полярность, второй зажим входного конденсатора инвертора соединен со вторым выходным зажимом этого устройства, который подключен ко второму входному зажиму указанного инвертора, и с первым зажимом реактора, а второй входной зажим устройства соединен со вторым выходным зажимом упомянутого источника, отличающееся тем, что в устройство введены демпфирующая цепь, в качестве которой используется униполярный кремневый ограничитель напряжения или группа последовательно включенных кремневых ограничителей напряжения, и которая подключена между первым и вторым входными зажимами устройства, а также два выключателя, блок управления зарядом входного конденсатора инвертора, измерительный преобразователь тока входного конденсатора и два диода, первый из которых подключен между первым выходным зажимом устройства и вторым зажимом реактора, а второй диод подключен между вторым выходным зажимом устройства и первым зажимом реактора, при этом оба диода включены в направлении, не проводящем по отношению к напряжению упомянутого источника, измерительный преобразователь тока входного конденсатора включен между вторым зажимом входного конденсатора и первым зажимом реактора, первый выключатель подключен параллельно второму диоду, второй выключатель подключен между вторым зажимом реактора и одним из выходных зажимов указанного автономного инвертора, а выход блока управления зарядом входного конденсатора инвертора соединен с управляющим входом того электронного ключа указанного автономного инвертора, который включен между вторым входным зажимом и указанным выходным зажимом этого инвертора.
3. Устройство по каждому из пп.1 и 2, отличающееся тем, что блок управления зарядом входного конденсатора инвертора содержит командный элемент, измерительные преобразователи напряжения источника постоянного тока и напряжения входного конденсатора инвертора, запоминающий блок, компаратор, блок управления электронным ключом и четвертый выключатель, включенный между выходом блока управления электронным ключом и выходом указанного блока управления зарядом входного конденсатора инвертора, входы измерительных преобразователей напряжения источника и напряжения входного конденсатора инвертора подключены соответственно к первому и второму входным зажимам устройства и к первому и второму зажимам входного конденсатора инвертора, а к первому, второму и третьему входам блока управления электронным ключом подключены соответственно первый выход командного элемента, выход измерительного преобразователя тока входного конденсатора и первый выход компаратора, у которого второй выход подключен к первому входу запоминающего блока, а первый и второй входы подключены соответственно к выходам измерительного преобразователя напряжения входного конденсатора и запоминающего блока, у которого второй вход подключен ко второму выходу командного элемента, а третий вход подключен к выходу измерительного преобразователя напряжения упомянутого источника.
РИСУНКИ
|
|