|
|
(21), (22) Заявка: 2008150837/09, 22.12.2008
(24) Дата начала отсчета срока действия патента:
22.12.2008
(46) Опубликовано: 27.12.2009
(56) Список документов, цитированных в отчете о поиске:
АРТОБОЛЕВСКИЙ И.И. Механизмы в современной технике, изд.2, т.6, 7. – М.: Наука. Главная редакция физико-математической литературы, 1981, с.33, 3427. RU 2158465 C1, 27.10.2000. RU 2196379 C2, 10.01.2003. RU 2119228 C1, 20.09.1998. US 4480599 A, 06.11.1984. DE 3102070 A1, 19.08.1982.
Адрес для переписки:
191036, Санкт-Петербург, С-36, ул. 6-я Советская, 25/20, кв.5, В.С. Григорчуку
|
(72) Автор(ы):
Григорчук Владимир Степанович (RU)
(73) Патентообладатель(и):
Григорчук Владимир Степанович (RU)
|
(54) МАГНИТОЭЛЕКТРИЧЕСКИЙ ДВИГАТЕЛЬ
(57) Реферат:
Изобретение относится к области электротехники и может быть использовано при конвертировании электродвигателей постоянного тока. Предлагаемый магнитоэлектрический двигатель содержит корпус, закрытый передней и задней крышками, клеммовую коробку, внутри корпуса соосно друг другу установлены ведущий и ведомый валы, свободный конец последнего пропущен в отверстие передней крышки. Оба вала связаны между собой посредством муфты, соединенной с ручкой управления. Внутри корпуса размещено несколько усилительных элементов, одинаковых по конструкции и связанных с ведущим валом. Каждый усилительный элемент содержит постоянный магнит, выполненный в виде прямоугольного бруска и установленный вертикально. Внутри магнита выполнены верхний и нижний вертикальные каналы. Каждый усилительный элемент содержит также электромагнитодинамический линейный двигатель, обмотки которого соединены с клеммами клеммовой коробки, зубчатую шестерню, закрепленную на ведущем валу и размещенную в круглом корпусе. Верхний и нижний вертикальные каналы магнита, электромагнитодинамический линейный двигатель и круглый корпус зубчатой шестерни соединены последовательно между собой посредством трубопроводов и все они заполнены стальными шариками. Технический результат – обеспечение экономичного расходования электроэнергии и повышение крутящего момента на ведомом валу за счет использования энергии постоянных магнитов. 8 ил.
Настоящее изобретение относится к области электротехники и может найти применение в качестве электродвигателя постоянного тока.
Известно фоническое колесо, изготовленное из немагнитного материала, установленное вертикально на оси, по окружности которого на равном расстоянии друг от друга закреплены металлические выступы. В нижней части колеса установлены два электромагнита с сердечниками П-образной формы. Камертон включен в цепь электромагнитов. /И.И.Артоболевский, Механизмы в современной технике, изд.2, 6-7 т, М., Наука, Главная редакция физико-математической литературы, 1981, с.33, 3427/.
Недостатками известного фонического колеса являются небольшая частота вращения, невысокая мощность на валу, необходимость в наличии устройства привода камертона.
Указанные недостатки обусловлены конструкцией фонического колеса.
Известен также роликовый мотор, содержащий корпус, вертикальную ось, закрепленную на корпусе, ролик, установленный свободно на оси, выполненный из немагнитного материала, на боковой поверхности которого закреплены постоянные магниты, установленные через 90 градусов один от другого и повернутые одноименными полюсами в сторону от оси вращения. Электромагнит, установленный горизонтально, продольная ось которого проходит через ось вращения ролика и соосна продольной оси каждого из магнитов ролика, повернут к магнитам ролика одноименным полюсом, устройство для предварительного раскручивания ролика.
Недостатками известного роликового мотора являются небольшая мощность, малый крутящий момент, необходимость в механизме предварительного раскручивания.
Указанные недостатки обусловлены конструкцией роликового мотора. Известный роликовый мотор, как наиболее близкий по технической сущности и достигаемому полезному результату, принят за прототип.
Целью настоящего изобретения является повышение технических характеристик роликового мотора.
Указанная цель согласно изобретению обеспечивается тем, что ролик с магнитами, вертикальная ось и электромагнит заменены ведущим и ведомым валами, причем задний конец ведущего вала установлен в подшипнике задней крышки, а передний конец вставлен в торец ведомого вала, свободный конец которого пропущен в отверстие передней крышки, причем оба вала связаны друг о другом посредством муфты, которая кинематически соединена с ручкой управления, установленной снаружи корпуса, несколькими усилительными элементами, одинаковыми по конструкции, связанных с ведущим валом, каждый из которых содержит постоянный магнит, выполненный в форме прямоугольного бруска, установленного вертикально, внутри которого выполнены верхний и нижний вертикальные каналы, входное отверстие верхнего вертикального канала открывается на торцевую поверхность одного магнитного полюса, а входное отверстие нижнего вертикального канала открывается на торцевую поверхность другого магнитного полюса, причем выходные отверстия верхнего и нижнего вертикальных каналов выходят на среднюю часть постоянного магнита, на противоположные стороны, где напряженность магнитного поля самая минимальная, кроме того, каждый усилительный элемент имеет электромагнитодинамический линейный двигатель, состоящий из С-образного магнита, между полюсами которого установлена электроизоляционная трубка, имеющая сквозные соосные пазы, в которые вставлены две щетки, подключенные к клеммам клеммовой коробки, причем выходное отверстие верхнего вертикального канала соединено трубопроводом с входным отверстием электроизоляционной трубки электромагнитодинамического линейного двигателя, а входное отверстие упомянутого канала соединено трубопроводом с выходным отверстием нижнего вертикального канала, кроме того, зубчатая шестерня усилительного элемента закреплена на ведущем валу и размещена в круглом корпусе, входное отверстие которого трубопроводом соединено с выходным отверстием электроизоляционной трубки электромагнитодинамического линейного двигателя, а выходное отверстие круглого корпуса соединено трубопроводом с входным отверстием нижнего вертикального канала, кроме того, верхний и нижний вертикальные каналы, трубопроводы, электроизоляционная трубка электромагнитодинамического линейного двигателя, круглый корпус зубчатой шестерни заполнены стальными шариками, контактирующими друг с другом и с щетками электромагнитодинамического линейного двигателя, причем каждый шестой шарик выполнен из ферросплава, не проводящего электрический ток, а все трубопроводы выполнены из немагнитного материала.
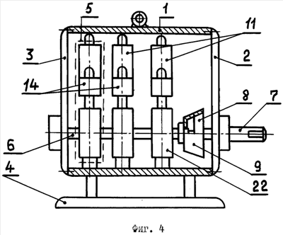
Сущность изобретения поясняется чертежами, где на фиг.1 изображен общий вид магнитоэлектрического двигателя, на фиг.2 – вид сзади на магнитоэлектрический двигатель, на фиг.5 – вид спереди на магнитоэлектрический двигатель, на фиг.4 – расположение узлов внутри корпуса магнитоэлектрического двигателя, на фиг.5 – схема усилительного элемента магнитоэлектрического двигателя, на фиг.6 – картина магнитного поля прямоугольного магнита, на фиг.7 – устройство электромагнитодинамического двигателя, на фиг.8 – схема работы усилительного элемента.
Магнитоэлектрический двигатель содержит корпус 1, закрытый передней 2 и задней 3 крышками и имеющий опорную плиту 4. Внутри корпуса размещено несколько усилительных элементов 5, одинаковых по конструкции, ведущий вал 6, один конец которого установлен в подшипнике задней крышки, а другой вставлен в торец ведомого вала 7, свободный конец которого пропущен в отверстие передней крышки. На заднем конце ведомого вала закреплена ведомая полумуфта 8, взаимодействующая с ведущей полумуфтой 9, которая установлена на шлицах ведущего вала с возможностью продольного перемещения и кинематически связана с ручкой управления 10. Каждый усилительный элемент содержит постоянный магнит 11, выполненный в форме прямоугольного бруска, установленного вертикально, внутри которого выполнены верхний 12 и нижний 13 вертикальные каналы. Входное отверстие верхнего вертикального канала открывается на торцевую поверхность одного магнитного полюса, а входное отверстие нижнего вертикального канала открывается на торцевую поверхность другого магнитного полюса, причем выходные отверстия верхнего и нижнего вертикальных каналов выходят на среднюю часть постоянного магнита, на противоположные стороны, где напряженность магнитного поля самая минимальная или вовсе отсутствует. Каждый усилительный элемент имеет электромагнитодинамический двигатель 14, состоящий из С-образного постоянного магнита 15, между полюсами которого установлена электроизоляционная трубка 16, имеющая сквозные соосные пазы, в которые вставлены две щетки 17, одна напротив другой, подключенные к клеммам клеммовой коробки 18. Выходное отверстие верхнего вертикального канала соединено трубопроводом 19 с входным отверстием электроизоляционной трубки электромагнитодинамического двигателя, а входное отверстие упомянутого канала трубопроводом 20 соединено с выходным отверстием нижнего вертикального канала. Зубчатая шестерня 21 усилительного элемента закреплена на ведущем валу и размещена в круглом корпусе 22, входное отверстие которого трубопроводом 25 соединено с выходным отверстием электроизоляционной трубки электромагнитодинамического двигателя, а выходное отверстие круглого корпуса трубопроводом 24 соединено с входным отверстием нижнего вертикального канала. Все трубопроводы, электроизоляционная трубка, круглый корпус, верхний и нижний вертикальные каналы заполнены стальными шариками 25, контактирующими друг с другом и с щетками электромагнитодинамического двигателя. Чтобы предотвратить действие электрического тока на шарики, находящиеся вне зоны электроизоляционной трубки электромагнитодинамического двигателя, каждый шестой шарик выполнен из ферросплава, не проводящего электрический ток.
Работа магнитоэлектрического двигателя.
Перед включением магнитоэлектрического двигателя необходимо ручкой управления 10 выключить муфту и разъединить ведущий 6 и ведомый 7 валы. После включения электромагнитодинамического двигателя 14 постоянный ток I поступает на щетки 17, при этом щетки должны касаться одновременно не менее четырех шариков 25. Электрический ток проходит через шарики 25, находящиеся в магнитном поле С-образного магнита 15 и на них действует возникающая динамическая сила F, заставляя их перемещаться со скоростью V и через зубья шестерни 21 вращать ведущий вал 6 с небольшой скоростью. Если посмотреть на фиг.6, где представлена картина магнитного поля магнита 11, то видно, что магнитное поле сосредоточено на полюсах, а в средней части, на фиг.6 показано пунктирными линиями, оно вовсе отсутствует. Поэтому при движении шариков 25 при подходе их к верхнему 12 и нижнему 13 вертикальным каналам они, под действием магнитного поля, с ускорением втягиваются внутрь магнита 11 с силами F1 и F2. Те шарики 25, которые находятся в средней части магнита, будут беспрепятственно выходить из него и двигаться дальше по трубопроводам 19, 20. В результате непрерывного воздействия магнитного поля магнита 11 скорость движения шариков 25 будет возрастать, а крутящий момент будет определяться равнодействующей силой Fp. Как только зубчатая шестерня 21 и вместе с ней ведущий вал 6 достигнут максимальной частоты вращения и максимального вращающего момента поворачивается ручка управления 10. Ведущая полумуфта 9 прижимается к ведомой полумуфте 8 и ведомый вал 7 начинает вращаться и приводить в движение механизм, который с ним соединен. Частота вращения ведомого вала 7 и ведущего вала 6 может изменяться в ту или иную сторону при увеличении или уменьшении тока, подаваемого на щетки 17 электромагнитодинамического двигателя. Магнитоэлектрический двигатель не реверсивный и не может вращаться в противоположную сторону. Для его остановки необходимо прекратить подачу электрического тока на щетки 17 электромагнитодинамического двигателя и после остановки ведущего вала 6 отключить муфту. Таким образом, при работе предлагаемого двигателя кроме энергии электрического тока для вращения ведомого вала 7 используется энергия магнитного поля. Все усилительные элементы 5 работают одинаково и одновременно. Для того, чтобы мощность на обоих валах была максимальной, магниты 11 должны иметь большую магнитную напряженность и быть изготовленными из сплавов, в которые входят редкоземельные элементы.
Технический результат: экономия электроэнергии, экономия цветных и черных металлов, возможность за счет небольших затрат получить большую мощность.
Формула изобретения
Магнитоэлектрический двигатель, содержащий корпус, закрытый передней и задней кризами, валы, установленные внутри корпуса, клеммовую коробку, отличающийся тем, что задний конец ведущего вала установлен в подлиннике задней крышки, а передний конец вставлен в торец ведомого вала, свободный конец которого пропущен в отверстие передней крышки, причем оба вала связаны друг с другом посредством муфты, которая кинематически соединена с ручкой управления, установленной снаружи корпуса, кроме того, ведущий вал связан с несколькими усилительными элементами, одинаковыми по конструкции, каждый из которых содержит постоянный магнит, выполненный в форме прямоугольного бруска, установленного вертикально, внутри которого выполнены верхний и нижний вертикальные каналы, входное отверстие верхнего вертикального канала открывается на торцевую поверхность одного магнитного полюса, а входное отверстие нижнего вертикального канала открывается на торцевую поверхность другого магнитного полюса, причем выходные отверстия верхнего и нижнего вертикальных каналов выходят на среднюю часть постоянного магнита, на противоположные стороны, где напряженность магнитного поля самая минимальная, кроме того, каждый усилительный элемент имеет электромагдитодинамический линейный двигатель, состоящий из С-образного магнита, между полюсами которого установлена электроизоляционная трубка, имеющая сквозные соосные пазы, в которые вставлены две щетки, подключенные к клеммам клеммовой коробки, причем выходное отверстие верхнего вертикального канала соединено трубопроводом с входным отверстием электроизоляционной трубки электромагнитодинамического линейного двигателя, а входное отверстие упомянутого канала соединено трубопроводом с выходным отверстием нижнего вертикального канала, кроме того, зубчатая шестерня усилительного элемента закреплена на ведущем валу и размещена в круглом корпусе, входное отверстие которого трубопроводом соединено с выходным отверстием электроизоляционной трубки электромагнитодинамического линейного двигателя, а выходное отверстие круглого корпуса соединено трубопроводом с входным отверстием нижнего вертикального канала, кроме того, верхний и нижний вертикальные каналы, трубопроводы, электроизоляционная трубка электромагнитодинамического линейного двигателя, круглый корпус зубчатой шестерни заполнены стальными шариками, контактирующими друг с другом и с щетками электромагнитодинамического линейного двигателя, причем каждый шестой шарик выполнен из ферросплава, не проводящего электрический ток, а все трубопроводы выполнены из немагнитного материала.
РИСУНКИ
|
|