|
|
(21), (22) Заявка: 2008134178/28, 21.08.2008
(24) Дата начала отсчета срока действия патента:
21.08.2008
(46) Опубликовано: 27.12.2009
(56) Список документов, цитированных в отчете о поиске:
US 7294956 B2, 13.11.2007. JP 2007066975 A, 15.03.2007. US 6069436 A, 30.05.2000. US 5414279 A, 09.05.1995. RU 53500 U1, 10.05.2006.
Адрес для переписки:
105187, Москва, ул. Щербаковская, 53, ОАО “Оптрон”, зам. ген. директору по науке О.Р. Абдуллаеву
|
(72) Автор(ы):
Абдуллаев Олег Рауфович (RU), Якунин Александр Сергеевич (RU), Шишонок Елена Михайловна (BY), Леончик Сергей Викентьевич (BY)
(73) Патентообладатель(и):
Открытое акционерное общество “Оптрон” (RU)
|
(54) СВЕТОИЗЛУЧАЮЩИЙ ЭЛЕМЕНТ
(57) Реферат:
Изобретение относится к микроэлектронике, в частности к области создания твердотельных полупроводниковых светоизлучающих устройств на основе полупроводниковых материалов, и может быть использовано при конструировании высоконадежных и эффективных светоизлучающих элементов в широком диапазоне УФ-, видимого, в том числе «белого» и ИК-излучения. Светоизлучающий элемент содержит корпус (1) с оптически прозрачной крышкой (2), внутри которого размещен и электрически соединен с ним эмитирующий свет кристалл (3) с полупроводниковой структурой, при этом полость корпуса (1) равномерно заполнена светоизлучающим веществом – порошком кубического нитрида бора (6), легированным примесью. Причем в качестве примеси может быть использован, по меньшей мере, один элемент из группы Be, Cr, Мn, а также редкоземельные элементы. Условие равномерного распределения в полости корпуса (1) легированного разными редкоземельными элементами порошка (6) кубического нитрида бора обеспечивает высокую однородность моно- и полноцветного свечения. Изобретение обеспечивает повышение надежности и срока службы прибора, увеличивает световой выход за счет оптимизации коэффициента преломления. 2 з.п. ф-лы, 1 ил.
Изобретение относится к микроэлектронике, в частности к области создания твердотельных полупроводниковых светоизлучающих устройств на основе полупроводниковых материалов, и может быть использовано при конструировании высоконадежных и эффективных светоизлучающих элементов в широком диапазоне УФ-, видимого, в том числе «белого» и ИК-излучения.
Известен светоизлучающий элемент на основе полупроводниковых нитридов третьей группы (Патент US 7247884, МПК: H01L 33/00, опубликован 24.07.2007 г., [1]), содержащий подложку, светоизлучающий слой из полупроводникового нитрида группы АIIIBV и, по меньшей мере, один слой нитрида группы АIIIBV, легированный примесями, например редкоземельными элементами (РзЭ), поглощающий свет нижележащего светоизлучающего слоя и излучающий свет с большей длиной волны.
Недостатком описанного светоизлучающего элемента является сложность производства и необходимость применения энергоемкого дорогого оборудования, что приводит к дороговизне таких приборов. Кроме того, используемые в светоизлучающих элементах [1] нитриды группы АIIIBV, а также тройные и четверные соединения на их основе имеют ширину запрещенной зоны =1.9-3.4 эВ, ограничивающую по длине волны свет, эмитируемый светоизлучающим элементом. Понятно, что бессмысленно проводить активирование нитридов группы АIIIBV ионами РзЭ, световая эмиссия на которых имеет энергию кванта больше, чем ширина запрещенной зоны светоизлучающего слоя нитрида группы АIIIBV (для [1] это больше, чем 3,4 эВ ( =365 нм)). Эта световая эмиссия будет самопоглощена активированным РзЭ светоизлучающим слоем нитрида группы АIIIBV, следовательно, отсутствует возможность получения более коротковолновой световой эмиссии. С помощью описанной в [1] полупроводниковой структуры светоизлучающего элемента нельзя получить излучение белого цвета свечения.
Наиболее близким по технической сущности к предлагаемому техническому решению и выбранным в качестве прототипа является полупроводниковый светоизлучающий элемент (Патент US 7294956, МПК: H01J 1/63; H01L 31/055, опубликован 13.11.2007 г., [2]). Светоизлучающий элемент [2] состоит из корпуса с помещенным внутри кристаллом, эмитирующим свет в диапазоне 350-410 нм, электрически соединенным с корпусом, полость которого заполнена светоизлучающим веществом. Светоизлучающее вещество представляет собой компаунд (смола) с частицами фосфоров различного цвета. Белый цвет получают путем добавления фосфора желтого цвета к фосфорам синего, зеленого и красного цветов свечения. Источником излучения различного цвета являются фосфоры (люминофоры). В качестве фосфоров, т.е. источников излучения синего, зеленого и красного цветов, используют алюминаты, галофосфаты и оксисульфидные фосфоры. В качестве желтого фосфора используют силикаты (Ba-Sr-Ca). Свечение фосфоров, и в том числе желтого цвета, возбуждают ближним УФ-излучением (350-410 нм) полупроводникового светоизлучающего кристалла.
Недостатком устройства-прототипа [2] является ограниченный диапазон излучения светоизлучающего элемента (с энергией кванта h <3.4 эВ или длиной волны излучения >365 нм), который лимитируется излучающими характеристиками фосфоров. Механическая прочность описанного светоизлучающего элемента низка из-за необходимости использовать компаунд, который при температурных перепадах в процессе эксплуатации светоизлучающего элемента механически воздействует на элементы конструкции прибора, например на проволочные выводы в местах их присоединения, что приводит к их обрыву. Кроме того, сами фосфоры (люминофоры) имеют низкую температурную стабильность, их излучение подвержено термическому тушению, они не являются радиационно-стойкими, не устойчивы к работе в высоких электрических полях, имеют узкий спектр возбуждения люминесценции (излучения). Так, например, фосфоры на основе алюмоиттриевых гранатов, активированных церием, имеют спектр возбуждения с резко выраженным максимумом на длине волны 470 нм, что существенно снижает их эффективность, а при других длинах волн генерации излучение указанных люминофоров подвержено температурному тушению уже при низких температурах. Алюминаты не устойчивы к воздействию кислот. Световой поток галофосфоров уже заметно снижается при температуры более 25°С и в весьма значительной степени – при понижении температуры ниже 0°С. Силикаты обладают наибольшей эффективностью люминесценции при возбуждении светом с =253,7 нм.
Задачей предлагаемого технического решения является создание светоизлучающего элемента, не содержащего в своей конструкции компаундов на основе эпоксидных смол, с расширенным диапазоном излучения (до h >3.4 эВ и <365 нм), обладающего высокой стабильностью и не подверженного термическому тушению и деградации, а также увеличение механической, температурной, химической и радиационной стойкости устройства и его устойчивости при эксплуатации в сильных электрических полях.
Техническим эффектом предлагаемого светоизлучающего элемента являются:
– высокая надежность и большой срок службы;
– высокая эффективность излучения.
Решение поставленной задачи и соответствующий технический результат достигаются тем, что в светоизлучающем элементе, содержащем корпус с оптически прозрачной крышкой, внутри которого размещен кристалл с полупроводниковой структурой, эмитирующий свет, электрически соединенный с корпусом, полость которого заполнена светоизлучающим веществом, согласно изобретению в качестве светоизлучающего вещества выбран легированный примесью порошок кубического нитрида бора, частицы которого равномерно распределены в полости корпуса.
В качестве примеси могут быть использованы, по крайней мере, один элемент из группы Be, Cr, Мn, а также, по меньшей мере, один из редкоземельных элементов.
Условия равномерного распределения в полости корпуса легированного разными редкоземельными элементами порошка кубического нитрида бора (cBN) обеспечивает высокую однородность моно- и полноцветного свечения.
Новым в предлагаемом устройстве является то, что в светоизлучающем элементе в качестве светоизлучающего вещества взят порошок кубического нитрида бора, легированный примесями, при этом частицы порошка равномерно распределены в полости корпуса. В качестве примесей взят хотя бы один элемент из группы Be, Cr, Мn или группы редкоземельных элементов.
Сопоставление предлагаемого светоизлучающего элемента с уровнем техники и отсутствие описания аналогичного технического решения в известных источниках информации позволяет сделать вывод о соответствии предлагаемого устройства критерию «новизна».
Заявляемое устройство характеризуется совокупностью признаков, проявляющих новое качество, что позволяет сделать вывод о соответствии критерию «изобретательский уровень».
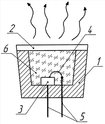
На чертеже схематически изображен светоизлучающий элемент в разрезе. Прибор содержит: корпус – 1; оптически прозрачную крышку – 2; кристалл – 3 с полупроводниковой структурой на основе нитридов группы АIIIВV, а также их тройных и четверных соединений, эмитирующий свет на длине волны 210-410 нм; проволоку – 4, соединенную с электрическим выводом 5; частицы легированного кубического нитрида бора (cBN) в виде порошка – 6 формируют равномерный слой светоизлучающего вещества. Возможен вариант беспроволочного соединения кристалла.
Прибор работает следующим образом.
К электрическим выводам 5 корпуса 1 прикладывается напряжение, обеспечивающее излучение полупроводниковой структуры кристалла 3. Под действием этого излучения в слое порошка 6 cBN начинает эмитировать свет с длиной волны, определяемой выбранной легирующей примесью.
Выбор в качестве светоизлучающего вещества порошка 6 кубического нитрида бора приводит к повышению надежности и срока службы прибора при использовании проволочных соединений, а также к стабильности и отсутствию деградации излучения в условиях воздействия повышенной температуры, радиации, сильных электрических полей.
Это можно объяснить следующим образом.
Кубический нитрид бора (cBN), полупроводник с наибольшей шириной запрещенной зоны ( Е=6.4 эВ) в группе АIIIBV (GaN: Е=3.4 эВ, A1N: Е=6.2 эВ), ближайший аналог алмаза ( Е=5.5 эВ), превосходит последний по ширине запрещенной зоны, термической, радиационной и химической стойкости, возможности формирования n- и р-типов проводимости, его применение является принципиально важным для реализации данного изобретения (Phys. State. Sol. (b) 244, 6, 2172 – 2179 (2007), [3]; ФТТ, 2007, том 49, вып.10, стр.1797-1803, [4]).
Помимо того что кубический нитрид бора обладает набором вышеперечисленных уникальных свойств и обладает наибольшей шириной запрещенной зоны в группе нитридов, он может быть активирован примесями редкоземельных элементов в широком диапазоне концентраций, что позволяет существенным образом увеличить интенсивность световой эмиссии на ионах редкоземельных элементов (РзЭ), по сравнению с другими нитридами. Основанием для этого служит практический вывод, полученный для GaN, в который по причине жесткости кристаллической решетки соединения удается инкорпорировать ионы РзЭ, не ассоциированные друг с другом в большей концентрации, чем в другие кристаллические матрицы. Кубический нитрид бора имеет более жесткую кристаллическую решетку, чем GaN.
Как показали проведенные в [3] и [4] исследования, легирование нитридов группы
АIIIBV редкоземельными элементами (РзЭ) является одной из перспективных возможностей создания световых эмиттеров, с эмиссией в широком спектральном диапазоне, не подверженной температурному тушению. Чем шире запрещенная зона нитрида, тем шире спектральный диапазон световой эмиссии, тем меньше ее температурное тушение. Излучательные электронные переходы (типа 4f-4f, 4f-5d) на трехвалентных ионах различных редкоземельных элементов, инкорпорированных в различные кристаллические матрицы, являются источниками световой эмиссии в виде линейчатых спектров или широких полос в УФ-, видимом или ИК-диапазонах. Указанные электронные переходы запрещены для свободных ионов, но оказываются разрешенными при внедрении ионов в кристаллическую матрицу. Влияние той или иной кристаллической матрицы лимитирует возможности использования светового эмиттера или фосфора в том или ином практическом приложении.
При фотовозбуждении люминесценция ни ионах РзЭ в cBN возбуждается путем передачи энергии световых квантов электронам f-оболочек ионов РзЭ резонансно, или через существующие в материале дефектные состояния собственной природы, или (при высокоэнергетичном возбуждении с >190 нм (6.4 эВ)) через запрещенную зону Е. В случае возбуждения электронами, энергия которых превышает существенным образом Е, возбуждение ФЛ идет через все упомянутые каналы одновременно. При электровозбуждении (электролюминесценция) прикладываемое электрическое поле сообщает электронам проводимости энергию, и горячие электроны посредством удара сообщают f-электроном необходимую энергию. Во всех случаях возбуждения f-электроны переходят в возбужденное состояние с последующим переходом в основное состояние с испускание света в различных спектральных диапазонах в зависимости от используемых РзЭ. Например, Gd в cBN обеспечивает УФ узкополосую люминесценцию с максимумом при ~315 нм; Се – широкополосую УФ, фиолетовую и синюю/голубую, пригодную для использования в настраиваемых источниках света в диапазоне 250-450 нм; Тb – зеленую, Sm и Еu – красную, Nd, Pr, Yb, Er, Но – инфракрасную и т.д. Люминесценция является термостабильной, практически не зависит от температуры в диапазоне 7-1300 К, устойчива к химически агрессивным средам, радиационным воздействиям и электрическим полям.
Под действием рентгеновского или электронного облучения слой порошка 6 cBN может эмитировать свет с длиной волны, определяемой выбранной легирующей примесью.
Использование кубического нитрида бора (cBN) в виде порошка для заполнения им полости корпуса в предлагаемом устройстве светоизлучающего элемента в совокупности обеспечивает устранение возможности механического воздействия на места присоединения проволочных выводов, возникающего при температурных перепадах за счет различия в коэффициентах температурного расширения, которое имеет место при применении смол и компаундов, что практически исключает вероятность обрыва проволочных соединений и, следовательно, повышает надежность прибора и срок его службы, а также увеличивает световой выход за счет оптимизации коэффициентов преломления. Кроме того, использование порошка из кубического нитрида бора с большой шириной запрещенной зоны (6,4 эВ) дает возможность получения световой эмиссии на ионах РзЭ в самом широком спектральном диапазоне. Чем шире ширина запрещенной зоны, тем шире спектральный диапазон световой эмиссии с большим сроком службы и стабильностью, отсутствием деградации излучения и резким снижением влияния термического тушения. При этом светоизлучающий элемент дополнительно приобретает температурную (до 1000-1300°С), химическую и радиационную стойкость и устойчивость при работе в сильных электрических полях за счет характеристик кубического нитрида бора.
Пример реализации 1
Для изготовления светоизлучающего элемента в красной области спектра используют порошок 6 кубического нитрида бора, легированный Еu (5 вес.%), с размером зерна до 10 мкм и размещают его в полости корпуса 1. Посредством подачи электрического напряжения на кристалл 3 с полупроводниковой структурой возбуждается УФ-излучение на длине волны 213÷488 нм, под воздействием которого в порошке 6 возбуждается ФЛ с максимумом интенсивности при 580 нм.
Пример реализации 2
Для изготовления светоизлучающего элемента в красной области спектра используют порошок 6, легированный Sm (5 вес.%), с размером зерна до 10 мкм и размещают его в корпусе 1 светоизлучающего элемента.
Посредством подачи электрического напряжения на кристалл 3 с полупроводниковой структурой возбуждается УФ-излучение на длине волны 213÷488 нм, под воздействием которого в порошке 6 возбуждается ФЛ с максимумом интенсивности при 600 нм.
Пример реализации 3
Для изготовления светоизлучающего элемента в зеленой области спектра используют порошок кубического нитрида бора 6, легированный Тb (5 вес.%), с размером зерна до 10 мкм и размещают его в корпусе 1 светоизлучающего элемента.
Посредством подачи электрического напряжения на кристалл 3 с полупроводниковой структурой возбуждается УФ-излучение на длине волны 213÷488 нм, под воздействием которого в порошке 6 возбуждается ФЛ с максимумом интенсивности при 540 нм.
Пример реализации 4
Для изготовления светоизлучающего элемента берут два порошка кубического нитрида бора, легированный в отдельности Тb и Еu (по 5 вес.%), с размером зерна до 10 мкм, смешивают их в необходимой пропорции (3:5) соответственно, размещают смесь в корпусе 1 светоизлучающего элемента.
Посредством подачи электрического напряжения на кристалл 3 с полупроводниковой структурой возбуждается УФ-излучение на длине волны 213÷488 нм, под воздействием которого в порошках 6 возбуждается ФЛ в зеленой и красной областях спектра с максимумом интенсивности при 540 и 580 нм. Смешение цветов дает желтый цвет.
Пример реализации 5
Для изготовления светоизлучающего элемента в синей области спектра берут порошок кубического нитрида бора 6, легированный Тm (5-7 вес.%), с размером зерна до 10 мкм и размещают его в корпусе 1 светоизлучающего элемента.
Посредством подачи электрического напряжения на кристалл 3 с полупроводниковой структурой возбуждается УФ-излучение на длине волны 213÷488 нм, под воздействием которого в порошке 6 возбуждается ФЛ с максимумом интенсивности при 475 нм.
Пример реализации 6
Для изготовления светоизлучающего элемента используют три порошка кубического нитрида бора, легированных в отдельности Eu, Tb Tm (от 5 до 7 вес.%), с размером зерна до 10 мкм, смешивают их в пропорции (5:3:1) соответственно, размещают смесь в корпусе 1 светоизлучающего элемента.
Посредством подачи электрического напряжения на кристалл 3 с полупроводниковой структурой возбуждается УФ-излучение на длине волны 213÷488 нм, под воздействием которого в порошке 6 возбуждается ФЛ в красной (580 нм), зеленой (540 нм) и синей (475 нм) областях спектра. Смешение цветов дает белый свет.
Пример реализации 7
Для изготовления светоизлучающего элемента используют порошок кубического нитрида бора 6, легированный Nd (от 5 до 7 вес.%), с размером зерна до 10 мкм и размещают его в корпусе 1 светоизлучающего элемента.
Посредством подачи электрического напряжения на кристалл 3 с полупроводниковой структурой возбуждается УФ-излучение, под воздействием которого в порошке 6 возбуждается ФЛ в ИК-области спектра с максимумами при 898 нм и 1060 нм.
Пример реализации 8
Для изготовления светоизлучающего элемента берут порошок кубического нитрида бора 6, легированный Еr (от 5 до 7 вес.%), с размером зерна до 10 мкм и размещают его в корпусе 1 светоизлучающего элемента слоем.
Посредством подачи электрического напряжения на кристалл 3 с полупроводниковой структурой возбуждается УФ-излучение, под воздействием которого в порошке 6 возбуждается слабое видимое и интенсивная ФЛ в ИК-области спектра с максимумом при 1,53 нм.
Пример реализации 9
Для изготовления светоизлучающего элемента берут порошок кубического нитрида бора 6, легированный Gd (от 5 до 7 вес.%), с размером зерна до 10 мкм и размещают его в корпусе 1 светоизлучающего элемента. Посредством подачи электрического напряжения на кристалл 3 с полупроводниковой структурой возбуждается УФ-излучение, под воздействием которого в порошке 6 возбуждается узкополосная ФЛ с максимумом при ~315 нм.
Пример реализации 10
Для изготовления светоизлучающего элемента берут порошок кубического нитрида бора 6, легированный Се (от 5 до 7 вес.%), с размером зерна до 10 мкм и размещают его в корпусе 1 светоизлучающего элемента.
Посредством подачи электрического напряжения на кристалл 3 с полупроводниковой структурой возбуждается УФ-излучение на длине волны 213-488 нм, под воздействием которого в порошке 6 возбуждается широкополосная ФЛ в диапазоне 240-450 нм.
Пример реализации 11
Для изготовления светоизлучающего элемента берут порошок кубического нитрида бора 6, легированный Но (от 5 до 7 вес.%), с размером зерна до 10 мкм и размещают его в корпусе 1 светоизлучающего элемента.
Посредством возбуждения кристалла 3 с полупроводниковой структурой излучением на длине волны 630 нм, в порошке 6 наблюдается ФЛ в ИК-области спектра с максимумами при 1970 нм, 2010 нм, 2050 нм.
Пример реализации 12
Для изготовления светоизлучающего элемента берут порошок кубического нитрида бора 6, легированный Yb (от 5 до 7 вес.%), с размером зерна до 10 мкм и размещают его в корпусе 1 светоизлучающего элемента.
Посредством возбуждения кристалла 3 с полупроводниковой структурой, излучением на длине волны 981 нм, в порошке 6 наблюдается ФЛ в ИК-области спектра с максимумами при 1020 нм и 1060 нм.
Пример реализации 13
Для изготовления светоизлучающего элемента берут порошок кубического нитрида бора 6, легированный Рr (до 7%), с размером зерна до 10 мкм и размещают его в корпусе 1 светоизлучающего элемента.
Посредством воздействия жесткого рентгеновского излучения на кристалл 3 с полупроводниковой структурой в порошке 6 возбуждается ФЛ с максимумами спектра при 300 нм, 392 нм и 480 нм.
Пример реализации 14
Для изготовления светоизлучающего элемента берут порошок кубического нитрида бора 6, легированный различными РзЭ, указанными в примерах 1-13, с размером зерна до 10 мкм и размещают его в корпусе светоизлучающего элемента.
Посредством воздействия электронного облучения с энергией электронов 150 кэВ – 6 МэВ на кристалл 3 с полупроводниковой структурой в слое порошка 6 возбуждается ФЛ со спектральным распределением излучения, соответствующим выбранному РзЭ.
Пример реализации 15
Для изготовления светоизлучающего элемента берут порошок кубического нитрида бора 6, легированного Be (до 10%) с размером зерна 2-3 мкм. Посредством возбуждения излучением с длиной волны 325 нм получают широкополосную ФЛ с максимумом при 250 нм.
Описанные выше примеры реализации показывают, что преимуществом заявляемого светоизлучающего элемента является расширенный диапазон излучения светоизлучающего элемента за счет использования порошка кубического нитрида бора 6, легированного примесями (например, РзЭ, Be, Cr или Мn), в качестве светоизлучающего вещества, заполняющего полость корпуса 1 с кристаллом 3 с полупроводниковой структурой. Использование кубического нитрида бора дает возможность получить стабильное и неподверженное влиянию термического тушения и деградации излучение в УФ-, видимом и ИК-диапазонах, а также излучение белого цвета. При этом предлагаемое светоизлучающее вещество обладает температурной (до 1000-1300°С), химической и радиационной стойкостью и устойчивостью при работе в сильных электрических полях за счет свойств самого кубического нитрида бора.
Формула изобретения
1. Светоизлучающий элемент, содержащий корпус с оптически прозрачной крышкой, внутри которого размещен кристалл с полупроводниковой структурой, эмитирующий свет, электрически соединенный с корпусом, полость которого заполнена светоизлучающим веществом, отличающийся тем, что в качестве светоизлучающего вещества выбран легированный примесью порошок кубического нитрида бора, частицы которого равномерно распределены в полости корпуса.
2. Светоизлучающий элемент по п.1, отличающийся тем, что в качестве примеси взят, по меньшей мере, один элемент из группы Be, Cr, Мn.
3. Светоизлучающий элемент по п.1, отличающийся тем, что в качестве примеси взят, по меньшей мере, один из редкоземельных элементов.
РИСУНКИ
|
|