|
|
(21), (22) Заявка: 2008131147/28, 28.07.2008
(24) Дата начала отсчета срока действия патента:
28.07.2008
(46) Опубликовано: 27.12.2009
(56) Список документов, цитированных в отчете о поиске:
RU 2127472 C1, 10.03.1999. RU 2127471 C1, 10.03.1999. RU 2127009 C1, 17.02.1999. US 4516314 A, 14.05.1995. DE 2822694 A, 20.12.1979. US 3653971 A, 04.04.1972.
Адрес для переписки:
111250, Москва, ул. Красноказарменная, 12, ФГУП ВЭИ, патентно-лицензионный отдел, Е.Н. Лифановой
|
(72) Автор(ы):
Мурашев Виктор Николаевич (RU), Симакин Виктор Васильевич (RU), Тюхов Игорь Иванович (RU), Лагов Петр Борисович (RU), Стребков Дмитрий Семенович (RU), Котов Андрей Викторович (RU)
(73) Патентообладатель(и):
Федеральное государственное унитарное предприятие “Всероссийский электротехнический институт им. В.И. Ленина” (ФГУП ВЭИ) (RU)
|
(54) ПОЛУПРОВОДНИКОВЫЙ ФОТОПРЕОБРАЗОВАТЕЛЬ И СПОСОБ ЕГО ИЗГОТОВЛЕНИЯ
(57) Реферат:
Изобретение относится к полупроводниковой технике, а именно к фотоэлектрическим преобразователям (ФП) для прямого преобразования солнечной энергии в электрическую энергию с помощью солнечных батарей. Область применения – возобновляемые источники энергии. Согласно изобретению в полупроводниковом ФП, состоящем из монокристаллических кремниевых пластин с вертикально расположенными р-n диффузионными переходами, соединенными между собой в единую горизонтальную конструкцию металлическими прокладками, с токовыводящими контактами, с, по меньшей мере, одной светоприемной поверхностью с инверсионным слоем и диэлектрическим просветляющим покрытием, в области р-типа проводимости, прилегающей к диффузионному р-n переходу, параллельно светоприемной поверхности расположена, по меньшей мере, одна нанокластерная область n-типа проводимости на расстоянии от инверсионного слоя, равном или меньшем сумме толщин областей пространственного заряда инверсионного слоя и нанокластерной области. Также предложен способ изготовления фотопреобразователя. Изобретение обеспечивает повышение КПД ФП путем увеличения времени жизни неравновесных носителей заряда при одновременном снижении стоимости технологии изготовления ФП за счет ее упрощения. 2 н.п. ф-лы, 4 ил.
Настоящее изобретение относится к полупроводниковой технике, а именно к фотоэлектрическим преобразователям для прямого преобразования солнечной энергии в электрическую энергию с помощью солнечных батарей.
Область применения – возобновляемые источники энергии.
Известны фотоэлектрические преобразователи (ФП) для прямого преобразования солнечной энергии планарной конструкции с р-n-переходами, расположенными вдоль светоприемной (фоточувствительной) поверхности, т.е. перпендикулярно к потоку светового излучения.
Такого типа ФП, в частности, предназначенные для преобразования концентрированного солнечного излучения (сильноточные, концентраторные ФП), имеют для сбора фотогенерированных носителей заряда специальную контактную сетку, служащую также для уменьшения последовательного сопротивления. Использование контактной сетки требует сложной и дорогой технологии ее изготовления, включающей фотолитографические процессы (патент США 4320250, кл. H01L 31/0224, опубл. 16.03.1982 г.) [1].
Известно техническое решение полупроводникового ФП с р-n-переходами, которые расположены вертикально к светоприемной поверхности, т.е. вдоль потока светового излучения (патент РФ 2127009, кл. H01L 31/18, опубл. 27.02.99 г., фиг.1-3) [2]. Такой ФП не обладает максимально возможным коэффициентом полезного действия (КПД), поскольку имеет относительно небольшой объем области пространственного заряда (ОПЗ) р-n-переходов и низкую эффективность преобразования ультрафиолетового излучения (УФ).
Наиболее близкой является конструкция полупроводникового фотопреобразователя (патент РФ 2127472, кл. H01L 31/18, опубл. 10.03.1999 г. фиг.1, 2) [3]), состоящая из монокристаллических кремниевых пластин с вертикально расположенными р-n диффузионными переходами, соединенными между собой в единую горизонтальную конструкцию металлическими прокладками, с токовыводящими контактами, при этом светоприемная поверхность кремния с инверсионным слоем покрыта диэлектрическим светопросветляющим покрытием.
В других вариантах выполнения ФП может быть без инверсионного слоя и без диэлектрического светопросветляющего покрытия.
Недостатком конструкции является небольшой объем ОПЗ вертикальных диффузионных р-n-переходов, что приводит к уменьшению времени жизни неосновных носителей заряда в монокристаллических кремниевых пластинах и соответственно уменьшению КПД ФП, а также сложная система токосъемных контактов со встречно-штыревой геометрией.
В упрощенном варианте, когда нет инверсионного слоя, можно обеспечить двухстороннюю засветку, которая дает преимущество за счет исключения паразитного шунтирования неосвещаемой части ФП, но невозможно обеспечить увеличение эффективности ФП за счет сбора генерируемых носителей заряда в приповерхностных областях.
Известен способ изготовления полупроводникового фотопреобразователя с вертикальными р-n переходами (Sater B.L. at all “The multiple Junction Edge Illuminated Solar Cells” in Conf. Rec. Tenth IEEE Photovoltaic Specialists Conf., 1973, p.188-193 [4], патент США 4516314, Кл. H01L 31/18, опубл. 14.05.1985 [5]), в котором соединение монокристаллических пластин кремния производится путем спекания их с помощью алюминиевой фольги. Предварительно проводится глубокая диффузия для получения в пластинах р-n перехода и n-n+-перехода для создания изотипного барьера. После создания в пластинах р-n-n+-переходов их собирают в столбик, и производится их спекание с алюминиевой фольгой. Разрезанием столбика по плоскостям, перпендикулярным р-n-переходу, изготавливаются образцы нужной толщины, из которых после дополнительной обработки получают ФП с вертикальными р-n переходами.
Глубокая диффузия приводит к уменьшению времени жизни неосновных носителей заряда, как в легированных областях прибора, так и в базовых, что приводит к снижению КПД.
Самым близким является способ изготовления полупроводникового фотопреобразователя (патент РФ 2127472, кл. H01L 31/18, опубл. 10.03.1999 г. [3]) путем формирования диффузионных р-n переходов на поверхности монокристаллических кремниевых пластин, металлизации поверхности пластин, сборки пластин в столбик с металлическими прокладками, их сплавления, резания столбика на структуры, формирования внешних токовыводящих контактов и нанесения диэлектрического просветляющего покрытия на светоприемную поверхность.
К недостаткам способа относится технология формирования диффузионных переходов, что приводит к уменьшению времени жизни неосновных носителей заряда в монокристаллическом кремнии и, соответственно, уменьшению КПД фотопреобразователя. Помимо этого сложная система токосъемных контактов со встречно-штыревой геометрией требует применения дорогостоящих фотолитографических процессов.
Эффективность преобразования солнечной энергии полупроводниковыми ФП решающим образом зависит от времени жизни неосновных носителей заряда (ННЗ) в каждой из области полупроводниковых пластин. Устранение и ослабление факторов, ограничивающих время жизни ННЗ в полупроводниковых ФП, ведет к увеличению их КПД.
Техническим результатом изобретения является повышение КПД ФП путем увеличения времени жизни ННЗ при одновременном снижении стоимости технологии изготовления за счет ее упрощения.
Поставленная цель достигается тем, что в полупроводниковом ФП, состоящем из монокристаллических кремниевых пластин с вертикально расположенными р-n диффузионными переходами, соединенными между собой в единую горизонтальную конструкцию металлическими прокладками, с токовыводящими контактами, с, по меньшей мере, одной светоприемной поверхностью с инверсионным слоем и диэлектрическим просветляющим покрытием, в области р-типа проводимости, прилегающей к диффузионному р-n переходу, параллельно светоприемной поверхности расположена, по меньшей мере, одна нанокластерная область n-типа проводимости на расстоянии от инверсионного слоя, равном или меньшем сумме толщин областей пространственного заряда инверсионного слоя и нанокластерной области.
В способе изготовления полупроводникового фотопреобразователя, включающего формирование диффузионных р-n-переходов на поверхности монокристаллических кремниевых пластин, металлизацию поверхности пластин, сборку пластин в столбик с металлическими прокладками, их сплавление, резание столбика на структуры, формирование внешних токовыводящих контактов, нанесение диэлектрического просветляющего покрытия на светоприемную поверхность, после нанесения диэлектрического просветляющего покрытия перпендикулярно светоприемной поверхности имплантируют ионы водорода дозой 0,5÷10 [мкКул] с энергией 20÷200 [кэВ] для создания нанокластерной области n-типа проводимости, затем проводят термический отжиг при температуре 300÷500 [°С], после чего облучают гамма-квантами с энергией от 20 [кэВ] до 500 [кэВ] дозой 105÷107 [рад] для создания инверсионного слоя путем формирования в диэлектрическом просветляющем покрытии встроенного заряда, и проводят термический отжиг при температуре 100÷250 [°С].
К отличительным признакам данного решения относятся:
1) в области р-типа проводимости, прилегающей к диффузионному р-n переходу, параллельно светоприемной поверхности расположена, по меньшей мере, одна нанокластерная область n-типа проводимости;
2) нанокластерная область расположена на расстоянии от инверсионного слоя, равном или меньшем сумме толщин областей пространственного заряда инверсионного слоя и нанокластерной области;
3) для создания нанокластерной области перпендикулярно светоприемной поверхности имплантируют ионы водорода дозой 0,5÷10 мкКул с энергией 20÷200 кэВ;
4) после имплантации проводят термический отжиг при температуре 300÷500°С;
5) для создания инверсионного слоя облучают гамма-квантами с энергией от 20 кэВ до 500 кэВ дозой 105 ÷ 107 рад диэлектрическое светопросветляющее покрытие для формирования в нем встроенного заряда;
6) проводят термический отжиг при температуре 100÷250°С.
Известных технических решений с такими признаками не обнаружено.
Предлагаемый фотопреобразователь обладает на много большей площадью всех р-n переходов (и, соответственно, объемом ОПЗ), собирающих световые кванты.
Нанокластерная область n-типа проводимости обеспечивает дополнительное собирание генерированных солнечным излучением носителей заряда за счет увеличения ОПЗ этой области, которая, по сравнению с вертикальным n-слоем, прилегающим к диффузионному р-n переходу, обладает преимуществом по эффективности поглощения длинноволнового спектра солнечного излучения и разделения носителей заряда в объеме ОПЗ за счет меньшей скорости объемной рекомбинации генерированных светом носителей заряда по сравнению со скоростью объемной рекомбинации в диффузионных сильнолегированных областях, а также и за счет расположения этого слоя вдоль светоприемной поверхности, что увеличивает количество р-n-переходов, способных к поглощению солнечного излучения носителями заряда.
Т.о., в области инверсионного слоя время жизни ННЗ существенно выше, чем в вертикальном диффузионном n-слое, что позволяет уменьшить скорость рекомбинации генерированных светом носителей заряда и принимать фотоны в ультрафиолетовом спектре солнечного излучения.
Применение данной конструкции позволяет повысить КПД полупроводникового фотопреобразователя до 25-30%.
Сущность изобретения поясняется чертежами.
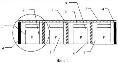
На фиг.1 приведена конструкция фотопреобразователя с нанокластерной областью с одной стороны от светоприемной поверхности.
На фиг 2 показан участок одной части структуры в увеличенном масштабе.
На фиг.3 приведен пример конструкции фотопреобразователя с нанокластерными областями, расположенными с двух сторон (симметрично) относительно светоприемных поверхностей.
Полупроводниковый фотопреобразователь (фиг.1) состоит из монокристаллических кремниевых пластин, содержащих области р- и n-типа проводимости, образующие диффузионные р-n-переходы 1 и изотипные р-р+-переходы 2. Кремниевые пластины соединены между собой в единую горизонтальную конструкцию металлическими прокладками 3, в качестве которых служит алюминиевая фольга. На боковых поверхностях ФП расположены внешние токовыводящие контакты 4. Область р-типа проводимости, прилегающая к диффузионному переходу 1 (Фиг.2), состоит из двух частей с разной концентрацией примеси: р-область с меньшей концентрацией примеси 5 и р+-область 6 с большей концентрацией примеси. Р-область 5 граничит с диффузионной областью n-типа проводимости 7 и образует с ней диффузионный переход 1. ФП имеет, по меньшей мере, одну светоприемную поверхность, которая покрыта диэлектрическим светопросветляющим покрытием 8. В глубине р-области параллельно светоприемной поверхности дополнительно расположена нанокластерная область n-типа проводимости 9, а под диэлектрическим просветляющим покрытием сформирован инверсионный слой 10.
При солнечном освещении светоприемной поверхности происходит поглощение света полупроводниковыми слоями, где по всей их толщине происходит генерация электроно-дырочных пар. Наиболее эффективное разделение генерированных электронно-дырочных пар происходит в ОПЗ, сформированных вертикальными р-n-переходами 1, инверсионным слоем 10 вблизи светоприемной поверхности и нанокластерным слоем 9, который расположен на расстоянии от инверсионного слоя, равном или меньшем сумме толщин областей пространственного заряда инверсионного слоя и нанокластерной области.
По обе стороны от нанокластерной области формируется ОПЗ. При этом ОПЗ, которая распространяется в сторону светоприемной поверхности, смыкается с ОПЗ верхнего горизонтального перехода инверсионного слоя, образуя единую область пространственного заряда, эффективно собирающую носители заряда, генерированные как коротковолновым, так и длинноволновым спектром солнечного излучения. Собранные носители заряда вытягиваются из единой области (ОПЗ) в сторону внешних токовыводящих контактов, преимущественно за счет дрейфового, а не диффузионного механизма (т.е. гораздо быстрее), не успевая прорекомбинировать, что приводит к увеличению КПД.
При более глубоком залегании нанокластерной области смыкания ОПЗ инверсионного и нанокластерного слоя не произойдет, а в р-области 5 (квазинейтральной) работает диффузионный механизм собирания носителей заряда, что приводит к снижению КПД.
По сравнению с известными конструкциями данный ФП обеспечивает эффективное собирание генерированных электронов и дырок пар с большего объема ОПЗ и их вывод на внешние токовыводящие контакты, тем самым обеспечивая высокий коэффициент собирания носителей заряда во всем интервале фотоактивного поглощения излучения от ультрафиолетового до инфракрасного диапазона.
Одной из основных особенностей легирования кремния радиационными дефектами путем облучения легкими ионами водорода по сравнению, например, с электронным облучением является локальность радиационного воздействия по глубине. Эта локальность задается выбором энергии имплантированных ионов, а характер распределения концентрации дефектов в объеме полупроводника определяется характером потерь энергии иона при его взаимодействии с кристаллической решеткой (В.А.Козлов, В.В.Козловский. «Легирование полупроводников радиационными дефектами при облучении протонами и -частицами», Физика и техника полупроводников, 2001, том 35, вып.7, с.769-795; Козловский В.В. «Модифицирование полупроводников пучками протонов», СПБ, Наука, 2003, с.268 [6, 7]).
Соответствующие энергии облучения выбирают для обеспечения требуемых длин пробега ионов водорода (Н+) в кремнии, которые приводятся на зависимости длины пробега ионов Н+ и -частиц (Не++) в кремнии (фиг.4) [6]. Длины пробега ионов водорода могут лежать в диапазоне от долей микрометра до десятков микрон. В конце пробега ион водорода захватывает электрон, превращается в атом водорода, и его сечение взаимодействия с атомами кристаллической решетки резко возрастает (от 10-19 до 10-18 см-2) (Ладыгин Е.А. «Радиационная технология твердотельных электронных приборов», М.: ЦНИИ «Электроника», 1976 – 316 с. [8]). В результате, на глубине максимального пробега ионов образуется узкая нанокластерная область, которая играет роль концентратора генерированных солнечным излучением электроно-дырочных пар (интервал энергий облучения показан на фиг.4 вертикальными линиями и горизонтальной стрелкой).
ФП может быть изготовлен с использованием следующих технологических операций.
Для этого:
– первоначально формируют в монокристаллических кремниевых пластинах р-типа проводимости, например, КДБ-10 или КДБ-1, диффузией фосфора и бора р-n-переходы 1;
– металлизируют поверхность пластин алюминием;
– производят сборку пластин в столбик с металлическими прокладками 3 из алюминиевой фольги или силумина;
– после чего их сплавляют, а затем режут столбик на отдельные структуры;
– на боковых поверхностях формируют внешние токовыводящие контакты 4;
– на светоприемную поверхность наносят оксид кремния (SiO2) и просветляющее покрытие (например, Si3N4);
– для формирования нанокластерной области n-типа проводимости 9 перпендикулярно светоприемной поверхности имплантируют ионы водорода, например, на установке «Везувий-5» дозой 0,5÷10 мкКул, с энергией 20÷200 кэВ. При имплантации водорода с энергией менее 20 кэВ и дозах менее 0,5 мкКул не удается обеспечить проникновение его на требуемую глубину (от единиц до десятков мкм) и обеспечить необходимую концентрацию нанокластеров 1015÷1017 [нанокластеров/см] для получения дополнительной ОПЗ. Получаемая концентрация нанокластеров должна превышать концентрацию акцепторной примеси в стандартных типах подложек, где она, например, определяется типом исходного кремния КДБ-10 или КДБ-1. При использовании энергии свыше 200 кэВ и доз свыше 10 мкКул процессы образования нанокластеров становятся плохо контролируемыми, а технология высокозатратной;
– проводят низкотемпературный отжиг при температуре Т=300÷500°С в термической печи в течение от 15 мин до 1 час для формирования вторичных радиационных дефектов (В.В.Козловский «Модифицирование полупроводников пучками протонов», СПБ, Наука, 2003, с.268 [7]). За пределами указанного диапазона отжиг проходит либо неэффективно (при низких температурах недостаточно велика энергия активации), либо приводит к появлению ненужных, неконтролируемых дефектов (при высоких температурах);
– проводят облучение потоком -квантов с энергией от 20 кэВ до 500 кэВ экспозиционной дозой (105÷107) рад, например в установке МРХ-60, для формирования положительного встроенного заряда в диэлектрическом просветляющем покрытии. При этом эффективная плотность встроенного заряда Nss [см-2], которая учитывает как поверхностный, так и объемный заряд, должна быть Nss>5·10-11 см-2, т.к. только при больших концентрациях удается получить инверсию проводимости.
При облучении диэлектрического светопросветляющего покрытия потоком -квантов с энергией менее 20 кэВ и дозой менее 105 рад процесс формирования встроенного заряда происходит неэффективно – величина заряда будет недостаточна для формирования инверсионного слоя. Облучение потоком -квантов с энергией более 500 кэВ и дозой более 107 невозможно реализовать на существующих источниках -квантов, к тому же большие энергии будут создавать вредные дефекты;
– проводят низкотемпературный отжиг при Т=100÷250°С в термической печи в течение 1-3 часов для фиксации встроенного заряда и для устранения образовавшихся нестабильных дефектов в диэлектрическом светопросветляющем покрытии.
На фиг.3 приведен пример конструкции ФП, когда диэлектрическое светопросветляющее покрытие и нанокластерный слой сформированы симметрично с двух сторон исходной полупроводниковой структуры. В этом случае создается возможность эффективного собирания носителей заряда при двухстороннем освещении, т.к. это обеспечивает исключение паразитного шунтирования неосвещаемой части ФП, по сравнению со случаем односторонней засветки.
Таким образом, предлагаемый ФП обладает намного большей площадью р-n переходов, разделяющих генерированные солнечным излучением электронно-дырочные пары, время жизни ННЗ в области инверсионного слоя существенно больше, что позволяет уменьшить скорость рекомбинации электронов с дырками и более эффективно преобразовывать фотоны УФ-спектра солнечного излучения. Все это приводит к повышению КПД фотопреобразователя.
В таких ФП, по сравнению с обычными ФП на планарных р-n переходах, обеспечивается лучшее охлаждение за счет металлических прокладок. Предлагаемая конструкция способствует свободному прохождению нефотоактивного инфракрасного излучения через практически весь ФП без поглощения, что приводит к меньшей равновесной температуре ФП и, соответственно, к росту КПД.
Снижение стоимости технологии изготовления ФП происходит за счет использования полупроводников, модифицированных ионами водорода. Это объясняется простой и сравнительно малой стоимостью радиационных процессов в сочетании с высокой точностью, производительностью, воспроизводимостью и хорошей совместимостью с другими технологическими процессами изготовления полупроводниковых приборов. В технологии изготовления ФП исключена фотолитография, т.к. внешние токовыводящие контакты формируются при сплавлении столбика на его торцевых поверхностях и не требуют проведения дополнительных операций, как это необходимо при формировании контактов при использовании традиционной технологии.
Особенно эффективно применение таких ФП с концентраторами света, т.к. в данной конструкции отсутствуют затеняющие фронтальные (лицевые) контакты, а двухстороннее освещение обеспечивает более полное использование полупроводникового материала.
Применение таких ФП возможно и при преобразовании лазерного излучения, например, в системах передачи энергии с помощью лазерных пучков.
ЛИТЕРАТУРА
1. Патент США 4320250, кл. H01L 31/0224, опубл. 16.03.1982 г.
2. Патент РФ 2127009, кл. H01L 31/18, опубл. 27.02.99 г., фиг.1-3.
3. Патент РФ 2127472, кл. H01L 31/18, опубл. 10.03.1999 г. фиг.1, 2 (прототип).
4. Sater B.L. at all “The multiple Junction Edge Illuminated Solar Cells” in Conf. Rec. Tenth IEEE Photovoltaic Specialists Conf., 1973, p.188-193.
5. Патент США 4516314, кл. H01L 31/18, опубл. 14.05.1985 г.
6. Козлов В.А., Козловский В.В. «Легирование полупроводников радиационными дефектами при облучении протонами и -частицами». Физика и техника полупроводников, 2001, том 35, вып.7, с.769-795.
7. Козловский В.В. «Модифицирование полупроводников пучками протонов», СПБ, Наука, 2003, с.268.
8. Ладыгин Е.А. «Радиационная технология твердотельных электронных приборов». – М.: ЦНИИ «Электроника», 1976. – 316 с.
Формула изобретения
1. Полупроводниковый фотопреобразователь, состоящий из монокристаллических кремниевых пластин с вертикально расположенными р-n диффузионными переходами, соединенными между собой в единую горизонтальную конструкцию металлическими прокладками, с токовыводящими контактами, с, по меньшей мере, одной светоприемной поверхностью с инверсионным слоем и диэлектрическим просветляющим покрытием, отличающийся тем, что в области р-типа проводимости, прилегающей к диффузионному р-n переходу, параллельно светоприемной поверхности расположена, по меньшей мере, одна нанокластерная область n-типа проводимости на расстоянии от инверсионного слоя, равном или меньшем сумме толщин областей пространственного заряда инверсионного слоя и нанокластерной области.
2. Способ изготовления полупроводникового фотопреобразователя, включающий формирование диффузионных р-n переходов на поверхности монокристаллических кремниевых пластин, металлизацию поверхности пластин, сборку пластин в столбик с металлическими прокладками, их сплавление, резание столбика на структуры, формирование внешних токовыводящих контактов, нанесение диэлектрического просветляющего покрытия на светоприемную поверхность, отличающийся тем, что после нанесения просветляющего покрытия перпендикулярно светоприемной поверхности имплантируют ионы водорода дозой 0,5÷10 мкКул с энергией 20÷200 кэВ для создания нанокластерной области n-типа проводимости, затем проводят термический отжиг при температуре 300÷500°С, после чего облучают гамма-квантами с энергией от 20 до 500 кэВ дозой 105÷107 рад для создания инверсионного слоя путем формирования в диэлектрическом просветляющем покрытии встроенного заряда и проводят термический отжиг при температуре 100÷250°С.
РИСУНКИ
|
|