Патент на изобретение №2377693

Published by on




РОССИЙСКАЯ ФЕДЕРАЦИЯ



ФЕДЕРАЛЬНАЯ СЛУЖБА
ПО ИНТЕЛЛЕКТУАЛЬНОЙ СОБСТВЕННОСТИ,
ПАТЕНТАМ И ТОВАРНЫМ ЗНАКАМ
(19) RU (11) 2377693 (13) C1
(51) МПК

H01L29/812 (2006.01)

(12) ОПИСАНИЕ ИЗОБРЕТЕНИЯ К ПАТЕНТУ

Статус: по данным на 17.09.2010 – действует

(21), (22) Заявка: 2008127047/28, 02.07.2008

(24) Дата начала отсчета срока действия патента:

02.07.2008

(46) Опубликовано: 27.12.2009

(56) Список документов, цитированных в отчете о
поиске:
Шур М. Современные приборы на основе арсенида галлия. – М.: Мир, 1991, с.579, фиг.10.18.4. RU 2287896 С1, 20.11.2006. RU 2272353 C1, 20.03.2006. RU 2166837 C1, 10.05.2001. RU 2062528 C1, 20.06.1996. EP 0424222 A1, 24.04.1991. JP 2174141 A, 05.07.1990.

Адрес для переписки:

347928, Ростовская обл., г. Таганрог, ГСП-17А, Некрасовский, 44, ТТИ ЮФУ

(72) Автор(ы):

Коноплев Борис Георгиевич (RU),
Рындин Евгений Адальбертович (RU)

(73) Патентообладатель(и):

Федеральное государственное образовательное учреждение высшего профессионального образования “ЮЖНЫЙ ФЕДЕРАЛЬНЫЙ УНИВЕРСИТЕТ” (ЮФУ) (RU),
Южный научный центр Российской академии наук (RU)

(54) ИНТЕГРАЛЬНЫЙ ЛОГИЧЕСКИЙ ЭЛЕМЕНТ “НЕ” НА ОСНОВЕ СВЕРХРЕШЕТКИ ВТОРОГО ТИПА

(57) Реферат:

Изобретение относится к области вычислительной техники и интегральной электроники, а более конкретно к интегральным логическим элементам СБИС. Для повышения быстродействия и уменьшения занимаемой площади в интегральный логический элемент «не» введены области третьего и четвертого каналов собственной проводимости, дополнительные AlGaAs-области первого и второго типов проводимости, образующие управляющий р-n-переход, дополнительная металлическая входная шина, дополнительные выходные области первого и второго типов проводимости, дополнительная выходная металлическая шина, области аморфизации, причем области каналов образуют сверхрешетку второго типа. 7 ил.

Предлагаемое изобретение относится к области вычислительной техники и интегральной электроники, а более конкретно к интегральным логическим элементам СБИС.

Известен интегральный логический элемент «НЕ» на полевом транзисторе с управляющим переходом Шоттки (см. Шур М. Современные приборы на основе арсенида галлия. – М.: Мир, 1991. – 632 с, фиг.9.6.5, с.472), содержащий полуизолирующую GaAs-подложку, входную металлическую шину, выходную металлическую шину, металлическую шину питания, металлическую шину нулевого потенциала, область канала ключевого транзистора второго типа проводимости, расположенную над полуизолирующей GaAs-подложкой и образующую переход Шоттки со входной металлической шиной, область истока ключевого транзистора второго типа проводимости, соединенную с металлической шиной нулевого потенциала, область стока ключевого транзистора второго типа проводимости, соединенную с выходной металлической шиной, область канала нагрузочного резистора второго типа проводимости, расположенную над полуизолирующей GaAs-подложкой, первую контактную область нагрузочного резистора второго типа проводимости, соединенную с выходной металлической шиной, вторую контактную область нагрузочного резистора второго типа проводимости, соединенную с металлической шиной питания.

Признаками аналога, совпадающими с существенными признаками, являются полуизолирующая GaAs-подложка, входная металлическая шина, выходная металлическая шина, металлическая шина питания, металлическая шина нулевого потенциала.

Причинами, препятствующими достижению технического результата, являются ограничение времени переключения элемента временем пролета электронами канала транзистора, ограничение времени пролета электронами канала транзистора эффектом рассеяния электронов в канале на ионах легирующих примесей, значительная мощность, потребляемая элементом в статических состояниях, пониженная помехоустойчивость вследствие использования нагрузочного резистора, относительно большая площадь, занимаемая на кристалле, вследствие планарного расположения каналов.

Функциональным аналогом заявляемого объекта является интегральный логический элемент «НЕ» на гетеропереходных транзисторах с высокой подвижностью носителей (см. Шур М. Современные приборы на основе арсенида галлия. – М.: Мир, 1991. – 632 с, фиг.9.6.11, с.476), содержащий полуизолирующую GaAs-подложку, AlGaAs-область второго типа проводимости, расположенную под ней первую AlGaAs-область спейсера собственной проводимости, расположенную под ней область первого канала собственной проводимости, область второго канала собственной проводимости, вторую AlGaAs-область спейсера собственной проводимости, входную металлическую шину, расположенную над AlGaAs-областью второго типа проводимости и образующую с ней переход Шоттки, выходную область второго типа проводимости, выходную металлическую шину, соединенную с выходной областью второго типа проводимости, металлическую шину питания, металлическую шину нулевого потенциала, область нулевого потенциала второго типа проводимости, соединенную с металлической шиной нулевого потенциала, расположенную над второй AlGaAs-областью спейсера собственной проводимости вторую AlGaAs-область второго типа проводимости, металлический затвор, образующий переход Шоттки со второй AlGaAs-областью второго типа проводимости и соединенный с выходной металлической шиной, область питания второго типа проводимости, граничащую с областью второго канала собственной проводимости и соединенную с металлической шиной питания, причем GaAs-области первого и второго каналов собственной проводимости расположены над полуизолирующей GaAs-подложкой.

Признаками аналога, совпадающими с существенными признаками, являются полуизолирующая GaAs-подложка, AlGaAs-область второго типа проводимости, расположенная под ней первая AlGaAs-область спейсера собственной проводимости, расположенная под ней область первого канала собственной проводимости, область второго канала собственной проводимости, вторая AlGaAs-область спейсера собственной проводимости, входная металлическая шина, расположенная над AlGaAs-областью второго типа проводимости и образующая с ней переход Шоттки, выходная область второго типа проводимости, выходная металлическая шина, соединенная с выходной областью второго типа проводимости, металлическая шина питания, металлическая шина нулевого потенциала, область нулевого потенциала второго типа проводимости, соединенная с металлической шиной нулевого потенциала.

Причинами, препятствующими достижению технического результата, являются ограничение времени переключения элемента временем пролета электронами каналов интегрального логического элемента, значительная мощность, потребляемая элементом в статических состояниях, относительно большая площадь, занимаемая на кристалле, вследствие планарного расположения каналов.

Из известных наиболее близким по технической сущности к заявляемому объекту является интегральный логический элемент «НЕ» на комплементарных гетеропереходных транзисторах с высокой подвижностью носителей (см. Шур М. Современные приборы на основе арсенида галлия. – М.: Мир, 1991. – 632 с, фиг.10.18.4, с.579), содержащий полуизолирующую GaAs-подложку, AlGaAs-область второго типа проводимости, расположенную под ней первую AlGaAs-область спейсера собственной проводимости, расположенную под ней область первого канала собственной проводимости, область второго канала собственной проводимости, вторую AlGaAs-область спейсера собственной проводимости, входную металлическую шину, расположенную над AlGaAs-областью второго типа проводимости и образующую с ней переход Шоттки, выходную область второго типа проводимости, выходную область первого типа проводимости, выходную металлическую шину, соединенную с выходной областью второго типа проводимости и выходной областью первого типа проводимости, металлическую шину питания, металлическую шину нулевого потенциала, область питания первого типа проводимости, соединенную с металлической шиной питания, область нулевого потенциала второго типа проводимости, соединенную с металлической шиной нулевого потенциала, разделительные AlGaAs-области собственной проводимости, AlGaAs-область первого типа проводимости, образующую переход Шоттки со входной металлической шиной, причем области первого и второго каналов собственной проводимости расположены над полуизолирующей GaAs-подложкой, выходная область второго типа проводимости граничит с областью первого канала собственной проводимости, выходная область первого типа проводимости граничит с областью второго канала собственной проводимости, область питания первого типа проводимости граничит с областью второго канала собственной проводимости, область нулевого потенциала второго типа проводимости граничит с областью первого канала собственной проводимости.

Признаками прототипа, совпадающими с существенными признаками, являются полуизолирующая GaAs-подложка, AlGaAs-область второго типа проводимости, расположенная под ней первая AlGaAs-область спейсера собственной проводимости, расположенная под ней область первого канала собственной проводимости, область второго канала собственной проводимости, вторая AlGaAs-область спейсера собственной проводимости, входная металлическая шина, расположенная над AlGaAs-областью второго типа проводимости и образующая с ней переход Шоттки, выходная область второго типа проводимости, выходная область первого типа проводимости, выходная металлическая шина, соединенная с выходной областью второго типа проводимости и выходной областью первого типа проводимости, металлическая шина питания, металлическая шина нулевого потенциала, область питания первого типа проводимости, соединенная с металлической шиной питания, область нулевого потенциала второго типа проводимости, соединенная с металлической шиной нулевого потенциала, разделительные AlGaAs-области собственной проводимости.

Причинами, препятствующими достижению технического результата, являются ограничение времени переключения элемента временем пролета электронами каналов интегрального логического элемента, относительно большая площадь, занимаемая на кристалле, вследствие планарного расположения каналов.

Задачей предлагаемого изобретения является увеличение быстродействия и уменьшение площади интегрального логического элемента.

Для достижения необходимого технического результата в интегральный логический элемент «НЕ» на основе сверхрешетки второго типа, содержащий полуизолирующую GaAs-подложку, AlGaAs-область второго типа проводимости, расположенную под ней первую AlGaAs-область спейсера собственной проводимости, расположенную под ней область первого канала собственной проводимости, область второго канала собственной проводимости, вторую AlGaAs-область спейсера собственной проводимости, входную металлическую шину, расположенную над AlGaAs-областью второго типа проводимости и образующую с ней переход Шоттки, выходную область второго типа проводимости, выходную область первого типа проводимости, выходную металлическую шину, соединенную с выходной областью второго типа проводимости и выходной областью первого типа проводимости, металлическую шину питания, металлическую шину нулевого потенциала, область питания первого типа проводимости, соединенную с металлической шиной питания, область нулевого потенциала второго типа проводимости, соединенную с металлической шиной нулевого потенциала, разделительные AlGaAs-области собственной проводимости, введены область третьего канала собственной проводимости, область четвертого канала собственной проводимости, расположенная под второй AlGaAs-областью спейсера собственной проводимости дополнительная AlGaAs-область второго типа проводимости, расположенная под ней, образующая с ней p-n-переход и граничащая с полуизолирующей GaAs-подложкой AlGaAs-область первого типа проводимости, соединенная с ней дополнительная металлическая входная шина, расположенные под разделительными AlGaAs-областями собственной проводимости дополнительные выходные области первого и второго типов проводимости, дополнительная выходная металлическая шина, соединенная с дополнительными выходными областями первого и второго типов проводимости, области аморфизации, разделяющие области питания первого типа проводимости и нулевого потенциала второго типа проводимости, а также разделяющие выходные области первого и второго типов проводимости и дополнительные выходные области первого и второго типов проводимости, причем области первого и третьего каналов собственной проводимости на основе InGaAs и области второго и четвертого каналов собственной проводимости на основе GaSbAs образуют сверхрешетку второго типа без перекрытия зоны проводимости в InGaAs-областях и валентной зоны в GaSbAs-областях, выходная область второго типа проводимости граничит с InGaAs-областью первого канала собственной проводимости, выходная область первого типа проводимости граничит с GaSbAs-областью второго канала собственной проводимости, дополнительная выходная область второго типа проводимости граничит с InGaAs-областью третьего канала собственной проводимости, дополнительная выходная область первого типа проводимости граничит с GaSbAs-областью четвертого канала собственной проводимости, области питания первого типа проводимости и нулевого потенциала второго типа проводимости граничат с областями первого, второго, третьего и четвертого каналов собственной проводимости.

Сравнивая предлагаемое устройство с прототипом, видим, что оно содержит новые признаки, то есть соответствует критерию новизны. Проводя сравнение с аналогами, приходим к выводу, что предлагаемое устройство соответствует критерию “существенные отличия”, так как в аналогах не обнаружены предъявляемые новые признаки. Получен положительный эффект, заключающийся в увеличении быстродействия и уменьшении площади интегрального логического элемента.

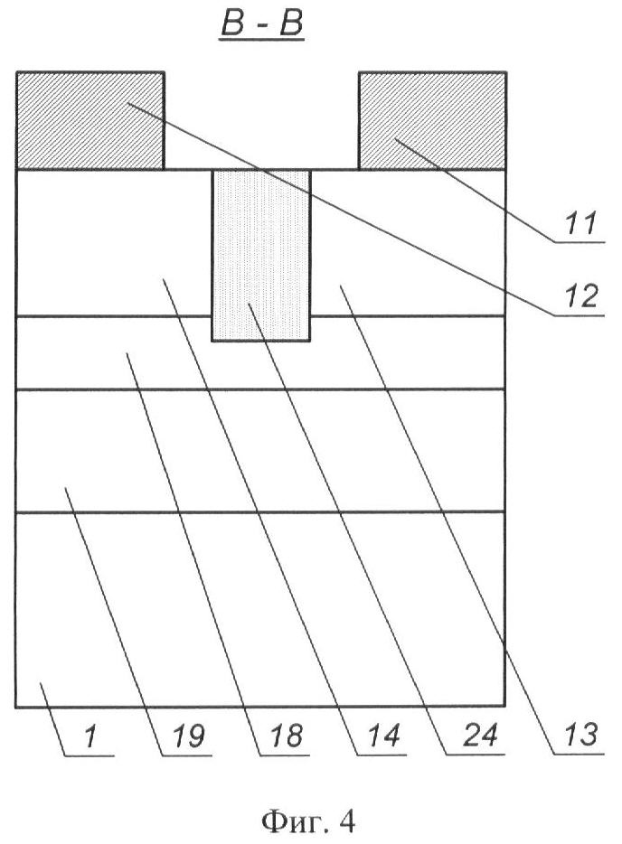
На фиг.1 приведена топология предлагаемого интегрального логического элемента «НЕ» на основе сверхрешетки второго типа. На фиг.2 приведено сечение предлагаемого интегрального логического элемента по областям первого типа проводимости. На фиг.3 приведено сечение предлагаемого интегрального логического элемента по областям второго типа проводимости. На фиг.4 приведено сечение предлагаемого интегрального логического элемента по областям питания и нулевого потенциала. На фиг.5 приведено сечение предлагаемого интегрального логического элемента по областям каналов. На фиг.6 приведено сечение предлагаемого интегрального логического элемента по выходным областям. На фиг.7 приведено сечение предлагаемого интегрального логического элемента по дополнительным выходным областям.

Интегральный логический элемент содержит полуизолирующую GaAs-подложку 1, AlGaAs-область второго типа проводимости 2, расположенную под ней первую AlGaAs-область спейсера собственной проводимости 3, расположенную под ней область первого канала собственной проводимости 4, область второго канала собственной проводимости 5, вторую AlGaAs-область спейсера собственной проводимости 6, входную металлическую шину 7, расположенную над AlGaAs-областью второго типа проводимости 2 и образующую с ней переход Шоттки, выходную область второго типа проводимости 8, выходную область первого типа проводимости 9, выходную металлическую шину 10, соединенную с выходной областью второго типа проводимости 8 и выходной областью первого типа проводимости 9, металлическую шину питания 11, металлическую шину нулевого потенциала 12, область питания первого типа проводимости 13, соединенную с металлической шиной питания 11, область нулевого потенциала второго типа проводимости 14, соединенную с металлической шиной нулевого потенциала 12, разделительные AlGaAs-области собственной проводимости 15, область третьего канала собственной проводимости 16, область четвертого канала собственной проводимости 17, расположенную под второй AlGaAs-областью спейсера собственной проводимости 6 дополнительную AlGaAs-область второго типа проводимости 18, расположенную под ней, образующую с ней p-n-переход и граничащую с полуизолирующей GaAs-подложкой 1 AlGaAs-область первого типа проводимости 19, соединенную с ней дополнительную металлическую входную шину 20, расположенные под разделительными AlGaAs-областями собственной проводимости 15 дополнительные выходные области первого и второго типов проводимости 21 и 22, дополнительную выходную металлическую шину 23, соединенную с дополнительными выходными областями первого и второго типов проводимости 21 и 22, области аморфизации 24, разделяющие области питания первого типа проводимости 13 и нулевого потенциала второго типа проводимости 14, а также разделяющие выходные области первого и второго типов проводимости 9 и 8 и дополнительные выходные области первого и второго типов проводимости 21 и 22, причем области первого и третьего каналов собственной проводимости 4 и 16 на основе InGaAs и области второго и четвертого каналов собственной проводимости 5 и 17 на основе GaSbAs образуют сверхрешетку второго типа без перекрытия зоны проводимости в InGaAs-областях и валентной зоны в GaSbAs-областях, выходная область второго типа проводимости 8 граничит с InGaAs-областью первого канала собственной проводимости 4, выходная область первого типа проводимости 9 граничит с GaSbAs-областью второго канала собственной проводимости 5, дополнительная выходная область второго типа проводимости 22 граничит с InGaAs-областью третьего канала собственной проводимости 16, дополнительная выходная область первого типа проводимости 21 граничит с GaSbAs-областью четвертого канала собственной проводимости 17, области питания первого типа проводимости 13 и нулевого потенциала второго типа проводимости 14 граничат с областями первого, второго, третьего и четвертого каналов собственной проводимости 4, 5, 16 и 17.

Работает устройство следующим образом. При подаче напряжения питания на металлическую шину 11, соединенную с областью питания первого типа проводимости 13, относительно металлической шины нулевого потенциала 12, соединенной с областью нулевого потенциала второго типа проводимости 14, изолированной от области питания 13 областями аморфизации 24, и действующем низком уровне напряжения логического нуля на входной металлической шине 7, образующей переход Шоттки с AlGaAs-областью второго типа проводимости 2, и высоком уровне напряжения логической единицы на дополнительной входной металлической шине 20, соединенной с AlGaAs-областью первого типа проводимости 19, граничащей с полуизолирующей подложкой 1 и образующей p-n-переход с дополнительной AlGaAs-областью второго типа проводимости 18, электроны, перешедшие в InGaAs-область первого канала собственной проводимости 4 из AlGaAs-области второго типа проводимости 2 и пространственно изолированные от ионов примеси первой AlGaAs-областью спейсера собственной проводимости 3, под действием электрического поля управляющих переходов туннелируют в сверхрешетке второго типа из квантовой ямы, образованной в зоне проводимости InGaAs-областью первого канала собственной проводимости 4, через барьер, образованный в зоне проводимости GaSbAs-областью второго канала собственной проводимости 5, в квантовую яму, образованную в зоне проводимости InGaAs-областью третьего канала собственной проводимости 16, а дырки под действием электрического поля управляющих переходов туннелируют в сверхрешетке второго типа из квантовой ямы, образованной в валентной зоне GaSbAs-областью четвертого канала собственной проводимости 17, через барьер, образованный в валентной зоне InGaAs-областью третьего канала собственной проводимости 16, в квантовую яму, образованную в валентной зоне GaSbAs-областью второго канала собственной проводимости 5, в результате чего проводимость InGaAs-области первого канала 4, граничащей с областью нулевого потенциала второго типа проводимости 14 и выходной областью второго типа проводимости 8, изолированной от дополнительной выходной области второго типа проводимости 22 разделительной AlGaAs-областью собственной проводимости 15, низкая, проводимость InGaAs-области третьего канала 16, граничащей с областью нулевого потенциала второго типа проводимости 14 и дополнительной выходной областью второго типа проводимости 22, изолированной от выходной области второго типа проводимости 8 разделительной AlGaAs-областью собственной проводимости 15, высокая, проводимость GaSbAs-области второго канала 5, граничащей с областью питания первого типа проводимости 13 и выходной областью первого типа проводимости 9, изолированной от дополнительной выходной области первого типа проводимости 21 разделительной AlGaAs-областью собственной проводимости 15, высокая, проводимость GaSbAs-области четвертого канала 17, граничащей с областью питания первого типа проводимости 13 и дополнительной выходной областью первого типа проводимости 21, изолированной от выходной области первого типа проводимости 9 разделительной AlGaAs-областью собственной проводимости 15, низкая.

При этом на выходной металлической шине 10, соединенной с выходной областью второго типа проводимости 8 и выходной областью первого типа проводимости 9, действует высокий уровень напряжения логической единицы, а на дополнительной выходной металлической шине 23, соединенной с дополнительной выходной областью второго типа проводимости 22 и дополнительной выходной областью первого типа проводимости 21, действует низкий уровень напряжения логического нуля.

При подаче высокого уровня напряжения логической единицы на входную металлическую шину 7, образующую переход Шоттки с AlGaAs-областью второго типа проводимости 2, и низкого уровня напряжения логического нуля на дополнительную входную металлическую шину 20, соединенную с AlGaAs-областью первого типа проводимости 19, граничащей с полуизолирующей подложкой 1 и образующей p-n-переход с дополнительной AlGaAs-областью второго типа проводимости 18, под действием электрического поля управляющих переходов электроны, пространственно изолированные от ионов примеси второй AlGaAs-областью спейсера собственной проводимости 6, туннелируют в сверхрешетке второго типа из квантовой ямы, образованной в зоне проводимости InGaAs-областью третьего канала собственной проводимости 16, через барьер, образованный в зоне проводимости GaSbAs-областью второго канала собственной проводимости 5, в квантовую яму, образованную в зоне проводимости InGaAs-областью первого канала собственной проводимости 4, а дырки под действием электрического поля управляющих переходов туннелируют в сверхрешетке второго типа из квантовой ямы, образованной в валентной зоне GaSbAs-областью второго канала собственной проводимости 5, через барьер, образованный в валентной зоне InGaAs-областью третьего канала собственной проводимости 16, в квантовую яму, образованную в валентной зоне GaSbAs-областью четвертого канала собственной проводимости 17, в результате чего проводимость InGaAs-области первого канала 4, граничащей с областью нулевого потенциала второго типа проводимости 14 и выходной областью второго типа проводимости 8, изолированной от дополнительной выходной области второго типа проводимости 22 разделительной AlGaAs-областью собственной проводимости 15, становится высокой, проводимость InGaAs-области третьего канала 16, граничащей с областью нулевого потенциала второго типа проводимости 14 и дополнительной выходной областью второго типа проводимости 22, изолированной от выходной области второго типа проводимости 8 разделительной AlGaAs-областью собственной проводимости 15, становится низкой, проводимость GaSbAs-области второго канала 5, граничащей с областью питания первого типа проводимости 13 и выходной областью первого типа проводимости 9, изолированной от дополнительной выходной области первого типа проводимости 21 разделительной AlGaAs-областью собственной проводимости 15, становится низкой, проводимость GaSbAs-области четвертого канала 17, граничащей с областью питания первого типа проводимости 13 и дополнительной выходной областью первого типа проводимости 21, изолированной от выходной области первого типа проводимости 9 разделительной AlGaAs-областью собственной проводимости 15, становится высокой.

При этом на выходной металлической шине 10, соединенной с выходной областью второго типа проводимости 8 и выходной областью первого типа проводимости 9, установится низкий уровень напряжения логического нуля, а на дополнительной выходной металлической шине 23, соединенной с дополнительной выходной областью второго типа проводимости 22 и дополнительной выходной областью первого типа проводимости 21, установится высокий уровень напряжения логической единицы через промежуток времени, определяемый процессами перезаряда емкостей, приведенных к выходным шинам интегрального логического элемента, и инерционностью процессов туннелирования электронов через барьер, образованный в зоне проводимости GaSbAs-областью второго канала собственной проводимости 5, и дырок – через барьер, образованный в валентной зоне InGaAs-областью третьего канала собственной проводимости 16, и не зависящий от времени пролета носителями заряда областей каналов 4, 5, 16, 17, поскольку суммарное число носителей в каналах, образованных квантовыми ямами сверхрешетки второго типа, в процессе переключения элемента остается практически неизменным.

Таким образом, предлагаемое устройство представляет собой интегральный логический элемент «НЕ» на основе сверхрешетки второго типа с парафазными входами и выходами.

Использование эффекта туннелирования электронов между областями первого и третьего каналов, и дырок – между областями второго и четвертого каналов, образованных квантовыми ямами сверхрешетки второго типа, а также использование двух входных и двух выходных шин, дополнительных выходных областей первого и второго типов проводимости, спейсеров и управляющего p-n-перехода обеспечивает переключение интегрального логического элемента из состояния логического нуля в состояние логической единицы и наоборот под воздействием управляющих входных напряжений в течение времени, определяемого процессами перезаряда емкостей, приведенных к выходным шинам, и инерционностью процессов туннелирования носителей заряда через барьерные области сверхрешетки, и не зависящее от времени пролета носителями областей каналов, поскольку суммарное число носителей в каналах в процессе переключения элемента остается практически неизменным. Использование квантовых областей сверхрешетки второго типа в качестве каналов для электронов и дырок обеспечивает, с одной стороны, пространственное разделение электронов и дырок, а с другой – уменьшение площади интегрального логического элемента за счет вертикальной и функциональной интеграции областей каналов.

Формула изобретения

Интегральный логический элемент «НЕ» на основе сверхрешетки второго типа, содержащий полуизолирующую GaAs-подложку, AlGaAs-область второго типа проводимости, расположенную под ней первую AlGaAs-область спейсера собственной проводимости, расположенную под ней область первого канала собственной проводимости, область второго канала собственной проводимости, вторую AlGaAs-область спейсера собственной проводимости, входную металлическую шину, расположенную над AlGaAs-областью второго типа проводимости и образующую с ней переход Шоттки, выходную область второго типа проводимости, выходную область первого типа проводимости, выходную металлическую шину, соединенную с выходной областью второго типа проводимости и выходной областью первого типа проводимости, металлическую шину питания, металлическую шину нулевого потенциала, область питания первого типа проводимости, соединенную с металлической шиной питания, область нулевого потенциала второго типа проводимости, соединенную с металлической шиной нулевого потенциала, разделительные AlGaAs-области собственной проводимости, отличающийся тем, что в него введены область третьего канала собственной проводимости, область четвертого канала собственной проводимости, расположенная под второй AlGaAs-областью спейсера собственной проводимости дополнительная AlGaAs-область второго типа проводимости, расположенная под ней, образующая с ней р-n-переход и граничащая с полуизолирующей GaAs-подложкой AlGaAs-область первого типа проводимости, соединенная с ней дополнительная металлическая входная шина, расположенные под разделительными AlGaAs-областями собственной проводимости дополнительные выходные области первого и второго типов проводимости, дополнительная выходная металлическая шина, соединенная с дополнительными выходными областями первого и второго типов проводимости, области аморфизации, разделяющие области питания первого типа проводимости и нулевого потенциала второго типа проводимости, а также разделяющие выходные области первого и второго типов проводимости и дополнительные выходные области первого и второго типов проводимости, причем области первого и третьего каналов собственной проводимости на основе InGaAs и области второго и четвертого каналов собственной проводимости на основе GaSbAs образуют сверхрешетку второго типа без перекрытия зоны проводимости в InGaAs-областях и валентной зоны в GaSbAs-областях, выходная область второго типа проводимости граничит с InGaAs-областью первого канала собственной проводимости, выходная область первого типа проводимости граничит с GaSbAs-областью второго канала собственной проводимости, дополнительная выходная область второго типа проводимости граничит с InGaAs-областью третьего канала собственной проводимости, дополнительная выходная область первого типа проводимости граничит с GaSbAs-областью четвертого канала собственной проводимости, области питания первого типа проводимости и нулевого потенциала второго типа проводимости граничат с областями первого, второго, третьего и четвертого каналов собственной проводимости.

РИСУНКИ

Categories: BD_2377000-2377999