|
|
(21), (22) Заявка: 2008116463/28, 29.04.2008
(24) Дата начала отсчета срока действия патента:
29.04.2008
(46) Опубликовано: 27.12.2009
(56) Список документов, цитированных в отчете о поиске:
Николаев Ю.В. и др. Металлокерамические рентгеновские трубки с монокристаллическими анодами для медицинской диагностики. Приборы и системы, Управление, Контроль, Диагностика. 2000, 3, с.23-25. RU 2138879 C1, 27.09.1999. RU 2314592 C1, 10.01.2008. JP 58108629 A, 28.06.1983. EP 0034768 A2, 02.09.1981. DE 4132118 C1, 22.10.1992.
Адрес для переписки:
142100, Московская обл., г. Подольск, ул. Железнодорожная, 24, ФГУП НИИ НПО “Луч”
|
(72) Автор(ы):
Таубин Михаил Львович (RU), Ясколко Антон Андреевич (RU)
(73) Патентообладатель(и):
Федеральное государственное унитарное предприятие “Научно-исследовательский Институт Научно-производственное объединение “Луч” (RU)
|
(54) РЕНТГЕНОВСКАЯ ТРУБКА
(57) Реферат:
Изобретение относится к рентгеновской технике, а именно к рентгеновским трубкам промышленного и медицинского применения. Рентгеновская трубка содержит вакуумную колбу и размещенные внутри нее катод и анод. Эмиттер катода и анод выполнены из тугоплавкого материала с монокристаллической структурой, причем эмитирующая электроны поверхность эмиттера катода совмещена с неплотноупакованной кристаллографической плоскостью монокристалла, а рабочая поверхность анода – с плотноупакованной плоскостью. Технический результат – увеличение стабильности выходных характеристик трубки и срока службы катода и анода. 4 з.п. ф-лы, 3 ил.
Изобретение относится к рентгеновской технике, а именно к рентгеновским трубкам промышленного и медицинского применения.
Известна рентгеновская трубка, состоящая из вакуумной колбы, внутри которой размещены катод и анод. Катод выполнен из поликристаллического вольфрама в виде проволочной спирали, а анод – из молибдена (“Medica Mundi”, v.35, 1990, p.21-37).
Недостатком такой трубки является то, что поликристаллический вольфрам имеет невысокие эмиссионные характеристики, высокую и неравномерную по поверхности испаряемость из-за наличия границ зерен, а поликристаллический молибден из-за наличия границ зерен подвержен активной повреждаемости при воздействии потоков электронов с катода. Важно и то, что при испарении и переконденсации материалов катода и анода, отличных по химическому составу, происходит изменение характеристик материалов. Например, если анод изготавливать из молибдена, а катод – из вольфрама, то вольфрам, испаряясь с катода и оседая на анод, изменяет спектр излучения анода. Эти недостатки катода и анода приводят к непрогнозируемому снижению выходных характеристик рентгеновских трубок – мощности и размера фокусных пятен.
Известна рентгеновская трубка, в которой катод выполнен из вольфрама, легированного торием, а анод – из поликристаллического вольфрама, легированного рением (Денискин Ю.Д., Чижунова Ю.А. Медицинские рентгеновские трубки и излучатели. М.: Атомиздат, 1984 г., 209 с.). Такая трубка не устраняет всех недостатков, присущих поликристаллическому вольфраму.
Ближайшим аналогом к предлагаемому техническому решению является рентгеновская трубка, в которой катод выполнен из поликристаллического вольфрама, а анод выполнен из монокристаллического вольфрама (Николаев Ю.В., Выбыванец В.И., Таубин М.Л. Металлокерамические рентгеновские трубки с монокристаллическими анодами для медицинской диагностики. Приборы и Системы, Управление, Контроль, Диагностика 3, 2000 г., с.23-25).
Однако этой трубке присущи все недостатки использования поликристаллического вольфрама в качестве катода, усугубленные тем, что локальные перегревы из-за неравномерного испарения вольфрама с отдельных зерен приводят к локальному изменению электросопротивления с дальнейшим перегоранием катода, имеющего малое поперечное сечение. Хотя монокристаллический вольфрам в качестве материала анода имеет преимущества перед поликристаллическим, однако его невысокие механические свойства ограничивают возможность повышения мощности рентгеновской трубки из-за деградации поверхности фокусной дорожки анода в виде появления деформационного рельефа.
Перед авторами стояла задача создания рентгеновской трубки, лишенной указанных недостатков и обеспечивающей высокие, стабильные эмиссионные рентгенооптические характеристики.
Поставленная задача достигается тем, что предложена рентгеновская трубка, которая содержит вакуумную колбу и размещенные в ней катод и анод, при этом эмиттер катода и анод или фокусная дорожка анода выполнены из тугоплавкого материала с монокристаллической структурой, причем эмитирующая электроны поверхность эмиттера катода совмещена с неплотноупакованной кристаллографической плоскостью монокристалла, а рабочая поверхность анода – с плотноупакованной плоскостью. Катод и анод могут быть выполнены из одного и того же монокристаллического металла или сплава. Кроме того, катод и анод могут быть выполнены из монокристаллического вольфрама или монокристаллического сплава вольфрама с металлом из ряда Nb, Ta, V, Hf, Re, Mo. Также катод может быть выполнен из монокристаллического сплава вольфрама с ниобием, а анод – из монокристаллического сплава молибдена с ниобием. Кроме того, эмитирующая электроны поверхность катода может быть совмещена с кристаллографической плоскостью [111], а, по крайней мере, фокусная дорожка поверхности анода совмещена с кристаллографической плоскостью [110].
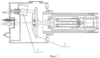
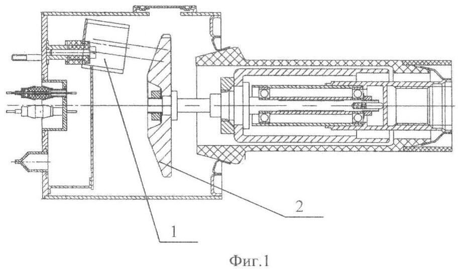
Изобретение иллюстрируется фиг 1-3. На фиг.1 представлена схема рентгеновской трубки, где 1 – катод, 2 – анод. На фиг.2 изображено фокусное пятно. На фиг.3 представлена зависимость мощности дозы от числа включений для рентгеновской трубки с поликристаллическим анодом – 1 и монокристаллическим анодом – 2.
Пример осуществления
Рентгеновская трубка (Фиг.1) выполнена из вакуумной металлокерамической колбы, внутри которой размещены катод (1) и анод (2). Эмиттер катода выполнен из монокристаллического сплава вольфрама с 4,5% ниобия, а анод – из монокристаллического сплава молибдена с 3% ниобия. Эмитирующая поверхность эмиттера совмещена с кристаллографической плоскостью [111], а коническая рабочая поверхность анода – с кристаллографической плоскостью [110],
Контроль размеров фокусного пятна выявил заданный размер 0,3×0,3 мм с четкими границами (Фиг.2), что нехарактерно для рентгеновских трубок с поликристаллическими эмиттерами катодов.
Испытания на ресурс выявили заметно меньшее снижение интенсивности рентгеновского излучения в рентгеновской трубке с монокристаллическим анодом по сравнению с поликристаллическим начиная с 2500 включений (Фиг.3).
Формула изобретения
1. Рентгеновская трубка, содержащая вакуумную колбу и размещенные внутри нее катод и анод, выполненные из тугоплавких материалов, отличающаяся тем, что эмиттер катода и, по крайней мере, фокусная дорожка анода выполнены из тугоплавкого материала с монокристаллической структурой, причем эмитирующая электроны поверхность эмиттера катода совмещена с неплотноупакованной кристаллографической плоскостью монокристалла, а рабочая поверхность анода – с плотноупакованной плоскостью.
2. Рентгеновская трубка по п.1, отличающаяся тем, что катод и анод выполнены из одного и того же монокристаллического металла или сплава.
3. Рентгеновская трубка по п.1, отличающаяся тем, что катод и анод выполнены из монокристаллического вольфрама или монокристаллического сплава вольфрама с металлом из ряда Nb, Ta, V, Hf, Re, Mo.
4. Рентгеновская трубка по п.1, отличающаяся тем, что катод выполнен из монокристаллического сплава вольфрама с ниобием, а анод – из монокристаллического сплава молибдена с ниобием.
5. Рентгеновская трубка по п.1, отличающаяся тем, что эмитирующая электроны поверхность катода совмещена с кристаллографической плоскостью [111], а, по крайней мере, фокусная дорожка поверхности анода совмещена с кристаллографической плоскостью [110].
РИСУНКИ
|
|