|
|
(21), (22) Заявка: 2007115413/09, 15.09.2005
(24) Дата начала отсчета срока действия патента:
15.09.2005
(30) Конвенционный приоритет:
24.09.2004 DE 102004047259.9
(43) Дата публикации заявки: 27.10.2008
(46) Опубликовано: 27.12.2009
(56) Список документов, цитированных в отчете о поиске:
US 6172317 B1, 09.01.2001. RU 2294576 C2, 10.09.2005. EP 0634765 A1, 18.01.1995. EP 1139358 A1, 04.10.2001.
(85) Дата перевода заявки PCT на национальную фазу:
24.04.2007
(86) Заявка PCT:
EP 2005/054581 20050915
(87) Публикация PCT:
WO 2006/032626 20060330
Адрес для переписки:
129090, Москва, ул. Б.Спасская, 25, стр.3, ООО “Юридическая фирма Городисский и Партнеры”, пат.пов. Ю.Д.Кузнецову, рег. 595
|
(72) Автор(ы):
ФОЛЬКМАР Ральф-Райнер (DE), ХЕРИНГ Уве (DE), ШМИДТ Маттиас (DE)
(73) Патентообладатель(и):
СИМЕНС АКЦИЕНГЕЗЕЛЛЬШАФТ (DE)
|
(54) ИЗОЛИРОВАННЫЙ ТВЕРДЫМ ЭЛЕКТРОИЗОЛЯЦИОННЫМ МАТЕРИАЛОМ ПОЛЮС ВЫКЛЮЧАТЕЛЯ С СОЕДИНЕНИЕМ ПОДВИЖНОЙ КОНТАКТ-ДЕТАЛИ НА ТОРЦОВОЙ СТОРОНЕ
(57) Реферат:
Изобретение касается изолированного твердым электроизоляционным материалом полюса выключателя (1) для прерывания электрического тока со стабильным по форме и электрически непроводящим корпусом из электроизоляционного материала (2), в котором установлена дугогасительная камера (5) со стационарной неподвижной контакт-деталью и перемещаемой подвижной контакт-деталью; с электрически связанной с неподвижной контакт-деталью и контактируемой снаружи входной соединительной деталью (3) и соединенной с подвижной контакт-деталью посредством соединения подвижной контакт-детали (12) выходной соединительной деталью (13), которая жестко связана с корпусом из изоляционного материала (2) и имеет контактируемую снаружи поверхность контакта. Корпус из электроизоляционного материала (2) снабжен отверстием для ввода движения привода в подвижную контакт-деталь. Соединение подвижной контакт-детали (12) фиксировано на выходной соединительной детали (4) с помощью действующего на поверхность контакта соединительного средства (17). Технический результат – повышение экономичности в изготавлении и упрощение монтажа. 2 н. и 8 з.п. ф-лы, 2 ил.
Настоящее изобретение относится к изолированному твердым электроизоляционным материалом полюсу выключателя для прерывания электрического тока со стабильным по форме и электрически непроводящим корпусом из электроизоляционного материала, с установленной в корпусе из электроизоляционного материала дугогасительной (коммутационной) камерой, которая имеет стационарную неподвижную контакт-деталь и перемещаемую подвижную контакт-деталь, электрически связанной с неподвижной контакт-деталью и контактируемой снаружи входной соединительной деталью и с соединенной с подвижной контакт-деталью посредством соединения подвижной контакт-детали выходной соединительной деталью, которая жестко связана с корпусом из изоляционного материала и имеет контактируемую снаружи поверхность контакта, причем корпус из электроизоляционного материала снабжен отверстием для ввода движения привода в подвижную контакт-деталь.
Настоящее изобретение, кроме того, относится к способу для подключения соединения подвижной контакт-детали изолированного твердым электроизоляционным материалом полюса выключателя, который содержит стабильный по форме, электрически непроводящий корпус из электроизоляционного материала, установленную в корпусе из электроизоляционного материала дугогасительную камеру со стационарной неподвижной контакт-деталью и перемещаемой подвижной контакт-деталью; электрически связанную с неподвижной контакт-деталью и контактируемую снаружи входную соединительную деталь и выходную соединительную деталь, которая имеет контактируемую снаружи поверхность контакта, причем корпус из электроизоляционного материала снабжен отверстием для ввода движения привода в подвижную контакт-деталь, при котором после установки дугогасительной камеры в корпус из электроизоляционного материала выходную соединительную деталь электрически соединяют с подвижной контакт-деталью через соединение подвижной контакт-детали.
Подобное устройство и подобный способ известны, например, из DE 19712182 A1. Там раскрыт изолированный твердым электроизоляционным материалом полюс выключателя, который содержит стабильной формы корпус из электроизоляционного материала из литьевой смолы. Корпус из электроизоляционного материала выполнен в виде полого цилиндра и содержит внутри вакуумную дугогасительную камеру. Вакуумная дугогасительная камера располагает полым цилиндрическим керамическим телом, которое с обеих сторон вакуумно-плотно закрыто металлическими концевыми крышками. При этом концевые крышки пронизываются стационарной штангой неподвижной контакт-детали или соответственно перемещаемой вдоль штангой подвижной контакт-детали, которые на их вдающемся в вакуумную дугогасительную камеру конце несут стационарную неподвижную контакт-деталь или соответственно подвижную контакт-деталь.
Подвижная контакт-деталь соединена с металлической концевой крышкой через металлический сильфон. Штанга неподвижной контакт-детали в противоположность этому жестко свинчена с выведенным из корпуса из электроизоляционного материала входным подключением. Штанга подвижной контакт-детали через гибкий ленточный токопровод соединена с выходной соединительной деталью, которая также имеет контактируемую снаружи поверхность контакта. Гибкий ленточный токопровод позволяет производить электрическое подключение подвижной контакт-детали к выходной соединительной детали, причем остается сохраненной подвижность подвижной контакт-детали.
Для изготовления полюса выключателя дугогасительную камеру, например, прочно заливают в корпус из электроизоляционного материала. В связи со способом изготовления соединение гибкого ленточного токопровода производят после заливки через отверстие в корпусе из электроизоляционного материала, которое предусмотрено для ввода движения привода в подвижную контакт-деталь. При этом крепление ленточного токопровода происходит на стороне выходной соединительной детали, обращенной в залитом состоянии к отверстию.
Известное из уровня техники устройство и известный из уровня техники способ имеют недостаток, что корпус из электроизоляционного материала имеет увеличенный для крепления ленточного токопровода внутренний диаметр. Монтаж ленточного токопровода на смещенной внутрь корпуса из электроизоляционного материала выходной соединительной детали, несмотря на увеличенный внутренний диаметр, однако, остается затруднительным.
Задачей настоящего изобретения является поэтому предоставление в распоряжение изолированного твердым электроизоляционным материалом полюса выключателя названного вначале вида, который является экономичным в изготовлении и простым в монтаже.
Изобретение решает эту задачу за счет того, что соединение подвижной контакт-детали удерживается на выходной соединительной детали с помощью соединительного средства, воздействующего на поверхность контакта.
Далее задачей изобретения является предоставление в распоряжение способа названного вначале вида, посредством которого является возможным быстрый и экономичный по затратам конечный монтаж изолированного твердым электроизоляционным материалом полюса выключателя, соответствующего ограничительной части формулы изобретения.
Изобретение решает эту задачу за счет того, что соединение подвижной контакт-детали прикрепляют к поверхности контакта выходной соединительной детали.
Согласно изобретению конечный монтаж изолированного твердым электроизоляционным материалом полюса выключателя, то есть соединение и крепление соединения подвижной контакт-детали на выходной соединительной детали, не производят больше, как обычно в уровне техники, через отверстие корпуса из электроизоляционного материала, которое предусмотрено для ввода движения привода. Соединение подвижной контакт-детали согласно изобретению соединяют через торцовую поверхность контакта выходной соединительной детали с этой деталью. Отверстие корпуса из электроизоляционного материала может при этом рассчитываться только на приводную механику. Это приводит к более компактному полюсу выключателя. Кроме того, монтаж соответствующего изобретению полюса выключателя является упрощенным, так как поверхность контакта является доступной снаружи, и поэтому более просто. Наконец, соответствующий изобретению изолированный твердым электроизоляционным материалом полюс выключателя является также более экономичным с точки зрения затрат, так как примененные для этого детали являются менее сложными и поэтому легкими в изготовлении. В рамках изобретения также является возможным увеличивать диаметр вводящей движение оперативной штанги или даже снабжать ее внешними ребрами, чтобы увеличивать путь тока утечки изолирующей оперативной штанги.
Предпочтительным образом выходная соединительная деталь на своей поверхности контакта содержит проходные отверстия, сквозь которые проходят соединительные средства. Согласно этой форме дальнейшего развития соединительные средства целесообразно реализованы в виде зажимного соединения. Зажимное соединение прижимает друг к другу выходную соединительную деталь и соединение подвижной контакт-детали так, что в распоряжение предоставлена необходимая для соединения подвижной контакт-детали удерживающая сила. За счет прикрепления выходной соединительной детали к корпусу из электроизоляционного материала на нем прочно удерживается также соединение подвижной контакт-детали.
Согласно целесообразной относящейся к этому формы дальнейшего развития зажимное соединение реализовано в виде резьбового соединения. Таким образом выходную соединительную деталь можно просто соединять с соединением подвижной контакт-детали, которое, например, реализовано в виде гибкого ленточного токопровода. Соединение подвижной контакт-детали при этом имеет, например, целесообразную внутреннюю резьбу, причем длинный винт на своем свободном конце снабжен внешней резьбой, которая с геометрическим замыканием входит в зацепление во внутреннюю резьбу соединения подвижной контакт-детали. Само собой разумеется, возможным является также применять вместо внутренней резьбы в соединении подвижной контакт-детали отдельную или приваренную к соединению подвижной контакт-детали гайку.
Целесообразно соединение подвижной контакт-детали имеет роликовый контакт или скользящий контакт.
Предпочтительным образом соединение подвижной контакт-детали содержит по крайней мере один гибкий ленточный токопровод. Ленточные токопроводы являются как таковые известными. Однако их применение в рамках изобретения имеет следствием особенно простую конструкцию и простой монтаж соответствующего изобретению, изолированного твердым электроизоляционным материалом полюса выключателя.
Согласно относящейся к этому предпочтительной формы дальнейшего развития предусмотрено несколько ленточных токопроводов, причем ленточные токопроводы через общую промежуточную деталь соединены с выходной промежуточной деталью. Для торцового размещения ленточного токопровода на выходной соединительной детали ленточный токопровод содержит целесообразно выемку или проходное отверстие с внутренней резьбой или без нее, за счет чего токовое поперечное сечение ленточного токопровода уменьшается, и устанавливается повышенное выделение тепла. Для повышения эффективного поперечного сечения провода поэтому является целесообразным использование нескольких ленточных токопроводов, которые электрически и механически присоединены к общей промежуточной детали. Промежуточная деталь изготовлена из хорошо проводящего материала, как, например, меди, и имеет ленточный участок, на котором, например, сбоку закреплены гибкие ленточные токопроводы. В среднем положении ленточный участок снабжен проходным отверстием, сквозь которое свободно проходит соединенная с подвижной контакт-деталью оперативная штанга. Для крепления к выходной соединительной детали промежуточная деталь содержит, кроме того, крепежный участок, который предпочтительно направлен под прямым углом к удерживающему участку. При этом сторона, обращенная к выходной соединительной детали, приспособлена, например, к размерам выходной соединительной детали так, что в собранном состоянии получается прилегание промежуточной детали к выходной соединительной детали на возможно большой площади. Промежуточная деталь во взаимодействии с ленточными токопроводами повышает токовое поперечное сечение соединения подвижной контакт-детали так, что изолированный твердым электроизоляционным материалом полюс выключателя является применимым также для более высоких токов.
Согласно предпочтительной форме дальнейшего развития способа соединение подвижной контакт-детали и выходная соединительная деталь прикреплены друг к другу посредством зажимного соединения.
Дальнейшие целесообразные формы выполнения и преимущества изобретения являются предметом последующего описания примеров выполнения изобретения со ссылкой на чертежи, причем
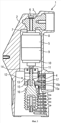
Фиг.1 показывает пример выполнения соответствующего изобретению изолированного твердым электроизоляционным материалом полюса выключателя в виде поперечного сечения,
Фиг.2 – в увеличенном перспективном виде промежуточную деталь согласно Фиг.1.
Фиг.1 показывает пример выполнения соответствующего изобретению полюса выключателя 1 в поперечном сечении в виде сбоку. Представленный полюс выключателя 1 содержит выполненный из литьевой смолы корпус из электроизоляционного материала 2, который является стабильным по форме и в котором на его верхнем конце залиты входная соединительная деталь 3, а также в среднем положении – выходная соединительная деталь 4. На верхней входной соединительной детали 3 закреплена вакуумная дугогасительная камера 5. Для этого служит резьбовое соединение 6, которое пронизывает предусмотренное в входной соединительной детали 3 проходное отверстие и которое своим свободным концом соединено с геометрическим замыканием через резьбу со штангой неподвижной контакт-детали 7. Штанга неподвижной контакт-детали 7 пронизывает на торцовой стороне конечную крышку 8 вакуумной дугогасительной камеры 5, которая вместе с изолирующим керамическим корпусом 9 и нижней торцовой конечной крышкой 10 образует дугогасительную камеру, в которой господствует вакуум.
На вдающемся в дугогасительную камеру свободном конце штанги неподвижной контакт-детали расположена не представленная на чертеже неподвижная контакт-деталь, напротив которой в продольном направлении расположена направляемая продольно подвижная контакт-деталь. Подвижная контакт-деталь удерживается штангой подвижной контакт-детали 11, которая пронизывает нижнюю торцовую крышку 10, причем не представленный на чертеже металлический сильфон, закрепленный с одной стороны на штанге подвижной контакт-детали 11 и с другой стороны на торцовой крышке 10, позволяет коммутационное движение подвижной контакт-детали.
Для электрического соединения продольно подвижной штанги подвижной контакт-детали 11 с неподвижной выходной соединительной деталью 4 предусмотрено соединение подвижной контакт-детали 12, причем гибкие ленточные токопроводы 13 делают возможным сдвиг в продольном направлении штанги подвижной контакт-детали 11. Ленточные токопроводы 13 снабжены на своем верхнем конце зажимной деталью 14, которая жестко соединена со штангой подвижной контакт-детали 11 и при ходе контактов смещается вверх и вниз, то есть в продольном направлении. На нижнем конце ленточные токопроводы 13 жестко соединены со стационарной промежуточной деталью 15, которая содержит соединительный участок 15а, а также крепежный участок 15b, проходящий к нему в основном под прямым углом. В соединительном участке 15а предусмотрено проходное отверстие, которое свободно пронизывается состоящей из электроизоляционного материала оперативной штангой 16. Оперативная штанга 16 жестко соединена на своем верхнем конце со штангой подвижной контакт-детали 11 и своим обращенным от штанги подвижной контакт-детали 11 концом – с рычажной механикой. Через рычажную механику созданное приводным агрегатом движение привода является вводимым в оперативную штангу 16 и тем самым в штангу подвижной контакт-детали 11.
Для закрепления соединительного участка 15b с выходной соединительной деталью 4 предусмотрены винты 17, головки которых углублены в выходной соединительной детали 4. Винты 17 входят в зацепление своей наружной резьбой во внутреннюю резьбу крепежного участка 15b.
Во включенном состоянии подвижная контакт-деталь прилегает к неподвижной контакт-детали вакуумной дугогасительной камеры. Тем самым становится возможной замкнутая цепь тока от входной соединительной детали 3 через штангу неподвижной контакт-детали 7, неподвижную контакт-деталь, подвижную контакт-деталь, штангу подвижной контакт-детали 11 и соединение подвижной контакт-детали 12 к выходной соединительной детали 4. За счет ввода движения коммутации подвижная контакт-деталь отделяется от неподвижной контакт-детали, причем при известных обстоятельствах тянущаяся электрическая дуга гасится в вакууме при прохождении переменного тока через нуль. Изолированный твердым электроизоляционным материалом полюс выключателя 1 предусмотрен для прерывания тока в одной фазе сети напряжения трехфазного тока. Силовые выключатели обычно содержат три полюса выключателя так, что один выключатель содержит три обычно вертикально расположенных рядом друг с другом полюса выключателя согласно Фиг.1.
Фиг.2 показывает соединение подвижной контакт-детали 12 в увеличенном перспективном представлении. Здесь можно видеть, что зажимная деталь 14 состоит из двух противоположно лежащих медных блоков 14а и 14b, которые ограничивают между собой выемку 18, которая служит для приема штанги подвижной контакт-детали 11. Для зажимного подключения зажимной детали 14 к штанге подвижной контакт-детали 11 служат резьбовые соединения 19. На своем обращенном от зажимной детали 14 конце ленточные токопроводы 13 соединены винтами 20 с промежуточной деталью 15, причем в показанном представлении можно видеть проходное отверстие для оперативной штанги в соединительном участке 15а. Соединение между промежуточной деталью 15 и ленточными токопроводами 13, однако, согласно изобретению может быть реализовано как угодно. Так, например, можно рассматривать также сварное соединение, паяное соединение или тому подобное. Под прямым углом к соединительному участку 15а проходит крепежный участок 15b, который имеет дополнительную к внутренней стороне выходной соединительной детали плоскую сторону приложения. Применение промежуточной детали 15 позволяет использование двух ленточных токопроводов 13, причем в распоряжение предоставлено достаточно большое также для высоких токов токовое поперечное сечение.
Формула изобретения
1. Изолированный твердым электроизоляционным материалом полюс выключателя (1) для прерывания электрического тока со стабильным по форме и электрически непроводящим корпусом из электроизоляционного материала (2), с установленной в корпусе из электроизоляционного материала (2) дугогасительной камерой (5), которая имеет стационарную неподвижную контакт-деталь и перемещаемую подвижную контакт-деталь; с электрически связанной с неподвижной контакт-деталью и контактируемой снаружи входной соединительной деталью (3) и с соединенной с подвижной контакт-деталью посредством соединения подвижной контакт-детали (12) выходной соединительной деталью (4), которая жестко связана с корпусом из электроизоляционного материала (2) и имеет контактируемую снаружи поверхность контакта, причем корпус из электроизоляционного материала (2) снабжен отверстием для ввода движения привода в подвижную контакт-деталь, отличающийся тем, что соединение подвижной контакт-детали (12) удерживается на выходной соединительной детали (4) с помощью соединительного средства (17), воздействующего на поверхность контакта.
2. Изолированный твердым электроизоляционным материалом полюс выключателя (1) по п.1, отличающийся тем, что выходная соединительная деталь (4) на своей поверхности контакта имеет проходные отверстия, через которые проходят соединительные средства (17).
3. Изолированный твердым электроизоляционным материалом полюс выключателя (1) по п.1 или 2, отличающийся тем, что соединительные средства выполнены в виде зажимного соединения (17).
4. Изолированный твердым электроизоляционным материалом полюс выключателя (1) по п.1 или 2, отличающийся тем, что соединение подвижной контакт-детали (12) имеет по крайней мере один гибкий ленточный токопровод (13).
5. Изолированный твердым электроизоляционным материалом полюс выключателя (1) по п.3, отличающийся тем, что соединение подвижной контакт-детали (12) имеет по крайней мере один гибкий ленточный токопровод (13).
6. Изолированный твердым электроизоляционным материалом полюс выключателя (1) по п.4, отличающийся тем, что предусмотрено несколько ленточных токопроводов (13), причем ленточные токопроводы (13) соединены с выходной соединительной деталью (4) через общую промежуточную деталь (15).
7. Изолированный твердым электроизоляционным материалом полюс выключателя (1) по п.5, отличающийся тем, что предусмотрено несколько ленточных токопроводов (13), причем ленточные токопроводы (13) соединены с выходной соединительной деталью (4) через общую промежуточную деталь (15).
8. Способ для соединения подвижной контакт-детали (12) изолированного твердым электроизоляционным материалом полюса выключателя (1), который содержит стабильный по форме электрически непроводящий корпус из электроизоляционного материала (2), установленную в корпусе из электроизоляционного материала (2) дугогасительную камеру (5) со стационарной неподвижной контакт-деталью и перемещаемой подвижной контакт-деталью; электрически связанную с неподвижной контакт-деталью и контактируемую снаружи входную соединительную деталь (3) и выходную соединительную деталь (4), которая имеет контактируемую снаружи поверхность контакта, причем корпус из электроизоляционного материала (2) снабжен отверстием для ввода движения привода в подвижную контакт-деталь, при котором после установки дугогасительной камеры (5) в корпус из изоляционного материала (2) выходную соединительную деталь (4) через соединение подвижной контакт-детали (12) электрически соединяют с подвижной контакт-деталью, отличающийся тем, что соединение подвижной контакт-детали (12) закрепляют на поверхности контакта выходной соединительной детали (4).
9. Способ по п.8, отличающийся тем, что соединение подвижной контакт-детали (12) и выходную соединительную деталь (4) крепят друг к другу посредством зажимного соединения (17).
10. Способ по п.8 или 9, отличающийся тем, что соединение подвижной контакт-детали (12) закрепляют с несколькими ленточными токопроводами (13) и общей промежуточной деталью (15).
РИСУНКИ
|
|