|
|
(21), (22) Заявка: 2008111577/09, 27.03.2008
(24) Дата начала отсчета срока действия патента:
27.03.2008
(46) Опубликовано: 27.12.2009
(56) Список документов, цитированных в отчете о поиске:
RU 2096882 С1, 20.11.1997. RU 2299508 С2, 20.05.2007. RU 2248079 С2, 10.03.2005. US 5283709 С2, 01.02.1994. US 4445161 A, 24.04.1984.
Адрес для переписки:
191186, Санкт-Петербург, а/я 230, “АРС-ПАТЕНТ”, пат.пов. В.М.Рыбакову, рег. 90
|
(72) Автор(ы):
Подпоркин Георгий Викторович (RU)
(73) Патентообладатель(и):
ОАО “НПО “Стример” (RU)
|
(54) ВЫСОКОВОЛЬТНЫЙ ИЗОЛЯТОР И ВЫСОКОВОЛЬТНАЯ ЛИНИЯ ЭЛЕКТРОПЕРЕДАЧИ, ИСПОЛЬЗУЮЩАЯ ДАННЫЙ ИЗОЛЯТОР
(57) Реферат:
Изобретение относится к высоковольтным изоляторам. Высоковольтный изолятор для крепления высоковольтного провода в электроустановке или на линии электропередачи содержит изоляционное тело, первый конец которого предназначен для механического соединения с высоковольтным проводом и/или с его крепежным устройством, и прикрепленную ко второму концу изоляционного тела металлическую арматуру для закрепления изолятора на опоре. Изолятор дополнительно снабжен мультиэлектродной системой (МЭС), состоящей из 5 и более (предпочтительно 100 и более) электродов, механически связанных с изоляционным телом и расположенных между его концами. Электроды установлены с возможностью формирования электрического разряда между смежными электродами, между электродом, смежным с первым концом изоляционного тела и высоковольтным проводом или его крепежной арматурой, а также между электродом, смежным со вторым концом изоляционного тела, и металлической арматурой, соединенной с опорой. Изолятор дополнительно снабжен средствами компенсации сокращения длины пути утечки изолятора, вносимого МЭС. Эти средства компенсации предпочтительно выполнены с возможностью обеспечения длины пути утечки по поверхности изоляции между смежными электродами, превышающей длину воздушного разрядного промежутка между этими электродами и длину одного из указанных электродов. Средствами компенсации могут, например, служить изоляционные элементы, каждый из которых закреплен на поверхности изолятора и несет один из электродов МЭС. Эту же функцию могут выполнять прорези, выполненные в изоляционном теле между электродами. Линия электропередачи, использующая подобные изоляторы, не требует применения грозозащитных разрядников. Техническим результатом является создание изолятора, способного надежно и эффективно выполнять функции как собственно изолятора, так и грозового разрядника. 2 н. и 14 з.п. ф-лы, 1 табл., 13 ил.
Область техники
Предлагаемое изобретение относится к высоковольтным изоляторам, с помощью которых могут закрепляться провода или ошиновки высоковольтных установок, а также высоковольтных линий электропередачи и электрических сетей. Изобретение относится также к высоковольтным линиям электропередачи (ВЛЭ), использующим подобные изоляторы.
Уровень техники
Известен высоковольтный опорный изолятор, состоящий из изоляционного (фарфорового) ребристого тела и металлических фланцев, установленных по его концам для крепления изолятора к высоковольтному электроду и к опорной конструкции (см. Техника высоких напряжений / Под ред. Д.В.Разевига – М.: Энергия, 1976, с.78).
Недостатком известного изолятора является то, что при грозовом перенапряжении происходит перекрытие воздушного промежутка между металлическими фланцами, а затем это перекрытие под действием напряжения промышленной частоты, приложенного к высоковольтному электроду, переходит в силовую дугу промышленной частоты, которая может повредить изолятор.
Известно техническое решение, позволяющее защитить описанный выше изолятор от дуги. Оно заключается в использовании так называемых защитных промежутков (см. Техника высоких напряжений /Под ред. Д.В.Разевига – М.: Энергия, 1976, с.287), которые выполнены с использованием металлических стержней, устанавливаемых электрически параллельно изолятору и образующих между собой искровой воздушный промежуток. Длина промежутка меньше, чем путь утечки по поверхности изолятора, и меньше, чем путь перекрытия его по воздуху. Поэтому при воздействии перенапряжения перекрывается не изолятор, а воздушный промежуток между стержнями, и дуга сопровождающего тока промышленной частоты горит на стержнях, а не на изоляторе. Недостатком изолятора с защитным промежутком является то, что в результате его срабатывания образуется короткое замыкание в сети, которое требует экстренного отключения высоковольтной установки, содержащей указанный изолятор.
Известна также гирлянда из двух изоляторов, отличающаяся от описанного выше изолятора тем, что между первым и вторым изоляторами, на металлических оконцевателях которых установлены дугозащитные стержни, расположен третий стержневой промежуточный электрод, установленный на металлической сцепной арматуре между изоляторами (см., например, патент США 4665460, Н01Т 004/02, 1987). Таким образом, в известной гирлянде вместо одного воздушного искрового промежутка создано два таких промежутка. Благодаря этому удалось несколько увеличить дугогасящую способность гирлянды изоляторов с дугозащитными стержнями и обеспечить гашение небольших (порядка десятков ампер) сопровождающих токов при однофазных замыканиях на землю. Однако это устройство не может отключать токи более 100 А, которые обычно бывают при двух- и трехфазных замыканиях на землю при грозовых перенапряжениях.
Наиболее близким к изобретению по технической сущности является изолятор с цилиндрическим изоляционным телом и спиральными (спиралевидными) ребрами. По концам изоляционного тела укреплены первый и второй металлические электроды, а внутри изоляционного тела установлен направляющий электрод. У этого электрода в средней части цилиндрического тела имеется металлический выступ, выходящий на поверхность изоляционного тела и выполняющий функцию промежуточного электрода (см. патент РФ 2107963, Н01В 17/14, 1998). В таком изоляторе при грозовом перенапряжении разряд развивается по поверхности цилиндрического изоляционного тела по спиральной траектории от первого основного электрода через промежуточный электрод ко второму основному электроду. Благодаря увеличенной длине перекрытия дуга от напряжения промышленной частоты не образуется, и электроустановка, в состав которой входит изолятор, может продолжать работу без отключения. Таким образом, данный изолятор, в дополнение к своей основной функции, выполняет также функцию грозозащиты, т.е. служит грозовым разрядником.
Однако известный изолятор в качестве устройства грозозащиты имеет ограниченную эффективность, поскольку в случае сильного загрязнения и увлажнения, а также при больших перенапряжениях (свыше 200 кВ) разряд развивается не по длинной спиральной, а по короткой траектории, пробивая воздушные промежутки между ребрами. При этом изолятор теряет свои свойства грозового разрядника, поскольку, как и в обычном изоляторе, после перекрытия в нем образуется силовая дуга.
С другой стороны, металлический выступ, находящийся в центральной части изоляционного тела, уменьшает длину пути утечки и, следовательно, снижает допустимое напряжение, при котором может применяться данный изолятор. Таким образом, его эффективность в качестве изолятора тоже ограничена.
Известны также ВЛЭ, использующие высоковольтные изоляторы для крепления проводов к опорам в сочетании с устройствами грозозащиты данных изоляторов (см., например, принадлежащий заявителю настоящего изобретения патент РФ 2248079, Н02Н 9/06, 2005). Известны, в частности, ВЛЭ, в которых устройства грозозащиты выполнены в форме различных искровых разрядников, присоединяемых параллельно изоляторам (см., например, US 5283709, Н02Н 001/00, 1994 и RU 2002126810, Н02Н 9/06, 2004).
В качестве наиболее близкого аналога предлагаемого технического решения может быть выбрана ВЛЭ, описанная в принадлежащем заявителю настоящего изобретения патенте РФ 2096882, H02G 7/00, 1997. Данная ВЛЭ содержит опоры, изоляторы, закрепленные на опорах посредством металлической арматуры, по меньшей мере, один находящийся под высоким электрическим напряжением провод, связанный с изоляторами посредством крепежных устройств, и средства защиты изоляторов от грозовых перенапряжений в виде импульсных искровых разрядников.
Хотя при правильном подборе импульсных искровых разрядников и схемы их подключения известная ВЛЭ обеспечивает высокую надежность грозозащиты, необходимость использования большого количества искровых разрядников существенно усложняет ее конструкцию, а также требует значительных затрат на изготовление и монтаж таких разрядников.
Раскрытие изобретения
Первая техническая задача, которую решает настоящее изобретение, состоит в создании высоковольтного изолятора, способного надежно и эффективно выполнять функции как собственно изолятора, так и грозового разрядника. Это позволит использовать изолятор по изобретению для крепления элементов электропередачи, находящихся под высоким напряжением, например проводов ВЛЭ, подстанций и другого электрооборудования.
Соответственно другая задача, на решение которой направлено изобретение, состоит в разработке высоковольтной линии электропередачи (ВЛЭ), обладающей улучшенными технико-экономическими характеристиками, а именно высокой надежностью работы, в том числе в условиях грозовых перенапряжений, при большей простоте конструкции (и соответственно меньшей стоимости) по сравнению с известными ВЛЭ. Достигаемым техническим результатом является также повышение надежности электропередачи.
С целью решения первой задачи предлагается высоковольтный изолятор для крепления, в качестве одиночного изолятора или в составе колонки или гирлянды изоляторов, высоковольтного провода в электроустановке или на линии электропередачи, содержащий изоляционное тело и арматуру в виде установленных на его концах первого и второго элементов арматуры. Первый элемент арматуры выполнен с возможностью соединения, непосредственно или посредством крепежного устройства, с высоковольтным проводом или со вторым элементом арматуры предшествующего высоковольтного изолятора колонки или гирлянды изоляторов. Второй элемент арматуры выполнен с возможностью соединения с опорой или с первым элементом арматуры последующего высоковольтного изолятора колонки или гирлянды изоляторов. Изолятор по изобретению характеризуется тем, что дополнительно содержит мультиэлектродную систему (МЭС), состоящую из m (m 5) электродов, механически связанных с изоляционным телом. Электроды МЭС расположены между концами изоляционного тела с возможностью формирования, под воздействием грозового перенапряжения, электрического разряда между первым элементом арматуры и смежным (смежными) с ним электродом (электродами), между смежными электродами, а также между вторым элементом арматуры и смежным (смежными) с ним электродом (электродами).
Расстояния между смежными электродами МЭС, т.е. длины g искровых разрядных промежутков, выбираются с учетом требуемого значения напряжения пробоя этих промежутков. Они могут лежать в диапазоне от 0,5 мм до 20 мм в зависимости от класса напряжения изолятора и его назначения, а также от того, какие перенапряжения предполагается ограничивать: индуктированные или от прямого удара молнии. Для широкого круга применений разрядника по изобретению предпочтительное значение g составляет несколько миллиметров.
Количество m электродов МЭС определяется с учетом ряда факторов, в том числе класса напряжения изолятора и его назначения, а также того, какие перенапряжения предполагается ограничивать, каковы сила тока в сопровождающей дуге и условия ее гашения (эти условия рассмотрены, например, в патенте РФ 2299508, Н02Н 3/22, 2007). Как будет показано далее, минимальное количество электродов целесообразно выбрать равным 5, тогда как при высоких значениях тока в дуге количество электродов может составлять в изоляторе по изобретению 200 и более. Однако (как это должно быть очевидно специалистам в данной области) введение в изолятор большого количества электродов приведет к существенному уменьшению суммарной длины пути утечки изолятора. Как следствие, произойдет значительное ухудшение его изоляционных свойств, в частности уменьшится допустимое напряжение, при котором он может применяться.
Для того чтобы избежать нежелательных последствий введения МЭС с большим количеством электродов, предлагается дополнительно снабдить изолятор средствами компенсации вносимого МЭС сокращения длины пути утечки изолятора. Средства компенсации предпочтительно выполнены с возможностью обеспечения длины пути утечки по поверхности изоляции, по меньшей мере, между частью электродов (образующих k пар смежных электродов, где 3 k m-1), превышающей длину воздушного разрядного промежутка между этими электродами и длину одного из указанных электродов. При этом в рамках настоящего изобретения предлагаются различные варианты выполнения средств компенсации. Выбор конкретного значения k, а также конкретного варианта этих средств следует производить в зависимости от конкретных условий функционирования изолятора по изобретению и от типа используемого высоковольтного изолятора.
Так, согласно одному из вариантов осуществления изобретения электроды выполнены Т-образными. Другими словами, каждый электрод снабжен узкой ножкой, посредством которой он прикреплен к изоляционному телу, и широкой перекладиной, ориентированной в направлении смежного электрода. В этом варианте средства компенсации образованы участками изоляционного тела, заключенными между ножками электродов, и воздушными зазорами.
В альтернативном варианте электроды расположены внутри изолятора. При этом средства компенсации выполнены в виде слоя материала изолятора, отделяющего электроды от поверхности этого тела, и прорезей (например, в форме щелей или круглых отверстий), выполненных между смежными электродами и выходящих на поверхность изолятора. Для увеличения длины пути утечки по поверхности изоляции между смежными электродами глубину каждой прорези целесообразно выбрать превышающей глубину расположения электродов. С этой же целью расстояния между противолежащими сторонами участков прорезей, расположенных глубже электродов, целесообразно выбрать превышающими ширину прорезей у поверхности изоляционного тела, т.е. придать прорезям фигурную форму.
Альтернативно, средства компенсации могут быть выполнены в виде расположенного на поверхности изолятора (в частности, на поверхности изоляционного тела), по меньшей мере, одного изоляционного элемента. При этом единственный изоляционный элемент или совокупность изоляционных элементов расположен (расположена) таким образом, чтобы пространственно отделить электроды от поверхности изолятора. В одном из вариантов на каждом изоляционном элементе установлено по одному электроду, т.е. изоляционные элементы в этом варианте имеют вид выступов, причем их количество равно m.
При этом один или более (в общем случае n, n 1) изоляционных элементов могут быть выполнены в виде спиральных изоляционных ребер, выступающих из поверхности изоляционного тела. При этом электроды могут быть установлены на одном или более изоляционных ребрах и/или на остальных (отдельных) m изоляционных элементах (по одному электроду на изоляционный элемент). В этом варианте максимальное общее количество изоляционных элементов составит m+n.
При использовании для установки электродов одного или более спиральных изоляционных ребер электроды устанавливаются на торцевой поверхности (торцевых поверхностях) единственного или нескольких изоляционных ребер. В данном варианте между каждой парой электродов в изоляционном ребре предпочтительно выполнены прорези.
Изобретение может быть реализовано применительно к изоляторам различных типов, в том числе использующих изоляционное тело, по существу, цилиндрической формы или в виде конусообразной или плоской тарелки. Если в изоляторе по изобретению с изоляционным телом в виде плоской тарелки имеется, по меньшей мере, одно изоляционное ребро, оно может быть выполнено выступающим из нижней поверхности тарелки.
С целью решения второй задачи предлагается высоковольтная линия электропередачи (ВЛЭ), содержащая опоры, одиночные изоляторы и/или изоляторы, собранные в колонки или гирлянды, и, по меньшей мере, один находящийся под высоким электрическим напряжением провод, связанный непосредственно или посредством крепежных устройств с элементами арматуры одиночных изоляторов и/или первых изоляторов колонок или гирлянд изоляторов. При этом, по меньшей мере, один из изоляторов ВЛЭ представляет собой изолятор по изобретению, выполненный в соответствии с любым из вышеописанных вариантов. Таким образом, указанный технический результат (повышение надежности линии электропередачи при упрощении ее конструкции) достигается благодаря тому, что, по меньшей мере, один изолятор ВЛЭ (а предпочтительно, по меньшей мере, один изолятор на каждой опоре ВЛЭ) выполняет, в дополнение к своей основной функции, функцию грозозащиты, т.е. не требует использования совместно с ним грозового разрядника.
Краткое описание чертежей
Заявляемое изобретение иллюстрируется чертежами, где:
на фиг.1 в продольном сечении показан первый вариант изолятора со спиральным ребром и с вмонтированными в него электродами в виде металлических Т-образных пластин;
на фиг.2 изолятор по фиг.1 представлен в поперечном сечении;
на фиг.3 в продольном сечении показан второй вариант изолятора со спиральным ребром и с вмонтированными в него электродами в виде отрезков металлических цилиндров;
на фиг.4 изолятор по фиг.3 представлен в поперечном сечении;
на фиг.5 в сечении, на виде сверху, в увеличенном масштабе показан фрагмент варианта спирального ребра изолятора по фиг.3, 4;
на фиг.6 в сечении, на виде сверху, в увеличенном масштабе показан фрагмент другого варианта спирального ребра изолятора по фиг.3, 4;
на фиг.7 на виде спереди показан штыревой изолятор, на поверхности изоляционного тела которого установлены изоляционные элементы;
на фиг.8 показан фрагмент изолятора по фиг.7 в криволинейном сечении, проходящем через электроды;
на фиг.9 на виде спереди, частично в сечении, представлен тарельчатый изолятор со спиральными ребрами на нижней стороне тарельчатого изоляционного тела;
на фиг.10 изолятор по фиг.9 представлен на виде снизу;
на фиг.11 на виде спереди, в сечении, показан фрагмент изолятора по фиг.9 и 10;
на фиг.12 на виде снизу показан тот же фрагмент, что и на фиг.11;
на фиг.13 схематично показан фрагмент ВЛЭ по изобретению.
Осуществление изобретения
Как показано на фиг.1, 2, для фиксации высоковольтного (находящегося под высоким напряжением) провода 1, входящего, например, в состав ВЛЭ (типа показанной на фиг.13), может быть использован одиночный опорный цилиндрический изолятор 100, содержащий цилиндрическое изоляционное тело 2 со спиральным изоляционным ребром 3, выполненное из твердого диэлектрика, например из фарфора. При помощи металлической арматуры, состоящей из первого (верхнего) элемента арматуры (не изображен) и второго (нижнего) элемента 15 арматуры, он соединен соответственно с высоковольтным проводом 1 и с проводящей заземленной опорой 16 (см. фиг.13).
Согласно изобретению изолятор дополнительно содержит мультиэлектродную систему (МЭС), состоящую из m электродов 5. Минимальное значение m целесообразно задать по аналогии с разрядником длинноискрового петлевого типа на 10 кВ (РДИП-10), выполненным в соответствии с патентом РФ 2299508, Н02Н 3/22, 2007 (т.е. использующим МЭС) и получившим широкое применение в высоковольтных линиях электропередачи. Опыт эксплуатации РДИП-10 показал, что он способен эффективно выполнять грозозащитные функции при условии использования в составе МЭС не менее 15 промежуточных электродов. При этом гашение дуги происходит при первом переходе сопровождающего тока через ноль. Соответственно, с учетом того, что изолятор по изобретению рассчитан на применение в сетях от 3 кВ и выше, значение m для него должно быть не менее 5.
В данном первом варианте выполнения изолятора по изобретению электроды 5 закреплены в торцевой поверхности спирального ребра 3. Как было указано выше, расстояния между смежными электродами 5, т.е. длины g искровых разрядных промежутков, могут лежать в интервале от 0,5 мм до 20 мм, предпочтительно составляя несколько миллиметров. При высоких импульсных разрядных напряжениях (порядка 100 кВ и более), которые могут быть приложены к изолятору при грозовом перенапряжении, а также при необходимости гашения канала разряда непосредственно после окончания грозового импульса, т.е. практически без сопровождающего тока промышленной частоты, требуемое количество m электродов 5 может составлять сто и более. Положение крайних (первого и последнего) электродов 5 МЭС предпочтительно выбирается таким образом, чтобы длины искровых разрядных промежутков между каждым из этих электродов и смежным с ним первым или вторым элементом арматуры также были равны или близки к g.
При воздействии на провод 1 грозового перенапряжения достаточной величины перекрывается воздушный промежуток первым (не изображенным) элементом арматуры, соединенным с проводом 1 (или с его крепежным устройством 17) и ближайшим к нему первым электродом 5, а затем разряд развивается каскадно, т.е. последовательно пробивая искровые разрядные промежутки между смежными электродами 5, пока не дойдет до второго элемента 15 арматуры, соединенного с заземленной опорой 16. Таким образом, провод 1 оказывается соединенным с заземленной опорой 16 каналом, который состоит из отрезка канала между первым элементом арматуры, соединенным с высоковольтным проводом 1, и первым электродом 5, множества мелких отрезков канала между электродами 5 и отрезка канала между последним электродом 5 и вторым элементом 15 арматуры, соединенным с опорой 16.
Вблизи отрицательно заряженных поверхностей электродов возникает так называемое катодное падение напряжения, которое составляет 50-100 В. В обычных разрядных системах, состоящих из двух электродов (катода и анода), эффект катодного падения напряжения не ощутим, т.к. разрядные напряжения составляют киловольты. Вследствие того, что в изоляторе по изобретению число электродов весьма велико (например, для класса напряжения 10 кВ при гашении разряда без сопровождающего тока промышленной частоты оно составляет порядка 100), суммарный эффект от катодного падения напряжения играет существенную роль. В этом случае основное падение напряжения при разряде в маленьких промежутках между электродами приходится на прикатодную область. В ней же выделяется большая часть общей энергии, выделяемой каналом разряда между электродами. При этом электроды нагреваются и тем самым охлаждают канал разряда. После протекания тока грозового перенапряжения канал быстро остывает и его сопротивление увеличивается. По окончании импульса грозового перенапряжения к изолятору остается приложенным напряжение промышленной частоты. Однако вследствие большого суммарного сопротивления канала 6 разряд не может самостоятельно существовать и гаснет. ВЛЭ, в которую входят изоляторы по изобретению, продолжает работу без отключения. Таким образом, высоковольтный изолятор по изобретению с высокой эффективностью реализует функцию грозозащиты, выполняемую в известных ВЛЭ отдельными устройствами грозозащиты, подключаемыми к каждому изолятору.
Для того чтобы изолятор согласно изобретению надежно выполнял и свою основную, изоляционную функцию при продолжительном воздействии напряжения промышленной частоты в условиях загрязнения и увлажнения, Правилами устройства электроустановок (ПУЭ) нормируется удельная эффективная длина пути утечки (отношение эффективной длины пути утечки изолятора или гирлянды (колонки) изоляторов, при которой обеспечивается их надежная работа, к наибольшему линейному, длительно допускаемому напряжению Uдоп). Значения нормированной удельной эффективной длины пути утечки поддерживающих гирлянд ВЛЭ 6-750 кВ и штыревых изоляторов на металлических опорах зависят от типа и класса линии (а также от степени загрязненности атмосферы) и лежат в диапазоне lуд=1,4-4,2 см/кВ (см. Кучинский Г.С. и др. Изоляция установок высокого напряжения. – М.: Энергоатомиздат, 1987, с.145).
Таким образом, значение суммарной длины L пути утечки между проводом 1 и заземленным (т.е. соединенным с заземленной опорой) элементом 15 арматуры изолятора должно быть не менее чем определяемое по формуле:

Суммарная длина пути утечки складывается из длины пути утечки между первым элементом арматуры изолятора, соединенным с проводом 1 (или с его крепежным устройством 17), и ближайшим к нему электродом 5, lут.1, длины пути утечки между m электродами 5 (m-1)lут.0 (где lут.0 – длина утечки между соседними электродами 5, см. фиг.1 и 2) и длины пути утечки между последним электродом 5 и заземленным вторым элементом 15 арматуры, lут.m.
Если lут,1=lут,0=lут,m, то (1) можно записать в виде:

Как уже упоминалось, количество m электродов определяется условием гашения сопровождающего тока. При известном m минимально допустимую длину пути утечки между двумя соседними промежуточными электродами lут.0 можно определить из (2) по формуле:

Как видно из (3), lут.0 определяется максимально допустимым рабочим напряжением сети Uдоп, нормированной удельной эффективной длиной пути утечки lуд и количеством электродов m.
Длина пути утечки изолятора по спиральной траектории, проходящей по торцевой поверхности изоляционного ребра 3 известного изолятора, больше, чем наименьшая длина пути утечки от провода 1 ко второму элементу 15 арматуры, проходящего по спиральной траектории по цилиндрическому изоляционному телу 2. Однако установка электродов 5 МЭС на торцевую поверхность ребра 3 в изоляторе 100 по изобретению уменьшает длину пути утечки по спиральной траектории, проходящей по торцевой поверхности ребра. Поэтому при большом количестве электродов 5 этот путь утечки может стать меньше указанной наименьшей длины пути утечки. Из формулы (3) видно, что в этом случае произойдет уменьшение максимально допустимого напряжения Uдоп, т.е. ухудшение изоляционных свойств изолятора 100. Чтобы этого не произошло, выступающим из ребра 3 частям электродов 5 предпочтительно придана Т-образная форма, т.е. каждый из них имеет узкую ножку 4, посредством которой он прикреплен к ребру 3 изоляционного тела 2, и широкую перекладину 8. Таким образом, в данном варианте высоковольтного изолятора по изобретению средства компенсации сокращения длины пути утечки изолятора, вносимого МЭС, образованы участками спирального ребра 3 изоляционного тела 2 и воздушными зазорами, заключенными между ножками 4 электродов 5. Кроме того, благодаря тому, что ножки 4 электродов сделаны узкими, они незначительно сокращают общую изоляционную длину спирального ребра 3.
При описанном выполнении электродов 5 МЭС длина lут.0 пути утечки между смежными электродами 5 (см. фиг.2) превышает длину g искрового разрядного промежутка. Следовательно, кратчайшим путем утечки от провода 1 ко второму элементу 15 арматуры остается путь по цилиндрическому изоляционному телу 2 (а не по его спиральному ребру 3). Другими словами, изолятор 100 приобретает свойства разрядника, полностью сохраняя свои изоляционные свойства. При этом, в зависимости от соотношений длин путей утечки по изоляционному телу и по спиральному ребру, при умеренных требованиях к изолятору 100 Т-образную форму (усложняющую конструкцию электродов 5) можно придать не всем парам смежных электродов, а только некоторому количеству (k) таких пар. В реальных ситуациях оптимальное значение k находится в интервале 3 k m-1. Остальным электродам 5 можно придать более простую и технологичную форму пластин, брусков или цилиндров.
Достоинством этого варианта изолятора является то, что он может применяться в районах с сильным загрязнением атмосферы, так как загрязнение не может накопиться в промежутках между электродами.
На фиг.3, 4 показан второй вариант осуществления изолятора по изобретению, который также представляет собой цилиндрический изолятор 100 с арматурой, состоящей из двух элементов (на фиг.3 показан только второй элемент 15), со спиральным ребром 3 и с вмонтированными в это ребро электродами 5 МЭС. Однако в данном варианте электроды 5 выполнены в виде отрезков металлических цилиндров, которые, в отличие от предыдущего варианта, расположены не снаружи, а внутри изолятора 100 (в данном случае – внутри его спирального ребра 3). При этом в спиральном ребре 3 выполнены прорези 7, например, в форме щелей глубиной b (превышающей глубину расположения электродов 5) и шириной а g. В результате электроды 5 оказываются отделенными друг от друга небольшими искровыми разрядными промежутками длиной g (составляющей в предпочтительных вариантах несколько миллиметров).
Как наглядно показано в увеличенном масштабе на фиг.5, средства компенсации, обеспечивающие в данном варианте увеличение lут.0 пути утечки между электродами, выполнены в виде слоя материала изоляционного ребра 3, отделяющего электроды 5 от поверхности изоляционного ребра 3, и прорезей 7. Достоинством этого варианта является более высокая технологичность изготовления и возможность задания требуемой длины lут.0 пути утечки простым изменением глубины b прорези 7, т.е. варьированием глубины с той ее части, которая находится на большей глубине относительно электродов 5, и/или толщины слоя материала, отделяющего электроды от поверхности. Кроме того, из фиг.5 видно также, что еще одна возможность увеличения значения lут.0 состоит в выполнении прорезей 7 с шириной а>g.
Как показано в увеличенном масштабе на фиг.6, для увеличения пути утечки lут.0 прорези 6 могут быть выполнены фигурными. Например, участки прорезей 7, расположенные глубже электродов 5, могут быть выполнены в виде круговых цилиндров или иметь какую-либо иную форму, при которой расстояния между противолежащими сторонами участков прорезей 7, расположенных глубже электродов 5, превышают ширину прорезей у поверхности ребра 3 изоляционного тела 2. Очевидно, что такое выполнение прорезей также обеспечивает увеличение lут.0, т.е. повышение эффективности средств компенсации сокращения длины пути утечки изолятора 100 в результате использования электродов 5.
Следует также отметить, что, в зависимости от конкретных требований, предъявляемых к изолятору 100, и соотношений между другими его параметрами (такими, как диаметр изоляционного тела 2, общая длина спирального ребра 3 и т.д.), фигурными (т.е. более сложными в изготовлении) могут быть сделаны только некоторые из прорезей 7. Аналогично, только часть прорезей 7 может иметь увеличенную глубину b.
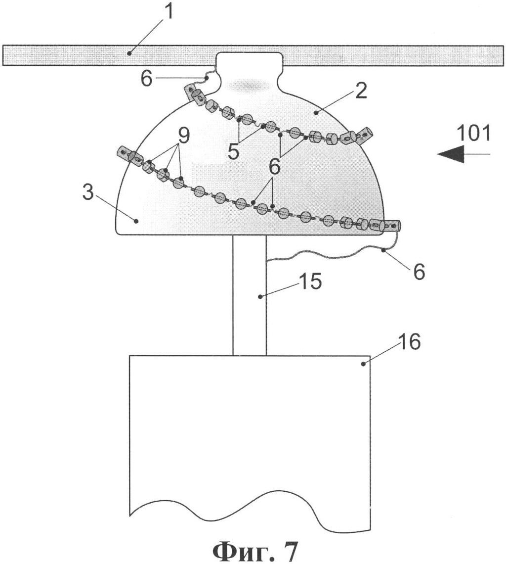
На фиг.7, 8 показан третий вариант осуществления изолятора по изобретению. В этом варианте он представляет собой штыревой изолятор 101, закрепленный на опоре 16 посредством своей второго элемента 15 арматуры в виде штыря. На поверхности колоколообразного изоляционного тела 2 по спиральной траектории установлены m изоляционных элементов 9. Эти элементы в данном варианте образуют средства компенсации, обеспечивающие увеличение пути утечки между электродами 5, которые закреплены внутри изоляционных элементов 9 и выступают из них. Изоляционные элементы 9, например, в форме пластин, брусков или цилиндров, могут быть выполнены, в частности, из силиконовой резины и приклеены к изоляционному телу 2.
В данном варианте изолятора по изобретению электроды 5 выполнены в виде отрезков круглых цилиндров (проволоки) и изолированы друг от друга небольшими искровыми промежутками длиной g (порядка одного или нескольких миллиметров). Благодаря применению средств компенсации в виде изоляционных элементов 9 путь утечки lут.0 между смежными электродами 5 определяется (как это показано на фиг.8) суммой путей с утечки по смежным изоляционным элементам 9 и пути а утечки по поверхности изоляционного тела между смежными элементами 9: lут.0=2с+а. Благодаря такому выполнению значение lут.0 оказывается существенно больше длины g искрового промежутка и больше длины одного из указанных электродов 5. Так как электрическая прочность воздушного промежутка при воздействии напряжения промышленной частоты значительно больше, чем разрядные напряжения по поверхности загрязненной и увлажненной изоляции, установка электродов на изоляционных элементах обеспечивает компенсацию уменьшения суммарной длины пути утечки вдоль линии размещения электродов 5 и тем самым предотвращает снижение изоляционных свойств изолятора при одновременном обеспечении его высоких характеристик как устройства грозозащиты. Рассмотренный вариант изолятора по изобретению интересен тем, что для его изготовления могут быть использованы массово выпускаемые штыревые фарфоровые изоляторы.
Поскольку необходимость закрепления на поверхности изоляционного тела 2 большого количества изоляционных элементов усложняет технологию изготовления высоковольтного изолятора по изобретению, представляется желательным объединить эти элементы в один или несколько протяженных изоляционных элементов, выступающих из поверхности изоляционного тела 2, например, придать им вид одного или n спиральных изоляционных ребер.
Приведенный на фиг.9-12 четвертый вариант изолятора по изобретению представляет собой модификацию тарельчатого изолятора и предназначен для использования в составе гирлянды аналогичных изоляторов. На нижней поверхности тарельчатого изоляционного тела 2 тарельчатого изолятора 102 выполнены два изоляционных спиральных ребра. Одно из них (ребро 10) выполняет чисто изоляционную функцию, т.е. служит для обеспечения требуемого значения минимального пути утечки при наличии МЭС. В теле второго изоляционного ребра (ребра 3) установлены электроды 5, разделенные между собой прорезями 7, которые могут быть выполнены так, как показано на фиг.5 и 6, или, альтернативно, в виде круглых отверстий, как показано на фиг.10 и 12. В этом варианте между электродами сформированы газоразрядные камеры, повышающие эффективность функционирования изолятора 102 в качестве грозового разрядника.
При воздействии на изолятор импульса перенапряжения разряд развивается от шапки 11 изолятора (т.е. от первого элемента его арматуры), которая контактирует с не изображенным проводом или с его крепежным устройством, или с пестиком (вторым элементом арматуры) предыдущего изолятора гирлянды по верхней поверхности изоляционного тела 2 к первому электроду 5 МЭС (см. фиг.9) и далее, последовательно пробивая промежутки между электродами 5, к пестику 12 (см. фиг.10). Направление развития разряда показано на фиг.9, 10 стрелками. В процессе образования и развития искрового канала происходит его расширение со сверхзвуковой скоростью. Так как объемы разрядных искровых камер между электродами 5 весьма малы, в этих камерах создается высокое давление, под действием которого каналы искровых разрядов между электродами 5 перемещаются к поверхности изоляционного тела и далее выбрасываются наружу в окружающий изолятор воздух. Вследствие возникающего дутья эффективность дугогашения значительно повышается по сравнению с вариантами, показанными на фиг.1-8. Однако прорези в виде газоразрядных камер подвержены загрязнению. Поэтому такой вариант исполнения прорезей применительно к варианту изолятора по фиг.9, 10 целесообразен преимущественно для районов с низкой степенью загрязнения атмосферы.
На фиг.13 представлен вариант выполнения ВЛЭ 10 кВ (обозначенной, в целом, как 110) с использованием варианта изолятора по фиг.1, 2. ВЛЭ 10 кВ наиболее часто отключаются от индуктированных перенапряжений. Как уже упоминалось, для защиты от таких отключений в России используются разрядники РДИП-10. Они устанавливаются по одному на опору с чередованием фаз. Например, на первой опоре такой разрядник устанавливается на фазу А, на второй – на фазу В, на третьей – на фазу С и т.д. Как показано на фиг.13, аналогичным способом, т.е. по одному на опору с чередованием фаз, могут быть установлены и изоляторы по изобретению, например, изоляторы 100 со спиральным ребром по фиг.1-6 или штыревые изоляторы 101 по фиг.7, 8. Остальные изоляторы 18 могут быть традиционного исполнения. Альтернативно, на одну из фаз может быть установлена гирлянда тарельчатых изоляторов 102 по изобретению (проиллюстрированных фиг.9-12).
Эффективность изолятора по изобретению, совмещающего изоляционные и грозозащитные функции, подтверждена результатами сравнительных испытаний. Для их проведения были подготовлены два изолятора на класс напряжения 3 кВ постоянного тока: (1) фарфоровый подвесной изолятор L 3036-12 со спиральным ребром, выпускаемый чешской компанией Elektroporcelan Louny a.s., и (2) изолятор по изобретению. Изолятор (2) согласно изобретению выполнен на основе изолятора L 3036-12, но дополнительно снабжен установленными на спиральное ребро изоляционными элементами и электродами МЭС, аналогичными описанным выше со ссылками на фиг.8 элементам 9 и электродам 5 соответственно. Электроды были выполнены в виде отрезков проволоки из нержавеющей стали диаметром 2 мм и длиной 10 мм. Они вставлялись в изоляционные элементы длиной 7 мм, которые были изготовлены из профиля из силиконовой резины шириной 10 мм и высотой 8 мм с полукруглой верхней частью и приклеены к торцевой поверхности спирального ребра изолятора специальным силиконовым клеем.
Основные параметры изоляторов приведены в Таблице.
| Таблица |
| Основные параметры испытанных изоляторов |
| Параметры |
Изолятор L 3036 12 |
Изолятор по изобретению на основе L3036 12 |
| Общая длина, мм |
262 |
262 |
| Длина фарфора, мм |
154 |
154 |
| Максимальный диаметр спирального ребра, мм |
125 |
125+2·81=141 |
| Диаметр стержня, мм |
76 |
76 |
| Количество витков ребра |
6 |
6 |
| Масса ±10%, кг |
3,3 |
3,5 |
| Максимально допустимое напряжение переменного тока, кВ |
Сухо |
95 |
95 |
| В дождь |
50 |
50 |
| Импульсное разрядное напряжение, 1,2/50 мкс, кВ |
170 |
150 |
| Траектория разряда |
По воздуху, по кратчайшему пути |
По спирали через электроды |
| Остающееся напряжение2, кВ |
~0 |
4 |
Примечания:
(1) Высота силиконовых изоляционных элементов, наклеиваемых на спиральное ребро изолятора, составляла 8 мм.
(2) Наименьшее напряжение, остающееся на изоляторе после его перекрытия грозовым импульсом.
Длина торцевой поверхности спирального ребра составляла около 2500 мм. Было установлено 240 электродов. Длина воздушных промежутков между электродами составляла g=0,5 мм. Таким образом, суммарная длина воздушных промежутков составляла G=(m+1)×g=(240+1)·0,5=120 мм. По ПУЭ, в зависимости от степени загрязнения атмосферы (СЗА), удельная длина пути утечки лежит в диапазоне lуд=1,4-4,2 см/кВ. Для класса напряжения U=3 кВ постоянного тока длины пути утечки должны быть

Видно, что введение МЭС может уменьшить длину пути утечки до недопустимого значения. Однако, как было описано выше, при использовании средств компенсации сокращения длины пути в виде изоляционных элементов согласно изобретению длина пути утечки между соседними электродами определяется формулой: lут.0=2c+a. В данной конструкции а=с=2,5 мм. Соответственно lут.0=7,5 мм, и суммарная длина пути утечки между электродами по траектории спирального ребра равна
L =(m+1)/lут,0=(240+1)·7,5=1807,5 мм 181 см. Таким образом, в изоляторе по изобретению L >Lут для районов с любой СЗА.
Испытания обоих изоляторов были проведены напряжением промышленной частоты и грозовыми импульсами. Основные результаты также приведены в Таблице. При воздействии напряжения промышленной частоты разрядные характеристики обоих изоляторов практически одинаковы. Это означает, что установка электродов не ухудшила изоляционные свойства изолятора при промышленной частоте.
При воздействии грозового импульса обычный изолятор перекрывается по воздуху по кратчайшему пути. При этом из осциллограммы напряжения видно, что напряжение уменьшается практически до нуля, т.е. сопротивление канала разряда очень мало. После грозового перекрытия изолятора, установленного в эксплуатацию в электрическую сеть, по каналу перекрытия будет протекать сопровождающий ток сети, что означает короткое замыкание, делающее необходимым экстренное отключение сети.
В изоляторе по изобретению при его перекрытии по спиральной траектории через множество электродов напряжение не срезается до нуля, а имеется значительное остающееся напряжение, составляющее 4 кВ, которое превосходит напряжение сети, равное 3 кВ. Это означает, что сопровождающего тока не будет, т.е. изолятор срабатывает как устройство грозозащиты: отводит ток грозового перенапряжения без сопровождающего тока и соответственно без отключения сети.
Рассмотренные в данном описании варианты и модификации выполнения ВЛЭ и изолятора по изобретению приведены лишь для пояснения его конструкции и принципов работы. Специалистам в данной области техники должно быть понятно, что возможны отклонения от вышеприведенных примеров выполнения.
Например, промежуточные электроды по фиг.1 и 2 могут иметь не Т-образную, а Г-образную форму, что может оказаться более технологичным. Для увеличения длины пути утечки боковые поверхности электродов могут быть покрыты слоем изоляции. В варианте, показанном на фиг.9 и 10, мультиэлектродная система (МЭС) может быть размещена на обоих изоляционных ребрах 3 и 10 (а не на одном ребре 3, как показано на фиг.9 и 10). В этом случае при воздействии грозового перенапряжения сработают обе ветви МЭС, так что сопровождающий ток разделится между этими ветвями, что облегчит его гашение. Вместо одиночных изоляторов, подобных показанным на фиг.1-6 и на фиг.13, могут быть использованы колонки, собранные из двух или более подобных изоляторов. Кроме того, изоляторы по изобретению, в виде одиночных изоляторов или колонок (гирлянд) изоляторов, могут применяться не только во ВЛЭ, но и в различных высоковольтных установках, причем для закрепления не только проводов, но и ошиновок.
Все подобные варианты и модификации также охватываются прилагаемой формулой изобретения.
Формула изобретения
1. Высоковольтный изолятор для крепления, в качестве одиночного изолятора или в составе колонки или гирлянды изоляторов, высоковольтного провода в электроустановке или на линии электропередачи, содержащий изоляционное тело и арматуру в виде установленных на его концах первого и второго элементов арматуры, причем первый элемент арматуры выполнен с возможностью соединения непосредственно или посредством крепежного устройства с высоковольтным проводом или со вторым элементом арматуры предшествующего высоковольтного изолятора указанных колонки или гирлянды, а второй элемент арматуры выполнен с возможностью соединения с опорой или с первым элементом арматуры последующего высоковольтного изолятора указанных колонки или гирлянды, отличающийся тем, что дополнительно содержит мультиэлектродную систему, состоящую из m, m 5 электродов, механически связанных с изоляционным телом и расположенных между его концами с возможностью формирования под воздействием грозового перенапряжения электрического разряда между первым элементом арматуры и смежным (смежными) с ним электродом (электродами), между смежными электродами, а также между вторым элементом арматуры и смежным (смежными) с ним электродом (электродами); и средства компенсации сокращения длины пути утечки изолятора, вносимого мультиэлектродной системой.
2. Изолятор по п.1, отличающийся тем, что средства компенсации выполнены с возможностью обеспечения длины пути утечки по поверхности изоляции между смежными электродами k, 3 k m-1 пар смежных электродов, превышающей длину воздушного разрядного промежутка между указанными электродами и длину одного из указанных электродов.
3. Изолятор по п.2, отличающийся тем, что электроды выполнены Т-образными, с узкой ножкой, посредством которой каждый электрод прикреплен к изоляционному телу, и с широкой перекладиной, ориентированной в направлении смежного электрода, а средства компенсации образованы заключенными между ножками электродов участками изоляционного тела и воздушными зазорами.
4. Изолятор по п.2, отличающийся тем, что электроды расположены внутри изолятора, а средства компенсации выполнены в виде слоя материала изолятора, отделяющего электроды от его поверхности, и прорезей, выполненных между смежными электродами и выходящих на поверхность изолятора.
5. Изолятор по п.4, отличающийся тем, что прорези выполнены в виде щелей или круглых отверстий.
6. Изолятор по п.4, отличающийся тем, что глубина каждой прорези превышает глубину расположения электродов.
7. Изолятор по п.6, отличающийся тем, что расстояния между противолежащими сторонами участков прорезей, расположенных глубже электродов, выбраны превышающими ширину прорезей у поверхности изолятора.
8. Изолятор по п.2, отличающийся тем, что средства компенсации выполнены в виде расположенного на поверхности изолятора, по меньшей мере, одного изоляционного элемента, причем единственный изоляционный элемент или совокупность изоляционных элементов пространственно отделяет электроды от поверхности изолятора.
9. Изолятор по п.8, отличающийся тем, что количество изоляционных элементов выбрано равным m, при этом на каждом изоляционном элементе установлено по одному электроду.
10. Изолятор по п.8, отличающийся тем, что n, n 1 изоляционных элементов выполнены в виде спиральных изоляционных ребер, выступающих из поверхности изоляционного тела.
11. Изолятор по п.10, отличающийся тем, что количество изоляционных элементов выбрано равным m+n, при этом n изоляционных элементов выполнены в виде спиральных изоляционных ребер, выступающих из поверхности изоляционного тела, а на каждом из остальных m изоляционных элементов установлено по одному электроду.
12. Изолятор по п.11, отличающийся тем, что электроды расположены на торцевой поверхности, по меньшей мере, одного изоляционного ребра.
13. Изолятор по п.12, отличающийся тем, что между каждой парой электродов в изоляционном ребре выполнены прорези.
14. Изолятор по любому из предыдущих пунктов, отличающийся тем, что изоляционное тело выполнено, по существу, цилиндрическим или в виде конусообразной или плоской тарелки.
15. Изолятор по п.10, отличающийся тем, что изоляционное тело выполнено в виде плоской тарелки, первый элемент арматуры выполнен в виде шапки изолятора, второй элемент арматуры выполнен в виде пестика, а, по меньшей мере, одно спиральное изоляционное ребро выполнено выступающим из нижней поверхности указанной тарелки.
16. Высоковольтная линия электропередачи, содержащая опоры, одиночные изоляторы и/или изоляторы, собранные в колонки или гирлянды, и, по меньшей мере, один находящийся под высоким электрическим напряжением провод, связанный непосредственно или посредством крепежных устройств с элементами арматуры одиночных изоляторов и/или первых изоляторов колонок или гирлянд изоляторов, причем каждый одиночный изолятор или каждая колонка, или гирлянда изоляторов закреплен (закреплена) на одной из опор посредством элемента своей арматуры, смежного с указанной опорой, отличающаяся тем, что, по меньшей мере, один из изоляторов представляет собой изолятор, выполненный в соответствии с любым из пп.1-15.
РИСУНКИ
|
|