|
|
(21), (22) Заявка: 2008118856/06, 14.05.2008
(24) Дата начала отсчета срока действия патента:
14.05.2008
(46) Опубликовано: 27.12.2009
(56) Список документов, цитированных в отчете о поиске:
RU 2246144 С2, 10.02.2005. RU 2138862 C1, 27.09.1999. RU 2170959 C1, 20.07.2001. US 4761259 А, 02.08.1988. FR 2619951 А1, 03.03.1989.
Адрес для переписки:
142400, Московская обл., Ногинск, ул. 200-летия города, 1, кв.169, В.И. Бурьянской
|
(72) Автор(ы):
Богачев Александр Сергеевич (RU), Борисенко Владимир Иосифович (RU), Борисенко Вячеслав Владимирович (RU), Бухарский Алексей Степанович (RU), Орлов Алексей Германович (RU)
(73) Патентообладатель(и):
Общество с ограниченной ответственностью “Научно-внедренческое предприятие “Кропус” (ООО “НВП “Кропус”) (RU)
|
(54) УСТРОЙСТВО КОНТРОЛЯ ГАЗОВОГО ЗАЗОРА ТЕХНОЛОГИЧЕСКОГО КАНАЛА УРАН-ГРАФИТОВОГО ЯДЕРНОГО РЕАКТОРА
(57) Реферат:
Изобретение относится к области эксплуатации уран-графитовых ядерных реакторов. Устройство контроля газового зазора технологического канала уран-графитового ядерного реактора содержит устанавливаемую на канальной трубе технологического канала калибровочную циркониевую трубу. На наружной поверхности трубы размещен блок из графитовых колец с фиксированными зазорами, а внутри – аксиально размещен вертикально подвижный датчик электромагнитного излучения. Датчик выполнен в виде двух измерительных катушек, скомпенсированных на поверхности однородной проводящей среды, и одной катушки возбуждения с размещенным над ней короткозамкнутым витком из немагнитного токопроводящего материала. Катушки установлены на пермаллоевом П-образном магнитопроводе. Также устройство содержит механизм перемещения датчика и блок электронной обработки сигнала, связанный с датчиком и компьютером. Измерительные катушки включены согласно и подключены к блоку электронной обработки сигнала через мостовую схему амплитудно-фазовой балансировки датчика, а катушка возбуждения подключена к нему через стабилизатор тока возбуждения. При использовании изобретения повышается точность контроля в процессе измерений газовых зазоров, которая обеспечивается за счет возможности поднастройки датчика в зоне контроля. 3 ил.
Изобретение относится к области эксплуатации уран-графитовых ядерных реакторов и может быть использовано для контроля состояния технологических каналов и графитовой кладки их активной зоны.
В процессе эксплуатации реакторов типа РБМК-1000 под действием радиационного облучения, температуры, а для технологических каналов – и давления теплоносителя происходит изменение формы канальных труб, графитовых блоков и колец за счет явлений ползучести и радиационного роста. При этом до наступления критического флюэнса происходит как уменьшение диаметрального зазора между технологическим каналом и графитовой кладкой, так и уменьшение высоты графитовой колонны.
Это, в свою очередь, может привести к исчерпанию проектного диаметрального зазора между циркониевой трубой технологического канала и наружным графитовым кольцом, появлению контакта между технологическим каналом и графитовой кладкой и, как следствие, их «заклиниванию». Возникают также дополнительные напряжения в графитовых блоках, что приводит к их преждевременному растрескиванию и искривлению кладки в целом. Все эти обстоятельства приводят к сокращению срока службы реактора.
В настоящее время для продления срока службы реактора возможна выборочная замена потенциально опасных технологических каналов, следовательно, возникает необходимость систематического контроля их технического состояния путем периодических измерений газовых зазоров.
Известен способ контроля газового зазора технологического канала уран-графитового ядерного реактора, включающий измерение внутреннего диаметра циркониевой трубы технологического канала, извлечение его из топливной ячейки реактора с одновременным измерением усилий подрыва и извлечения технологического канала и измерение внутреннего диаметра отверстия в графитовом блоке, описанный в «Регламенте эксплуатационного контроля технологических каналов, каналов СУЗ и графитовой кладки реакторов РБМК-1000», НИКИЭТ, 1993, инв. Е040-2703, стр.8, 10, 18, 19, 21, 23.
Основными недостатками этого метода являются незначительная достоверность оценки закрытия газового зазора из-за большой погрешности измерения, а также необходимость извлечения и последующей утилизации технологического канала и установки нового, что приводит к излишним финансовым и трудовым затратам.
Указанные недостатки устранены изобретением, описанным в патенте РФ 2246144 от 10.02.2005 «Способ и устройство контроля газового зазора технологического канала уран-графитового ядерного реактора».
Способ содержит прямой замер (через стенку канальной трубы технологического канала) величины газового зазора на любой топливной ячейке уран-графитового ядерного реактора без извлечения технологического канала.
Устройство выполнено в виде устанавливаемой на канальной трубе технологического канала калибровочной циркониевой трубы с аксиально расположенным вертикально подвижным дифференциальным векторно-разностным датчиком электромагнитного излучения с механизмом его перемещения, блока электронной обработки сигнала, коммутированного с датчиком и компьютером, при этом датчик выполнен в виде двух измерительных и одной катушек возбуждения, установленных на П-образном ферритовом магнитопроводе, причем измерительные катушки датчика включены встречно и скомпенсированы на поверхности однородной проводящей среды, например, воздухе, а на наружной поверхности калибровочной трубы собран блок из графитовых колец с фиксированными зазорами.
Так как в зоне контроля (в остановленном и охлажденном реакторе) мощность ионизирующего излучения составляет до 200 рентген в секунду, а температура – 70-90°С, при помещении датчика в эту среду происходит изменение магнитной проницаемости П-образного ферритового магнитопровода, а также комплексного сопротивления катушек измерения и возбуждения. Поскольку измерительные катушки датчика включены встречно и скомпенсированы на поверхности однородной проводящей среды (на воздухе), вследствие вышеуказанных причин происходит их амплитудно-фазовый разбаланс, и суммарная ЭДС, снимаемая с катушек, не всегда будет равна 0, а возможность поднастройки датчика отсутствует.
В этом случае чувствительность датчика к вносимым абсолютным значениям сопротивления графитовых колец падает, что приводит к снижению точности контроля.
Кроме того, увеличение сопротивления катушки возбуждения при увеличении температуры приводит к уменьшению тока намагничивания, уменьшению амплитуды измерительного сигнала и, как следствие, к снижению чувствительности и точности контроля.
Целью изобретения является повышение точности контроля газового зазора технологического канала уран-графитового ядерного реактора.
Поставленная цель достигается тем, что в известном устройстве, содержащем устанавливаемую на канальной трубе технологического канала калибровочную циркониевую трубу, на наружной поверхности которой размещен блок из графитовых колец с фиксированными зазорами, а внутри – аксиально размещен вертикально подвижный датчик электромагнитного излучения, выполненный в виде двух измерительных катушек, скомпенсированных на поверхности однородной проводящей среды, и одной катушки возбуждения, установленных на П-образном магнитопроводе, с механизмом перемещения датчика, а также блок электронной обработки сигнала, связанный с датчиком и компьютером, П-образный магнитопровод выполнен из пермаллоевого сплава, над катушкой возбуждения установлен короткозамкнутый виток из немагнитного токопроводящего материала, измерительные катушки включены согласно и подключены к блоку электронной обработки сигнала через мостовую схему амплитудно-фазовой балансировки датчика, а катушка возбуждения подключена к нему через стабилизатор тока возбуждения.
Выполнение П-образного магнитопровода из пермаллоевого сплава (типа 12Ю-ВИ), обладающего более высокой относительной магнитной проницаемостью (µ~10000), чем ферритовый, позволяет повысить абсолютную чувствительность устройства, а при помещении датчика в зону контроля практически не происходит изменения магнитной проницаемости П-образного магнитопровода, так как пермаллоевый сплав обладает радиационной стойкостью. Кроме того, пермаллоевый магнитопровод имеет более высокие прочностные характеристики, а также износо-, жаро- и коррозионную стойкость («Справочник по электротехническим материалам», том 3, Энергоатомиздат, 1988, стр.40), что также позволяет повысить чувствительность датчика.
Размещение над катушкой возбуждения короткозамкнутого витка из немагнитного токопроводящего материала позволяет, при его перемещении относительно катушки возбуждения, обеспечить начальную фазовую балансировку датчика непосредственно в зоне контроля и, следовательно, повысить чувствительность датчика.
При измерении величины газового зазора между графитовым кольцом и циркониевой трубой вносимое сопротивление определяется параметрами графитового кольца и циркониевой трубы. Поскольку электромагнитное поле датчика экранировано циркониевой трубой, проводимость которой выше, чем у графита, а расположена труба значительно ближе к датчику, чем графит, абсолютные значения вносимых графитовым кольцом сопротивлений крайне малы.
Для того чтобы в этих условиях можно было зарегистрировать слабо меняющийся сигнал от графитовых колец, сигнал от циркониевой трубы компенсируется за счет конструктивного выполнения датчика в виде двух измерительных катушек и одной катушки возбуждения, установленных на П-образном пермаллоевом магнитопроводе, а включение измерительных катушек датчика согласно и подключение их к блоку электронной обработки сигнала через мостовую схему амплитудно-фазовой балансировки датчика позволяет, при помещении датчика в зону контроля, осуществить его электронную балансировку в экстремальных условиях, что приведет к повышению чувствительности датчика к вносимым абсолютным значениям сопротивлений графитовых колец.
Повышение чувствительности датчика обеспечивает повышение точности контроля.
Подключение катушки возбуждения через стабилизатор тока возбуждения позволяет во всем диапазоне температур получить постоянный измерительный сигнал с измерительных катушек датчика, что также приводит к повышению точности контроля за счет компенсации изменения сопротивления обмотки возбуждения при изменении температуры.
Сущность изобретения иллюстрируется чертежами, на которых изображены:
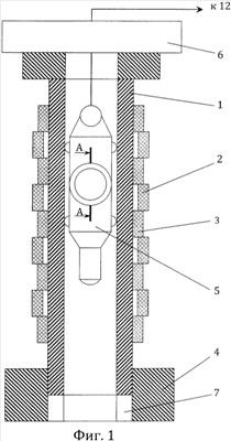
на фиг.1 – структурная схема устройства контроля газового зазора технологического канала;
на фиг.2 – разрез А-А фиг.1;
на фиг.3 – фрагмент диаграммы измерений с отстройкой от мешающих факторов.
Устройство (фиг.1) содержит циркониевую калибровочную трубу 1, на наружной поверхности которой поочередно расположены наружные 2 и внутренние 3 графитовые кольца с фиксированными зазорами, которую в рабочем положении устанавливают на ячейку технологического канала 4 с предварительно извлеченной тепловыделяющей сборкой. Аксиально трубе 1, а следовательно, технологическому каналу 4, на фиксированном расстоянии от ее внутренней поверхности, размещают вертикально подвижный датчик 5 электромагнитного излучения, связанный с приводным механизмом 6 вертикального перемещения датчика по высоте трубы 1 и циркониевой канальной трубы 7 технологического канала 4.
В качестве датчика 5 (фиг.2) использован электромагнитный преобразователь, который выполнен в виде двух измерительных катушек 8 и одной катушки возбуждения 9, установленных на П-образном пермаллоевом магнитопроводе 10. Над катушкой возбуждения 9 расположен короткозамкнутый виток 11 из немагнитного токопроводящего материала.
Измерительные катушки 8 датчика 5 включены согласно и связаны с блоком 12 электронной обработки сигнала через мостовую схему 13 амплитудно-фазовой балансировки, а катушка возбуждения 9 связана с ним через стабилизатор 14 тока возбуждения.
Блок 12 электронной обработки сигнала связан с компьютером 15.
Устройство работает следующим образом.
Перед измерением датчик 5, который запитан стабилизированным синусоидальным током силой 50-100 мA и частотой 1-10 кГц, опускают вниз технологического канала 4 и выдерживают его в экстремальных условиях зоны контроля не менее пяти минут, после чего производят его балансировку электронным способом за счет регулирования амплитуды и фазы мостовой схемы 13 амплитудно-фазовой балансировки.
Затем при подъеме датчика 5 устройство просматривает небольшой участок графитового кольца 2 или 3 и канальной трубы 7, находящихся непосредственно перед датчиком 5, с помощью которого производят ввод электромагнитных колебаний и прием сигналов отклика. Изменение зазоров всех 272 колец технологического канала 4 проводят при непрерывном перемещении электромагнитного датчика 5 по внутренней поверхности канальной трубы 7 с записью полученной информации в компьютере 15. Для этого в блоке 12 электронной обработки сигнала ответный сигнал датчика 5 предварительно усиливают, осуществляют амплитудно-фазовую обработку, затем с помощью управляющих фильтров низкой и высокой частоты фильтруют сигнал для отстройки от влияния мешающих факторов (разброс проводимости циркониевой трубы, графитовых колец, коррозионные отложения на внутренней поверхности технологического канала и т.д.), оцифровывают и передают его в виде файла данных для последующей обработки на компьютер 15, при этом осуществляется оперативное отображение текущих показаний датчика 5 на экране дисплея. Время контроля одного технологического канала – 5 мин.
Одновременная запись амплитудного и фазового сигналов отклика, их совместная обработка на компьютере 15 позволяет электронным образом разделить и выделить сигналы отдельно от циркониевой трубы и от графитового кольца, поскольку вносимая активная составляющая проводимости преобразователя обусловлена действием компонентой среды с высокой проводимостью, т.е. циркониевой трубой, а вносимая реактивная составляющая обусловлена действием низкопроводящей компонентой среды, т.е. графитовыми кольцами.
Фрагмент диаграммы измерений с отстройкой от мешающих факторов показан на фиг.3. Пики с максимальной амплитудой соответствуют внутренним графитовым кольцам с нулевым зазором, а пики с малой амплитудой – внешним графитовым кольцам, установленным с проектным газовым зазором 1,5 мм, который уменьшается в процессе эксплуатации реактора.
Разность между амплитудными значениями от внутренних и наружных графитовых колец соответствует фактической величине газового зазора.
Записывая такую информацию по каждому технологическому каналу ежегодно в течение нескольких лет и сравнивая ее между собой, можно получить значения скоростей радиационного распухания графитовых колец и пластической деформации (ползучести) циркониевой трубы для различных областей активной зоны реактора. Эта информация позволит прогнозировать реальные сроки исчерпания газового зазора для каждого технологического канала, причем точность прогнозов будет возрастать по мере сбора информации.
Акт проведения стендовых испытаний опытного образца подтверждает, что заявляемое техническое решение обеспечивает повышение точности контроля в процессе измерений газовых зазоров.
Формула изобретения
Устройство контроля газового зазора технологического канала уран-графитового ядерного реактора, содержащее устанавливаемую на канальной трубе технологического канала калибровочную циркониевую трубу, на наружной поверхности которой размещен блок из графитовых колец с фиксированными зазорами, а внутри аксиально размещен вертикально подвижный датчик электромагнитного излучения, выполненный в виде двух измерительных катушек, скомпенсированных на поверхности однородной проводящей среды, и одной катушки возбуждения, установленных на П-образном магнитопроводе, с механизмом перемещения датчика, а также блок электронной обработки сигнала, связанный с датчиком и компьютером, отличающееся тем, что П-образный магнитопровод выполнен из пермаллоевого сплава, над катушкой возбуждения установлен короткозамкнутый виток из немагнитного токопроводящего материала, измерительные катушки включены согласно и подключены к блоку электронной обработки сигнала через мостовую схему амплитудно-фазовой балансировки датчика, а катушка возбуждения подключена к нему через стабилизатор тока возбуждения.
РИСУНКИ
|
|