|
(21), (22) Заявка: 2008125574/06, 23.06.2008
(24) Дата начала отсчета срока действия патента:
23.06.2008
(46) Опубликовано: 27.12.2009
(56) Список документов, цитированных в отчете о поиске:
SU 1446374 A1, 23.12.1988. SU 1423119 A1, 15.09.1988. RU 60197 U1, 10.01.2007. RU 2194944 C2, 10.07.2002. US 3196746 A (DU PONT), 27.07.1965. US 3200706 A (KNARD WILLIAM H), 17.08.1965.
Адрес для переписки:
607188, Нижегородская обл., г. Саров, пр. Мира, 37, ФГУП “РФЯЦ-ВНИИЭФ”, начальнику ОПИНТИ
|
(72) Автор(ы):
Борискин Олег Павлович (RU), Долбищев Сергей Федорович (RU), Кирюшкин Игорь Николаевич (RU), Костромитинов Валерий Геннадиевич (RU), Моисеев Арсений Иванович (RU)
(73) Патентообладатель(и):
Федеральное государственное унитарное предприятие “Российский федеральный ядерный центр – Всероссийский научно-исследовательский институт экспериментальной физики” – ФГУП “РФЯЦ-ВНИЭФ” (RU)
|
(54) УСТРОЙСТВО РАЗГЕРМЕТИЗАЦИИ КОРПУСА ИЗДЕЛИЯ И СБРОСА ЕГО СОСТАВНЫХ ЧАСТЕЙ
(57) Реферат:
Изобретение относится к технике высоких давлений и может быть использовано для разгерметизации герметичного силового корпуса изделия, находящегося под высоким давлением жидкой или газообразной окружающей среды, и сброса составных частей корпуса после его разгерметизации. Устройство разгерметизации корпуса изделия и сброса его составных частей содержит герметичный силовой корпус, состоящий из несущей конструкции и отделяемой секции, герметично соединенных между собой и скрепленных устройством разделения, установленного на внутренней переборке корпуса. Устройство разделения выполнено в виде дистанционно управляемой разъемной конструкции, состоящей из разрывного болта, соединяющего стакан со штоком, кабельного ввода, соединенного с разрывным болтом и герметично установленного в имеющееся в переборке корпуса отверстие, пружины сжатия, установленной на стакане с упором в имеющийся диск штока. Стакан закреплен на переборке корпуса. Шток через герметичное уплотнение установлен в имеющееся в днище отделяемой секции отверстие. На резьбовом конце штока, выходящего из корпуса наружу, установлен крепежный элемент, шток имеет отражатель, выполненный в виде полого конуса, который основанием обращен к днищу отделяемой секции, и радиальную проточку, при совмещении которой с отверстием днища отделяемой секции имеется возможность образования канала для прохода внутрь корпуса внешней среды. Использование предложенного устройства обеспечивает разгерметизацию герметичного силового корпуса изделия, находящегося под повышенным давлением жидкой или газообразной окружающей среды, а также сброс составных частей корпуса в условиях окружающей среды. 3 з.п. ф-лы, 1 ил.
Изобретение относится к технике высоких давлении и может быть использовано для разгерметизации герметичного силового корпуса изделия, находящегося под высоким давлением жидкой или газообразной окружающей среды, и сброса составных частей корпуса после его разгерметизации.
Известно дистанционное устройство для разъединения деталей в условиях повышенного давления окружающей среды (а.с. SU 1446374 А1, кл. F16В 39/00, опубл. 23.12.88. Бюл. 47).
Устройство содержит разрывной болт с зарядом взрывчатого вещества (ВВ), соединяющий фланец с заглушкой, между которыми установлено уплотнительное кольцо, герметизирующее полость вокруг зоны разрушения болта и сообщающуюся с ней полость фланца от окружающей среды, при этом между фланцем и заглушкой установлен упругий элемент (например, тарельчатая пружина), поджатый навернутой на заглушку гайкой. К разрывному болту подстыкован кабель, по которому подается электрический импульс на подрыв ВВ.
Недостатком этого устройства является то, что оно имеет ограниченное функциональное назначение – при срабатывании разрывного болта обеспечивается только сброс заглушки и разгерметизация корпуса, сброс составных частей корпуса при этом не происходит.
Решаемой технической задачей является разгерметизация герметичного силового корпуса изделия, находящегося под повышенным давлением жидкой или газообразной окружающей среды, а также сброс составных частей корпуса в условиях окружающей среды.
Указанная техническая задача решается тем, что герметичный силовой корпус изделия выполнен в виде несущей конструкции и отделяемой секции, герметично соединенных между собой и скрепленных устройством разделения, установленным на внутренней переборке корпуса. Само устройство разделения выполнено в виде дистанционно управляемой разъемной конструкции, состоящей из разрывного болта, соединяющего шток со стаканом, закрепленным на переборке корпуса, кабельного ввода, соединенного с разрывным болтом и герметично установленного в имеющееся в переборке корпуса отверстие, пружины сжатия, установленной на стакане с упором в имеющийся диск штока. Шток через герметичное уплотнение установлен в имеющееся в днище отделяемой секции отверстие. На резьбовом конце штока, выходящего из корпуса наружу, установлен крепежный элемент. Шток имеет отражатель, выполненный в виде полого конуса, основанием обращенный к днищу отделяемой секции, и радиальную проточку, при совмещении которой с отверстием днища отделяемой секции имеется возможность образования канала для прохода внутрь корпуса внешней среды. Кабельный ввод закреплен в стакане с помощью крепежного элемента, например гайки. Диск и отражатель на штоке съемные. Стакан закреплен на переборке корпуса с помощью крепежных элементов, установленных в отверстия во фланце стакана и резьбовые отверстия переборки.
Выполнение герметичного силового корпуса в виде несущей конструкции и отделяемой секции, герметично соединенных между собой и скрепленных устройством разделения, установленного на внутренней переборке корпуса, позволяет при срабатывании устройства разделения снять жесткую механическую связь между отделяемой секцией и несущей конструкцией, а также обеспечивает срабатывание устройства разделения в условиях, не подверженных воздействию окружающей изделие среды.
Выполнение устройства разделения в виде дистанционно управляемой разъемной конструкции, состоящей из разрывного болта, соединяющего шток со стаканом, закрепленным на переборке корпуса, кабельного ввода, соединенного с разрывным болтом и герметично установленного в имеющееся в переборке корпуса отверстие, позволяет произвести дистанционное срабатывание разрывного болта с помощью бортовой аппаратуры изделия, расположенной в полости за переборкой, при этом:
– разрывной болт разделяется на две части в зоне соединения стакана со штоком;
– при разгерметизации полости отделяемой секции обеспечивается герметичность полости за переборкой.
Установка пружины сжатия на стакан с упором в имеющийся диск штока позволяет после разделения разрывного болта на две части переместить шток до упора отражателя штока в днище отделяемой секции, при этом:
– совмещается имеющаяся на штоке радиальная проточка с отверстием в днище отделяемой секции и образуется канал, по которому в корпус может поступать окружающая среда;
– остаточное усилие пружины сжатия передается на отделяемую секцию, в результате при выравнивании давлений внутри и снаружи корпуса происходит сброс отделяемой секции.
Установка штока с герметичным уплотнением в имеющееся в днище отделяемой секции отверстие обеспечивает герметичность корпуса по отверстию днища.
Установка крепежного элемента на резьбовой конец штока снаружи корпуса обеспечивает жесткое закрепление отделяемой секции на несущей конструкции.
Наличие на штоке отражателя, выполненного в виде полого конуса, основанием обращенного к днищу отделяемой секции, позволяет распылить струю среды, которая при разгерметизации полости отделяемой секции поступает в нее под повышенным давлением через канал, образуемый отверстием днища секции и радиальной проточкой на штоке.
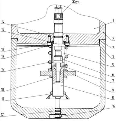
На чертеже изображена конструкция устройства разгерметизации корпуса изделия и сброса его составных частей.
Устройство разгерметизации и сброса состоит из следующих основных составных частей:
а) герметичного силового корпуса 1, имеющего несущую конструкцию 2 с внутренней переборкой и отделяемую секцию 3, которая соединена герметично с помощью уплотнительного элемента 4 с несущей конструкцией 2;
б) устройства разделения 5, установленного на внутренней переборке несущей конструкции 2 и состоящего из следующих элементов:
– разрывного болта 6, соединяющего стакан 7 и шток 8, имеющий диск 9 с гайкой 10, отражатель 11, уплотнительный элемент 12, кольцевую проточку и резьбовой конец;
– кабельного ввода 13, имеющего уплотнительный элемент 14;
– пружины сжатия 15, установленной на стакане 7 с упором в диск 9 штока 8;
– крепежного элемента 16, навернутого на резьбовой конец тяги штока 8;
– гайки 17, ввернутой в стакан 7;
– крепежных элементов 18, с помощью которых стакан 7 закреплен на внутренней переборке.
Работает устройство разгерметизации корпуса изделия и сброса его составных частей следующим образом:
а) производят сборку изделия, для чего:
– с помощью разрывного болта 6 соединяют стакан 7 и шток 8. К электрическому соединителю разрывного болта 6 стыкуют кабельный ввод 13, который затем закрепляют гайкой 17 путем ее вворачивания в стакан 7;
– через отверстие в переборке соединяют жгут, идущий от бортовой аппаратуры, с кабельным вводом 13;
– устанавливают вышеуказанную сборку на внутреннюю переборку, при этом в отверстие переборки вставляют кабельный ввод 13 с уплотнительным элементом 14. Производят крепление стакана 7 к переборке с помощью крепежных элементов 18;
– надевают на стакан 7 пружину 15, затем на шток 8 – диск 9 с гайкой 10, которую заворачивают до обжатия пружины сжатия 15 на заданную величину;
– устанавливают на шток 8 отражатель 11;
– устанавливают на несущую конструкцию 2 отделяемую секцию 3, при этом часть штока 8, имеющая уплотнительный элемент 12, размещается в отверстии днища секции 3, а резьбовой конец штока 8 выходит через отверстие днища наружу;
– закрепляют отделяемую секцию 3 на несущей конструкции с помощью крепежного элемента 16 путем навертывания его на выступающий из отверстия днища резьбовой конец штока 18;
б) при использовании изделия по назначению в условиях повышенного давления окружающей среды от бортовой аппаратуры с помощью жгута, состыкованного с кабельным вводом 15, подается электрический импульс на разрывной болт 6, при этом:
– происходит срабатывание разрывного болта 6 и он разделяется на две части в зоне соединения стакана 7 со штоком 8;
– пружина 15 преодолевает усилие воздействия повышенного давления окружающей среды на выступающий из корпуса наружу конец штока 8 и шток 8 перемещается до упора отражателя 11 в днище отделяемой секции 3, при этом часть штока 8 с уплотнительным элементом 12 выходит из отверстия днища секции 3 наружу, а радиальная проточка штока размещается в отверстии днища секции 3, в результате чего образуется канал для прохода окружающей среды внутрь полости отделяемой секции 3;
– при прохождении наружной среды под давлением через канал в полость образуется струя, которая попадает на отражатель 11 и распыляется;
– в процессе выравнивания давлений снаружи и внутри отделяемой секции 3 под действием остаточного усилия сжатой пружины 15 секция 3 сходит с посадочной поверхности несущей конструкции 2 и сбрасывается. Вместе с секцией 3 сбрасываются и элементы узла разделения – шток 8 с установленными на нем деталями и пружина 15.
После сброса секции 3 составные части изделия, расположенные с наружной стороны герметичной переборки, оказываются в окружающей среде.
Были проведены испытания опытного образца устройства разгерметизации и сброса в составе изделия, находящегося в воде под давлением 7 МПа (70 кгс/см2), которые подтвердили его работоспособность, при этом:
– габариты отделяемой секции, мм: диаметр – 400, длина – 380;
– посадочный диаметр несущей конструкции, на который устанавливалась отделяемая секция, мм – 350;
– диаметр отверстия в днище отделяемой секции, мм – 14;
– диаметр радиальной проточки в штоке, мм – 12;
– масса отделяемой секции, кг – 32;
– усилие сжатой пружины узла разделения, Н (кгс) – 2800 (285).
Формула изобретения
1. Устройство разгерметизации корпуса изделия и сброса его составных частей, содержащее герметичный силовой корпус, состоящий из несущей конструкции и отделяемой секции, герметично соединенных между собой и скрепленных устройством разделения, установленного на внутренней переборке корпуса, устройство разделения выполнено в виде дистанционно-управляемой разъемной конструкции, состоящей из разрывного болта, соединяющего стакан со штоком, кабельного ввода, соединенного с разрывным болтом и герметично установленного в имеющееся в переборке корпуса отверстие, пружины сжатия, установленной на стакане с упором в имеющийся диск штока, при этом стакан закреплен на переборке корпуса, шток через герметичное уплотнение установлен в имеющееся в днище отделяемой секции отверстие, на резьбовом конце штока, выходящего из корпуса наружу, установлен крепежный элемент, шток имеет отражатель, выполненный в виде полого конуса, основанием обращенного к днищу отделяемой секции, и радиальную проточку, при совмещении которой с отверстием днища отделяемой секции имеется возможность образования канала для прохода внутрь корпуса внешней среды.
2. Устройство по п.1, отличающееся тем, что кабельный ввод закреплен в стакане с помощью крепежного элемента, например, гайки.
3. Устройство по п.1, отличающееся тем, что диск и отражатель на штоке съемные.
4. Устройство по п.1, отличающееся тем, что стакан закреплен на переборке корпуса с помощью крепежных элементов, установленных в отверстия во фланце стакана и резьбовые отверстия переборки.
РИСУНКИ
|