|
|
(21), (22) Заявка: 2007101489/09, 13.07.2005
(24) Дата начала отсчета срока действия патента:
13.07.2005
(30) Конвенционный приоритет:
16.07.2004 AT A 1210/2004 21.12.2004 AT A 2128/2004 21.12.2004 AT A 2129/2004 21.12.2004 AT A 2130/2004
(43) Дата публикации заявки: 27.08.2008
(46) Опубликовано: 27.12.2009
(56) Список документов, цитированных в отчете о поиске:
RU 34766 U1, 10.12.2003. SU 871152 A2, 07.10.1981. SU 1007090 A1, 23.03.1983. SU 1259210 A1, 23.09.1986. US 6168085 A1, 02.01.2001. US 5369567 A, 29.11.1994. DE 3334875 A1, 18.04.1985. EP 0429947 A1, 05.06.1991.
(85) Дата перевода заявки PCT на национальную фазу:
16.02.2007
(86) Заявка PCT:
AT 2005/000266 20050713
(87) Публикация PCT:
WO 2006/007617 20060126
Адрес для переписки:
190068, Санкт-Петербург, ул. Садовая, 51, офис 303, ООО “ПАТЕНТИКА”, М.А.Можайскому
|
(72) Автор(ы):
МАРКС Зигфрид (AT), МАРКС Мартин (AT)
(73) Патентообладатель(и):
МАРКС Зигфрид (AT), МАРКС Мартин (AT)
|
(54) СПОСОБ УПРАВЛЕНИЯ ПРОЦЕССОМ КОНДИЦИОНИРОВАНИЯ ПРОДУКТОВ
(57) Реферат:
Изобретение относится к процессам кондиционирования продуктов и может быть использовано для широкого ряда продуктов. Техническим результатом является обеспечение быстрой, мягкой, экономичной по времени затратам энергии обработки продуктов и получение оптимальных значений параметров продукта и внешних параметров. В способе управления процессом кондиционирования продуктов температуру продукта измеряют циклически через заданные интервалы времени. Некоторые параметры среды автоматически регулируют в камере обработки. Для того чтобы осуществить способ, фактические значения характеристической температуры продукта, температуры воздуха внутри камеры для обработки и температуры подаваемого воздуха измеряют в каждом цикле. По крайней мере, в начале процесса обработки определяют целевое конечное состояние продукта на основе характеристических параметров и автоматически устанавливают заданные значения для измеренных параметров для следующего цикла исходя из измеренных и определенных параметров. В следующем цикле измерений сравнивают их с соответствующими фактическими значениями. 9 з.п. ф-лы, 5 ил.
Настоящее изобретение относится к способу управления процессом кондиционирования продуктов, в котором характеристическую температуру продукта измеряют циклически через заданные промежутки времени и согласно которому определенные параметры среды регулируют автоматически в камере обработки.
Процесс кондиционирования продуктов может быть осуществлен различными способами и может быть применен для широкого ряда продуктов. Процессы кондиционирования могут варьироваться от относительно простой разморозки или интенсивного охлаждения до высушивания, например, древесины, а также продуктов питания, таких как, например, колбасные и мясные изделия; кроме того, способы могут включать также созревание и копчение продуктов питания.
Размораживание делят на естественное размораживание и размораживание при кондиционировании; последнее может быть осуществлено несколькими способами, такими как, например, размораживание приточным воздухом – циркулирующим воздухом – отработанным воздухом в сочетании с размораживанием тепловыми насосами либо способом вакуумного размораживания с использованием различных носителей энергии, таких как, например, пар, напрямую или косвенно с использованием теплообменников либо дорогостоящего электрического нагревания и т.д. Во всех известных на данный момент способах в каждом случае регулируют температуру и относительную влажность циркулирующего воздуха воздушной системы, в результате чего продукт, в зависимости от его типа, размораживается с регулированием по времени. Интенсивное охлажение также в большинстве случаев проводят аналогичным способом, однако в этом случае регулируют температуру в толще продукта и температуру среды.
При обработке, например, сырого мяса или сырой колбасы, которые доводят до биологически желательной степени высушивания и/или созревания, естественное созревание (высушивание), которое использовали на протяжении длительного времени, было заменено на кондиционирование, так как это позволило производить, например, сырую колбасу в соответствующих установках для созревания вне зависимости от природных климатических условий. В известных удобных современных установках для созревания, базирующихся на многолетних экспериментальных данных, может быть реализовано запрограммированное созревание путем точного контроля по времени всех процессов созревания. При этом используют различные способы, целью которых является использование или воздействие определенных условий на процесс созревания продуктов питания.
Производство различных продуктов питания, таких как, например, колбасы и сыра, требует созревания, в процессе которого продукты питания на протяжении определенного времени созревают при определенной температуре и влажности воздуха. После заполнения натуральной или искуственной оболочки основной смесью колбасные изделия помещают в транспортные тележки и переносят в камеры для высушивания, где их сушат. В DE 3319528 С2 описан способ созревания и высушивания колбасных изделий и подобных им продуктов питания, при котором воду из обрабатываемого продукта удаляют при помощи подаваемого кондиционированного воздуха до тех пор, пока не будет достигнут желаемый уровень высушивания и созревания, при этом, во время обработки продукта, определяют значение рН, которое используют в качестве контрольного значения при обработке продукта. Согласно указанному способу в камере обработки непрерывно измеряют значение рН объекта, а температуру в камере обработки постоянно регулируют в соответствии с измеренным значением рН. Например, в начале обработки продукта, подвергаемого обработке, при значении рН 5.8 температура составляет 24°С, а когда значение рН снижается до примерно 5.3, указанную температуру понижают до 20°С. Указанный способ ограничен исключительно измерением значения рН, используемого для регулирования температуры в соответствующей камере обработки/созревания. Никакие дополнительные факторы не используют в указанном способе управления.
Из документа DE 4243656 С2 известен процесс обработки копченых продуктов, в частности мясных и колбасных изделий, в котором используют смесь воздуха и водорастворимой жидкости с запахом и привкусом дыма, называемой коптильной жидкостью; указанную жидкость разбрызгивают в воздухе в камере копчения. Указанный процесс характерен тем, что чистую коптильную жидкость разбрызгивают напрямую в воздухе, отводимом из камеры копчения в специальной зоне для смешивания, перемешивают в зоне для смешивания при повышенном давлении, а затем возвращают в камеру копчения. Данный процесс обработки колбасных изделий служит для созревания, а в особенности, для термической обработки с целью получения определенных оттенков вкуса, что лишь в некоторой мере влияет на процесс созревания.
Из DE 19511223 А1 известен способ созревания продуктов питания, в частности сырых колбасных изделий, в котором продукты питания хранят в герметичной камере для обработки, регулируя температуру и влажность, до тех пор, пока не будет достигнут желаемый уровень выдержки. Газ или смесь газов подают в камеру для обработки из накопительного резервуара, при этом содержание инертного газа в камере значительно выше содержания воздуха. Остаточное содержание кислорода в камере для обработки, в соответствии с процессом созревания, регулируют путем регулирования подачи газа или смеси газов. Подобный процесс кондиционирования требует значительных издержек на подготовку и обеспечение подходящего газа или смеси газов, при этом указанный процесс влияет лишь на отдельные этапы процесса созревания продуктов питания.
Кроме того, известны процессы, в которых уменьшение веса обрабатываемых продуктов используют в качестве параметра, на основании которого управляют процессом созревания, как описано в DE 3537373 А1. Из DE 4326688 C2 также известен способ созревания и высушивания сырых колбасных изделий, основанный на регулировании активности воды (aw-value). Указанные известные способы также базируются на отдельных параметрах процесса обработки и созревания сырых колбасных изделий; другие параметры, по большей части, не принимают во внимание.
Таким образом, в целом может быть отмечено, что из сырых колбасных изделий при удалении воды, понижении значения рН, регулировании температуры процесса, а также специфичных свойств материала, зависящих от рецептуры и/или дисперсности, могут быть получены плотные сухие колбасные изделия при соблюдении внутренних и внешних этапов процесса. В ходе внешних этапов процесса из колбасных изделий удаляют воду, регулируя температуру, время и степень влажности, формируют основу для внутренних микробиологических процессов и влияют на ход процесса в целом путем подготовки материала, добавок и рецептур. К внешним параметрам относятся относительная или абсолютная влажность воздуха, скорость потока воздуха и температуры, которые влияют на внутренние этапы процесса. Таким образом, для того чтобы контролировать влажность (в основном, относительную влажность), воздух осушают охлаждением. Воздух высушивают, затем нагревают и к нему добавляют воду, чтобы контролировать степень осушения. В результате достигают желаемой степени относительной влажности воздуха и воздух прогоняют через камеру созревания/копчения, например, с помощью вентиляторов. Скорость потока воздуха и его параметры всегда должны соответствовать требованиям для условий высушивания или обезвоживания продукта, чтобы избежать появления “сухих краев” созреваемых сырых колбасных изделий. Второй способ регулирования параметрами воздуха основан на том, что воздух уже имеет определенную степень влажности, которую необходимо лишь отрегулировать в соответствии с условиями обезвоживания продуктов. Это может быть достигнуто, учитывая свойство продукта выделять воду, путем использования циркулирующего воздуха с подачей воздуха через заданные промежутки времени, используя данное свойство для регулирования влажности. Этапы процесса удаления воды при интенсивном охлаждении воздуха и возобновляемого увлажнения в данном случае исключены из-за внешнего регулирования параметров воздуха.
Способ, предложенный в настоящем изобретении, основан на том, что предварительное минимальное охлаждение стандартизирует влажность воздуха при определенной температуре. Очевидно, что смена времен года не обеспечивает постоянных условий. Кроме того, следует отметить, что сырые колбасные изделия являются источником воды и при повышении температуры повышают влажность. Как состав воздуха, так и свойства продукта являются переменными, вследствие чего технически простые решения имеют ограниченный эффект только для конкретного продукта при определенных внешних условиях, но не могут обеспечить более общие процессы без повреждения продуктов; возможно появление “сухих краев” в результате излишнего высушивания, вызванного недостаточным количеством паров воды, либо “запотевание” продукта при их излишней концентрации. “Запотевание” колбасных изделий является причиной того, что на начальной стадии процесса наблюдается повышение роста бактерий и аэробной микрофлоры.
При обработке древесины стоит выбор между естественным высушиванием и высушиванием при кондиционировании; последнее возможно осуществить с использованием нескольких процессов, таких как, например:
а) высушивание подводимым воздухом – отработанным воздухом (общепринятый способ высушивания древесины),
б) высушивание тепловыми насосами (принцип конденсации),
в) вакуумное высушивание.
Все указанные варианты могут в данном случае быть использованы в различных механических/технологических вариантах реализации. Во всех известных на данный момент процессах в каждом случае регулируют относительную влажность циркулирующего воздуха, называемую равновесной влажностью древесины, в результате чего древесину, в зависимости от типа, сушат в зависимости от времени.
В ЕР 429947 описан способ управления процессом высушивания древесины, в котором, как указано в начале документа, температура древесины является единственным измеряемым параметром для регулирования и ее измеряют через определенные интервалы времени, а температуру и влажность воздуха в камере высушивания регулируют в зависимости от температуры древесины. Температура и влажность воздуха взаимосвязаны заданными вручную факторами пропорциональности “мягкие” или “жесткие” по отношению к переменному параметру для регулирования, температуре древесины.
В DE 19951627 описан аналогичный способ и устройство для высушивания (в частности, древесины), в котором в камере высушивания создают избыточное давление, служащее исключительно для обеспечения и поддержания потока воздуха в системе, являющееся лишь вторичным фактором для высушивания. Тип регулирования и параметры, используемые в указанном способе, не раскрыты.
Задачей настоящего изобретения является способ управления, тип которого описан выше, в котором после определения конечных параметров целевого конечного состояния соответствующего продукта процесс обработки совершается автоматически и осторожно, а все параметры продукта и внешние параметры приводят к наиболее оптимальным значениям для достижения быстрой, мягкой, но в то же время экономичной по времени и затратам энергии обработки по сравнению с общепринятыми способами.
Для решения поставленной задачи способ управления, предложенный в настоящем изобретении, характеризуется тем, что в каждом цикле измеряют фактические значения температуры продукта, температуры воздуха внутри камеры обработки и температуры подаваемого воздуха, а также значения влажности; тем, что по крайней мере в начале процесса обработки на основе специфических параметров задают целевое конечное состояние продукта; отличающийся тем, что заданные значения измеряемого параметра для следующего цикла определяют автоматически исходя из измеренных и определенных параметров и сравнивают их с соответствующими фактическими значениями в следующем цикле измерений. Новое изобретение характеризуется тем, что при низких затратах энергии в сочетании с постоянно регулируемым сжатием воздуха достигают равномерного распределения воздуха вокруг обрабатываемого продукта и, таким образом, более быстрого равномерного нагревания или охлаждения продукта. Кроме того, не требуется дополнительного увлажнения путем введения паров воды и осушения в низкотемпературных диапазонах. Интервал времени, необходимый для достижения требуемой характеристической температуры, предпочтительно внутренней температуры соответствующего продукта, зависит от исходной температуры и других параметров продукта, например толщины древесины и содержания воды от центра до поверхности, и вычисляется автоматически как функция этих свойств продукта.
Предпочтительный вариант реализации подразумевает, что дополнительно полученные фактические значения определяют исходя из фактических значений характеристической температуры продукта, температуры воздуха в камере обработки и температуры подаваемого воздуха, а также содержания влаги в продукте; а также, что автоматически устанавливают заданные значения для измеренных и производных параметров для следующего цикла исходя из некоторых измеренных и полученных, а также определенных параметров, и сравнивают их с соответствующими фактическими значениями в следующем цикле измерений. Способы управления подобного типа обеспечивают особенно эффективное управление камерами размораживания.
Для интенсивного охлаждения продуктов, высушивания древесины, а также для созревания и/или высушивания продуктов питания особенно предпочтительным является способ, который согласно дополнительной характеристике изобретения отличается тем, что также измеряют влажность подаваемого и отработанного воздуха в камере обработки; и тем, что для последнего также определяют автоматически заданные значения для следующего цикла; указанные значения сравнивают с соответствующими фактическими значениями в следующем цикле измерений.
В данном случае также предпочтительно устанавливать дополнительно полученные фактические значения исходя из значений влажности подаваемого и отработанного воздуха, а также автоматически устанавливать заданные значения для следующего цикла, которые сравнивают с соответствующими фактическими значениями в следующем цикле измерений.
Предпочтительно регулировать давление воздуха в камере обработки во всех способах согласно любому из предшествующих параграфов. Если этап процесса осуществляют при заранее установленной внутренней температуре, давление воздуха вокруг продукта будет выше, чем внутри, таким образом предотвращается преждевременное высыхание продукта по краям, и фактическое удаление воды начинается после того, как будет достигнута оптимальная характеристическая температура.
Согласно следующему варианту реализации изобретения также можно регулировать давление воздуха в камере обработки.
Предпочтительно, определять влажность по крайней мере продукта на основании его проводимости.
Если согласно следующему варианту реализации изобретения регулируют температуру отработавшего воздуха, это позволяет оптимизировать условия в камере обработки с точки зрения энергосбережения и технического контроля.
Для того чтобы обеспечить наилучшую эффективность использования энергии, в еще одном предпочтительном варианте реализации изобретения тепло или холод извлекают из отработанного воздуха, выходящего из камеры обработки, до осуществления регулирования температуры.
Если к подаваемому в камеру обработки воздуху добавляют определенные вещества, возможно обеспечить более широкий спектр вариантов обработки, в частности, продуктов питания. Указанные вещества могут включать, например, коптильную жидкость, инертные газы и т.п.
В нижеприведенном описании настоящее изобретение представлено более детально, с описанием вариантов реализации и со ссылкой на приведенные чертежи.
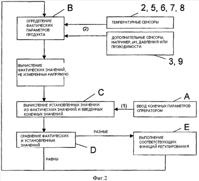
На Фиг.1 схематически представлен пример установки для размораживания, в которой реализован способ, предложенный в настоящем изобретении. На Фиг.2 представлена схема технологического процесса согласно способу управления, предложенному в настоящем изобретении. На Фиг.3 схематически представлен вараинт установки для высушивания согласно способу, предложенному в изобретении. На Фиг.4 схематически представлена установка для интенсивного охлаждения, в которой применен способ согласно настоящему изобретению. И на Фиг.5 представлена камера созревания, также работающая на основе способа, предложенного в настоящем изобретении.
В герметично закрытой камере 1 для обработки находятся продукты в состоянии глубокой заморозки, например, для последующего размораживания; указанные продукты должны быть разморожены при заранее заданной конечной внутренней температуре. Внутреннюю температуру продукта и его влажность определяют с помощью сенсора 2 температуры и устройства 3 для измерения проводимости соответственно и данные передают на устройство 4 управления. Дополнительные сенсоры 5, 6, 7, 8 температуры измеряют температуру воздуха внутри камеры для высушивания и температуру подаваемого воздуха, отработанного или циркулирующего воздуха. Преимуществом является то, что давление в камере 1 для высушивания также регулируют при помощи датчика 9 давления.
Как представлено на схеме технологического процесса на Фиг.2, на первом этапе А целевое конечное состояние продукта определяют по меньшей мере один раз при помощи характеристических параметров. Далее, на этапе В, который может быть осуществлен до, или после этапа А, или одновременно с ним, заданные значения, полученные исходя из параметров, измеренных сенсорами 2-9, и определенные на этапе А, автоматически определяют на дальнейшем этапе С для измеренных параметров для следующего цикла и сравнивают с соответствующими фактическими значениями в следующем цикле измерений и на этапе D процесса. Устройство 4 управления реализует программный алгоритм, преобразующий все переменные физические измерения в процесс управления и, в случае отклонения фактических значений от заданных, выбирающий средства управления на дальнейшем этапе Е, таким образом создавая требуемую среду для мягкого и энергетически выгодного процесса обработки продукта. После установки средств управления, а также при совпадении фактических и заданные значений, схема управления возвращается заново к этапу В, определяя фактические параметры продукта. Цикл повторяют до тех пор, пока не будет достигнуто целевое конечное состояние заданных значений характеристических параметров.
Для того чтобы регулировать параметры среды с целью достижения мягкого размораживания продуктов в камере 1 обработки, используют вентилятор 10 с регулируемой частотой вращения (для переноса отработанного или циркулирующего потока) и вентилятор 11 для отработанного воздуха; указанные вентиляторы регулируют с помощью устройства 4 управления. Указанные вентиляторы вместе с клапаном 12 для подаваемого воздуха, клапаном 13 для циркулирующего воздуха, клапаном 14 для отработанного воздуха, клапаном 15 для наружного/окружающего воздуха, а также, в более крупных установках, дополнительным переменным клапаном 16, устанавливают плотность воздуха, вводимого в камеру 1 обработки, а также влажность в камере 1 обработки. В данном случае, автоматический расчет внутреннего содержания воды (определяемого с помощью устройства 3 на основе проводимости) влияет на управление процессом, заранее определенные конечные параметры определяют временной коридор, а устройство осуществляет регулирование в зависимости от требований. Предпочтительно, могут быть дополнительно использованы сенсоры 17, 18 температуры для наружного воздуха и подводимого воздуха.
Регулирование плотности и количества циркулирующего воздуха, количества подводимого воздуха и отработанного воздуха осуществляют при помощи алгоритма в устройстве 4 управления, принимая во внимание фактическое значение и заданное значение степени высушивания, связанное с соответствующей заранее установленной внутренней температурой, а также фактической температурой и заданной температурой, заданной и вычисленной насыщенностью пара в подаваемом воздухе, циркулирующем воздухе и отработанном воздухе. Таким образом поддерживают постоянно контролируемую плотность окружающего продукт воздуха с насыщенной влажностью окружающего продукт воздуха, благодаря чему размораживаемый продукт размораживается в оптимальных условиях, процесс начинается внутри и продолжается по направлению к поверхности продукта с учетом биологических ограничений выхода холода без потери содержащейся в продукте влаги. Требуемые для этого внешние измерительные устройства выбирают в зависимости от продукта и интегрируют с программным алгоритмом.
Естественный перенос тепла может происходить в одном или нескольких устройствах 19 для извлечения холода, таким образом, измерительное устройство 20 для низких температур может работать экономично или вовсе отсутствовать. Расчетное добавление подводимого воздуха или окружающего воздуха, в свою очередь, может обеспечить более низкие требования к теплоотдаче нагревательных устройств 21, для того чтобы установить температуру подаваемого воздуха на уровне требуемого значения.
Технические характеристики вентиляторов, воздуховодов, нагревателей, холодильников и т.д. зависят исключительно от соответствующей емкости и специфических свойств обрабатываемых продуктов и не оказывают значительного влияния на технологию процесса управления; их выбор обусловлен целью достижения достаточной степени эффективности. В отличие от типичных устройств, можно сэкономить до 50% от потребляемой энергии и до 70% от эксплуатационной энергии.
Для установки, представленной на Фиг.3, способ управления может быть дополнительно расширен и оптимизирован для мягкого и энергетически выгодного высушивания продуктов, например древесины. При помощи дополнительных сенсоров 6а, 7а, 8а температуры в совокупности с температурными сенсорами 6, 7 и 8 в дополнение к температуре также измеряют влажность подаваемого, циркулирующего и отработанного воздуха. Измеренные значения влажности и, в случае необходимости, дополнительно вычисленные значения, ими определяемые, также вносят положительный вклад в алгоритм управления, заданный устройством 4 управления, обеспечивающий требуемую среду для мягкого и энергетически выгодного процесса высушивания.
Регулирование плотности и количества циркулирующего воздуха, количества подводимого воздуха и отработанного воздуха осуществляют при помощи алгоритма устройства 4 управления, принимая во внимание фактическую и заданную степень высушивания, связанную с соответствующей заранее определенной внутренней температурой, а также фактической температурой и заданной температурой, заданным и вычисленным насыщением пара в подаваемом воздухе, циркулирующем воздухе и отработанном воздухе. Контролируемая плотность окружающего продукт воздуха с соответственно вычисляемым насыщением также играет свою роль и постоянно регулируется, благодаря чему продукт мягко отдает влагу. Процесс начинается внутри и продолжается по направлению к поверхности продукта. Естественная отдача воды из отработанного воздуха происходит благодаря понижению давления воздуха (конденсации). Таким образом, измерительное устройство 20 для низких температур может работать экономично или вовсе отсутствовать, а расчетное добавление подводимого воздуха или окружающего воздуха, в свою очередь, может обеспечить более низкие требования к теплоотдаче нагревательных устройств 21, для того чтобы установить температуру подаваемого воздуха на уровне требуемого значения.
Способ управления, предложенный в настоящем изобретении, позволяет регулировать влагоотдачу сохнущей древесины с точностью до процента в течение периода времени, определяемого типом продукта. Требуемые для этого внешние измерительные устройства выбирают в зависимости от продукта и интегрируют с программным алгоритмом.
Для мягкого интенсивного охлаждения сильно нагретых продуктов, где не должны нарушаться биологические ограничения теплоотдачи без потери продуктом воды, а обработка должна быть энергосберегающей, используют установку, представленную на Фиг.4, управляемую при помощи способа настоящего изобретения.
Как и в предыдущих примерах, регулирование плотности и количества циркулирующего воздуха, количества подводимого воздуха и количества отработанного воздуха происходит в устройстве 4 управления при помощи алгоритма, с учетом фактического значения и заданного значения степени высушивания, а также с соответствующей заранее определенной внутренней температурой, фактической температурой и заданной температурой. Также, заданная и вычисленная насыщенность пара в подаваемом воздухе, циркулирующем воздухе и отработанном воздухе, также играет свою роль, регулируя оптимальную, но в то же время мягкую теплоотдачу, путем постоянного регулирования плотности воздуха, окружающего продукт, с соответственно вычисляемым насыщением.
Теплоотдача отработанного воздуха изначально происходит в одном или нескольких устройствах 19а для восстановления тепла. В результате, измерительное устройство 20 для низких температур может работать экономично или вовсе отсутствовать, а расчетное добавление подводимого воздуха или окружающего воздуха, в свою очередь, может обеспечить более низкие требования к теплоотдаче нагревательных устройств 21, для того чтобы установить температуру подаваемого воздуха на уровне требуемого значения.
Помимо системы и особенностей управления, описанных выше, дополнительные меры могут быть предприняты для созревания продуктов питания, например, фазы процесса при копчении определенных продуктов могут быть интегрированы в процесс высушивания таким образом, что копченый вкус проникает внутрь даже без дополнительного поглощения продуктом воды, и продукты проявляют лишь свои характерные биофизические свойства при окончании процесса высушивания. Для этой цели предусмотрен, например, генератор 22 дыма, как представлено на Фиг.5; вместе с клапаном 23 для дыма и клапаном 24 для циркулирующего дыма указанный генератор интегрирован в алгоритм управления.
В ходе процесса созревания продуктов питания, преимуществом которого является использование программного алгоритма, подкисление предотвращают путем установления минимального значения рН. Однако выделение кислоты происходит в совокупности с выделением воды, в результате чего достигают желаемой степени созревания плотного сырого колбасного изделия, контролируя потерю влаги с помощью фактического значения рН, а также заданного значения рН. Благодаря оптимальному для данного продукта регулирования способа было достигнуто уменьшение времени, затрачиваемого на высушивание, на 30%. Кроме этого в продуктах не выявлено содержание веществ, представляющих биологическую угрозу, при высушивании влага равномерно распределяется от центра до поверхности продукта, происходит естественное окрашивание от центра к поверхности, так же как и связывание тканей, фазы копчения взаимосвязаны с абсорбционными характеристиками продукта, что, в свою очередь, приводит к улучшенному вкусу с меньшим содержанием смолы; и конечные технологические параметры соответствуют принятым нормам.
Формула изобретения
1. Способ управления процессом кондиционирования продуктов, при котором характеристическую температуру продукта измеряют циклически через заданные интервалы времени, и согласно которому некоторые параметры среды автоматически регулируют в камере обработки, отличающийся тем, что в каждом цикле измеряют фактические значения характеристической температуры продукта, температуры воздуха внутри камеры обработки и температуры подаваемого воздуха, а также значения влажности продукта; при этом по меньшей мере в начале процесса обработки на основе характеристических параметров определяют целевое конечное состояние продукта; при этом заданные значения измеряемых параметров для следующего цикла автоматически определяют на основе измеренных и определенных полученных параметров и сравнивают с соответствующими фактическими значениями в следующем цикле измерений.
2. Способ управления по п.1, отличающийся тем, что дополнительно полученные фактические параметры определяют на основе фактических значений характеристической температуры продукта, температуры воздуха в камере обработки и температуры подаваемого воздуха, а также содержания влаги в продукте; а также тем, что из нескольких измеренных и выведенных параметров, так же, как и из измеренных и полученных параметров, автоматически устанавливают заданные значения указанных измеренных и полученных параметров для следующего цикла и сравнивают с соответствующими фактическими значениями в следующем цикле измерений.
3. Способ управления по п.1 или 2, отличающийся тем, что измеряют также влажность подаваемого и отработанного воздуха в камере обработки, а также тем, что для последних заданных значений автоматически определяют заданные значения для следующего цикла и сравнивают с соответствующими реальными значениями в следующем цикле измерений.
4. Способ управления по п.3, отличающийся тем, что на основе влажности подаваемого и отработанного воздуха определяют дополнительно полученные фактические значения, а также тем, что для последних заданные значения автоматически определяют заданные значения для следующего цикла и сравнивают с соответствующим фактическим значением в следующем цикле измерений.
5. Способ управления по любому из пп.1, 2 и 4, отличающийся тем, что регулируют давление воздуха внутри камеры обработки.
6. Способ управления по любому из пп.1, 2 и 4, отличающийся тем, что регулируют давление насыщенного паром воздуха внутри камеры обработки.
7. Способ управления по любому из пп.1, 2 и 4, отличающийся тем, что содержание влаги по меньшей мере продукта определяют по его проводимости.
8. Способ управления по любому из пп.1, 2 и 4, отличающийся тем, что регулируют температуру отработанного воздуха из камеры обработки.
9. Способ управления по любому из пп.1, 2 и 4, отличающийся тем, что тепло или холод извлекают из отработанного воздуха из камеры обработки перед регулированием температуры.
10. Способ управления по любому из пп.1, 2 и 4, отличающийся тем, что вещества добавляют к подаваемому в камеру обработки воздуху.
РИСУНКИ
|
|