|
|
(21), (22) Заявка: 2007147401/28, 20.05.2005
(24) Дата начала отсчета срока действия патента:
20.05.2005
(43) Дата публикации заявки: 27.06.2009
(46) Опубликовано: 27.12.2009
(56) Список документов, цитированных в отчете о поиске:
JP 11101221 А, 13.04.1999. СА 1041813 A1, 07.11.1978. WO 9510064 A1, 13.04.1995.
(85) Дата перевода заявки PCT на национальную фазу:
20.12.2007
(86) Заявка PCT:
IT 2005/000287 20050520
(87) Публикация PCT:
WO 2006/123374 20061123
Адрес для переписки:
129090, Москва, ул. Б.Спасская, 25, стр.3, ООО “Юридическая фирма Городисский и Партнеры”, пат.пов. А.В.Мицу, рег. 364
|
(72) Автор(ы):
ЧЕСКОН Стефано (IT)
(73) Патентообладатель(и):
ФОТО ОТТИКА ЧЕСКОН ДИ ЧЕСКОН СТЕФАНО (IT)
|
(54) ШАРОВОЙ ШАРНИР
(57) Реферат:
Изобретение относится к шаровому шарниру, в частности, для очков. Техническим результатом является создание нового шарнира, предназначенного для использования для заушников очков, чтобы позволять им совершать определенные движения. Шаровой шарнир (30; 130) для соединения вместе двух элементов, охватываемого и охватывающего, пространственно ориентируемых относительно друг друга, при этом охватываемый элемент (80; 180) имеет по существу сферическую головку (84; 184), охватывающий элемент (40; 140) имеет две полуоболочки с полостью (46; 146), или головка (84; 184) имеет выдающийся выступ (52; 162), который, когда два указанных элемента собраны вместе, упирается своими поверхностями (54; 56; 58; 162а; 162b; 162с; 162d) в соответствующие поверхности (91а; 93b; 93с; 91b; 195a; 195b; 197a; 197b) головки (84; 184) или полости (46; 146), так что выступ (52) ограничен в движении и удерживается в пределах стенок выемки (85; 186). При этом указанная выемка определяет путь направленного перемещения (85; 186) для указанного выступа (52; 152), тем самым определяя движения, которые допускается осуществлять головке относительно полуоболочки. Кроме того, указанная выемка ограничена стенками, которые расположены так, чтобы определять путь перемещения (85; 186) для выступа с возможностью направления головки (84; 184) с двумя последовательными поворотами вокруг двух отдельных осей, проходящих через центр головки, с возможностью обеспечения устойчивого положения двух указанных элементов друг относительно друга. 2 н. и 18 з.п.ф-лы, 28 ил.
Настоящее изобретение относится к шаровому шарниру (или сферическому шарниру), в частности, для очков.
Шаровой шарнир по определению является шарниром, который дает возможность двум жестким звеньям, которые соединены друг с другом самим шарниром, двигаться относительно друг друга с тремя вращательными степенями свободы.
Благодаря своим особенностям шаровые шарниры широко применяются.
В заявке на патент Франции 2771460 описывается фиксируемый шаровой шарнир, используемый для установки стола между сиденьями в самолете. Этот шаровой шарнир состоит из шаровой головки, помещенной в шаровую полость охватывающей сопряженной части. Эта полость образована двумя элементами, которые соединены друг с другом посредством линейного шарнира на одной стороне и крепежного рычага на другой стороне. Эти два элемента соприкасаются с шаровой головкой через гибкие соединения. Хотя это позволяет осуществлять регулирование по трем отдельным осям, механизм фиксации шарнира является сложным по своей конструкции и довольно дорогостоящим.
В заявке на патент Германии 19601248 описывается шаровой шарнир для использования в опорах подводных ламп-вспышек. Этот шарнир содержит элемент с шаровой головкой, который заключен в соответствующую полость опоры. Этот элемент способен колебаться в пределах ограниченного пространственного угла, а также поворачиваться вокруг своей собственной продольной оси. Однако не существует никакой возможности для фиксации элемента с шаровой головкой в неподвижном положении.
Шаровые шарниры также широко используются в промышленности по изготовлению очков.
Действительно, общеизвестно то, что два заушника и оправа пары очков обычно соединены друг с другом посредством шарниров, которые позволяют складывать заушники в тех случаях, когда не используют очки. В этой связи простейшим и самым общеизвестным техническим решением является использование заушников, складываемых параллельно оправе.
Вследствие растущего эстетического содержания носимых предметов, т.е. предметов, которые предназначены для ношения, изготовители очков все более сосредотачиваются на разработке и конструировании самых разнообразных и привлекательных моделей очков. В частности, в этой связи наиболее многообещающей и быстроразвивающейся областью является конструирование шарниров для двух заушников очков.
В этой связи в заявке на патент Японии 07068873 описывается шаровой шарнир, имеющий петлю, которая изготовлена из филиформа, т.е. проволокообразного материала, и согнута в трехмерную конфигурацию так, чтобы сохранять сферу как над ее экваториальной плоскостью, так и под ней. Сама сфера прикреплена к стержню, и относительно петли, которая закреплена на оправе очков, этот стержень способен поворачиваться как вокруг себя, так и на угол около 180° вдоль узкого экваториального пространственного угла. Хотя это техническое решение полностью исключает использование винтов или других крепежных средств, однако, оно не дает возможность фиксировать стержень в любом предопределенном положении, что тем самым обуславливает ряд практических недостатков.
В заявке на патент Германии 19629491 описывается шаровой шарнир, выполненный с возможностью обеспечения надежного соединения между заушником и оправой. Заушник имеет шаровую головку, которая помещена в соответствующую полость в оправе и снабжена линейным пазом, в котором способен перемещаться штифтообразный элемент, выполненный в указанной полости. При закрывании заушника его складыванием на оправу указанный штифтообразный элемент перемещается вдоль такого паза между его двумя оконечностями. Заушник не может поворачиваться вокруг себя, а может только перемещаться в пределах угла около 90°.
В Международной заявке WO 95/10064 описываются очки, в которых каждый заушник образован из короткого элемента и намного более длинного элемента, причем последний практически составляет действительный заушник. Короткий элемент соединен шарниром как с оправой очков – и способен поворачиваться вокруг оси, проходящей через глаза пользователя,- так и с более длинным элементом вдоль оси, проходящей перпендикулярно к первой оси. Общий эффект от этих двух шарниров заключается в том, что два длинных элемента могут быть сложены один над оправой, а другой – под ней, в результате чего получается компактная структура для очков. Однако, этот весь набор шарниров предопределяет сложную и ненадежную конструкцию, особенно если это касается системы фиксации положения элементов, которая основана на использовании небольшого выступа, входящего в зацепление с пазом с возможностью довольно легкого выскальзывания из него.
Замена такой шарнирно-сочлененной системы для заушников очков на более простую и эффективную систему несомненно оказалась бы весьма полезной.
Следовательно, главной задачей настоящего изобретения является создание нового шарового шарнира, в частности, хотя не исключительно, предназначенного для использования для заушников очков, чтобы позволить им совершать определенные движения.
В рамках этой общей задачи другой задачей настоящего изобретения является создание шарнира для заушников очков, который, имея возможность совершать такие же самые движения, как и шарнир, описанный в WO 95/10064, по своей конструкции является намного более простым и надежным.
Согласно настоящему изобретению эти задачи решаются посредством шарового шарнира для соединения друг с другом двух элементов, пространственно ориентируемых относительно друг друга, в котором головка первого (охватываемого) элемента удерживается в полости второго (охватывающего) элемента посредством, по меньшей мере, четырех точек контакта, расположенных на сферической поверхности согласно вершинам пирамиды, содержащей ее центр, вокруг которого указанная головка способна поворачиваться без прямолинейного перемещения, отличающегося тем, что указанная полость или указанная головка снабжена выдающимся выступом, ограниченным в выемке указанной головки или указанной полости, при этом указанная выемка имеет, по меньшей мере, два последовательных отдельных пространства, которые определяют путь перемещения для указанного выступа.
Благодаря воплощению инновационной сущности настоящего изобретения, например, за счет направления по указанному пути перемещения указанной головки с двумя последовательными поворотами вокруг двух определенных осей, проходящих через указанный центр, и, кроме того, обеспечения того, что две разных оси проходят перпендикулярно друг другу, достигается движение элемента шарнира, которое сходно с движением заушника в очках, описанных в WO 95/10064.
Так как движение головки охватываемого элемента – в этом случае воплощенного в заушнике очков – происходит, т.е. осуществляется относительно соответствующей полости в охватывающем элементе – в этом случае воплощенном в оправе очков – в соответствии с перемещением выступа, который может быть выполнен, например, выдающимся от поверхности указанной полости и который ограничен в движении (таким же образом, как и ползун) лишь внутри свободной зоны в головке, как, например, в пазе или выемке, имеющей заранее установленную форму, то возникает необходимость только в такой форме выемки, которая подходяще выполнена для определения и установления фактических движений, которые позволяется совершать головке относительно полости и, как результат, опоры, в которую она помещена. В этой связи очень легко понять, что могут быть сменены функции охватываемого элемента и охватывающего элемента, так чтобы первый элемент удерживался неподвижным, а второй элемент был подвижным или чтобы выдающийся выступ был на головке, а выемка была на поверхности полости.
Так как шарнир согласно настоящему изобретению состоит, в основном, из двух элементов, в которых форма связанных взаимодействующих частей определяет движения, которые допускается совершать шарниру, и так как указанные части могут быть вначале формованы и затем соединены с защелкиванием или аналогично этому собраны вместе, то фактически не требуются никакие крепежные средства, как, например, винты и т.п., что тем самым в большей степени упрощает конструкцию шарнира.
Так как шарнир согласно настоящему изобретению состоит из двух элементов, в которых форма взаимодействующих частей определяет допускаемые движения для шарнира, а указанные части могут быть изготовлены штамповкой и затем собраны горячим способом, то не требуются никакие крепежные средства, как, например, винты и т.п. Следовательно, достигается большая простота производства.
Так как шарнир может быть фиксирован и скреплен натягом выдающегося выступа со стенками выемки посредством соответствующего выбора размеров указанного выступа и указанной выемки, то шарниру можно придать оптимальную стабильность и прочность.
Отличительные признаки и преимущества шарнира согласно настоящему изобретению могут быть во всяком случае легче поняты из описания, которое приводится ниже в качестве примера со ссылкой на сопровождающие чертежи, на которых:
фиг.1 – вид первого элемента первого шарнира согласно настоящему изобретению;
фиг.2-4 – соответствующие виды трех последовательных положений первого шарнира согласно настоящему изобретению;
фиг.5а – вид сбоку элемента шарнира на фиг.1 при рассмотрении со стороны, которая не видна на фиг.1;
фиг.5b – вид шарнира на фиг.2 вдоль оси 2 на фиг.2;
фиг.5с – вид шарнира на фиг.3 вдоль оси Y на фиг.3;
фиг.5d – вид шарнира на фиг.4 вдоль оси Y на фиг.4;
фиг.6 – вид в разрезе элемента, показанного на фиг.1, при рассмотрении вдоль плоскости I-I на фиг.5;
фиг.7 – аксонометрический вид в разрезе элемента, показанного на фиг.6;
фиг.8 – вид в разрезе элемента, показанного на фиг.6, при рассмотрении в направлении D1 на фиг.6;
фиг.9 – вид в разрезе элемента, показанного на фиг.6, при рассмотрении в направлении D2 на фиг.6;
фиг.10 – аксонометрический вид охватываемого элемента первого шарнира, показанного на фиг.2-4;
фиг.11 – вид элемента, показанного на фиг.10, при рассмотрении в направлении D3 на фиг.10;
фиг.12 – вид элемента, показанного на фиг.10, при рассмотрении в направлении D4 на фиг.11;
фиг.13 – вид элемента, показанного на фиг.10, при рассмотрении в направлении D5 на фиг.11;
фиг.14-16 – просматриваемые насквозь виды трех последовательных положений второго шарнира согласно настоящему изобретению;
фиг.17 – вид охватываемого элемента шарнира, показанного на фиг.14-16;
фиг.18 – аксонометрический вид элемента, показанного на фиг.17;
фиг.19 – вид элемента, показанного на фиг.17, при рассмотрении в направлении D6 на фиг.17;
фиг.20 – вид элемента, показанного на фиг.17, при рассмотрении в направлений D7 на фиг.17;
фиг.21 – аксонометрический вид охватываемого элемента шарнира, показанного на фиг.14-16;
фиг.22 – вид элемента, показанного на фиг.21, при рассмотрении в направлении D8 на фиг.21;
фиг.23 – вид элемента, показанного на фиг.22, при рассмотрении в направлении D9 на фиг.22;
фиг.24 – вид элемента, показанного на фиг.22, при рассмотрении в направлении D10 на фиг.22;
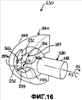
фиг.25-27 – перспективные виды трех последовательных положений заушника очков, объединенного с шарниром согласно настоящему изобретению;
фиг.28 – общий вид, иллюстрирующий шаровую головку, удерживаемую, по меньшей мере, четырьмя точками контакта, расположенными на сферической поверхности согласно вершинам пирамиды, содержащей ее центр.
На фиг.2-4 и фиг.5b, с и d первый шарнир согласно настоящему изобретению в целом обозначен позицией 30. Он содержит опорный охватывающий элемент 40 в форме полуоболочки, в который помещен охватываемый элемент 80, имеющий шаровую головку.
Опорный элемент 40, показанный отдельно на фиг.5-9, содержит полукруглый конец 42, соединенный с полуоболочкой 44, ограничивающей полость 46 в форме шарового сегмента с высотой, которая больше радиуса, т.е. по форме похожей на шар без верхней части. В конце 42 имеется полукруглая полость 42, которая простирается по направлению оси – вдоль оси X – и сообщается с полостью 46 через полукруглое отверстие 50, радиус которого меньше радиуса полукруглой полости 48 на конце 42. Следует отметить, что в этой конструкции центр полости 46 лежит на оси X.
Внутри полости 46 полуоболочки 44 от ее поверхности вблизи отверстия 50 выдается выступ 52. Этот выступ 52 по существу занимает объем половины прямоугольного сектора шара, т.е. одну восьмую часть шара, образующего полость 46, при этом он имеет три полностью открытые поверхности 54, 56, 58, которые принадлежат трем взаимно перпендикулярным плоскостям. Поверхности 54 и 56 параллельны оси X, в то время как поверхность 58 перпендикулярна к этой оси и параллельна другой оси Y. Дополнительная ось Z перпендикулярна к плоскости, определяемой осями X и Y.
Каждая из поверхностей 54 и 56 имеет углубление 60, в то время как края выступа 52, которые не параллельны оси X, не являются острыми, а скорее профилированы таким образом, чтобы определять стенки 62, 64, которые являются вогнутыми и сходящимися по направлению к вогнутой поверхности 66.
Элемент 80 (см. фиг.10-13) содержит стержень 82, вытянутый вдоль продольной оси X1, и головку 84. Головка 84 имеет выемку 85, которая может рассматриваться как ограниченная помещенными друг на друга полушаром 86 и половиной 90 прямоугольного сектора шара (одной четвертой частью или четвертью полушара 86 или эквивалентной одной восьмой частью полного шара, который образовывал бы головку 84); следовательно, указанная выемка 85 образована прямоугольным сектором шара 85а и одной восьмой частью 85b шара (см. фиг.11, 12 и 13). Половина 90 прямоугольного сектора шара имеет две плоские поверхности 91а, 91b, простирающиеся перпендикулярно друг к другу, при этом каждая из них имеет выпуклый выступ 95 (следовательно, выемка 85 равна 3/8 части полного шара, который образовывал бы головку 84). Полушар 86 имеет экваториальную поверхность 92, которая лежит в плоскости, определяемой осью Х1 и осью Y1, перпендикулярными друг к другу, и от которой перпендикулярно простираются половина 90 прямоугольного сектора шара и два полуцилиндрических ребра 94, 96, которые перпендикулярны друг к другу и параллельны осям соответственно X1 и Y1. Эти ребра радиально сходятся в центральном полушаре 98, который частично находится в половине 90 прямоугольного сектора шара. В результате этого из экваториальной поверхности 92 оказываются открытыми три квадранта 93а, 93b и 93с, в то время как поверхности 91а, 91b половины 90 прямоугольного сектора шара перпендикулярны к поверхности 92 и параллельны оси Z, которая, в свою очередь, перпендикулярна к осям Х1 и Y1.
На фиг.2-4 и 5b-5d, элемент 40 является неподвижным, т.е. удерживается в неподвижном положении; ниже описывается принцип действия шарнира 30. В то время как на фиг.1 опорный элемент 40 показан в отделенном состоянии, на фиг.2 этот опорный элемент 40 показан в состоянии, в котором он соединен с элементом 80 в виде шаровой головки (это соединение может осуществляться, например, способами горячего соединения во время изготовления шарнира). Эта шаровая головка 84 помещена в полость 46 полуоболочки 44, диаметр головки 84 несколько меньше диаметра полости 46, так что головка 84 может поворачиваться вокруг своего собственного центра – который, однако, поддерживается неподвижным – внутри указанной полости 46.
Шарнир 30 может занимать, в основном, три рабочих положения, из которых два положения являются устойчивыми, а одно положение – промежуточным. На фиг.2 и 5b показано первое положение из указанных устойчивых положений. Удлиненный стержень 82 элемента простирается через полукруглое отверстие 50, которое имеет соответствующий диаметр (следует отметить, что оси Х, Х1 Y, Y1 являются совпадающими), в то время как поверхность 91а половины 90 сектора шара упирается в поверхность 54 выступа 52. Выступ 95 на поверхности 91а имеет такие размеры и форму, чтобы впритирку соответствовать углублению 60 в поверхности 54, в которое он должен вставляться. Этот факт в дополнение к опоре удлиненного стержня 82 в полукруглом отверстии 50 способствует удержанию двух элементов 40, 80 в устойчивом положении относительно друг друга.
На фиг.3 и 5 с показано промежуточное положение. Двигая в плоскости XZ, поворачивают элемент 80 на 90° в направлении по часовой стрелке вокруг оси Y1 относительно элемента 40. Шаровая головка 84 подвергается аналогичному повороту в полости 46, и в этом новом положении она больше не упирается в поверхность 54 выступа 52, которая теперь находится в разомкнутом положении, в то время как, однако, происходит упор поверхности 58 выступа 52 в квадрант 93b полушара 86.
На фиг.4 и 5b показано второе устойчивое положение. Весь элемент 80 поворачивают вокруг его продольной оси XI на 90° в направлении по часовой стрелке, т.е. в направлении, обозначенном как F на фиг.4 и 5d. Снова изменяются упоры внутри полости 46: в этот момент фактически существует упор поверхности 54 выступа 52 в квадрант 93 с полушара 86 и другой упор поверхности 56 выступа 52 в поверхность 91b половины 90 прямоугольного сектора шара. И в этом случае выступ 95 на поверхности 91b, который имеет такие размеры и форму, чтобы соответствовать углублению 60 в поверхности 56 впритирку, входит в это углубление, что тем самым способствует большей устойчивости двух элементов 40, 80 относительно друг друга.
Из вышеизложенного описания можно легко понять, что выступ 52 ограничен в пределах выемки 85, т.е. удерживается в этой выемке, которая имеет два последовательных отдельных пространства, т.е. части 85а, 85b шара, которые определяют путь перемещения указанного выступа 52 при движении головки 84 и полуоболочки 44 относительно друг друга. В результате этого этот путь направленного перемещения выступа 52, в свою очередь, направляет головку 84, тем самым определяя движения, которые ей допускается осуществлять относительно полуоболочки 44.
Точность как трех вышеописанных положений, так и движений элемента 80 обеспечивает не только соответственно достаточный зазор, имеющийся между полостью 46 и головкой 84, но также и пара других факторов. Первым из этих факторов является способ стабилизации, при котором поверхность 91а половины 90 прямоугольного сектора шара скребет по поверхности 54 выступа 52 во время первого поворота, что способствует удержанию элемента 80 в плоскости XZ, и способ, при котором средний полушар 98 элемента 40 постоянно скребет по вогнутой поверхности 66 – имеющей соответствующий радиус кривизны – выступа 52. Другим фактором является наличие ребер 94, 96 элемента 40, которые входят в стенки 62, 64 выступа 52, имеющие соответствующую вогнутость.
На фиг.14-16 шарнир согласно второму варианту осуществления настоящего изобретения обозначен позицией 130 и показан на просматриваемых насквозь видах для того, чтобы лучше иллюстрировать его внутреннее устройство. Этот шарнир содержит охватывающий опорный элемент 140 в форме полуоболочки, в который помещен охватываемый элемент 180, имеющий шаровую головку.
Опорный элемент 140, который отдельно показан на фиг.17-20, содержит полуоболочку 144, которая в своей плоской поверхности 145 снабжена полостью 146 в форме шарового элемента с высотой, которая больше радиуса, т.е. по форме похожей на шар без его верхней части. Полость 146 по направлению оси – вдоль оси Х2, простирающейся параллельно указанной поверхности 145 – сообщается с полукруглым отверстием 150, радиус которого меньше радиуса полости 146 и которое открывается на вторую поверхность 147 полуоболочки 144, которая перпендикулярна к вышеупомянутой верхней поверхности и простирается параллельно содержащейся в ней оси Y2. На краях отверстия 150 предусмотрены два выпуклых выступа 199 при диаметрально противоположном размещении относительно друг друга. Следует отметить, что в этой конструкции центр полости 146 лежит на оси Х2, а поверхность 145 перпендикулярна к оси Y2.
Внутри полости 146 в месте напротив отверстия 150 расположен выступ 152, выдающийся от поверхности полости и имеющий в поперечном сечении форму по существу правильного квадрата с вогнутыми сторонами. Следовательно, этот выступ 152 содержит четыре вогнутые боковые стенки 162 а, b, с, d, которые простираются по направлению к вогнутой концевой поверхности 166.
Элемент 180 с шаровой головкой (см. фиг.21-24) содержит стержень 182, вытянутый вдоль продольной оси Х3, и головку 184. Головка 184 имеет непрерывную выемку 186, состоящую из двух экваториальных пазов 187, 188, каждый из которых простирается – перпендикулярно друг к другу – на дуге около 90°. Так как эти пазы 187, 168 имеют постоянную радиальную глубину, то их низ практически образует сферическую зону 192, принадлежащую сфере, имеющей радиус меньше, чем у головки 184, в то время как их оконечности определяют две радиальные стенки 194, 196. При такой конструкции радиальная стенка 196 параллельна оси Х3, в то время как радиальная стенка 194 параллельна оси Y3, которая перпендикулярна оси Х3. Вблизи этих радиальных стенок 194, 196 выполнены два выпуклых выступа соответственно 195а, b и 197а, b.
Теперь со ссылкой на фиг.14-16 будет описан принцип действия шарнира 130. Нa фиг.14 показан опорный элемент 140 в состоянии, в котором он соединен с элементом 180 с шаровой головкой (это соединение может быть осуществлено, например, способами горячего соединения во время изготовления шарнира). Шаровая головка 184 помещена в полость 146 полуоболочки 144. Диаметр головки 184 несколько меньше диаметра полости 146, так что головка 184 может вращаться в указанной полости 146 вокруг своего собственного центра – который, однако, удерживается неподвижным – без выскальзывания или выхода каким бы то ни было образом из той же самой полости 146.
Шарнир 130 также допускает, в основном, три рабочих положения, из которых два положения являются устойчивыми, а одно положение – промежуточным. Удлиненный стержень 182 элемента 180 простирается через полукруглое отверстие 150, которое имеет соответствующий диаметр (следует отметить, что ось Х2 и ось Х3 являются совпадающими, в то время как ось Y3 перпендикулярна к осям Х2 и Y2), при этом выступ 152 входит в выемку 186, в частности, в паз 188. Следует отметить, что два выступа 197а, b головки 164 входят в соответствующие вогнутые стенки 162b, d выступа 152 (эти выступы могут выдвигаться и защелкиваться вследствие упругой деформации после незначительного давления), в то время как сам выступ 152 находится вблизи радиальной стенки 196 паза 188. Этот факт в дополнение к стыкованию удлиненного элемента 182 с выступами 199 в полукруглом отверстии 150 способствует удержанию двух элементов 140, 180 в устойчивом положении относительно друг друга.
На фиг.15 показано промежуточное положение. Поворачивают элемент 180 на 90° в направлении по часовой стрелке вокруг оси Y3 относительно элемента 140 в плоскости Х2-Y2, тем самым передвигая в положение, в котором он перпендикулярен к поверхности 145 и параллелен оси Y2. Шаровая головка 184 подвергается аналогичному повороту в полости 146 (два выступа 197 а, b головки 184 выдвигаются из соответствующих вогнутых стенок 162 b, d), и в этом новом положении выступ 152 после передвижения вдоль всего паза 188 находится теперь в углу, образованном двумя пазами 188 и 187. Следует отметить, что оси Y2 и Х2 теперь параллельны друг другу.
На фиг.16 показано второе устойчивое положение. Весь элемент 180 поворачивают вокруг его продольной оси на 90° в направлении по часовой стрелке, т.е. в направлении вращения, обозначенном как R1 на фиг.16. Выступ 152 после передвижения вдоль всего паза 187 теперь находится вблизи радиальной стенки 194 того же самого паза 187. Два выступа 195 а, b головки 184 теперь входят в соответствующие вогнутые стенки 162 с, 162 а выступа 152 (в которые они входят вследствие упругой деформации после незначительного давления на них). Это эффективно удерживает два элемента 140, 180 в устойчивом положении относительно друг друга.
Из вышеизложенного описания можно легко понять, что выступ 152 ограничен в пределах выемки 186, т.е. удерживается в этой выемке, которая имеет два последовательных отдельных пространства, т.е. пазы 187 и 188, которые определяют путь перемещения указанного выступа 152 при движении головки 184 и полуоболочки 144 относительно друг друга. В результате этого этот путь направленного перемещения выступа 152, в свою очередь, направляет головку 184, тем самым определяя движения, которые ей допускается совершать относительно полуоболочки 144.
Точность как трех вышеописанных положений, так и движений элемента 180 обеспечивает не только соответственно небольшой зазор, имеющийся между полостью 146 и головкой 184, но также и четыре других фактора. Первым из этих факторов является способ стабилизации, при котором выступ 152 ограничен в пределах паза 188 во время первого поворота, что является эффективным для удержания элемента 180 в плоскости Х2-Y2, и в пределах паза 187 во время второго поворота. Второй фактор заключается в наличии выступов 195а, b и 197а, b в головке 184, входящих в соответствующие вогнутые стенки 162a, b, c, d выступа 152, в то время как третьим фактором является соединение вогнутой поверхности 166 со сферической поверхностью 192 в контакте друг с другом. Наконец, четвертым фактором является сцепление стержня 182 и выступов 199 друг с другом в положении, в котором указанный стержень 182 находится в отверстии 150 (фиг.14).
В качестве примера применения двух вышеописанных шарниров согласно настоящему изобретению теперь следует сослаться на иллюстрации, приведенные на фиг.25-27. На этих чертежах показаны три последовательных движения, осуществляемые заушником 220 пары очков 220 относительно оправы 210, несущей линзы тех же самых очков (другой заушник содержит сходный шарнир, позволяющий ему совершать движение, сходное с движением первого заушника). Элемент 40 (или 140) – это тот же самый заушник 220, на концевой части которого выполнена за одно целое оболочка 44 (144), формованная за одно целое с ней наиболее подходящим способом, в то время как по сторонам оправы 210 за одно целое выполнены элементы 80 (или 180) с шаровыми головками (см. части, окруженные на чертежах кружками из пунктирной линии). Из этих иллюстраций можно легко оценить простоту практического воплощения шарнира, способного обеспечить такую сложную группу движений.
Другим возможным вариантом осуществления настоящего изобретения может быть использование выступа на шаровой головке для соединения с пазом, выполненным на поверхности соответствующей полости опорного элемента, в котором помещена такая шаровая головка. Специалисты в данной области техники могут легко понять, как можно без какой-либо трудности преобразовать в этом конструктивном варианте шарнира элементы и приспособления, использованные в двух вышеописанных вариантах выполнения шарнира согласно настоящему изобретению.
Кроме того, движение шаровой головки может быть более сложным, чем вышеописанное движение, и практически включать в себя более двух поворотов вдоль экваторов той же самой головки, с другими пространственными углами, устойчивыми положениями и промежуточными положениями. Выемка, выполненная в шаровой головке, в общем, может быть равна любой части любого шарового сегмента, в то время как указанный выступ сам может составлять соответствующую часть шарового сегмента меньшего размера, так чтобы он мог свободно двигаться в выемке.
Условием, согласно которому головка охватываемого элемента должна удерживаться в соответствующей полости охватываемого элемента посредством, по меньшей мере, четырех точек контакта, расположенных на сферической поверхности согласно вершинам пирамиды, включая ее центр, является геометрическое ограничение для структуры полости, определяемое требованием того, чтобы головка могла вращаться вокруг ее центра без прямолинейного перемещения. Следовательно, существует ряд различных вариантов, которые могут предполагаться для полости, предназначенной для приема шаровой головки. Как наиболее очевидно, сферическая поверхность – это идеальная поверхность, которая так или иначе отнюдь не должна применяться в виде материальной поверхности, как это имеет место в случае вышеописанных вариантов осуществления изобретения, так как четыре точки опоры могут, например, оказаться вполне соответствующими и достаточными для этой цели (см. фиг.28). В этом случае прямолинейное движение шаровой головки 1000 охватываемого элемента (не показан) предотвращается посредством четырех конических зубьев 1100, расположенных на охватывающем элементе (не показан) согласно вершинам пирамиды с треугольным основанием.
Как предполагается, шарнир согласно настоящему изобретению может иметь различные другие варианты выполнения и их разновидности, так как специалист в данной области техники будет вполне способен придумать, как приспособить шарнир к конкретному случаю применения или подчинить конкретным потребностям. В частности, охватываемому элементу 80, 180 и охватывающему элементу 40, 140 могут быть приданы другие сопряженные или дополнительные формы в отношении сочлененной части шарнира (например, фланцев осей, фиксаторов, опорных средств, опор или подшипников и т.п.).
Во всяком случае понятно, что все возможные незначительные отклонения от сущности изобретения, показанной в предшествующем описании со ссылкой на сопровождающие чертежи, не выходят за пределы настоящего изобретения, определенные в прилагаемой формуле изобретения.
Формула изобретения
1. Шаровой шарнир (30; 130) для соединения вместе двух элементов, охватываемого и охватывающего, пространственно ориентируемых относительно друг друга, при этом охватываемый элемент (80; 180) имеет по существу сферическую головку (84; 184), охватывающий элемент (40; 140) имеет две полуоболочки с полостью (46; 146), приспособленной для удерживания головки с возможностью ее поворота без прямолинейного перемещения, при этом полость (46; 146) или головка (84; 184) имеет выдающийся выступ (52; 162), который, когда два указанных элемента собраны вместе, упирается своими поверхностями (54; 56; 58; 162а; 162b; 162с; 162d) в соответствующие поверхности (91а; 93b; 93с; 91b; 195a; 195b; 197а; 197b) головки (84; 184) или полости (46; 146), так что выступ (52) ограничен в движении и удерживается в пределах стенок выемки (85; 186), при этом указанная выемка определяет путь направленного перемещения (85; 186) для указанного выступа (52; 152), тем самым определяя движения, которые допускается осуществлять головке относительно полуоболочки, отличающийся тем, что указанная выемка ограничена стенками, которые расположены так, чтобы определять путь перемещения (85; 186) для выступа с возможностью направления головки (84; 184) с двумя последовательными поворотами вокруг двух отдельных осей, проходящих через центр головки, с возможностью обеспечения устойчивого положения двух указанных элементов относительно друг друга.
2. Шаровой шарнир (30; 130) по п.1, в котором указанные оси являются перпендикулярными.
3. Шаровой шарнир (30; 130) по п.1, в котором указанные, по меньшей мере, два последовательных поворота охватывают протяженность около 90°.
4. Шаровой шарнир (30; 130) по п.1, в котором указанный выступ (52; 152) и указанная выемка (85; 186) содержат сопряженно профилированные поверхности (50, 60, 62, 64, 66, 94, 95, 96, 98; 162a, 162b, 162 с, 162d, 166, 192, 195a, 195b, 197a, 197d), которые выполнены с возможностью входить друг в друга для стабилизации указанных двух элементов (40, 80; 140, 180) в их положении относительно друг друга.
5. Шаровой шарнир (30; 130) по п.1, в котором указанная головка (84; 184) содержит выемку (85; 186), в которой ограничен выступ (52; 152), выполненный в полости (46; 146) указанного второго элемента (40; 140).
6. Шаровой шарнир (30) по п.5, в котором указанная головка (84) является шаровой, указанная выемка (85) равна части (85а, 85b) шарового сегмента, и указанный выступ (52) равен части шарового сегмента меньшего размера, ограниченной с соответствующим зазором внутри указанной выемки (85).
7. Шаровой шарнир (30) по п.6, в котором указанная выемка (85) по существу равна трем восьмым частям головки (84); указанная головка (84) образована в результате совмещения полушара (86) и четверти (90) указанного полушара (86), помещенной на экваториальную поверхность (92) указанного полушара (86) и имеющей две плоские поверхности (91а, 91b), которые перпендикулярны друг другу; и указанный выступ (52) равен одной четвертой части указанного полушара (86) и имеет три открытых поверхности (54, 56, 58), принадлежащих трем плоскостям, которые перпендикулярны друг другу.
8. Шаровой шарнир (30) по п.7, в котором первый элемент (80) содержит удлиненный стержень (82), жестко соединенный с указанной головкой (84), копланарный с указанной экваториальной поверхностью (92) и параллельный поверхности (91а) указанной четверти (90), и в котором указанный второй элемент (40) содержит полукруглый конец (42), соединенный с полуоболочкой (44), в которой выполнена указанная полость (46), при этом указанный конец (42) имеет полукруглую полость (48), простирающуюся по направлению оси для сообщения с указанной полостью (46) и выполненную с возможностью приема указанного удлиненного стержня (82) в положение, в котором указанный выступ (52), который выдается от указанной полости (46) вблизи указанного конца (42), размещен бок о бок с указанной четвертью (90).
9. Шаровой шарнир (30) по п.7, в котором указанная экваториальная поверхность (92) снабжена приподнятыми ребрами (94, 96), которые перпендикулярны друг другу и радиально сходятся в центральный полушар (98), который частично содержится в указанной четверти (90).
10. Шаровой шарнир (30) по п.7, в котором поверхности (54, 56) выступа (52) содержат каждая углубление (60), выполненное с возможностью насаживаться на соответствующие выступы (95), выполненные на поверхностях указанной четверти (90).
11. Шаровой шарнир (30) по п.9, в котором выступ (52) имеет края со скошенными поверхностями, которые профилированы таким образом, чтобы определять вогнутые стенки (62, 64), которые являются сопряженными с указанными ребрами (94, 96) и сходящимися к вогнутой поверхности (66), которая является сопряженной с указанным центральным полушаром (98), образованным на указанной экваториальной поверхности (92), и опирающейся на него.
12. Шаровой шарнир (130) по п.5, в котором головка (184) является шаровой, а указанная выемка является непрерывной выемкой (186), состоящей из двух экваториальных пазов (187, 188), перпендикулярных друг другу, которые простираются каждый по дуге около 90° и определяют две радиальные стенки (194, 196) на своих двух оконечностях, и в котором указанный выступ (152), ограниченный с зазором внутри указанной выемки (186), имеет поперечное сечение, соответствующее ширине указанных пазов (187, 188).
13. Шаровой шарнир (130) по п.12, в котором указанный выступ (152) имеет в поперечном сечении форму по существу квадрата с вогнутыми сторонами, и указанный выступ (152) содержит четыре вогнутые боковые стенки (162а, b, с, d), которые простираются к вогнутой концевой поверхности (166).
14. Шаровой шарнир (130) по п.13, в котором указанные пазы (187, 188) имеют постоянную радиальную глубину, и их низ образует сферическую зону (192), принадлежащую сфере, имеющей радиус меньше, чем у головки (184), и выполненную с возможностью вхождения в контакт с указанной вогнутой концевой поверхностью (166).
15. Шаровой шарнир (130) по п.13 или 14, в котором вблизи радиальных стенок (194, 196) расположены два выпуклых выступа (195а, b и 197а, b), выполненные с возможностью вхождения в указанные вогнутые стенки (162a, b, c, d).
16. Шаровой шарнир (130) по п.12, в котором указанный первый элемент (180) содержит удлиненный стержень (182), который является жестко соединенным с указанной головкой (184), копланарным с пазом (186) и перпендикулярным к другому пазу (187).
17. Шаровой шарнир (130) по п.16, в котором второй элемент (140) содержит полуоболочку (144), в которой выполнена полость (146), которая по направлению оси сообщается с полукруглым отверстием (150), имеющим радиус меньше, чем у полости (146), открывающимся в поверхности (147) полуоболочки (144) и выполненным с возможностью вмещения указанного удлиненного стержня (182), при этом указанный выступ (152) находится диаметрально противоположно указанному отверстию (150).
18. Шаровой шарнир (130) по п.17, в котором края отверстия (150) снабжены двумя выпуклыми выступами (199), находящимися диаметрально противоположно друг другу.
19. Шаровой шарнир (130) по п.1, в котором указанной выемкой является паз, который выполнен в указанном втором элементе с возможностью передвижения в нем выступа, выполненного за одно целое с указанной головкой указанного первого охватывающего элемента.
20. Очки (200), имеющие заушники (220), сочлененные с оправой (210) посредством шарнира (30; 130) по любому из предшествующих пунктов.
РИСУНКИ
|
|