|
|
(21), (22) Заявка: 2007129677/28, 10.01.2006
(24) Дата начала отсчета срока действия патента:
10.01.2006
(30) Конвенционный приоритет:
02.02.2005 GB 0502091.2
(43) Дата публикации заявки: 10.03.2009
(46) Опубликовано: 27.12.2009
(56) Список документов, цитированных в отчете о поиске:
US 20020070256 A1, 13.06.2002. US 5108021 А, 28.04.1992. US 4315584 A, 16.02.1982.
(85) Дата перевода заявки PCT на национальную фазу:
03.09.2007
(86) Заявка PCT:
GB 2006/000090 20060110
(87) Публикация PCT:
WO 2006/082355 20060810
Адрес для переписки:
107061, Москва, Преображенская площадь, 6, ООО Фирма патентных поверенных “ИННОТЭК”
|
(72) Автор(ы):
ВАТТЕ Ян (BE), ПЛЕЗЬЕ Ивет Жожьен (BE), ВАНДЕНБРУК Ян (BE)
(73) Патентообладатель(и):
ТАЙКО ЭЛЕКТРОНИКС РЕЙКЕМ НВ (BE)
|
(54) УСТРОЙСТВО ДЛЯ РАСКАЛЫВАНИЯ ОПТИЧЕСКИХ ВОЛОКОН
(57) Реферат:
Изобретение относится к устройствам для раскалывания оптических волокон, в частности к ручным портативным инструментам. Технический результат направлен на высококачественное сращивание и надежность оптических волокон. Механизм для раскалывания оптических волокон содержит средство для раскалывания волокон и один или более зажимных элементов, способных зажимать оптическое волокно с одного его конца, который должен быть отколот, и прикладывать тянущее усилие, чтобы растянуть волокно при раскалывании волокна. Причем механизм устроен таким образом, что зажимной элемент (элементы) способен также выталкивать расколотую часть волокна после раскалывания волокна при помощи устройств, позволяющих зажимным элементам (элементу) продолжать прикладывать тянущее усилие к расколотой части волокна после раскалывания волокна. При этом зажимной элемент или каждый зажимной элемент (элементы) ослабляет свой зажим на отколотой части волокна во время движения отколотой части волокна. 10 з.п. ф-лы, 15 ил.
Настоящее изобретение относится к устройствам для раскалывания оптических волокон, в частности к ручным портативным инструментам. Настоящее изобретение также относится к механизму для раскалывания оптических волокон, главным образом, для получения торцевых скошенных граней волокон, пригодных для сращивания посредством устройства для сращивания волокон.
Имеется два известных основных способа сращивания вместе оптических волокон: механическое сращивание и сращивание оптических волокон сплавлением (торцов). Механическое сращивание имеет то преимущество, что оно не требует использования инструментов с электрическим приводом и, следовательно, оно пригодно для использования на месте в оптической сети связи, например, во внешней окружающей среде или в помещениях пользователя в зависимости от местоположения в сети, где требуется сращивание. Хотя могут быть сделаны высоконадежные механические соединения оптических волокон встык, механические соединения оптических волокон встык часто не обеспечивают низких оптических потерь или долговременной надежности сращиваний оптических волокон сплавлением торцов. Следовательно, для многих ситуаций сращивания оптических волокон сплавлением торцов являются предпочтительными перед механическими сращиваниями оптических волокон встык.
Для сращивания оптических волокон сплавлением торцов, в которых торцы оптических волокон сплавляют вместе (например, посредством электрического разряда, прикладываемого к концам волокон), требуется электрическая мощность. Известны портативные ручные инструменты для сращивания оптических волокон сплавлением торцов, работающие от аккумулятора, которые используют для получения сращиваний оптических волокон сплавлением торцов на месте. Однако, хотя проблема портативности частично решена благодаря таким портативным устройствам для сращивания оптических волокон, остается другая проблема, связанная с формированием на месте сращиваний оптических волокон сплавлением торцов; это – проблема подготовки торцевых поверхностей оптических волокон так, чтобы между торцевыми поверхностями могло быть образовано удовлетворительное сращивание сплавлением торцов. Для образования удовлетворительного сращивания оптических волокон сплавлением торцов необходимо обеспечить получение высококачественных чистых торцевых поверхностей оптических волокон; это требует раскалывания волокон для удаления их существующих концевых частей и получения свежих высококачественных торцевых поверхностей. Известны портативные инструменты для раскалывания оптических волокон, однако для получения торцевых поверхностей оптических волокон достаточно высокого качества для образования высококачественных сращиваний оптических волокон сплавлением торцов, в общем, требуется устойчивая рабочая платформа для портативного инструмента для раскалывания оптических волокон. Следствием этого является то, что как только оптическое волокно расколото, устройство для раскалывания оптического волокна по плоскости должно быть отведено в сторону и расколотое оптическое волокно должно быть перемещено к сращивающему инструменту.
Настоящее изобретение направлено на решение вышеуказанной проблемы и на обеспечение возможности образования истинно высококачественных сращиваний оптических волокон сплавлением торцов по месту надежным и обычным образом.
В соответствии с этим первый аспект настоящего изобретения обеспечивает механизм для раскалывания оптических волокон, предусматривает получение средства для раскалывания волокон и одного или более зажимных средств, способных зажимать оптическое волокно и прикладывать тяговое усилие для растягивания оптического волокна, в то время как волокно раскалывается, причем зажимной элемент (элементы) также обеспечивает выталкивание отколотой части оптического волокна, как только оптическое волокно было расколото.
Предпочтительные варианты осуществления, соответствующие настоящему изобретению, имеют то преимущество, что благодаря комбинированию механизма для сращивания оптических волокон и механизма для раскалывания оптических волокон в одном устройстве устраняется проблема передачи расколотых оптических волокон из устройства для раскалывания оптических волокон к отдельному устройству для сращивания оптических волокон (что связано с риском загрязнения и повреждения оптических волокон).
В предпочтительных вариантах осуществления настоящего изобретения механизм для сращивания оптических волокон устройства является механизмом для сращивания оптических волокон сплавлением торцов, предназначенным для образования сращиваний оптических волокон сплавлением торцов. Таким образом, механизм для сращивания оптических волокон предпочтительно может включать в себя электроды, расположенные для обеспечения электрического разряда для создания сращивания оптических волокон сплавлением торцов между оптическими волокнами.
Механизм для раскалывания оптического волокна устройства предпочтительно способен раскалывать оптическое волокно для получения торца оптического волокна, пригодного для сращивания с торцом другого оптического волокна посредством механизма для сращивания оптических волокон. Механизм для раскалывания оптического волокна более предпочтительно способен раскалывать оптическое волокно для получения торцевой поверхности оптического волокна, которая по существу перпендикулярна продольной оси оптического волокна.
Механизм для раскалывания оптического волокна может содержать средство для раскалывания оптического волокна, главным образом, рабочий орган для раскалывания оптического волокна, например, лезвие, главным образом, режущую пластину (надрезающее лезвие) для образования зарубки на оптическом волокне, побуждающей трещину распространяться через оптическое волокно, обеспечивая в соответствии с этим раскалывание оптического волокна. Режущая пластина для образования зарубки предпочтительно выполнена в виде диска для образования зарубки. Диск для образования зарубки может, например, иметь алмазное лезвие или вместо этого может быть использована другая форма режущей пластины для образования зарубки, например, образованная из алмаза. Механизм для раскалывания оптического волокна может дополнительно или в качестве альтернативы содержать опору, которая побуждает оптическое волокно изгибаться во время раскалывания (например, в то время как оптическое волокно получило зазубрину посредством режущей пластины). Механизм для раскалывания оптического волокна может включать в себя один или более зажимных и/или поддерживающих оптическое волокно элементов, предназначенных для зажимания и/или поддержания оптического волокна во время его раскалывания.
Отколотая часть оптического волокна предпочтительно выталкивается посредством зажимного элемента (элементов), продолжающих прикладывать тянущее усилие к отколотой части оптического волокна после раскалывания. Один или каждый зажимной элемент предпочтительно ослабляет зажим на отколотой части оптического волокна после раскалывания.
Один или каждый зажимной элемент предпочтительно способен вращаться вокруг оси, ориентированной в принципе перпендикулярно продольной оси оптического волокна, зажатого зажимным элементом. Тянущее усилие, прикладываемое к оптическому волокну одним или каждым зажимным элементом, может, например, быть приложено путем приложения крутящего момента к зажимному элементу.
Зажимные элементы могут предпочтительно содержать пару противоположных зажимных элементов, способных зажимать оптическое волокно путем защемления оптического волокна между ними.
Зажимные элементы предпочтительно смещают для выбора открытого положения, в котором оптическое волокно, зажимаемое зажимными элементами, может быть размещено между этими элементами до тех пор, пока зажимной механизм не приведется в действие, после чего зажимные элементы зажимают оптическое волокно.
Раскалывающий механизм или устройство для сращивания оптического волокна, соответствующее настоящему изобретению, может включать в себя приемник для отходов, расположенный для приема вытолкнутых отколотых частей оптических волокон из зажимных элементов.
В особенно предпочтительных вариантах осуществления настоящего изобретения устройство дополнительно содержит один или более отдельных зажимных блоков для зажима на оптических волокнах, подлежащих раскалыванию и сращиванию посредством этого устройства. Устройство может предпочтительно включать в себя одно или более удерживающих средств для удержания зажимных блоков прижатыми к оптическому волокну в течение раскалывания оптического волокна и/или сращивания оптических волокон. Удерживающие средства могут, например, побуждать или обеспечивать возможности движения зажимного блока между механизмом для раскалывания оптических волокон и механизмом для сращивания оптических волокон. Дополнительно или в альтернативном варианте удерживающие средства могут быть расположены для позиционирования относительно друг друга концов оптических волокон, зажатых зажимными блоками так, чтобы концы оптических волокон могли быть сращены вместе посредством одного механизма для сращивания оптических волокон.
В некоторых вариантах осуществления настоящего изобретения устройство может включать в себя оптическую систему для текущего контроля, посредством которой обеспечивается текущий контроль совмещение и/или близость концов оптических волокон, зажатых зажимными блоками, например, посредством света, передаваемого, по меньшей мере, через одно из оптических волокон. Такие системы текущего контроля хорошо известны квалифицированным специалистам в этой области техники. Устройство может включать в себя систему управления, посредством которой регулируется совмещение и/или близость концов оптических волокон, зажатых зажимными блоками посредством удерживающих средств, при использовании информации о совмещении и/или близости, получаемой, например, системой текущего контроля. Устройство, особенно удерживающие средства, может включать в себя пьезоэлектрический механизм (или другой механизм) для позиционирования концов оптических волокон, зажатых зажимными блоками.
Устройство или механизм предпочтительно является портативным инструментом, главным образом ручным инструментом.
Механизм для раскалывания оптического волокна и/или механизм для сращивания оптических волокон предпочтительно является (являются) приводимым в действие электрически, предпочтительнее всего – работающим от аккумулятора.
Далее на примере будут описаны некоторые предпочтительные варианты осуществления со ссылкой на сопроводительные чертежи, где:
Фиг.1 – виды (А) и (В), иллюстрирующие первый вариант осуществления ручного портативного устройства для сращивания оптических волокон, соответствующего настоящему изобретению;
Фиг.2А – другой (частичный) вид первого варианта осуществления устройства для сращивания оптических волокон.
Фиг.2В – иллюстрация детали фиг.2А;
Фиг.3А – дополнительный (частичный) вид первого варианта осуществления устройства для сращивания оптических волокон;
Фиг.3В – деталь фиг.3А;
Фиг.4 – виды (А) и (В), иллюстрирующие второй вариант осуществления ручного портативного устройства для сращивания оптических волокон, соответствующего настоящему изобретению;
Фиг.5А – другой (частичный) вид второго варианта осуществления устройства для сращивания оптических волокон.
Фиг.5В – иллюстрация детали фиг.5А;
Фиг.6 – виды (А) и (В), иллюстрирующие дополнительные (частичные) виды второго варианта осуществления устройства для сращивания оптических волокон, соответствующего настоящему изобретению;
Фиг.7 – частичный разрез части предпочтительного механизма для раскалывания оптических волокон, соответствующего настоящему изобретению;
Фиг.8 – другой вид механизма для раскалывания оптических волокон, иллюстрируемого на фиг.7;
Фиг.9 – дополнительные виды (А) и (В) механизма для раскалывания оптических волокон, иллюстрируемого на фиг.7 и фиг.8;
Фиг.10 – иллюстрация деталей некоторых компонентов механизма для раскалывания оптических волокон, иллюстрируемого на фиг.фиг.7-9.
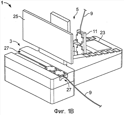
На фиг.1А и фиг.1В иллюстрируется первый вариант осуществления ручного портативного устройства 1 для сращивания оптических волокон, соответствующего настоящему изобретению. Устройство для сращивания оптических волокон содержит механизм 3 для сращивания оптических волокон и механизм 5 для раскалывания оптических волокон.
Механизм 5 для раскалывания оптических волокон по плоскости наиболее ясно иллюстрируется на фиг.2 и фиг.3; он содержит режущую пластину в виде диска 7 для образования зарубки, который подвижен по существу в плоскости диска так, чтобы он мог приближаться и делать зарубку на оптическом волокне 9, удерживаемом устройством. Как иллюстрируется, оптическое волокно 9 имеет зажимной блок 11, зажатый на нем. Зажимной блок 11 содержит основную часть 13 и две вспомогательные части 15, которые поддаются креплению (например, посредством магнитного притяжения, но возможны также другие механизмы крепления) к основной части 13 для зажима оптического волокна 9 между основной частью и каждой вспомогательной частью. Зажимной блок 11 (с оптическим волокном 9, зажатом в нем) вставлен в удерживающее средство в форме приемного паза 17 в устройстве 1 для сращивания оптических волокон так, чтобы концевая часть оптического волокна 9 принималась и зажималась в апертуре 19 в устройстве. Когда зажимной блок 11 и оптическое волокно 9 расположены так, как показано на фиг.2 и фиг.3, часть 21 оптического волокна 9, проходящая между зажимным блоком 11 и апертурой 19, ориентирована по существу перпендикулярно диску 7 для образования зарубки. После этого, как иллюстрируется на фиг.3, активируется (предпочтительно электронно посредством клавиатуры 23) механизм для раскалывания оптических волокон, побуждающий диск для образования зарубки приближаться к оптическому волокну 9 и делать на оптическом волокне зарубку. Раскалывание оптического волокна 9 завершается посредством опоры (не показана) механизма для раскалывания оптических волокон, которая отклоняет часть 21 оптического волокна, вызывая распространение трещины через оптическое волокно с зарубками на его поверхности. Раскол образует новую торцевую поверхность оптического волокна 9, которая по существу перпендикулярна продольной оси оптического волокна.
Теперь вернемся к фиг.1 (виды (А) и (В)), механизм 3 для сращивания оптических волокон устройства 1 отделен от механизма 5 для раскалывания оптических волокон поворотным экраном 25. Как только оптическое волокно расколото и создана новая перпендикулярная торцевая поверхность оптического волокна, зажимной блок/волоконный узел вручную перемещается из механизма 5 для раскалывания оптических волокон по плоскости и устанавливается в механизме 3 для сращивания оптических волокон. (Зажимной блок 11 остается зажатым на оптическом волокне 9 для последующей технологической операции сращивания.) Механизм 3 для сращивания оптических волокон включает в себя удерживающие средства в виде прецизионной платформы 27 (в общем, в виде паза, как иллюстрируется на приведенных чертежах). Как только второе оптическое волокно было расколото подобным образом, как описано выше, его зажимной блок/волоконный узел (то есть, оптическое волокно с зажимным блоком, еще зажатым на нем) вручную перемещают из механизма 5 для раскалывания оптических волокон по плоскости и также устанавливают в прецизионной платформе 27 механизма 3 для сращивания оптических волокон ориентированным так, чтобы новые торцевые поверхности двух оптических волокон были обращены друг к другу. (То есть второе оптическое волокно установлено точно в противоположной ориентации, то есть под углом 180 градусов относительно первого оптического волокна).
После этого два оптических волокна 9, подлежащих сращиванию, совмещают и проводят в надлежащую близость поверхность-поверхность для обеспечения сращивания оптических волокон сплавлением торцов посредством прецизионной платформы 27. Оптические волокна перемещаются относительно друг друга посредством их соответствующих зажимных блоков 11, которые сами движутся на прецизионной платформе 11 с помощью пьезоэлектрического механизма или другого механизма (например, электродвигателей). Надлежащее совмещение и близость, позиционирующие эти два оптических волокна, подвергаются текущему контролю и могут автоматически регулироваться с помощью оптической системы текущего контроля/управления. Эта система текущего контроля/управления использует свет, передаваемый вдоль и/или, по меньшей мере, через одно из оптических волокон, а текущий контроль и регулирования надлежащего позиционирования оптических волокон основано на свете, детектируемом из торцевых поверхностей оптических волокон и/или через оптические волокна.
Как только торцевые поверхности двух оптических волокон 9 правильно позиционированы относительно друг друга для сращивания оптических волокон сплавлением торцов, сращивание оптических волокон осуществляется посредством электродов (не показаны) механизма 3 для сращивания оптических волокон сплавлением торцов, которые создают электрический разряд, который сплавляет торцевые поверхности оптических волокон вместе благодаря локализованным повышенным температурам. В течение технологического процесса сплавления торцевые поверхности двух оптических волокон могут подталкиваться друг к другу для обеспечения гарантии правильного бездефектного сплавления. Поворотный экран 25 также является ориентированной плоскостью, так что он по существу покрывает механизм для сращивания оптических волокон и оптические волокна для защиты оператора от электрического разряда. Как только сращивание оптических волокон сплавлением торцов создано и оптические волокна охлаждены, вспомогательные части (15) удаляются из зажимных блоков 11, обеспечивая в соответствии с этим возможность удаления сплавленных оптических волокон из устройства 1.
На фиг.4-6 иллюстрируется второй предпочтительный вариант осуществления устройства для сращивания оптических волокон, соответствующего настоящему изобретению. Устройство 1 содержит механизм 3 для сращивания оптических волокон, механизм 5 для раскалывания оптических волокон по плоскости, панель 23 электронного управления и поворотный экран 25. Этот вариант осуществления настоящего изобретения подобен варианту осуществления, иллюстрируемому на фиг.1-3, за исключением того, что в этом варианте осуществления механизм 3 для сращивания оптических волокон и механизм 5 для раскалывания оптических волокон по плоскости расположены по существу параллельно друг другу, так что зажимные блоки 11, удерживающие оптические волокна, подлежащие раскалыванию по плоскости и сращиванию, являются по существу параллельными друг другу.
Механизм 5 для раскалывания оптических волокон по плоскости, соответствующий второму варианту осуществления настоящего изобретения, подробно показан на фиг.5 и фиг.6. Механизм раскалывания оптических волокон содержит две пары зажимающих оптическое волокно элементов, причем каждая пара расположена на соответствующей стороне режущей пластины 7 для образования зарубки на оптическом волокне в виде диска для образования зарубки, и центральную опору 29. Каждая пара зажимающих оптическое волокно элементов содержит неподвижный зажимной элемент 31 и подвижный зажимной элемент 33, который предпочтительно является подвижным благодаря электронике панели 23 электронного управления. При использовании подвижные зажимные элементы 33 движутся от их соответствующих неподвижных зажимных элементов 31 для обеспечения зазора между элементами, чтобы обеспечивать возможность введения оптического волокна между ними. Как показано на фиг.5, оптическое волокно 9, зажатое в зажимном блоке 11, расположено в механизме для раскалывания оптического волокна так, чтобы часть 21 оптического волокна, проходящая из торца зажимного блока, была расположена между неподвижным зажимным элементом 31 и подвижным зажимным элементом 33 каждой пары зажимных элементов. После этого, как показано на фиг.6А, каждый подвижный зажимной элемент 33 движется к своему соответствующему неподвижному зажимному элементу, зажимая в соответствии с этим оптическое волокно между элементами. Как показано на фиг.6 В, режущая пластина 7 (лезвие) для образования зарубки затем движется против оптического волокна для создания зарубки в оптическом волокне. Центральная опора 29 затем движется против оптического волокна между двумя парами зажимных элементов и прикладывает давление к оптическому волокну так, чтобы отклонить его немного в области между двух пар зажимных элементов. Как показано на фиг.6, опора 29 имеет центральный паз, ориентированный по существу перпендикулярно оптическому волокну, причем паз является смежным оптическому волокну. Оптическое волокно раскалывается опорой 29, отклоняющей оптическое волокно на обеих сторонах оптического волокна против зарубки (то есть на обеих сторонах паза в опоре), между двумя парами зажимных элементов. Такое отклонение вызывает распространение трещины через оптическое волокно от зарубки, создавая новую скошенную грань оптического волокна, которая по существу перпендикулярна его продольной оси. В качестве альтернативы режущей пластине (для образования зарубки) движущейся против оптического волокна с последующим отклонением оптического волокна опорой 29 режущая пластина 7 для образования зарубки может быть по существу неподвижной, а вместо этого образование зарубки и распространение трещины может быть достигнуто путем приложения давления опоры против оптического волокна с приложением в соответствии с этим давления против режущей пластины для образования зарубки.
На фиг.7-10 показаны различные аспекты предпочтительного механизма для раскалывания оптического волокна по плоскости, соответствующего настоящему изобретению. Иллюстрируемый механизм для раскалывания оптических волокон по плоскости может быть компонентом устройства для сращивания оптических волокон, соответствующего первому аспекту настоящего изобретения, или он может быть механизмом для раскалывания оптических волокон по плоскости, соответствующим второму аспекту настоящего изобретения.
Механизм 5 для раскалывания оптических волокон по плоскости содержит режущую пластину 45 для образования зарубки (смотри фиг.9) и пару противоположных зажимных элементов 35. Зажимные элементы 35 расположены для поворота вокруг соответствующих точек 37 поворота, причем их оси поворота ориентированы по существу перпендикулярно продольной оси оптического волокна 9, зажатого зажимными элементами. Зажимные элементы 35, фактически каждый зажимной элемент, содержат поворотные рычаги 39 и отдельную зажимную часть 41, которая входит в сцепление с концом поворотного рычага, ближайшим к оптическому волокну 9. Когда механизм для раскалывания оптических волокон по плоскости не находится в использовании, поворотные рычаги 39 зажимных элементов 35 смещены посредством соответствующих пружин 43 (смотри фиг.8) в направлениях, противоположных направлениям, указанным на фиг.7 стрелками Р, так чтобы между двумя противоположными зажимными частями 41 обеспечивался зазор. Оптическое волокно, предназначенное для раскалывания, вводят в цилиндр 43 для ввода оптического волокна до тех пор, пока концевая область оптического волокна не пройдет между противоположными зажимными частями 41, как показано на фиг.7. Когда механизм для раскалывания оптических волокон активирован (предпочтительно электронно), поворотные рычаги 39 поворачиваются в направлениях, указанных стрелками Р (для поворота) на фиг.7, благодаря приложению крутящего момента. Этот поворот поворотных рычагов 39 побуждает зажимные части 41 сталкиваться вместе вследствие взаимоблокировки каждого поворотного рычага 39 с его соответствующей захватывающей частью. Следовательно, зажимающие элементы 35 зажимают оптическое волокно 9 и также прикладывают тянущее усилие в направлении, указанном стрелкой Т (для натяжения) на фиг.7, которое приводит оптическое волокно в натяжение. После этого оптическое волокно 9 раскалывают посредством режущей пластины 45 для образования зарубки во взаимодействии с отклоняющей опорой 47, тогда как оптическое волокно поддерживается под натяжением, сообщаемым зажимными элементами 35. Отколотая часть оптического волокна 9 затем вталкивается в приемник 49 для отходов посредством зажимных элементов 35.
Как показано на фиг.8 и фиг.9, режущая пластина 45 для образования зарубки (которая предпочтительно является алмазным лезвием) переносится суппортом 51 режущей пластины. Опора 47 показана на фиг.8-10 и имеет паз 53, который выполняет подобную функцию, что и паз опоры 29, иллюстрируемой на фиг.5 и фиг.6.
Дополнительные аспекты настоящего изобретения могут стать очевидными благодаря сравнению с европейским патентом 0985160 и патентом США 6578747, выданным компании Oxford Fiber Ltd. (“Oxford”). Отмечено, что патенты Oxford ограничены инструментами для раскалывания оптических волокон по плоскости, имеющими опору, режущее средство между парой разнесенных зажимных средств, причем зажимные средства описаны как удерживающие и захватывающие и прикладывающими тянущее усилие для натяжения отрезка оптического волокна между ними. Патенты Oxford требуют, чтобы их режущая пластина 13 для раскалывания оптических волокон по плоскости образовывала зарубку в оптическом волокне, в то время как оно изгибается между близкими смежному оптическому волокну отклоняющими углами опоры 10 или одним из стационарных зажимных средств 5 или опорой 10 и дополнительным элементом 26, введенным в ограниченное пространство (например, 1 мм) между опорой 10 и зажимным средством 5.
В противоположность патентам Oxford конструкция инструмента для раскалывания оптических волокон, представленная компанией Тусо, обеспечивает другой и предпочтительный механизм, в котором режущая пластина для раскалывания оптических волокон связана с подвижным под углом (ниже «поворотным») отклоняющим оптическое волокно элементом, предпочтительно поворотной спаренный опорой, которые могут быть далеко отделены (предпочтительно более чем на 1 см, а более предпочтительно, по меньшей мере, на 2 см) от каждого зажимного элемента. Этот механизм инструмента для раскалывания оптических волокон по плоскости, предложенный компанией Тусо, может стать вполне очевидным из примера, иллюстрируемого на фиг.11-15 сопроводительных иллюстративных чертежей, которые усиливают элементы конструкции, уже описанной на фиг.7-10.
На фиг.11 иллюстрируется наша отклоняющая опора 47, которая является поворотным спаренным опорным блоком, и связанный с ним суппорт 51 режущей пластины для раскалывания оптического волокна. Отдельное управляемое рычагом зажимное средство С (подобное средству, описанному более подробно со ссылкой на фиг.7), предназначено для приложения натяжного тянущего усилия к оптическому волокну F в положении желательно ниже узла опора/лезвие.
На фиг.14 и фиг.15 соответственно иллюстрируются открытое и закрытое состояния другого зажимного элемента 60, который зажимает оптическое волокно F на другой стороне опоры (стороне, удаленной от вышеуказанного управляемого рычагом зажима С). Зажим 60 отстоит от узла режущей пластины и опоры вдоль волокна на расстояние, подобное или большее, чем расстояние зажима С от опоры.
На фиг.12 и фиг.13 более подробно показана работа поворотного опорного узла, обладающие признаками изобретения, компании Тусо. Оптическое волокно F показано на фиг.12 позиционированным в направляющих пазах G стержней R, позиционирующих оптическое волокно в боковом направлении так, чтобы оптическое волокно проходило через поперечные опоры 1 и 2. Спаренный опорный блок является поворотным в направлении стрелки А, частично регулируемым посредством иллюстрируемых стержней R’ регулирования движения в пазах, образованных в опорном блоке таким образом, чтобы двигать опору 1 под углом справа налево (стрелка А’) и опору 2 под углом слева направо (стрелка А”). На фиг.13 иллюстрируется узел после того, как угловое движение изогнуло оптическое волокно F вокруг действующих в противоположном направлении опор 1 и 2, готовых для движения лезвия 62 для образования зарубки и раскалывания изогнутого оптического волокна. После раскалывания оптического волокна опорный блок возвращается в его исходное положение, будучи готовым для приема следующего оптического волокна, подлежащего раскалыванию.
В качестве альтернативы можно располагать поворотный спаренный опорный блок так, чтобы любая из опор оставалась более или менее неподвижной относительно оптического волокна, тогда как другая опора двигалась под углом для выполнения изгиба оптического волокна между противоположно действующими углами опор.
Направляющие пазы G стержней R предпочтительно имеют такие размеры, чтобы давать возможность относительно свободного продольного движения оптического волокна F в пазах, тогда как продольное тяговое усилие прикладывается к оптическому волокну вышеупомянутыми дистанционными зажимами Тусо. Это отделение зажимов Тусо от окрестности узла опоры/лезвия имеет техническое преимущество упрощения получения инструмента и удобного предоставления возможности управляемому рычагом зажиму С обеспечивать выталкивание или «отстреливание» для движения отколотой концевой части каждого последующего волокна вниз в приемлемый приемник 49 для безопасной утилизации, как более подробно описано со ссылкой на фиг.7.
Поворотная отклоняющая оптическое волокно конструкция компании Тусо, обладающая признаками изобретения, может, безусловно, быть скомбинирована с любым из других элементов механизма для раскалывания оптических волокон по плоскости, описанного в этой заявке выше.
Формула изобретения
1. Механизм для раскалывания оптических волокон, содержащий средство для раскалывания волокон и один или более зажимных элементов, способных зажимать оптическое волокно с одного его конца, который должен быть отколот, и прикладывать тянущее усилие, чтобы растянуть волокно при раскалывании волокна, причем механизм устроен таким образом, что зажимной элемент (элементы) способны также выталкивать расколотую часть волокна после раскалывания волокна при помощи устройств, позволяющих зажимным элементам (элементу) продолжать прикладывать тянущее усилие к расколотой части волокна после раскалывания волокна, при этом зажимной элемент или каждый зажимной элемент (элементы) ослабляет свой зажим на отколотой части волокна во время движения отколотой части волокна.
2. Механизм по п.1, в котором зажимной элемент или каждый зажимной элемент способен вращаться вокруг своей оси, ориентированой в принципе перпендикулярно продольной оси оптического волокна, зажатого зажимным элементом.
3. Механизм по п.2, в котором тянущее усилие, приложенное к оптическому волокну зажимным элементом или каждым зажимным элементом, прикладывается путем приложения вращающего момента к зажимному элементу.
4. Механизм по любому из пп.1-3, в котором зажимные элементы содержат пару противоположных зажимных элементов, способных зажимать оптическое волокно путем защемления волокна между ними.
5. Механизм по п.1, в котором зажимные элементы смещены, чтобы принять открытое положение, в котором оптическое волокно, которое должны зажать зажимные элементы, можно поместить между зажимными элементами, пока не приведется в действие механизм раскалывания, после чего зажимные элементы зажимают волокно.
6. Механизм по п.1, в котором зажимные элементы содержат противоположные рычаги, способные к угловому перемещению вокруг оси вращения, в принципе перпендикулярной продольной оси волокна, из первого положения, где противоположные концы рычагов разделены для создания зазора, способного разместить подлежащее раскалыванию оптическое волокно, во второе положение, где указанные противоположные концы сближаются вместе (находятся ближе, чем в первом положении), чтобы зажать и создать растягивающее напряжение в оптическом волокне, размещенном в этом зазоре во время раскалывания волокна, и рычаги далее способны к угловому перемещению в том же направлении за пределы второго положения в третье положение, где эти противоположные концы еще больше расходятся (чем во втором положении), тем самым выталкивая расколотую часть волокна.
7. Механизм по п.6, в котором приведение в действие механизма для раскалывания также осуществляет угловое перемещение рычагов.
8. Механизм по п.1, дополнительно содержащий приемник для отходов, способный размещать вытолкнутую отколотую часть оптического волокна из зажимного элемента (элементов).
9. Механизм по п.1, в котором средство для раскалывания волокна содержит лезвие.
10. Механизм по п.9, в котором лезвие является надрезающим лезвием, способным надрезать оптическое волокно.
11. Механизм по п.1, включенный вместе с механизмом для сращивания волокон в устройство для сращивания оптических волокон.
РИСУНКИ
|
|