|
|
(21), (22) Заявка: 2008104946/28, 01.02.2008
(24) Дата начала отсчета срока действия патента:
01.02.2008
(43) Дата публикации заявки: 10.08.2009
(46) Опубликовано: 27.12.2009
(56) Список документов, цитированных в отчете о поиске:
RU 2325675 C2, 20.10.2007. RU 2173472 C2, 10.09.2001. US 5347380 A, 13.09.1994. RU 2174246 C2, 27.09.2001.
Адрес для переписки:
191024, Санкт-Петербург, С-24, а/я 41, А.А. Шарину
|
(72) Автор(ы):
Крапивин Владимир Леонтьевич (RU), Шарин Александр Александрович (RU)
(73) Патентообладатель(и):
Крапивин Владимир Леонтьевич (RU), Шарин Александр Александрович (RU)
|
(54) АДАПТИВНЫЙ ПОЛЯРИЗАЦИОННЫЙ РЕФЛЕКТОРНЫЙ ФИЛЬТР (АПРФ) (ВАРИАНТЫ)
(57) Реферат:
Фильтр содержит пилообразные структуры, приемник излучения, двулучепреломляющее вещество на молекулах жидких кристаллов, системы обработки сигналов и управления. Противоположные поверхности фильтра содержат системы прозрачных электродов. Направление расположения системы электродов на одной поверхности отличается от направления на другой поверхности. Двулучепреломляющее вещество заключено между ними. Процессор выработки решений обрабатывает сигналы датчика фиксации направлений и подает соответствующие сигналы на управляющее устройство, с выхода которого сигналы распределяются между системами электродов, локально модулируя создаваемое ими электрическое поле, под действием которого молекулы двулучепреломляющего вещества изменяют свою ориентацию так, что внешнее излучение, имеющее соответствующую ориентацию плоскости поляризации, отражается от двулучепреломляющего вещества. Для предупреждения падения внешнего бокового излучения, по крайней мере, перед одной пилообразной структурой введены поглощающие боковое излучение перегородки. Технический результат – создание эффективного противоослепительного фильтра с минимальными потерями и адаптивного к слепящим источникам излучения. 2 н. и 32 з.п. ф-лы, 29 ил.
Изобретение относится к устройствам защиты от ослепления и может использоваться в антиослепительных системах, базирующихся в своей работе как на поляризованном, так и на неполяризованном излучении для обеспечения безопасности, и, в частности, для обеспечения безопасности движения транспортных средств.
Известны устройства для транспортных средств, использующие фильтр для защиты от излучения [1, 2, 3, 11], а также использующие козырек или очки для защиты от поляризованного и неполяризованного излучения [4].
Недостатками известных устройств являются существенные потери принимаемого излучения [1, 2, 3], возможные помехи от бокового излучения [4], а также существенная засветка глаз при рассеивании излучения [11].
Наиболее близким по технической сущности и выбранным в качестве прототипа является “Адаптивный поляризационный отражающий фильтр” [4], содержащий поляризационный фильтр пилообразной структуры и, по крайней мере, один приемник излучения.
Недостатки прототипа:
1. При наклонном падении внешнего бокового излучения на пилообразные структуры фильтра, ортогонально вершинам их, при отражении этого излучения от поверхностей структуры возможно попадание его на приемник излучения, что может быть ошибочно идентифицировано, как излучение источника встречного транспортного средства.
2. Потери части полезного, информативного, проходящего через фильтр излучения при несогласованности показателей преломления пилообразной структуры и слоя жидкого кристалла (ЖК).
Заявляемое техническое решение в приложении к транспортным средствам направлено на создание эффективного противоослепительного фильтра с минимальными потерями и адаптивного к слепящим источникам излучения.
1. Это достигается тем, что в отличие от известного “Адаптивного поляризационного отражающего фильтра” (АПОФ), содержащего пилообразные структуры, по крайней мере, один приемник излучения, двулучепреломляющее вещество на молекулах жидких кристаллов, в котором противоположные поверхности содержат системы оптически прозрачных электродов, причем направление расположения системы оптически прозрачных электродов на одной поверхности отличается от направления расположения системы оптически прозрачных электродов на другой поверхности, а двулучепреломляющее вещество на молекулах ЖК заключено между ними, и, кроме того, содержащего систему обработки сигналов и управления, включающую пороговый датчик фиксации направлений прихода внешнего оптического излучения, процессор выработки решений и, по крайней мере, одно управляющее устройство, причем процессор выработки решений обрабатывает сигналы датчика фиксации направлений и подает соответствующие сигналы на, по крайней мере, одно управляющее устройство, с выхода которого сигналы распределяются между системами оптически прозрачных электродов, локально модулируя создаваемое ими электрическое поле, при этом молекулы двулучепреломляющего вещества, имеющие начальную ориентацию расположения молекул, при которой внешнее оптическое излучение беспрепятственно проходит через него, и расположенные в зоне прохождения к, по крайней мере, одному приемнику излучения внешнего оптического излучения, интенсивность которого превышает заданный пороговым датчиком фиксации направлений порог, изменяют свою ориентацию в пространстве, при этом внешнее оптическое излучение, имеющее соответствующую ориентацию плоскости поляризации в пространстве, отражается в этой зоне двулучепреломляющего вещества, в адаптивном поляризационном рефлекторном фильтре (АПРФ), для предупреждения падения внешнего бокового излучения на пилообразные структуры, по крайней мере, перед одной пилообразной структурой введены поглощающие боковое излучение перегородки, а поверхности пилообразных структур содержат просветляющее покрытие, которое оптимизировано с учетом угла падения внешнего оптического излучения на пилообразные структуры и требования к минимизации потерь при прохождении через АПРФ поляризационной составляющей излучения, имеющей большую информативность, и, кроме того, по крайней мере, одна из поверхностей пилообразных структур содержит оптически прозрачную пленку с меньшим показателем преломления, имеющую просветляющее покрытие.
2. Кроме того, параллельно установлен, по крайней мере, еще один АПРФ и, по крайней мере, еще один приемник излучения.
3. Кроме того, к поверхностям пилообразной структуры с минимальным зазором примкнута аналогичная пилообразная структура, содержащая просветляющее покрытие, а зазор между ними заполнен веществом с меньшим показателем преломления.
4. Кроме того, последовательно установлен, по крайней мере, еще один адаптивный поляризационный рефлекторный фильтр, плоскость поляризации которого ортогональна плоскости поляризации первого.
5. Кроме того, выполнен в виде очков и содержит корпус очков и внешний блок, при этом часть узлов системы обработки сигналов и управления установлена в корпусе очков, а другая часть, имеющая больший вес, габариты и энергопотребление установлена во внешнем блоке и между ними введен канал двухсторонней автоматической связи.
6. Кроме того, содержит, по крайней мере, схему совпадения, которая идентифицирует поляризованное и неполяризованное излучение источников внешнего оптического излучения и передает соответствующие сигналы на процессор выработки решений.
7. Кроме того, перед АПРФ установлена, по крайней мере, одна оптически прозрачная пластина с одним, по крайней мере, оптически активным веществом, поверхности которой содержат систему оптически прозрачных электродов, а прозрачность ее в зонах прохождения через нее внешнего оптического излучения к приемнику излучения зависит от наличия или отсутствия в этих зонах на электродах потенциалов, которые поступают на систему оптически прозрачных электродов от процессора выработки решений.
8. Кроме того, пороговый датчик фиксации направлений прихода внешнего оптического излучения дополнительно определяет интенсивность излучения, превысившего порог.
9. Кроме того, содержит датчик оценки средней интенсивности внешнего оптического излучения.
10. Кроме того, двулучепреломляющее вещество содержит внутренний ориентант, и установлен, по крайней мере, один источник стабилизирующего поляризованного излучения, при этом при подаче на систему оптически прозрачных электродов заданного потенциала осуществляется принудительная ориентация приповерхностного слоя молекул двулучепреломляющего вещества со стороны падающего стабилизирующего поляризованного излучения под действием его электромагнитного поля.
11. Кроме того, по периметру АПРФ параллельно установлен поляризационный фильтр.
12. Кроме того, содержит датчики и вычисляющий процессор для отслеживания положения, по крайней мере, одного приемника излучения.
13. Кроме того, содержит узел согласования положения в пространстве пилообразной структуры, с положением каждого из приемников излучения.
14. Кроме того, входная поверхность содержит фазовый компенсатор на основе двулучепреломляющего вещества.
15. Кроме того, внешние поверхности имеют просветляющее покрытие.
16. Кроме того, входная поверхность содержит отражающее покрытие.
17. Кроме того, вершины пилообразной структуры содержат светопоглотители.
18. Кроме того, по бокам АПРФ установлены не пропускающие излучение экраны.
19. Кроме того, содержит систему поддержания температуры АПРФ в рабочем интервале.
20. Это достигается тем, что в отличие от известного АПОФ, содержащего, по крайней мере, один приемник излучения, двулучепреломляющее вещество на молекулах ЖК, в котором противоположные поверхности содержат системы оптически прозрачных электродов, причем направление расположения системы оптически прозрачных электродов на одной поверхности отличается от направления расположения системы оптически прозрачных электродов на другой поверхности, и, кроме того, содержащего систему обработки сигналов и управления, включающую пороговый датчик фиксации направлений прихода внешнего оптического излучения, процессор выработки решений и, по крайней мере, одно управляющее устройство, причем процессор выработки решений обрабатывает сигналы датчика фиксации направлений и подает соответствующие сигналы на, по крайней мере, одно управляющее устройство, с выхода которого сигналы распределяются между системами оптически прозрачных электродов, локально модулируя создаваемое ими электрическое поле, при этом молекулы двулучепреломляющего вещества, имеющие начальную ориентацию расположения молекул, при которой внешнее оптическое излучение проходит к, по крайней мере, одному приемнику излучения внешнего оптического излучения, интенсивность которого превышает заданный пороговым датчиком фиксации направлений порог, изменяют свою ориентацию в пространстве, при этом внешнее оптическое излучение, имеющее соответствующую ориентацию плоскости поляризации в пространстве, отражается в этой зоне двулучепреломляющего вещества, адаптивный поляризационный рефлекторный фильтр (АПРФ) между системами оптически прозрачных электродов содержит чередующиеся слои пленок оптически прозрачного диэлектрического вещества и двулучепреломляющего вещества на молекулах ЖК, причем поверхности пленок оптически прозрачного диэлектрического вещества содержат, по крайней мере, один ориентант, ориентирующий молекулы слоев ЖК в заданном направлении, а показатели преломления пленок двулучепреломляющего вещества на молекулах ЖК близки к показателям преломления пленок оптически прозрачного диэлектрического вещества для внешнего оптического излучения, падающего на поверхность АПРФ при расположении больших осей молекул ЖК вдоль направления этого излучения, и различаются для одной из поляризационных составляющих внешнего оптического излучения при расположении больших осей молекул ЖК ортогонально этому излучению вдоль направления, заданного, по крайней мере, одним ориентантом.
21. Кроме того, параллельно установлен, по крайней мере, еще один АПРФ и, по крайней мере, еще один приемник излучения.
22. Кроме того, последовательно установлен второй АПРФ, в котором поверхности пленок оптически прозрачного диэлектрического вещества содержат, по крайней мере, один ориентант, который при расположении больших осей молекул ЖК ортогонально направлению внешнего оптического излучения ориентирует большие оси молекул слоев ЖК посредством ориентанта ортогонально ориентации больших осей молекул ЖК в первом АПРФ.
23. Кроме того, пленка оптически прозрачного диэлектрического вещества содержит просветляющее покрытие, а ее показатель преломления меньше минимального значения показателя преломления двулучепреломляющего вещества на молекулах ЖК с положительной диэлектрической анизотропией и больше максимального значения показателя преломления двулучепреломляющего вещества на молекулах ЖК с отрицательной диэлектрической анизотропией, при этом величина показателя преломления просветляющего покрытия имеет промежуточное значение между показателями преломления для поляризации излучения, совпадающей с длинной осью молекул ЖК двулучепреломляющего вещества и ей ортогональной.
24. Кроме того, последовательно установлен, по крайней мере, один адаптивный поляризационный отражающий фильтр с пилообразной структурой и использующий угол полного внутреннего отражения.
25. Кроме того, содержит, по крайней мере, схему совпадения, которая идентифицирует поляризованное и неполяризованное излучение источников внешнего оптического излучения и передает соответствующие сигналы на процессор выработки решений.
26. Кроме того, пороговый датчик фиксации направлений прихода внешнего оптического излучения дополнительно определяет интенсивность излучения, превысившего порог.
27. Кроме того, содержит датчик оценки средней интенсивности внешнего оптического излучения.
28. Кроме того, двулучепреломляющее вещество содержит внутренний ориентант, и установлен, по крайней мере, один источник стабилизирующего поляризованного излучения, при этом при подаче на систему оптически прозрачных электродов заданного потенциала осуществляется принудительная ориентация приповерхностного слоя молекул двулучепреломляющего вещества со стороны падающего стабилизирующего поляризованного излучения под действием его электромагнитного поля.
29. Кроме того, содержит анализатор спектрального состава принимаемого излучения.
30. Кроме того, содержит датчики и вычисляющий процессор для отслеживания положения, по крайней мере, одного приемника излучения.
31. Кроме того, содержит светофильтр, корректирующий спектр проходящего излучения.
32. Кроме того, за ним установлен светопоглотитель.
33. Кроме того, внешние поверхности имеют просветляющее покрытие.
34. Кроме того, содержит систему поддержания температуры АПРФ в рабочем интервале.
Предлагаемое техническое решение поясняется с помощью Фиг.1-Фиг.8.
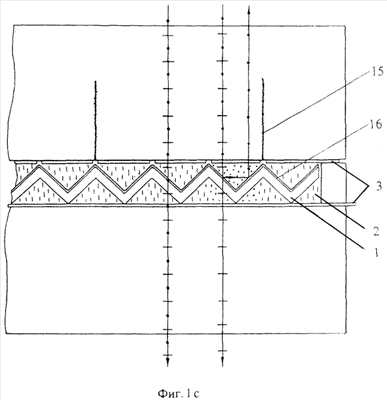
На Фиг.1а, b, с, d показаны фрагменты разделителя ортогональных поляризационных составляющих излучения на основе двулучепреломляющего вещества (2) с использованием пилообразной структуры и его работа при наличии и отсутствии внешнего управляющего потенциала на оптически прозрачных электродах (3) и светопоглощающими перегородками (15)(Фиг.1с, d).
На Фиг.1е показан фрагмент АПРФ с чередующимися слоями пленок оптически прозрачного диэлектрического вещества и двулучепреломляющего вещества на молекулах ЖК и его работа при наличии и отсутствии внешнего управляющего потенциала на оптически прозрачных электродах (3).
На Фиг.1f показано расположение АПРФ с чередующимися слоями пленок относительно приемника излучения.
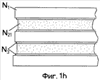
На Фиг.1g, h показаны фрагменты АПРФ с чередующимися слоями пленок, где N1 – показатель преломления оптически прозрачной диэлектрической пленки, N3 – просветляющего покрытия, N2 и N21 – соответственно показатели преломления молекул ЖК, совпадающие с малой и большой осями.
На Фиг.2а показаны два параллельно установленных АПРФ, системы оптически прозрачных электродов которых подключены к управляющим устройствам (4).
На Фиг.2b показан фрагмент “А” одного из АПРФ Фиг.2а.
На Фиг.3а, b, с, d, е схематически показано расположение АПРФ и приемников излучения (6), а также пороговый датчик фиксации направления (7), где АПРФ на Фиг.3b, с использует пилообразные структуры, а на Фиг.3d, е – чередующиеся слои пленок.
На Фиг.4а, b показано расположение на совмещенном фильтре-козырьке (транспортного средства) АПРФ порогового датчика фиксации направлений (7), соответственно вид сбоку и спереди.
На Фиг.5 показана работа АПРФ при наличии слепящего излучения, где вертикальными и горизонтальными линиями показаны системы оптически прозрачных электродов (3), а заштрихованные области-зоны, где выполняется условие отражения слепящего излучения.
На Фиг.6а, b показан фрагмент двух последовательно установленных АПРФ с пилообразной структурой, плоскости поляризации которых взаимно ортогональны, а перед одной пилообразной структурой введены светопоглощающие перегородки (15).
На Фиг.7а, b, с, d, е, f, g показаны варианты построения пороговых датчиков фиксации направлений (7).
На Фиг.8а, b показаны АПРФ, выполненные в виде очков, соответственно с внешним и автономным источниками питания.
На Фиг.1-Фиг.8 и в тексте приняты следующие обозначения:
1 – пилообразные структуры АПРФ,
2 – двулучепреломляющее вещество,
3 – системы оптически прозрачных электродов,
4 – управляющее устройство,
5 – АПРФ,
6 – приемник излучения,
7 – пороговый датчик фиксации направлений,
8 – совмещенный фильтр-козырек,
9 – процессор выработки решений,
10 – зоны АПРФ, отражающие лучи внешнего оптического излучения,
11 – датчик положения приемника,
12 – поляризационный фильтр,
13 – светоделитель,
14 – линза,
15 – светопоглотитель,
16 – пленка с меньшим показателем преломления,
17 – просветляющее покрытие,
18 -регулятор узла согласования,
19 – пленка с большим показателем преломления.
Т.о., адаптивный поляризационный рефлекторный фильтр (АПРФ) (Фиг.5) содержит, по крайней мере, один приемник излучения (6), пилообразные структуры (1) для разделения ортогональных поляризационных составляющих излучения, двулучепреломляющее вещество (2), имеющее начальную ориентацию расположения молекул, светопоглощающие перегородки (15), поверхности пилообразных структур содержат просветляющее покрытие (17), а противоположные поверхности содержат системы оптически прозрачных электродов (3), направление расположения которых на одной поверхности отличается от направления расположения их на другой поверхности, а также систему обработки сигналов и управления, пороговый датчик фиксации направлений (7), процессор выработки решений (9) и, по крайней мере, одно управляющее устройство (4), и дополнительно параллельно установлен, по крайней мере, еще один АПРФ и, по крайней мере, еще один приемник излучения (6), а также содержит оптически прозрачную пленку с меньшим показателем преломления, имеющую просветляющее покрытие, с минимальным зазором примкнута аналогичная пилообразная структура, а зазор заполнен веществом с меньшим показателем преломления, последовательно установлен, по крайней мере, еще один АПРФ, плоскость поляризации которого ортогональна плоскости поляризации первого, содержит, по крайней мере, схему совпадения, установлена, по крайней мере, одна оптически прозрачная пластина с, по крайней мере, одним оптически прозрачным веществом, и, кроме того, пороговый датчик фиксации направлений (7) определяет интенсивность излучения, содержит датчик оценки средней интенсивности внешнего излучения, содержит внутренний ориентант, а, по крайней мере, с одной стороны АПРФ установлен, по крайней мере, один источник поляризованного излучения, по периметру АПРФ параллельно установлен поляризационный фильтр, содержит датчики и вычисляющий процессор, содержит узел согласования, содержит фазовый компенсатор на двулучепреломляющей пленке, внешние поверхности АПРФ имеют просветляющее покрытие, содержит отражающее покрытие, вершины пилообразной структуры содержат светопоглотители, а также установлены не пропускающие излучение экраны и содержит систему поддержания температуры АПРФ, АПРФ содержит чередующиеся слои оптически прозрачного диэлектрического вещества, поверхности которого имеют ориентант, и двулучепреломляющего вещества на молекулах ЖК, поверхности оптически прозрачного диэлектрического вещества содержат просветляющее покрытие, содержит анализатор спектрального состава, светофильтр и за ним установлен светопоглотитель.
Устройство работает следующим образом.
Внешнее оптическое излучение падает на пилообразные структуры АПРФ, содержащие двулучепреломляющее вещество (Фиг.1а, b, с, d) на жидких кристаллах (ЖК), или на чередующиеся слои пленок оптически прозрачного диэлектрического вещества и двулучепреломляющего вещества на молекулах ЖК(Фиг.1е, f, g, h), начальная (заданная) ориентация больших осей молекул которого технологически [5] или под действием внешнего управляющего потенциала устанавливается параллельно лучам приходящего внешнего оптического излучения, при этом показатели преломления пилообразной структуры АПРФ и/или т.о. ориентированного слоя молекул ЖК подбираются так, чтобы они были близки или равны, и для внешнего оптического излучения эта структура прозрачна.
Противоположные поверхности АПРФ содержат системы оптически прозрачных электродов (3) (Фиг.1, Фиг.6), причем направление расположения их на одной поверхности отличается от направления расположения на другой, например ортогональны. Вблизи фильтра, например, в месте его крепления установлен пороговый датчик фиксации направлений (ПДФН) (7) прихода падающего на АПРФ внешнего оптического излучения, система обработки сигналов и управления, процессор выработки решений (9) и, по крайней мере, одно управляющее устройство (4), с выхода которого управляющие сигналы распределяются между системами оптически прозрачных электродов (3). Для предупреждения попадания бокового излучения на пилообразные структуры, которое при переотражении в них может попасть на приемник излучения (6) и может быть ошибочно идентифицировано, как излучение источника встречного транспортного средства, что может существенно повлиять на безопасность движения, по крайней мере, перед одной из них установлены светопоглощающие перегородки (Фиг.1с, d, Фиг.6b), которые м.б. расположены вдоль вершин пилообразной структуры или ортогонально им.
При некоторой разнице в показателях преломления пилообразных структур и слоя ЖК в режимах пропускания обеих или одной из поляризационных составляющих для снижения потерь проходящего излучения поверхности пилообразных структур содержат просветляющее покрытие. При этом ввиду косого падения излучения на поверхность пилообразных структур (45 град) значения показателей преломления просветляющего покрытия для ортогональных поляризационных составляющих различны и в зависимости от требований к фильтру АПРФ просветляющее покрытие может быть оптимизировано в первом фильтре для одной из поляризационных составляющих, а во втором (последовательно установленном) – для другой, или в обоих последовательно установленных фильтрах просветляющее покрытие оптимизировано только для одной поляризационной составляющей принимаемого излучения, например горизонтальной. На Фиг.4 показан вариант установки АПРФ на совмещенном фильтре-козырьке транспортного средства. Кроме того, АПРФ м.б. выполнен в виде очков (Фиг.8а, b), а также опускающегося козырька на шлеме, например, мотоциклиста.
При падении на поверхность АПРФ и на ПДНФ (7) внешнего оптического излучения (Фиг.3) и при превышении этим излучением заданного порога датчик выдает соответствующий сигнал на процессор выработки решений (9), который в соответствии с направлением, с которого принято внешнее оптическое излучение, и заданным расположением в пространстве, по крайней мере, одного приемника излучения (6) посредством, по крайней мере, одного управляющего устройства (4) распределяет управляющие сигналы между системами оптически прозрачных электродов (3), которые используют, например, мультиплексный метод или метод активной матричной адресации с применением запоминающих ячеек [10] таким образом, что на пути лучей внешнего оптического излучения к приемнику излучения, например глазам водителя транспортного средства молекулы слоя ЖК в соответствующей зоне фильтра АПРФ под действием локально модулируемого этими сигналами электрического поля изменяют свою ориентацию в пространстве (Фиг.1а, с, d, е), при этом данная зона фильтра приобретает анизотропию для одной из поляризационных составляющих излучения таким образом, что для нее выполняется условие полного внутреннего отражения и поляризационная составляющая внешнего оптического излучения, имеющая соответствующую ориентацию плоскости поляризации в пространстве, отражается в этой зоне поверхности АПРФ от двулучепреломляющего вещества.
А в случае, если внешнее оптическое излучение линейно поляризовано и имеет такую ориентацию плоскости поляризации в пространстве, а также интенсивность выше пороговой, то оно также отразится от соответствующей зоны фильтра и не будет принято приемником излучения (6), в то же время внешнее оптическое излучение с других направлений в пределах заданных углов, интенсивность которого ниже пороговой, беспрепятственно пройдет через АПРФ к приемнику излучения. В целях облегчения режима работы устройства допустимо уменьшение тактовой частоты управляющих сигналов на электродах фильтра АПРФ, что возможно при объединении электродов зоны, или зон отражения, или прозрачности в группы, на которые адресно подаются управляющие сигналы, и которые во времени обновляются, дополняются новыми сегментами (точками) или появляются новые отражающие зоны, а также происходит исключение из групп не возобновляемых отражающих (пропускающих) сегментов или зон, и, кроме того, это позволит существенно снизить требования к электропроводности оптически прозрачных электродов и повысить их прозрачность.
При исполнении АПРФ в виде очков блок управления, процессор и другие узлы м.б. выведены за пределы конструкции очков во внешний блок, например установлены непосредственно в транспортном средстве, а автоматическая двухсторонняя связь между ними и АПРФ может осуществляться, например, излучением и приемом сигналов в инфракрасном или другом частотном диапазоне, что позволит оставить в очках только необходимые согласующие узлы, существенно облегчив их вес, габариты, а для очков с автономным питанием – и снизить потребляемую мощность. При этом внешний блок может содержать пульт управления режимами работы фильтра АПРФ.
Дополнительно внешние поверхности фильтров АПРФ могут иметь различную кривизну для случаев коррекции ослабленного зрения водителей, и такие фильтры м.б. съемными и подбираться индивидуально, или АПРФ может иметь дополнительное крепление для установки линз, корректирующих ослабленное зрение.
При, по крайней мере, еще одном приемнике излучения, например глаза водителя транспортного средства (6), для большей эффективности, что связано с необходимостью ориентировать отражающие поверхности пилообразной структуры АПРФ относительно приемника излучения, параллельно установлен, по крайней мере, еще один АПРФ (Фиг.3, 4, 5, 8). Для увеличения величины угла полного внутреннего отражения, что позволит снизить требования к N ЖК [5], по крайней мере, одна из поверхностей пилообразных структур содержит оптически прозрачную пленку с меньшим, чем у пилообразной структуры, показателем преломления и имеющую просветляющее покрытие для лучшего согласования проходящего излучения, кроме того, такая пленка позволит не уменьшать для этих же целей показатель преломления пилообразных структур, что может привести к заметному расхождению лучей. Дополнительно с минимальным зазором к поверхностям пилообразной структуры примкнута аналогичная пилообразная структура, при этом зазор заполнен веществом с меньшим, чем у пилообразных структур, показателем преломления, что позволит получить меньшую величину угла полного внутреннего отражения для одной из поляризационных составляющих излучения, а просветляющее покрытие позволит второй составляющей пройти через фильтр с меньшими потерями. В случае когда внешнее оптическое излучение неполяризовано и интенсивность его превышает порог, одна из поляризационных составляющих этого излучения отражается от первого АПРФ, а вторая проходит к второму АПРФ, плоскость поляризации которого ортогональна плоскости поляризации первого (Фиг.6), при этом одна из поляризационных составляющих внешнего излучения, интенсивность которой выше пороговой, отражается в соответствующей зоне поверхности первого АПРФ, вторая поляризационная составляющая аналогично отражается от второго АПРФ, а неполяризованное излучение для других зон поверхностей фильтров, интенсивность которого ниже пороговой, без потерь проходит к приемнику излучения. При такой взаимной установке АПРФ полностью затеняется зона поверхности фильтров для соответствующего луча внешнего излучения, что неудобно, если на фоне слабого неполяризованного излучения присутствует источник сильного поляризованного излучения и плоскость поляризации его ориентирована ортогонально первому АПРФ. В этом случае первый фильтр полностью отражает слепящее поляризованное излучение и пропускает через себя слабое излучение ортогональной поляризации, которое может быть информативным и потеря его во втором фильтре нецелесообразна. Для уменьшения этих потерь АПРФ содержит, по крайней мере, один ПДФН прихода внешнего оптического излучения, перед которым м.б. установлен поляризационный фильтр (12) (Фиг.7b, c, d, e, f, g), где первый ЖК (Фиг.7b, с) служит для выделения поляризационных составляющих излучения, а второй ЖК с поляроидами-аттенюатор, а на Фиг.7d, е, f, g поляроиды выделяют соответствующие поляризационные составляющие излучения, а ЖК служит аттенюатором, и схему совпадений, которая для каждой точки пространства выделяет ортогональные поляризационные составляющие, и идентифицирует поляризованное и неполяризованное излучения источников внешнего излучения, и передает соответствующие сигналы на процессор выработки решений (9). При этом в случае поляризованного излучения, интенсивность которого выше пороговой, процессор подает соответствующие сигналы на первый АПРФ, а второй АПРФ с ортогональной плоскостью поляризации выключен для этой зоны и пропускает излучение, а в случае неполяризованного излучения большой интенсивности для данной зоны поверхности процессор подключает и второй АПРФ.
Т.о., фильтр (Фиг.6) пропускает без потерь поляризованное и неполяризованное излучение к приемнику (6) с любого направления в пределах заданных углов, если его интенсивность ниже порога, и одновременно не пропускает поляризованное соответствующей плоскости поляризации и неполяризованное излучение независимо с любого направления в пределах заданных углов, если его интенсивность превышает заданный порог, а при совместном применении фильтров АПРФ и поляризованного излучения фар транспортных средств позволит:
а. детально различать встречные транспортные средства даже при включенном у них “дальнем” свете фар;
в. улучшить видимость при движении в тумане в 5 15 раз;
с. повысить эффективность использования собственных фар при применении в них горизонтальной поляризации.
Применение фар с горизонтальной поляризацией излучения позволит исключить влияние наклона ветрового стекла на качество приема и отражения внешнего излучения.
В АПРФ Фиг.1е, f, g, h и Фиг.3d, е управляемый поляризационный рефлекторный фильтр выполнен на основе чередующихся слоев оптически прозрачных пленок толщиной /4 или нечетной кратной /4 с большим и малым показателями преломления, в котором чередуются диэлектрические оптически прозрачные пленки и ориентированные в заданном направлении соответствующим ориентантом (например, натиранием или напылением) ЖК пленки, например нематические ЖК (НЖК) с планарной, гомеотропной или наклонной ориентацией молекул, в которых принудительное, управляемое изменение ориентации молекул происходит под действием внешнего электрического поля при подаче потенциалов на соответствующие электроды, между которыми имеются чередующиеся слои этих пленок. При использовании, например, НЖК с планарной ориентацией молекул с положительной анизотропией N=NE-N0, где показатель преломления N0, совпадающий с малой осью молекул, меньше показателя преломления NE, совпадающего с большой осью, а показатель преломления оптически прозрачной диэлектрической пленки выбирается равным или близким к N0. При этом одна из поляризационных составляющих внешнего излучения, плоскость поляризации которой совпадает с малой осью молекул ЖК, проходит через слои без отражений, так как для нее показатели преломления диэлектрической пленки и ЖК равны, а ортогональная поляризационная составляющая излучения отражается от чередующихся слоев пленок с большим и малым показателями преломления. При подаче потенциала на оптически прозрачные электроды молекулы НЖК поворачиваются большими осями вдоль электрического поля, устанавливаясь таким образом вдоль направления внешнего излучения, и для обеих поляризационных составляющих этого излучения слои НЖК становятся изотропны, а их показатели преломления (для проходящего излучения) совпадают с показателями преломления слоев диэлектрических пленок и, таким образом, излучение проходит через фильтр без отражений.
Аналогично работает АПРФ с НЖК, имеющим гомеотропную ориентацию молекул, с той лишь разницей, что анизотропия отрицательна N=NE-N0 и в исходном состоянии молекулы ЖК расположены вдоль направления внешнего излучения и для него показатель преломления N0 больше, чем NE, и, соответственно, показатель преломления диэлектрической пленки должен быть близок к N0. При подаче внешнего электрического поля молекулы НЖК поворачиваются малыми осями вдоль этого поля, а большими осями вдоль направления заданного, по крайней мере, одним ориентантом, нанесенным на поверхностях диэлектрических пленок, и таким образом, как и описано выше, отражающий фильтр приобретает анизотропию для одной из ортогональных поляризационных составляющих внешнего излучения и отражает ее, а вторая поляризационная составляющая излучения проходит через фильтр без потерь.
При применении АПРФ как управляемого отражателя неполяризованного излучения направление ориентанта у части (например, половины) слоев диэлектрических оптически прозрачных пленок может быть ортогонально направлению ориентанта другой части пленок, при этом поляризационные составляющие неполяризованного излучения отражаются от соответствующих им ориентированных слоев чередующихся пленок. Такой фильтр, как и описанный выше, при установке за ним светопоглотителя может применяться на транспортных средствах в качестве противослепящих боковых зеркал и зеркала заднего вида. Излучение выше порогового фильтр пропускает и оно поглощается светопоглотителем, а для слабого излучения с других направлений работает в режиме отражения.
В случае необходимости раздельно отражать поляризационные составляющие внешнего излучения последовательно с первым АПРФ установлен второй АПРФ, в котором поверхности пленок оптически прозрачного диэлектрического вещества содержат, по крайней мере, один ориентант, который при расположении больших осей молекул ЖК ортогонально направлению внешнего оптического излучения ориентирует оси молекул ЖК слоев посредством ориентанта ортогонально ориентации осей молекул ЖК в первом АПРФ.
Пленка оптически прозрачного диэлектрического вещества содержит просветляющее покрытие, а ее показатель преломления меньше минимального значения показателя преломления двулучепреломляющего вещества на молекулах ЖК с положительной диэлектрической анизотропией и больше максимального значения показателя преломления двулучепреломляющего вещества на молекулах ЖК с отрицательной диэлектрической анизотропией, при этом величина показателя преломления просветляющего покрытия имеет промежуточное значение между показателями преломления для поляризации излучения, совпадающей с длинной осью молекул ЖК двулучепреломляющего вещества и ей ортогональной. При этом при ориентировании больших осей молекул ЖК в направлении, перпендикулярном поверхности пленок, внешнее оптическое излучение проходит через фильтр без потерь, а при ориентировании их параллельно поверхности пленок одна из поляризационных составляющих этого излучения отражается при прохождении через слои пленок. При этом для  >0 и Фиг.1g N3>N2>N1, а для Фиг.1h N21>N3>N1 и при  <0 для Фиг.1g N1>N2>N3, а для Фиг.1h N1>N3>N21, где  -диэлектрическая анизотропия двулучепреломляющего вещества, N1 – показатель преломления диэлектрических оптически прозрачных пленок, N2, N21 – показатели преломления двулучепреломляющего вещества, совпадающие с короткой и длинной осями молекул ЖК и N3 – показатель преломления просветляющего покрытия. Таким образом, достигается большее значение N между показателями преломления диэлектрической оптически прозрачной пленки и двулучепреломляющего вещества и, соответственно, потребуется меньшее количество слоев для достижения требуемого коэффициента отражения.
Кроме того, последовательно может быть установлен, по крайней мере, один адаптивный поляризационный отражающий фильтр с пилообразной структурой и использующий угол полного внутреннего отражения, при этом фильтры могут управляться синхронно или, например, один из них, с чередующимися слоями пленок, может создавать окно прозрачности, отражая боковое или другое мешающее излучение.
Дополнительно содержит анализатор спектрального состава принимаемого излучения, который может быть использован для анализа входящей информации с целью исключения отражения излучения с полезной и необходимой информацией, например света светофора повышенной яркости или других сигналов.
При искажении фильтром спектрального состава проходящего через АПРФ излучения или при необходимости изменить спектральный состав этого излучения содержит светофильтр, корректирующий его спектр.
Для защиты от бокового излучения дополнительно перед фильтрами АПРФ м.б. установлена оптически прозрачная пластина с оптически активным веществом и системой оптически прозрачных электродов, управляемых процессором выработки решений (9), с помощью которого посредством системы отслеживания положения зрачка глаз водителя в ней устанавливается окно прозрачности непосредственно против зрачка, устраняя таким образом возможность попадания на зрачок и пилообразные структуры большей части бокового излучения, которое вне окна прозрачности поглощается оптически активным веществом.
Кроме того, возможно применение двухпороговой системы, когда при относительно малой интенсивности излучения срабатывает первый порог и подключается один АПРФ, а при нарастании интенсивности до второго порога подключается и следующий АПРФ.
При необходимости уровень порога/порогов ПДФН устанавливается вручную, например, с пульта управления транспортного средства.
В случаях когда интенсивность внешнего излучения превышает порог, но его интенсивность еще относительно невелика, пороговый датчик фиксации направлений дополнительно определяет интенсивность этого излучения и соответствующие сигналы передает процессору выработки решений (9), который изменяет глубину модуляции ЖК слоя, например, регулируя амплитуду сигналов на системе оптически прозрачных электродов, при этом часть излучения проходит через фильтр, или регулируя частоту подачи сигналов в соответствующую зону поверхности АПРФ.
Кроме того, для уменьшения модуляции подавляемого излучения при кренах транспортных средств процессор выработки решений (9) отслеживает величину модуляции для каждого из источников внешнего излучения и подает соответствующие сигналы на управляющее устройство (4), также изменяя глубину модуляции ЖК слоя или время включения и компенсируя таким образом возникающую модуляцию. Дополнительно содержит датчик оценки средней интенсивности внешнего оптического излучения, например, естественных излучателей и отражателей (солнце, облака, дорога, растительность и т.п.), естественной подсветки в сумеречное время – это позволит оптимизировать работу порогового датчика фиксации направлений, изменяя уровень порога применительно к адаптационной характеристике глаз водителя к освещенности. Где, например, м.б. применено светочувствительное стекло, прозрачность которого зависит от степени его освещенности и установленное перед пороговым датчиком фиксации направлений, или аттенюатор на основе управляемого ЖК (Фиг.7с, е, g).
Для уменьшения величины технологических отклонений молекул в слое ЖК от заданного направления, а также отклонений при колебаниях температуры двулучепреломляющее вещество содержит внутренний ориентант [6, 7], а, по крайней мере, с одной стороны АПРФ под углом к его поверхности или со стороны торца фильтра установлен, по крайней мере, один источник стабилизирующего поляризованного излучения, излучение которого направлено на поверхность АПРФ или вдоль вершин пилообразной структуры, при этом путем подачи на систему оптически прозрачных электродов (3) управляющего потенциала осуществляется принудительная ориентация молекул приповерхностного слоя двулучепреломляющего вещества со стороны падающего стабилизирующего поляризованного излучения под действием его электромагнитного поля т.о., что положение молекул ЖК в пространстве стабилизируется относительно его плоскости поляризации.
При применении АПРФ малых геометрических размеров для предупреждения попадания излучения на приемник с углов, превышающих угловые размеры АПРФ, по его периметру параллельно установлен поляризационный фильтр.
Для повышения эффективности использования АПРФ в различных условиях его положение в пространстве должно быть привязано к координатам приемника излучения (6), например глазам водителя транспортного средства, для этого введены датчики положения приемников излучения (11) (Фиг.4b) [8], вычисляющий процессор и, по крайней мере, один электромеханический корректор для отслеживания положения АПРФ относительно, по крайней мере, одного приемника излучения. При этом сигналы с датчиков положения приемников (глаз) подаются в вычисляющий процессор, вырабатывающий сигнал управления при сдвиге приемника излучения относительно положения АПРФ, который поступает на электромеханический корректор, стабилизирующий положение АПРФ относительно приемника излучения. Кроме того, электронное отслеживание координат приемника излучения позволит затенять все зоны поверхности фильтра АПРФ, через которые слепящее излучение может попасть на приемник.
В случае когда расстояние между приемниками излучения м.б. различно, например глаза водителей, содержит узел согласования в пространстве пилообразной структуры разделителей ортогональных поляризационных составляющих излучения с расположением каждого из приемников излучения, при этом положение АПРФ для каждого из них может устанавливаться отдельно, например, перемещением их относительно друг друга на общем кронштейне или торцы фильтров в плоскости между приемниками излучения скреплены подвижно и при вращении вокруг оси, совпадающей с линией их скрепления, устанавливается необходимое положение пилообразной структуры каждого из АПРФ относительно приемников излучения, при этом соответствующая коррекция вводится в процессор выработки решений для обеспечения соответствия между положением приемников излучения, зонами отражения излучения АПРФ и источниками внешнего излучения.
Дополнительно с пульта управления транспортного средства м.б. введена коррекция величины (площади) отражающей зоны АПРФ, что позволит водителю индивидуально подобрать ее оптимальную величину. Для компенсации фазового сдвига линейно поляризованного излучения при прохождении через лобовое стекло транспортного средства, установленное под углом к источнику излучения, входная поверхность АПРФ содержит фазовый компенсатор на двулучепреломляющем веществе (пленке), который выполняет функцию фазовой пластинки [9]. Для снижения отражений от внешних поверхностей АПРФ они содержат просветляющее покрытие.
Для дополнительной защиты от внешнего бокового излучения входная поверхность АПРФ может содержать отражающее покрытие, незначительно отражающее излучение, падающее по нормали. Для поглощения части внешнего излучения, проходящего через вершины пилообразной структуры, где технологически трудно выполнить условия полного внутреннего отражения, вершины содержат светопоглотители. Дополнительно для защиты от бокового излучения большой интенсивности по бокам АПРФ м.б. установлены не пропускающие излучение экраны.
При использовании фильтра АПРФ в жестких климатических условиях, например мотоциклистом в холодное время года, введена система поддержания температуры фильтра в рабочем интервале температур. Использование изобретения позволит:
Создать эффективный противоослепительный фильтр с минимальными потерями и адаптивный к источникам поляризованного и неполяризованного излучения, который позволит осуществить плавное введение поляризованных источников излучения – фар для существенного повышения различимости встречных транспортных средств и,соответственно, безопасности движения.
ЛИТЕРАТУРА
1. РФ Патент 2.173.472, кл. 7 G02В 5/30, 07.07.1999.
2. US Patent 5.422.756, G02В 005/3, 18.05.1992.
3. Патент СССР 176.489. 02.11.1965.
4. Заявка на изобретение РФ 2006112494/28(013601), 06.04.2006.
5. Томилин М.Г. Взаимодействие жидких кристаллов с поверхностью. Политехника, СПб, 2001 г., стр.84, 120.
6. Каманина Н.В., Денисюк И.Ю. и др. Новый эффект внутреннего ориентанта. Оптический журнал март 2004 г., 3, т.71, стр.72-77.
7. Ракчеев Л.П., Каманина Н.В. Перспективы использования фулеренов для ориентации ЖК композиций. Письма в ЖТФ, 2002 г., т.28, 11, стр.28-36.
8. Патент РФ 2.163.866, кл. 7 H60J 3/00, 31.03.1999.
9. US Patent 2.237.565.1941.
10. Зарубежная радиоэлектроника, 1988 г., 5, стр.67-68, М-ва, Р. и Св.
11. Патент РФ 2.077.069. С1, кл. 6 G02С 7/10, В60J 3/06, 10.04.1997.
Формула изобретения
1. Адаптивный поляризационный рефлекторный фильтр, содержащий пилообразные структуры, по крайней мере, один приемник излучения, двулучепреломляющее вещество на молекулах жидких кристаллов, в котором противоположные поверхности содержат системы оптически прозрачных электродов, причем направление расположения системы оптически прозрачных электродов на одной поверхности отличается от направления расположения системы оптически прозрачных электродов на другой поверхности, а двулучепреломляющее вещество на молекулах жидких кристаллов заключено между ними, и кроме того, содержащий систему обработки сигналов и управления, включающую пороговый датчик фиксации направлений прихода внешнего оптического излучения, процессор выработки решений и, по крайней мере, одно управляющее устройство, причем процессор выработки решений обрабатывает сигналы датчика фиксации направлений и подает соответствующие сигналы на, по крайней мере, одно управляющее устройство, с выхода которого сигналы распределяются между системами оптически прозрачных электродов, локально модулируя создаваемое ими электрическое поле, при этом молекулы двулучепреломляющего вещества, имеющие начальную ориентацию расположения молекул, при которой внешнее оптическое излучение беспрепятственно проходит через него, и расположенные в зоне прохождения к, по крайней мере, одному приемнику излучения внешнего оптического излучения, интенсивность которого превышает заданный пороговым датчиком фиксации направлений порог, изменяют свою ориентацию в пространстве, при этом внешнее оптическое излучение, имеющее соответствующую ориентацию плоскости поляризации в пространстве, отражается в этой зоне двулучепреломляющего вещества, отличающийся тем, что для предупреждения падения внешнего бокового излучения на пилообразные структуры, по крайней мере, перед одной пилообразной структурой введены поглощающие боковое излучение перегородки, а поверхности пилообразных структур содержат просветляющее покрытие, которое оптимизировано с учетом угла падения внешнего оптического излучения на пилообразные структуры и требования к минимизации потерь при прохождении через адаптивный поляризационный рефлекторный фильтр поляризационной составляющей излучения, и кроме того, по крайней мере, одна из поверхностей пилообразных структур содержит оптически прозрачную пленку с меньшим показателем преломления, имеющую просветляющее покрытие.
2. Фильтр по п.1, отличающийся тем, что параллельно установлен, по крайней мере, еще один адаптивный поляризационный рефлекторный фильтр и, по крайней мере, еще один приемник излучения.
3. Фильтр по п.1 или 2, отличающийся тем, что к поверхностям пилообразной структуры с минимальным зазором примкнута аналогичная пилообразная структура, содержащая просветляющее покрытие, а зазор между ними заполнен веществом с меньшим показателем преломления.
4. Фильтр по п.1 или 2, отличающийся тем, что последовательно установлен, по крайней мере, еще один адаптивный поляризационный рефлекторный фильтр, плоскость поляризации которого ортогональна плоскости поляризации первого.
5. Фильтр по п.1 или 2, отличающийся тем, что выполнен в виде очков и содержит корпус очков и внешний блок, при этом часть узлов системы обработки сигналов и управления установлена в корпусе очков, а другая часть, имеющая больший вес, габариты и энергопотребление установлена во внешнем блоке и между ними введен канал двухсторонней автоматической связи.
6. Фильтр по п.1 или 2, отличающийся тем, что содержит, по крайней мере, схему совпадения, которая идентифицирует поляризованное и неполяризованное излучение источников внешнего оптического излучения и передает соответствующие сигналы на процессор выработки решений.
7. Фильтр по п.1 или 2, отличающийся тем, что перед адаптивным поляризационным рефлекторным фильтром установлена, по крайней мере, одна оптически прозрачная пластина с одним, по крайней мере, оптически активным веществом, поверхности которой содержат систему оптически прозрачных электродов, а прозрачность ее в зонах прохождения через нее внешнего оптического излучения к приемнику излучения зависит от наличия или отсутствия в этих зонах на электродах потенциалов, которые поступают на систему оптически прозрачных электродов от процессора выработки решений.
8. Фильтр по п.1 или 2, отличающийся тем, что пороговый датчик фиксации направлений прихода внешнего оптического излучения дополнительно определяет интенсивность излучения, превысившего порог.
9. Фильтр по п.1 или 2, отличающийся тем, что содержит датчик оценки средней интенсивности внешнего оптического излучения.
10. Фильтр по п.1 или 2, отличающийся тем, что двулучепреломляющее вещество содержит внутренний ориентант, а, по крайней мере, с одной стороны адаптивного поляризационного рефлекторного фильтра под углом к его поверхности установлен, по крайней мере, один источник стабилизирующего поляризованного излучения, излучение которого направлено на его поверхность, при этом при подаче на систему оптически прозрачных электродов заданного потенциала осуществляется принудительная ориентация приповерхностного слоя молекул двулучепреломляющего вещества со стороны падающего стабилизирующего поляризованного излучения под действием его электромагнитного поля.
11. Фильтр по п.1 или 2, отличающийся тем, что по периметру адаптивного поляризационного рефлекторного фильтра параллельно установлен поляризационный фильтр.
12. Фильтр по п.1 или 2, отличающийся тем, что содержит датчики и вычисляющий процессор для отслеживания положения, по крайней мере, одного приемника излучения.
13. Фильтр по п.1 или 2, отличающийся тем, что содержит узел согласования положения в пространстве пилообразной структуры с положением каждого из приемников излучения.
14. Фильтр по п.1 или 2, отличающийся тем, что входная поверхность содержит фазовый компенсатор на основе двулучепреломляющего вещества.
15. Фильтр по п.1 или 2, отличающийся тем, что внешние поверхности имеют просветляющее покрытие.
16. Фильтр по п.1 или 2, отличающийся тем, что входная поверхность содержит отражающее покрытие.
17. Фильтр по п.1 или 2, отличающийся тем, что вершины пилообразной структуры содержат светопоглотители.
18. Фильтр по п.1 или 2, отличающийся тем, что по бокам адаптивного поляризационного рефлекторного фильтра установлены не пропускающие излучение экраны.
19. Фильтр по п.1 или 2, отличающийся тем, что содержит систему поддержания температуры адаптивного поляризационного рефлекторного фильтра в рабочем интервале.
20. Адаптивный поляризационный рефлекторный фильтр, содержащий, по крайней мере, один приемник излучения, двулучепреломляющее вещество на молекулах жидких кристаллов, в котором противоположные поверхности содержат системы оптически прозрачных электродов, причем направление расположения системы оптически прозрачных электродов на одной поверхности отличается от направления расположения системы оптически прозрачных электродов на другой поверхности, и кроме того, содержащий систему обработки сигналов и управления, включающие пороговый датчик фиксации направлений прихода падающего на адаптивный поляризационный отражающий фильтр внешнего оптического излучения, процессор выработки решений и, по крайней мере, одно управляющее устройство, причем процессор выработки решений обрабатывает сигналы датчика фиксации направлений и подает соответствующие сигналы на, по крайней мере, одно управляющее устройство, с выхода которого сигналы распределяются между системами оптически прозрачных электродов, локально модулируя создаваемое ими электрическое поле, при этом молекулы двулучепреломляющего вещества, имеющие начальную ориентацию расположения молекул, при которой внешнее оптическое излучение беспрепятственно проходит через него, и расположенные в зоне прохождения через адаптивный поляризационный отражающий фильтр к, по крайней мере, одному приемнику излучения внешнего оптического излучения, интенсивность которого превышает заданный пороговым датчиком фиксации направлений порог, изменяют свою ориентацию в пространстве, при этом внешнее оптическое излучение, имеющее соответствующую ориентацию плоскости поляризации в пространстве, отражается в этой зоне двулучепреломляющего вещества, отличающийся тем, что между системами оптически прозрачных электродов содержит чередующиеся слои пленок оптически прозрачного диэлектрического вещества и двулучепреломляющего вещества на молекулах жидких кристаллов, причем поверхности пленок оптически прозрачного диэлектрического вещества содержат, по крайней мере, один ориентант, ориентирующий молекулы слоев жидких кристаллов в заданном направлении, а показатели преломления пленок двулучепреломляющего вещества на молекулах жидких кристаллов близки к показателям преломления пленок оптически прозрачного диэлектрического вещества для внешнего оптического излучения, падающего на поверхность адаптивного поляризационного рефлекторного фильтра при расположении больших осей молекул жидких кристаллов вдоль направления этого излучения, и различаются для одной из поляризационных составляющих внешнего оптического излучения при расположении больших осей молекул жидких кристаллов ортогонально этому излучению вдоль направления заданного, по крайней мере, одним ориентантом.
21. Фильтр по п.20, отличающийся тем, что параллельно установлен, по крайней мере, еще один адаптивный поляризационный рефлекторный фильтр и, по крайней мере, еще один приемник излучения.
22. Фильтр по п.20 или 21, отличающийся тем, что последовательно установлен второй адаптивный поляризационный рефлекторный фильтр, в котором поверхности пленок оптически прозрачного диэлектрического вещества содержат, по крайней мере, один ориентант, который при расположении больших осей молекул жидких кристаллов ортогонально направлению внешнего оптического излучения ориентирует большие оси молекул слоев жидких кристаллов посредством ориентанта ортогонально ориентации больших осей молекул жидких кристаллов в первом адаптивном поляризационном рефлекторном фильтре.
23. Фильтр по п.20 или 21, отличающийся тем, что пленка оптически прозрачного диэлектрического вещества содержит просветляющее покрытие, а ее показатель преломления меньше минимального значения показателя преломления двулучепреломляющего вещества на молекулах жидких кристаллов с положительной диэлектрической анизотропией и больше максимального значения показателя преломления двулучепреломляющего вещества на молекулах жидких кристаллов с отрицательной диэлектрической анизотропией, при этом величина показателя преломления просветляющего покрытия имеет промежуточное значение между показателями преломления для поляризации излучения, совпадающей с длинной осью молекул жидких кристаллов двулучепреломляющего вещества и ей ортогональной.
24. Фильтр по п.20 или 21, отличающийся тем, что последовательно установлен, по крайней мере, один адаптивный поляризационный отражающий фильтр с пилообразной структурой и использующий угол полного внутреннего отражения.
25. Фильтр по п.20 или 21, отличающийся тем, что содержит, по крайней мере, схему совпадения, которая идентифицирует поляризованное и неполяризованное излучение источников внешнего оптического излучения и передает соответствующие сигналы на процессор выработки решений.
26. Фильтр по п.20 или 21, отличающийся тем, что пороговый датчик фиксации направлений прихода внешнего оптического излучения дополнительно определяет интенсивность излучения, превысившего порог.
27. Фильтр по п.20 или 21, отличающийся тем, что содержит датчик оценки средней интенсивности внешнего оптического излучения.
28. Фильтр по п.20 или 21, отличающийся тем, что двулучепреломляющее вещество содержит внутренний ориентант, а, по крайней мере, с одной стороны адаптивного поляризационного рефлекторного фильтра под углом к его поверхности установлен, по крайней мере, один источник стабилизирующего поляризованного излучения, излучение которого направлено на его поверхность, при этом при подаче на систему оптически прозрачных электродов заданного потенциала осуществляется принудительная ориентация приповерхностного слоя молекул двулучепреломляющего вещества со стороны падающего стабилизирующего поляризованного излучения под действием его электромагнитного поля.
29. Фильтр по п.20 или 21, отличающийся тем, что содержит анализатор спектрального состава принимаемого излучения.
30. Фильтр по п.20 или 21, отличающийся тем, что содержит датчики и вычисляющий процессор для отслеживания положения, по крайней мере, одного приемника излучения.
31. Фильтр по п.20 или 21, отличающийся тем, что содержит светофильтр корректирующий спектр проходящего излучения.
32. Фильтр по п.20 или 21, отличающийся тем, что за ним установлен светопоглотитель.
33. Фильтр по п.20 или 21, отличающийся тем, что внешние поверхности имеют просветляющее покрытие.
34. Фильтр по п.20 или 21, отличающийся тем, что содержит систему поддержания температуры адаптивного поляризационного рефлекторного фильтра в рабочем интервале.
РИСУНКИ
|
|