|
|
(21), (22) Заявка: 2008128247/28, 10.07.2008
(24) Дата начала отсчета срока действия патента:
10.07.2008
(46) Опубликовано: 27.12.2009
(56) Список документов, цитированных в отчете о поиске:
SU 1536317 A1, 15.01.1990. SU 1765806 А1, 30.09.1992. SU 99803 A1, 01.01.1955.
Адрес для переписки:
460018, г.Оренбург, пр-кт Победы, 13, ГОУ ОГУ, патентный отдел
|
(72) Автор(ы):
Герасимов Евгений Михайлович (RU), Третьяк Людмила Николаевна (RU)
(73) Патентообладатель(и):
Государственное образовательное учреждение высшего профессионального образования “Оренбургский государственный университет” (RU)
|
(54) СПОСОБ ПОВЕРКИ ПРИБОРОВ ИЗМЕРЕНИЯ СКОРОСТИ ВОЗДУШНОГО ПОТОКА И УСТРОЙСТВО ДЛЯ ЕГО РЕАЛИЗАЦИИ
(57) Реферат:
Изобретения относятся к приборостроению и могут быть использованы для поверки средств измерений подвижности воздуха (анемометров, термоанемометров). Способ реализуется равномерным движением поверяемого анемометра в неподвижном воздухе с заданной скоростью по эталонному участку пути. Устройство включает аэродинамическую трубу, вмещающую составные элементы устройства и выполненную в виде сборного переносного каркаса, изолирующего участок пути измерения от внешних тепловых и аэродинамических воздействий. При этом внутри трубы расположены эталонный участок пути движения поверяемого средства измерений, побудитель движения с регулятором ступенчатого переключения скоростей движения, секундомер измерения времени продвижения поверяемого средства измерений по эталонному участку пути, включаемый синхронно с началом движения, тележка с роликовым механизмом, на которую крепится поверяемый анемометр, и контактный рычаг, включающий секундомер в момент начала движения тележки, тягопротяжный механизм, соединяющий побудитель тяги с тележкой. Также устройство содержит источник электропитания с механизмом, обеспечивающим стабильность работы побудителя. Технический результат заключается в повышении точности измерения скорости воздушного потока. 2 н.п. ф-лы, 2 ил.
Изобретение относится к метеорологии, а именно к способам и устройствам поверки средств измерений подвижности воздуха (анемометров, термоанемометров).
Нормируемые параметры подвижности воздуха рабочей зоны в помещениях при категориях тяжести труда 1-а, 1-б, 2-а и 2-б составляют 0.1-0.3 м/с [Руководство Р.2.2.755-99, М.: Федеральный центр Госсанэпиднадзора Минздрава России, 1999 г. «Гигиенические критерии оценки и классификация условий труда…»] при погрешности измерений не более 0.05 м/с [СН 4088-86. Санитарные нормы микроклимата производственных помещений, раздел «Допустимая погрешность измерений». М.: 1986 (ГОСТ 13.1.005-88)].
Известен способ определения чувствительности анемометров при поверке работоспособности [ГОСТ 7193-74. Анемометр ручной индукционный ТУ. Раздел 4. Методы испытаний; с.4-7; ГОСТ 6376-74. Анемометры ручные со счетным механизмом. Технические условия. Раздел 4. Методы испытаний; с.5-7]. При этом за чувствительность принимают минимальную линейную скорость перемещения проверяемого анемометра в неподвижной воздушной среде, при которой ветроприемник анемометра будет непрерывно вращаться. При этом линейную скорость перемещения проверяемого анемометра плавно изменяют при помощи реостатов и определяют по формуле: v=( ·L·n)/30, где v – линейная скорость перемещения проверяемого анемометра, м/с; L – расстояние от оси вращения до центра тяжести проверяемого анемометра; n – частота вращения крестовины установки, об/мин. При этом перед испытаниями методика требует проведения технологического прогона в аэродинамической трубе в течение 10 мин при скорости воздушного потока (10±1) м/с (ГОСТ 7193-74, с.4, п.4.1.1.). Устройство для поверки чувствительности анемометров по указанному способу включает крестовину со стойкой для крепления анемометра, счетчик числа оборотов крестовины, двигатель, реостаты, аккумуляторную батарею, выключатель и предохранитель (ГОСТ 7193-74, с.6, п.4.8.).
Общим признаком с заявляемым способом является перемещение испытуемого анемометра в неподвижном воздухе.
Однако вращение анемометра на установке регистрирует угловую скорость вместо линейной, что искажает истинный вектор скоростей, отличный при воздействии на ветроприемный механизм при строго осевом воздействии. При этом влияния турбулентности воздушного потока, угловых составляющих, тепловых составляющих аэродинамического потока во внимание не принимаются. Это является существенным недостатком способа, препятствующим установлению истинного вектора составляющих данную скорость движения воздуха в месте измерения.
Прототипом заявляемого устройства являются аэродинамические трубы, в которых по центральной оси трубы вентиляторами создается поток воздуха с нормированными и изменяемыми скоростями основного осевого потока, в который и помещается тарируемый измеритель скорости движения воздуха [Липман М. Калибровка, измерение скорости воздушного потока. Энциклопедия по безопасности и гигиене труда, т.2. М.: Профиздат, 1986 г., с.844-845].
Устройства подобного типа занимают нередко здание и требуют сложной и дорогостоящей аппаратуры. При этом особые трудности возникают при необходимости создания ламинарного потока воздуха малых скоростей, вследствие чего поверка крыльчатых и чашечных анемометров начинается со скоростей движения воздуха 0,3 м/с и выше.
Техническим результатом настоящего изобретения является повышение точности измерения скорости воздушного потока, что особенно актуально в диапазоне малых скоростей, наиболее востребованных в санитарно-гигиенической практике, резкое (не менее чем на три порядка) снижение себестоимости устройства: вместо специальных зданий – портативные устройства, появляется техническая возможность выполнения переносных промышленных образцов заявляемого устройства, сохраняющих точность измерения. При этом заявляется способ регистрации именно осевой механической составляющей скорости воздушного потока и устройство, создающее равномерное движение воздуха с заданной скоростью и ступенчато нормирующее ее от 0,5 м/с при минимальной погрешности измерений.
Техническая задача решается тем, что применяется способ поверки средств измерений скорости движения воздуха в аэродинамической трубе путем воздействия воздушным потоком на воспринимающие механизмы измерительных устройств, где согласно заявляемому способу движение воздушного потока в аэродинамической трубе реализуется равномерным движением поверяемого анемометра в неподвижном воздухе с заданной скоростью по эталонному участку пути, а также тем, что в устройстве, реализующем заявляемый способ, аэродинамическая труба выполнена в виде сборного переносного каркаса, изолирующего участок пути измерения от внешних тепловых и аэродинамических воздействий, при этом внутри трубы расположены эталонный участок пути движения поверяемого средства измерений, побудитель движения с регулятором ступенчатого переключения скоростей движения, секундомер измерения времени продвижения поверяемого средства измерений по эталонному участку пути, включаемый синхронно с началом движения, тележка с роликовым механизмом, на которую крепится поверяемый анемометр, и контактный рычаг, включающий секундомер в момент начала движения тележки, тягопротяжный механизм, соединяющий побудитель тяги с тележкой, при этом устройство содержит источник электропитания с механизмом, обеспечивающим стабильность работы побудителя, при этом аэродинамическая труба имеет светопроницаемые монтажные и смотровые окна.
В примере конкретного применения ступенчатое изменение скорости (поочередное для каждой серии измерений, как этого требует методика данных методов измерений) осуществляется путем применения серии редукторов; время прохождения тележки с анемометром эталонного участка пути регистрирует электросекундомер, включаемый синхронно началу движения тележки с поверяемым анемометром. Параметры движения тележки с анемометром соответствуют скорости встречного воздуха (неподвижного), строго перпендикулярно воздействующего на воспринимающие и регистрирующие элементы испытуемого средства измерения. При оценке погрешности и достоверности результатов измерений эти показатели сопоставляются с заданными эталонными.
Таким образом, применение способа позволяет на порядок уменьшить размеры аэродинамической трубы и обслуживающих помещений при дифференцированном повышении точности учета составляющих вектора скорости воздушного потока, особенно при его малых скоростях.
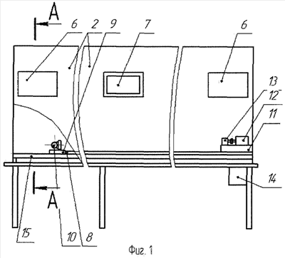
Устройство поверки приборов измерения скорости воздушного потока по заявляемому способу представлено на фиг.1, а на фиг.2 – его поперечное сечение.
Устройство поверки приборов измерения скорости воздушного потока включает теплоизоляционную трубу 1, 2, площадку размещения устройства 3, виброизоляцию 4 опорных стоек 5, монтажные 6 и смотровые 7 окна трубы, тягу 8, площадку размещения (тележка) 9 поверяемого анемометра 10, устройство подавления сетевых помех 11, побудитель тяги (электродвигатель) 12, регулятор ступенчатого переключения скоростей (редуктор) 13, аккумуляторную батарею 14, эталонный участок пути (монорельс) 15.
Опытный образец устройства представляет собой разборную аэродинамическую трубу из полированной фанеры (толщиной 5 мм) с размещенным внутри приводом, обеспечивающим равномерное перемещение тележки с испытуемым анемометром с заданными скоростями (0,1 м/с; 0,3 м/с; 0,5 м/с; 0,8 м/с; 1,5 м/с) по 10-метровому монорельсовому участку пути. Равномерное движение с заданными скоростями обеспечивает привод – электродвигатель типа КД-30-У4 (минимальная мощность Рном=0,05 кВт и частота вращения 2700 об/мин) с подсоединенными к нему двумя закрытыми червячными редукторами (червячная цилиндрическая передача с передаточным числом U1=30), на выходной вал которых насажены тягоприемные катушки различных диаметров (от 21,22 до 10,1 мм). Для передачи вращающего (крутящего) момента от вала к ступице катушки применено шпоночное соединение. Устройство подавления сетевых помех представлено стабилизатором напряжения (бесперебойный источник питания типа «on-line») и сетевым фильтром. Устройство включает блок управления с секундомером (применен электронный секундомер СТЦ-1Ц с погрешностью измерения 0,05 сек).
Измерение заключается в выводе контактов за пределы секундомера, их раздвоение с последующим закреплением на одном уровне на направляющей дорожке в начале и в конце движения подвижной тележки. При перемещении анемометра 10 на заданное расстояние включение и выключение секундомера синхронизировано с включением и выключением арретира анемометра. Механизм включения арретира анемометра основан на использовании серии блоков и рычагов. Использовали два рычага, расположенных на противоположных сторонах площадки. К рычагу, предназначенному для включения счетного механизма, с внутренней стороны крепили леску, другой конец которой через блок крепили к арретиру анемометра. Аналогичный способ крепления лески применили и для выключения арретира, но леску протягивали через верхнее ушко анемометра. На бордюрах направляющей дорожки вертикально устанавливали металлические штыри: один в начале движения на уровне контактов секундомера, а другой – в конце движения на противоположной стороне, но также на уровне второй пары контактов. При движении площадки 3 с анемометром 10 рычаг ударяется о штырь, рычаг поворачивается, леска натягивается и счетный механизм анемометра включается с одновременным замыканием контактов и включением секундомера. Таким же образом происходит и выключение счетного механизма: также с замыканием контактов и выключением секундомера.
При этом вычисляем скорость, с которой был перемещен анемометр: снимаем показания счетных механизмов анемометра и по прилагаемому к нему заводскому графику вычисляем определенную анемометром скорость. Сравнивая эти показания со скоростью перемещения тележки с анемометром, выявляем погрешность в показаниях анемометра.
В примере конкретного исполнения абсолютная погрешность заявляемого устройства равна ±0,0062 м/с, а основная погрешность измерения (равна) ±0,0001008 м/с при нормальных метеорологических условиях (давление 760 мм рт.ст., температура окружающей среды t=+25°С, относительная влажность воздуха 45%).
Таким образом, по сравнению с прототипом заявляемый способ и устройство для его реализации позволяют достичь высокой точности измерений при поверке анемометра – менее 0,5%, что позволяет стандартизировать весь процесс проведения поверки средств измерений способом, доступным любому региональному (территориальному) центру стандартизации, метрологии и сертификации. При этом не требуются капитальные затраты на строительство специальных зданий со сложным комплексом вентиляционных установок, обеспечивающих стандартные аэродинамические условия поверки средств измерений.
Формула изобретения
1. Способ поверки средств измерения скорости движения воздуха в аэродинамической трубе путем воздействия воздушным потоком на воспринимающие механизмы измерительных устройств с последующей оценкой соответствия показателей, отличающийся тем, что движение воздушного потока в аэродинамической трубе реализуется равномерным движением поверяемого анемометра в неподвижном воздухе с заданной скоростью по эталонному участку пути.
2. Устройство поверки приборов измерения скорости воздушного потока, включающее аэродинамическую трубу, отличающееся тем, что аэродинамическая труба выполнена в виде сборного переносного каркаса, изолирующего участок пути измерения от внешних тепловых и аэродинамических воздействий, при этом внутри трубы расположены эталонный участок пути движения поверяемого средства измерений, побудитель движения с регулятором ступенчатого переключения скоростей движения, секундомер измерения времени продвижения поверяемого средства измерений по эталонному участку пути, включаемый синхронно с началом движения, тележка с роликовым механизмом, на которую крепится поверяемый анемометр, и контактный рычаг, включающий секундомер в момент начала движения тележки, тягопротяжный механизм, соединяющий побудитель тяги с тележкой, при этом устройство содержит источник электропитания с механизмом, обеспечивающим стабильность работы побудителя.
РИСУНКИ
|
|