|
|
(21), (22) Заявка: 2008116512/28, 22.04.2008
(24) Дата начала отсчета срока действия патента:
22.04.2008
(46) Опубликовано: 27.12.2009
(56) Список документов, цитированных в отчете о поиске:
RU 2171481 C1, 27.07.2001. Гироскопия и навигация, 1, 2000, с.39-51, СОКОЛОВ А.В., УСОВ С.В., ЭЛИНСОН Л.С. Опыт проведения гравиметрической съемки в условиях выполнения морских сейсмических работ. RU 2198414 C1, 10.02.2003. RU 2127439 C1, 10.03.1999. CN 1278067 A, 27.12.2000. JP 10-019653 A, 23.01.1998.
Адрес для переписки:
197046, Санкт-Петербург, ул.Малая Посадская, 30, заместителю ген. директора по экономике и финансам ОАО “Концерн “ЦНИИ “Электроприбор”, А.Б.Попову
|
(72) Автор(ы):
Соколов Александр Вячеславович (RU), Старосельцева Ирина Михайловна (RU), Элинсон Леон Соломонович (RU)
(73) Патентообладатель(и):
Открытое акционерное общество “Концерн “Центральный научно-исследовательский институт “Электроприбор” (RU)
|
(54) УСТРОЙСТВО ИЗМЕРЕНИЯ СИЛЫ ТЯЖЕСТИ
(57) Реферат:
Изобретение относится к приборостроению и может быть использовано для измерения силы тяжести. Согласно изобретению устройство содержит двойную кварцевую упругую систему крутильного типа с горизонтальными маятниками и укрепленными на них зеркалами, которая помещена в корпус, наполненный демпфирующей жидкостью, и фотоэлектрический преобразователь, включающий в себя источник излучения, объектив, автоколлимационную марку, установленную в фокальной плоскости объектива, и фотоэлектрический приемник, размещенный в сопряженной фокальной плоскости объектива, при этом в качестве фотоэлектрического приемника установлена специализированная мегапиксельная ТВ-камера на КМОП-структуре, выход которой подключен к USB – порту ПЭВМ, а вход подключен к блоку синхронизации, который соединен также с источником излучения. Фотоэлектрический преобразователь закреплен на корпусе упругой системы с возможностью его поворота вокруг оптической оси. Упругая система помещена в корпус термостата, на боковых стенках которого прикреплены полупроводниковые модули с радиаторами. В нижней части основания термостата установлен вентилятор, а корпус термостата жестко закреплен на основании через теплоизолирующую плиту и закрыт теплоизолирующим материалом. Изобретение позволяет повысить точность гравиметрических измерений при изменении температуры окружающей среды в широком диапазоне. 2 з.п. ф-лы, 5 ил.
Изобретение относится к геофизике, в частности к устройствам для измерения силы тяжести.
Известен кварцевый гравиметр [см. Гироскопия и навигация. – 2000. – 1. – С.39-51. Соколов А.В., Усов С.В., Элинсон Л.С. «Опыт проведения гравиметрической съемки в условиях выполнения морских сейсмических работ»], содержащий корпус, заполненный демпфирующей жидкостью, в верхнем основании которого установлено защитное стекло, двойную кварцевую упругую систему крутильного типа, включающую два горизонтальных маятника с укрепленными на них зеркалами, фотоэлектрический преобразователь, автоколлимационного типа для измерения угла поворота маятников. С целью снижения влияния изменения температуры корпус с упругой системой помещен в термостат нагревного типа, обеспечивающий поддержание температуры в месте установки термодатчика на стенке корпуса на уровне 38°С с погрешностью 0,1°С.
Недостатком известного устройства является достижение высокой точности только при незначительном изменении температуры окружающей среды в пределах ±0,5°С. Кроме того, при указанном уровне температуры термостатирования существенно увеличивается скорость смещения нульпункта гравиметра. Ухудшение точности обусловлено тем, что система термостатирования не охватывает фотоэлектрический преобразователь и воздействие изменения температуры на кварцевую систему происходит в основном через оптическое окно преобразователя.
Известно также устройство измерения силы тяжести по патенту РФ 2198414 от 04.03.2002 г., опубликованному 10.02.2003 г. в Бюллетене 4, отличающееся от приведенного выше тем, что фотоэлектрический приемник выполнен в виде двух ПЗС линейного типа, разнесенных на расстояние, соответствующее углу разворота зеркал маятников в направлении, перпендикулярном сканированию, а источник излучения с автоколлимационной маркой размещен на оптической оси объектива между ПЗС. Это устройство используется в гравиметре «Чекан-АМ», который успешно эксплуатируется многими отечественными и зарубежными компаниями при проведении геофизических исследований в интересах поиска углеводородных залежей. Однако этому гравиметру присущ тот же недостаток: высокая точность достигается только при стабильных внешних условиях, которые трудно обеспечить при выполнении аэрогравиметрической съемки с самолетов, особенно в условиях Арктики, что является в настоящее время наиболее актуальной задачей.
Наиболее близким по технической сущности и принятым за прототип является кварцевый гравиметр по патенту РФ 2171481 от 03.02.2000 г., опубликованному 27.07.2001 г., содержащий корпус, заполненный демпфирующей жидкостью, внутри которого установлена двойная кварцевая упругая система крутильного типа с горизонтальными маятниками, к которым приварены плоские зеркала, развернутые в противоположные стороны на некоторый угол. В верхней части корпуса установлено защитное стекло, на котором размещены два компенсатора, каждый из которых состоит из пары оптических клиньев, образующих в исходном положении плоскопараллельную пластину. Над корпусом упругой системы расположен фотоэлектрический преобразователь, включающий в себя источник излучения, щелевую диафрагму, автоколлимационную оптическую систему и фотоэлектрический приемник излучения, представляющий собой ПЗС-матрицу.
Как и в приведенных выше гравиметрах, в термостат нагревного типа помещен только корпус с упругой системой. Фотоэлектрический преобразователь системой термостатирования не охвачен, вследствие чего изменение температуры окружающей среды приводит к существенному ухудшению точности измерений.
Задачей, на решение которой направлено изобретение, является повышение инструментальной точности гравиметрических измерений при изменении температуры окружающей среды в широком диапазоне.
Указанная задача достигается тем, что в устройстве измерения силы тяжести, содержащем двойную кварцевую упругую систему крутильного типа с горизонтальными маятниками и укрепленными на них зеркалами, которая помещена в корпус, наполненный демпфирующей жидкостью, и фотоэлектрический преобразователь, включающий в себя источник излучения, объектив, автоколлимационную марку, установленную в фокальной плоскости объектива, и фотоэлектрический приемник, размещенный в сопряженной фокальной плоскости объектива, при этом в качестве фотоэлектрического приемника установлена специализированная мегапиксельная ТВ-камера, выход которой подключен к USB – порту компьютера, фотоэлектрический преобразователь закреплен непосредственно на корпусе упругой системы с возможностью его поворота вокруг оптической оси, упругая система вместе с фотоэлектрическим преобразователем помещена в корпус термостата, на боковых стенках которого прикреплены полупроводниковые модули с радиаторами, при этом модули последовательно соединены в цепь, подключенную к выходу платы управления термостатом, вход которой соединен с образцовым терморезистором, встроенным в корпус термостата, в нижней части основания термостата установлен вентилятор, в самом основании размещены полости для прокачки воздуха через радиаторы с помощью вентилятора, а корпус термостата жестко закреплен на основании через теплоизолирующую плиту и закрыт теплоизолирующим материалом.
Основное преимущество предлагаемого изобретения обусловлено размещением в термостате корпуса упругой системы совместно с фотоэлектрическим преобразователем. При этом снижается влияние изменения температуры окружающей среды на упругую систему, так как исключено проникновение внешнего температурного поля через оптическое окно. Повышается инструментальная точность и самого фотоэлектрического преобразователя. Кроме того, на порядок уменьшается скорость смещения нульпункта кварцевой упругой системы, так как полупроводниковые модули с радиаторами, через которые прокачивается воздух, обеспечивают возможность термостатирования на пониженную температуру. Существенным преимуществом является крепление фотоэлектрического преобразователя непосредственно на корпусе упругой системы, благодаря чему повышается стабильность всего устройства.
Замена ПЗС-матрицы на специализированную мегапиксельную ТВ-камеру в качестве приемника фотоэлектрического преобразователя также обеспечивает повышение инструментальной точности устройства, так как размер элемента разложения КМОП-структуры, на которой построена ТВ-камера, в 2,5 раза меньше, чем ПЗС-матрицы. Исходя из изложенного, заявленная совокупность признаков позволяет получить необходимые и достаточные совокупности элементов и параметров устройства измерения силы тяжести, позволяющих повысить инструментальную точность измерений при изменении температуры окружающей среды в широком диапазоне.
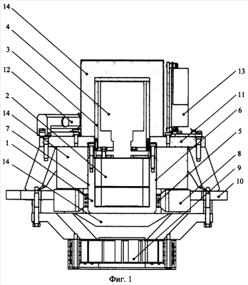
Сущность изобретения поясняется чертежами, где на фиг.1 изображен общий вид устройства в плоскости основного сечения, на фиг.2 – оптическая схема устройства, на фиг.3 – функциональная электрическая схема устройства, на фиг.4 – вид автоколлимационных изображений щелевой диафрагмы на чувствительной площадке ТВ-камеры, на фиг.5 – пример записи результатов измерений.
Устройство содержит термостат, состоящий из нижнего корпуса 1, в котором установлена упругая система гравиметра 2, и верхнего корпуса 3, в котором размещен фотоэлектрический преобразователь 4. Преобразователь соединен с упругой системой гравиметра 2 так, что обеспечивается возможность его поворота вокруг оси. На каждой из боковых стенок нижнего корпуса 1 установлено по два полупроводниковых модуля 5, работающих на эффекте Пельтье. В одну из стенок вблизи модулей вставлен образцовый терморезистор 6, выполняющий функции датчика системы термостабилизации, а на противоположной стенке – образцовый терморезистор 7, служащий для контроля температуры термостата. Для отвода тепла с горячих спаев модулей служат радиаторы 8, через которые прокачивается воздух с помощью вентилятора 9, установленного в нижней части основания устройства 10. Верхний корпус термостата 3 связан с основанием 10 посредством теплоизолирующего капролонового кольца 11. На кольце установлены два пузырьковых уровня 12, предназначенные для фиксации положения оси чувствительности упругой системы после ее выставки. На основании 10 размещена плата управления термостатом 13. Нижний и верхний корпусы термостата окружены теплоизолирующим материалом 14.
Как показано на фиг.2, упругая система гравиметра 2 содержит корпус 15, заполненный демпфирующей жидкостью 16. Внутри корпуса 15 установлены две кварцевые системы, каждая из которых содержит рамку 17 с торсионом 18, к которому приварен горизонтальный маятник 19 с зеркалом 20. В верхней части корпуса 15 установлено защитное стекло 21. На корпусе закреплен фотоэлектрический преобразователь, включающий в себя источник излучения 22, щелевую диафрагму 23, установленную в фокальной плоскости объектива 24, светоделительный элемент 25 и приемник излучения 26 в виде специализированной мегапиксельной ТВ-камеры, чувствительная площадка которой совмещена с сопряженной фокальной плоскостью объектива 24.
На фиг.3 приведена функциональная электрическая схема устройства. На фиг.3 обозначены: 26 – мегапиксельная ТВ-камера с фотоприемником на КМОП-структуре; 27 – ПЭВМ; 28 – блок синхронизации; 29 – термостат; 30 – плата управления термостатом; 31 – преобразователь напряжения.
ТВ-камера 26 и блок синхронизации 28 образуют контур приема данных. ТВ-камера 26 обеспечивает прием оптических автоколлимационных изображений светящейся щели и передачу в ПЭВМ 27 цифрового видеокадра. Блок синхронизации 28 предназначен для управления работой ТВ-камеры 26 по внутренним или внешним синхроимпульсам, в том числе и по сигналам от приемоиндикаторов спутниковых навигационных систем.
Термостат 29 с платой управления 30 и преобразователем 31 образуют контур термостатирования устройства в целом. К входам платы управления 30 подключены терморезистор-датчик 6 и контрольный терморезистор 7 соответственно, а аналоговый выход платы управления 30 соединен с полупроводниковыми модулями 5. Цифровой выход платы управления 30 подключен к ПЭВМ 27 для формирования признака готовности устройства к выполнению измерений.
Устройство работает следующим образом: при подаче напряжения питания = 27В начинает работать контур термостатирования. При этом в зависимости от величины сопротивления Rтд терморезистора-датчика 6 плата управления 30 вырабатывает управляющее напряжение Uупр, по которому полупроводниковые модули 5 осуществляют нагрев или охлаждение нижнего корпуса 1 термостата. Через некоторое время температура нижнего корпуса 1 термостата устанавливается на заданном уровне и по величине сопротивления Rc контрольного терморезистора 7 вырабатывается признак готовности (Ready), поступающий в ПЭВМ 27. По приходу в ПЭВМ 27 признака готовности производится включение контура приема данных. При этом с ПЭВМ 27 подается напряжение = 5В на ТВ-камеру 26 и блок синхронизации 28. Блок синхронизации 28 формирует импульсы (Sync2) управления работой ТВ-камеры 26 и источником излучения 22 фотоэлектрического преобразователя 4. Импульсы (Sync2) вырабатываются по данным внутреннего кварцевого генератора с возможностью синхронизации его работы от внешнего источника (Sync1).
Как показано на фиг.2, поток световых лучей от источника излучения 22, освещающего щелевую диафрагму 23, проходит через светоделительный элемент 25 и объектив 24, отражается от зеркал 20 маятников 19, делящих его на две части, снова попадает в объектив 24 и направляется на светочувствительную площадку ТВ-камеры 26, в которой формируются автоколлимационные изображения щелевой диафрагмы Р1 и Р2 (фиг.4).
Изменение L1 положения автоколлимационного изображения Р1, сформированного от зеркала 20 первого маятника 19, пропорционально изменению угла закручивания  1 торсиона нити 4 в соответствии с формулой:
L1=2кF 1,
где к – коэффициент преломления демпфирующей жидкости 16;
F – фокусное расстояние объектива 24.
Величина угла  1 пропорциональна изменению силы тяжести g:
 1= 1 g,
где 1 – коэффициент, определяемый силой упругости торсиона 18.
Торсионы 18 кварцевых систем предварительно закручены в противоположные стороны. Поэтому при увеличении силы тяжести g величина L1 увеличивается, a L2 уменьшается. Изменение L2 положения автоколлимационного изображения Р2, сформированного от зеркала 20 второго маятника 19, связано с изменением угла закручивания  2 торсиона 18 в соответствии с формулой:
L2=-2кF 2.
Отсюда за меру изменения силы тяжести g принимается изменение L расстояния между автоколлимационными изображениями Р1 и Р2 в соответствии с формулой:
L= (L1-L2).
Автоколлимационные изображения передаются в ПЭВМ в виде цифрового видеокадра, представляющего собой матрицу координат пикселей и их интенсивностей.
Отсчет m1, пикс, характеризующий положение L1 автоколлимационного изображения Р1, вычисляется в ПЭВМ в два этапа. На первом этапе вычисляется отсчет m1i, определяющий положение автоколлимационного изображения по интенсивностям пикселей i-й строки в соответствии с формулой:

где In – интенсивность n-го пикселя;
n – порядковый номер пикселя, интенсивность которого в коде превышает заданный уровень;
N – количество пикселей, интенсивность которых в коде превышает заданный уровень.
На втором этапе отсчет m1, пикс, характеризующий положение L1 автоколлимационного изображения, вычисляется как среднее арифметическое из отсчетов m1i, полученных для всех строк заданной области.
Аналогично вычисляется отсчет m2, пикс, характеризующий положение L2 автоколлимационного изображения Р2.
В качестве меры измерения изменения силы тяжести g принимается значение:
m=m-m0,
где m=m1-m2 – текущие отсчеты;
m0=m10-m20 – начальный отсчет на опорном гравиметрическом пункте, относительно которого производятся измерения.
Значения коэффициентов преобразования величины g в показания m, пикс, определяются экспериментальным путем.
Предлагаемое изобретение проверено на макете устройства измерения силы тяжести, включающее имитатор упругой системы гравиметра с фотоэлектрическим преобразователем, и макет термостата с использованием полупроводниковых модулей К 1-31-1/2,5, имеющих размер 15×15×4,8 мм.
Фокусное расстояние объектива преобразователя 40 мм. В качестве источника излучения использовался светодиод с максимальной чувствительностью в красной области ( ~0,6 мкм). В качестве приемника применена цифровая 3-мегапиксельная КМОП ТВ-камера. Строка матрицы состоит из 2048 пикселей, столбец – из 1536 пикселей. Размер пикселя 3,2×3,2 мм. Данная ТВ-камера является цветной, что накладывает определенные требования на ее использование в качестве преобразователя линейной величины в код. Так как в качестве источника излучения принят светодиод с максимальной чувствительностью в красной области, то при обработке видеосигнала использовалась информация от пикселей красного цвета, которые чередуются через один и вдоль строки, и вдоль столбца.
Работа видеокамеры осуществлялась с помощью внешней синхронизации.
Для вычисления положения автоколлимационных изображений Р1, Р2 на матрице задавались:
– начальная строка области расположения каждого изображения;
– количество строк области, равное 30.
Передача цифрового видеокадра от ТВ-камеры в компьютер выполнялась с частотой 10 Гц по высокоскоростному последовательному интерфейсу USB v.2.0.
Пример записи результатов измерений приведен на фиг.5. СКО инструментальной погрешности, полученные по исходным данным и фильтрованным значениям, составили соответственно 0,01 пикс и 0,001 пикс. Учитывая, что расчетное значение коэффициента преобразования силы тяжести в код в рассматриваемом случае близко к 10 мГал/пикс, то итоговая оценка инструментальной погрешности в мГал соответствует 0,01 мГал.
Испытания макета термостата показали, что точность поддержания температуры упругой системы гравиметра с фотоэлектрическим преобразователем составила ~ 0,02°С при перепаде температуры внешней среды 20°С.
Полученные результаты подтверждают преимущества построения устройства измерения силы тяжести по предлагаемому изобретению.
Формула изобретения
1. Устройство измерения силы тяжести, содержащее двойную кварцевую упругую систему крутильного типа с горизонтальными маятниками и укрепленными на них зеркалами, которая помещена в корпус, наполненный демпфирующей жидкостью, и фотоэлектрический преобразователь, включающий в себя источник излучения, объектив, автоколлимационную марку, установленную в фокальной плоскости объектива, и фотоэлектрический приемник, размещенный в сопряженной фокальной плоскости объектива, отличающееся тем, что фотоэлектрический преобразователь закреплен непосредственно на корпусе упругой системы с возможностью его поворота вокруг оптической оси, упругая система вместе с фотоэлектрическим преобразователем помещена в корпус термостата, на боковых стенках которого прикреплены полупроводниковые модули с радиаторами, при этом модули последовательно соединены в цепь, подключенную к выходу платы управления термостатом, вход которой соединен с образцовым терморезистором, встроенным в корпус термостата, в нижней части основания термостата установлен вентилятор, в самом основании размещены полости для прокачки воздуха через радиаторы с помощью вентилятора, а корпус термостата жестко закреплен на основании через теплоизолирующую плиту и закрыт теплоизолирующим материалом.
2. Устройство по п.1, отличающееся тем, что в качестве фотоэлектрического приемника установлена специализированная мегапиксельная ТВ-камера на КМОП-структуре, выход которой подключен к USB-порту ПЭВМ, а вход подключен к блоку синхронизации, который соединен также с источником излучения, при этом вход блока синхронизации подключен к внешнему источнику синхроимпульсов.
3. Устройство по п.1, отличающееся тем, что выход платы управления термостатом подключен через ПЭВМ к входу блока синхронизации работы устройства.
РИСУНКИ
|
|