|
|
(21), (22) Заявка: 2008122072/28, 03.06.2008
(24) Дата начала отсчета срока действия патента:
03.06.2008
(46) Опубликовано: 27.12.2009
(56) Список документов, цитированных в отчете о поиске:
RU 2204845 C1, 20.05.2003. RU 2204848 С2, 20.05.2003. SU 1538718 A1, 15.09.1994. ЕР 0661557 А2, 05.07.1995.
Адрес для переписки:
109017, Москва, Пыжевский пер., 7, ГИН РАН
|
(72) Автор(ы):
Ефимов Владимир Николаевич (RU)
(73) Патентообладатель(и):
Геологический институт РАН (RU)
|
(54) СЕЙСМИЧЕСКИЙ ПНЕВМОИЗЛУЧАТЕЛЬ
(57) Реферат:
Изобретение относится к области сейсморазведки и может быть использовано для возбуждения упругих колебаний в водной среде. Сущность: устройство включает основание, держатель челнока и накопительную камеру. Основание выполнено с камерой запуска, каналом подачи сжатого воздуха в рабочую полость, электромагнитным пневмоклапаном и каналом подачи сжатого воздуха в него. Камера запуска сообщена с выходом электромагнитного клапана и с окружающей средой посредством каналов. Держатель челнока выполнен с верхним и нижним поршнями, соединенными полым штоком, и оснащен круглым осевым выхлопным окном. Накопительная камера герметизирована от окружающей среды нижним поршнем со ступенчатым выступом внизу и верхним торцом полимерного кольца, установленного в цилиндрической части держателя. Цилиндрическая часть держателя и накопительная камера отделены друг от друга пористой дисковой прокладкой из фильтрующего материала. В накопительной камере выполнен кольцевой завихряющий выступ в виде бурта нижнего торца кольца. Технический результат: упрощение конструкции. 1 ил.
Изобретение относится к сейсморазведке и предназначено для возбуждения упругих колебаний в водной среде путем реализации в нее порции сжатого воздуха в заданный момент времени. Преимущественная область использования в морской сейсморазведке.
Известен сейсмический пневмоизлучатель (1), содержащий корпус и накопительную камеру с выходным окном, циклично герметизируемым от окружающей среды металлическим поршнем и полимерным кольцом прямоугольного сечения, размещенным в прямоугольной проточке корпуса с возможностью его продольного свободного ограниченного перемещения до упора в борта проточки своими торцовыми поверхностями, между наружной цилиндрической поверхностью полимерного кольца и сопряженной с ней внутренней поверхностью проточки выполнен кольцевой пояс шероховатости, сообщенный с окружающей средой и расположенный хотя бы на одной из этих поверхностей, причем ширина его выбрана так, что он гарантированно перекрыт со стороны высокого давления полимерным кольцом при любом его продольном положении во всем диапазоне рабочих давлений, а торцовая нижняя поверхность полимерного кольца, обращенная во вне излучателя, сопряжена с торцовой поверхностью поршня, обращенной во внутрь излучателя в его запертом состоянии.
Недостатком устройства является превышение уплотняющего диаметра в выхлопном окне относительно диаметра выхлопного окна на глубину внутренней прямоугольной проточки, в которую установлено подвижное полимерное кольцо, что влечет за собой необходимость увеличения толщины стенок корпуса излучателя и его стоимость.
Известен также сейсмический пневмоизлучатель (2), содержащий накопительную камеру с выходным окном, циклично герметизируемую от окружающей среды поршнем со ступенчатым выступом и полимерным кольцом прямоугольного сечения с возможностью его ограниченного осевого перемещения, ограничительный выступ для полимерного кольца, расположенный на внутренней стенке накопительной камеры со стороны, противоположной выходному окну, в который введены две асимметричные кольцевые канавки, сдвинутые относительно друг друга по оси пневмоизлучателя, первая, неподвижная, расположенная на внутренней поверхности стенки накопительной камеры, и вторая, подвижная, расположенная на наружной поверхности полимерного кольца, первая кольцевая канавка выполнена сдвинутой по оси пневмоизлучателя относительно второй кольцевой канавки в сторону выходного окна так, что даже при крайнем положении полимерного кольца на посадке своим торцом на поршень в ждущем состоянии пневмоизлучателя цилиндрические поверхности стенки и кольца сопряжены между обеими кольцевыми канавками, две кольцевые камеры низкого давления, первая, неподвижная, образованная поверхностью первой кольцевой канавки и наружной поверхностью полимерного кольца, и вторая, подвижная, образованная внутренней поверхностью стенки накопительной камеры и поверхностью второй кольцевой канавки, обе кольцевые канавки выполнены с торцовой и конусной поверхностями бортов, обращенными основаниями обоих конусов в сторону выходного окна, между торцом полимерного кольца, обращенным во внутрь накопительной камеры, и торцовым бортом второй кольцевой канавки на полимерном кольце на его внешней поверхности введен чистый уплотнительный поясок, вторая подвижная камера низкого давления сообщена хотя бы одним каналом с первой неподвижной камерой низкого давления, выполненным на внешней поверхности полимерного кольца хотя бы одной отводной продольной или спиральной канавкой, достигающей торцовой поверхности второй кольцевой канавки и гарантированно пересекающей первую кольцевую канавку в положении полимерного кольца на посадке на торец поршня в ждущем состоянии пневмоизлучателя, первая камера низкого давления сообщена с окружающей средой хотя бы одним отводным каналом, а уплотнительное кольцо выполнено из эластичного упругого материала, например полиуретана, резины.
Недостатком устройства является сложность изготовления узла уплотнения накопительной камеры и в результате также высокая стоимость излучателя.
В качестве прототипа выбран сейсмический пневмоизлучатель (3), содержащий корпус накопительной камеры с выходным окном, циклично герметизируемой от окружающей среды поршнем со ступенчатым выступом и подвижным в продольном направлении в ограниченных пределах кольцом с двумя различными внешними диаметрами, выполненными в виде бурта, характеризующийся тем, что в области пересечения поверхности торца кольца, обращенного во внутрь накопительной камеры, и поверхности его большего наружного диаметра в пневмоизлучатель введена кольцевая камера низкого давления, образованная выполненной на кольце или в стенке корпуса накопительной камеры кольцевой канавкой или щелью стыка сборки деталей корпуса накопительной камеры, сообщенная хотя бы одним каналом с окружающей средой, длина образующей внутренней поверхности вращения стенки накопительной камеры от крайних точек касания с ней полимерного кольца выполнена меньше длины образующей внешней поверхности вращения подвижного кольца между этими же точками, подвижное кольцо выполнено из полимерного эластичного материала, например полиуретана, резины, силиконовой резины, а больший наружный диаметр его выполнен на 1-2% больше внутреннего диаметра сопрягаемой поверхности стенки корпуса накопительной камеры, при этом обеспечивают возможность переменного по амплитуде продольного перемещения элементов тела кольца от максимальной ее величины на торце кольца, обращенного во вне накопительной камеры, по направлению к поршню излучателя при действии высокого давления газа в ней до нулевой на противоположном его торце за счет спрямления внешней образующей поверхности вращения кольца на величину, равную разности длин сопрягаемых образующих поверхностей вращения кольца и корпуса накопительной камеры, а длина выступа поршня выполнена равной или большей этой разности.
Недостатком прототипа является также сложность изготовления узла уплотнения накопительной камеры и в результате высокая стоимость излучателя.
Сущность изобретения заключается в том, что в сейсмическом пневмоизлучателе, содержащем корпус накопительной камеры с круглым осевым выхлопным окном, герметизируемой от окружающей среды поршнем со ступенчатым выступом внизу и верхним торцом подвижного в продольном направлении в ограниченных пределах полимерного кольца, установленного в цилиндрической части накопительной камеры, внешняя поверхность которого хотя бы частично сообщена с окружающей средой и выполнена на 1-2% больше внутреннего диаметра сопрягаемой поверхности стенки камеры и циклично вскрываемой в окружающую среду при движении поршня вверх, полимерное кольцо выполнено в виде простого удлиненного отрезка шланга, поршень и полимерное кольцо выполнены из материалов с различными модулями Юнга, эластомер полимерного кольца выбран с модулем Юнга, меньшим модуля материала поршня во всем диапазоне рабочих давлений, длина кольца выбрана с гарантией обеспечения смещения вверх его верхнего торца при его боковом сжатии при отсутствии поршня при неподвижном нижнем его торце, большего на 10-20%, чем смещение вверх сопрягающегося торца поршня при его осевом сжатии под аналогичным давлением во всем диапазоне рабочих давлений, толщина кольца выполнена гарантированно большей на 20-30%, чем зазор между стенкой накопительной камеры и наружной цилиндрической поверхностью поршня во всем диапазоне давлений от атмосферного до максимального рабочего, в излучатель дополнительно введена размещенная на расстоянии 4-5 мм от нижнего торца полимерного кольца дисковая прокладка из фильтрующего материала, например, тканого или пористого (фетра, войлока и т.п.), с внутренним диаметром, равным диаметру стенки накопительной камеры, сопряженной с наружной цилиндрической поверхностью кольца, сообщенная своими порами с окружающей средой, например, стыком деталей корпуса накопительной камеры, в накопительной камере выполнен кольцевой завихряющий выступ в виде бурта вблизи нижнего торца кольца с внутренним диаметром, равным внутреннему диаметру кольца, верхний торец этого выступа размещен с гарантией перекрытия верхним торцом кольца ступенчатого выступа поршня при упоре кольца в этот кольцевой выступ, а ширина его выполнена по крайней мере меньше высоты с гарантией отрыва вихря над нижним торцом кольца, внутренняя поверхность камеры выполнена чистой хотя бы между прокладкой и кольцевым выступом.
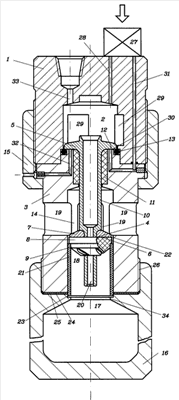
Изобретение поясняется чертежом, где дан пример общего вида сейсмического пневмоизлучателя в вертикальном положении с накопительной камерой, расположенной внизу.
Пневмоизлучатель содержит основание 1 с рабочей полостью 2, держатель 3 челнока 4 с двумя поршнями, верхним 5 и нижним 6, составленным из металлического элемента 7 и полимерного 8, имеющего выступ 9, соединенными полым штоком 10, установленным в подшипник скольжения 11, седло 12 верхнего поршня 5 с уплотнительным кольцом 13, полость выхлопа 14, накидную гайку 15, скрепляющую основание 1 с держателем 3 челнока 4, сменный баллон 16 накопительной камеры 17 различного объема с выхлопным окном 18, соединенный с держателем 3 челнока 4 с помощью резьбы, выхлопные окна 19 в держателе 3 челнока 4, проходной канал 20 в полом штоке 10 челнока 4, полимерное эластичное кольцо 21 в виде отрезка шланга, герметизирующее накопительную камеру 17 торцовым контактом с полимерным элементом 8 нижнего поршня 6 и контактом его боковой поверхности с цилиндрической частью баллона 16, установленное в цилиндрической части 22 держателя 3 и цилиндрической части 23 сменного баллона 16 накопительной камеры 17, разделенных пористой прокладкой 24, образующую своими порами камеру низкого давления 25, сообщенную с окружающей средой зазором 26 в резьбе, электромагнитный пневмоклапан 27 с каналом 28 подачи сжатого воздуха в него, перепускные выемки 29 в основании 1, камеру запуска 30, сообщенную с выходом электромагнитного пневмоклапана 27 каналом 31 и с окружающей средой каналом 32, канал 33 подачи сжатого воздуха в излучатель, кольцевой выступ 34 в цилиндрической части выхлопного окна 18. Уплотняющий диаметр верхнего поршня 5 больше уплотняющего диаметра нижнего поршня 6 равному внутреннему диаметру цилиндрической поверхности держателя 3 челнока 4, сопрягающейся с внешней поверхностью полимерного кольца 21. На коническом выступе полимерного элемента 8 нижнего поршня 6 выполнены асимметричные спиральные канавки.
Излучатель работает в двух режимах: подготовительном и эксплуатационном. В подготовительном режиме электромагнитный пневмоклапан 27 закрыт и по каналу 33 в излучатель подают сжатый воздух, в рабочей полости 2 возникает избыточное давление, в результате действия которого на площадь штока 10 челнока 4 он перемещается вниз и его верхний поршень 5 прижимается к своему седлу 12 и герметизирует рабочую полость 2 с помощью кольца 13. При этом выступ 9 полимерного элемента 8 нижнего поршня 6 перекрывает окно 18 накопительной камеры 17 с зазорами. Пока накопительная камера 17 не уплотнена, образуется стационарный поток сжатого воздуха из рабочей полости 2 через полый шток 10 челнока 4 по каналу 20, накопительной камере 17, цилиндрическому зазору между полимерным кольцом 21 и выступом 9 полимерного элемента 8 нижнего поршня 6, торцовому между верхним торцом полимерного кольца 21 и торцом ступени полимерного элемента 8 нижнего поршня 6 и цилиндрическому между ним и внутренней стенкой держателя 3 челнока. При этом давление воздуха в накопительной камере нарастает. В результате действия этого давления на нижний торец полимерного кольца 21 и его боковую внутреннюю поверхность оно деформируется с утонением и его верхний торец перемещается вверх а полимерный элемент 8 нижнего поршня 6 расширяется по диаметру и утоняется по оси. В связи с тем, что модуль объемного сжатия полимерного кольца 21 меньше модуля полимерного элемента 8 нижнего поршня 6, верхний торец полимерного кольца 21 перемещается вверх быстрее, чем сопрягающийся торец полимерного элемента 8 нижнего поршня 6. Величины проходных сечений через зазоры уменьшаются и давление в накопительной камере 17 увеличивается. Этот процесс протекает с положительной обратной связью: чем выше давление в накопительной камере 17, тем меньше проходные сечения через зазоры, тем еще выше давление в ней и т.д. до ее полной герметизации. Далее происходит накопление сжатого воздуха в накопительной камере 17 и повышение давления в ней до рабочего. Полимерное кольцо 21 своим верхним торцом отслеживает смещение сопряженного торца полимерного элемента 8 нижнего поршня 6 за счет сжатия своей толщины и соответствующего удлинения продольного размера под давлением.
Эксплуатационный режим работы излучателя включает четыре такта: “накопление”, “ожидание”, “выхлоп”, “возврат”, которые циклически повторяются.
В такте “накопление” происходит процесс, аналогичный описанному в конце подготовительного режима, но протекающий с большей скоростью.
В такте “ожидание” электромагнитный пневмоклапан 27 закрыт, рабочая полость 2 герметизирована от окружающей среды верхним поршнем 5 челнока 4 и уплотнительным кольцом 13, накопительная камера 17 герметизирована от окружающей среды полимерным элементом 8 нижнего поршня 6 челнока 4 и деформированным полимерным кольцом 21. Во всех внутренних полостях излучателя давление сжатого воздуха одинаково, а челнок 4 находится в крайнем нижнем устойчивом положении за счет разности площадей кругов уплотняемых диаметров верхнего 5 и нижнего 6 поршней челнока 4.
Такт “выхлоп” начинается с подачи через электропневмоклапан 27 в заданный момент времени порции сжатого воздуха по каналу 31 в камеру запуска 30. Давление сжатого воздуха над верхним поршнем 5 челнока 4 и под ним выравнивается и на челнок действует сила, определяемая разностью площадей его штока и площади выходного окна 18, которая перемещает челнок вверх. Происходит вскрытие накопительной камеры и сжатый воздух реализуется в окружающую среду через выхлопное окно 18 и выхлопные окна 19 держателя 3 челнока 4. Давление в накопительной камере падает, а в рабочей полости растет. В результате скорость движения челнока снижается до нуля. Ускорение скорости вскрытия обеспечивается перепускными выемками 29, а демпфирование скорости движения челнока в конце такта “выхлоп” происходит при полном проходе их зоны верхним поршнем 5. Полимерное кольцо 21 удерживается от выбрасывания при выхлопе за счет пониженного давления на его нижнем торце в результате завихрения потока на кольцевом выступе 34 в камере 17 и за счет гидростатического давления на его внешней цилиндрической поверхности, обеспечиваемого сообщением пористой камеры 25 с окружающей средой.
В такте “возврат” происходят те же процессы, что и в подготовительном режиме излучателя, но с большей скоростью. Демпфирование скорости челнока при посадке верхнего поршня 5 на свое седло 12 также обеспечивается после прохода им зоны перепускных выемок 29. Излишки сжатого воздуха из камеры запуска 30 дросселируются в окружающую среду по каналу 32. За счет изменения формы полимерного кольца 21 и его деформации под давлением его верхний торец отслеживает изменение положения ответной поверхности деформирующегося под давлением полимерного элемента 8 нижнего поршня 6 челнока 4, что и обеспечивает надежную герметизацию накопительной камеры 17.
Далее циклы повторяются. Равномерный износ деталей пневмоизлучателя обеспечивается небольшим поворотом челнока 4 за счет протекания сжатого воздуха по асимметричным спиральным канавкам 36 на коническом элементе 8 нижнего поршня 6 в каждом такте «выхлоп».
По сравнению с прототипом предложенное техническое решение позволяет значительно упростить конструкцию узла уплотнения накопительной камеры и снизить стоимость излучателя и сменных колец.
ИСТОЧНИКИ ИНФОРМАЦИИ
1. Патент РФ 2109310, кл. G01V 1/137 1/133, 1992. Бюл. 11, 20.04.98.
2. Патент РФ 2204848, кл. G01V 1/137 1.133, 2001. Бюл. 14, 20.05.2003.
3. Патент РФ 2204845 кл. G01V 1/02, 2001. Бюл. 14, 20.05.2003.
Формула изобретения
Сейсмический пневмоизлучатель, содержащий основание с электромагнитным пневмоклапаном и каналом подачи сжатого воздуха в него, камерой запуска, сообщенной с выходом электромагнитного клапана и с окружающей средой посредством каналов, каналом подачи сжатого воздуха в рабочую полость, держатель челнока с верхним и нижним поршнями, соединенными полым штоком, оснащенный круглым осевым выхлопным окном, а также накопительную камеру, герметизируемую от окружающей среды нижним поршнем со ступенчатым выступом внизу и верхним торцом подвижного в продольном направлении в ограниченных пределах полимерного кольца, установленного в цилиндрической части держателя, внешняя поверхность которого хотя бы частично сообщена с окружающей средой и выполнена на 1-2% больше внутреннего диаметра сопрягаемой поверхности стенки накопительной камеры, циклично вскрываемой в окружающую среду при движении нижнего поршня вверх, отличающееся тем, что полимерное кольцо выполнено в виде удлиненного отрезка шланга, поршень и полимерное кольцо выполнены из материалов с различными модулями Юнга, эластомер полимерного кольца выбран с модулем Юнга, меньшим модуля материала поршня во всем диапазоне рабочих давлений, длина кольца выбрана с гарантией обеспечения смещения вверх его верхнего торца при боковом сжатии при отсутствии поршня при неподвижном нижнем его торце, большего на 10-20%, чем смещение вверх сопрягающегося торца поршня при его осевом сжатии под аналогичным давлением во всем диапазоне рабочих давлений, толщина кольца выполнена на 20-30% большей, чем зазор между стенкой цилиндрической части держателя и наружной цилиндрической поверхностью поршня во всем диапазоне давлений от атмосферного до максимального рабочего, цилиндрическая часть держателя и накопительная камера отделены друг от друга пористой дисковой прокладкой, внутренний диаметр которой равен диаметру стенки накопительной камеры, сопряженной с наружной цилиндрической поверхностью полимерного кольца, причем пористая прокладка выполнена из фильтрующего материала, например тканного или пористого, и сообщена с окружающей средой посредством зазора в резьбе цилиндрического держателя, в накопительной камере выполнен кольцевой завихряющий выступ в виде бурта нижнего торца кольца с внутренним диаметром, равным внутреннему диаметру кольца, верхний торец этого выступа размещен с гарантией перекрытия верхним торцом кольца ступенчатого выступа поршня при упоре кольца в этот кольцевой выступ, а ширина его выполнена, по крайней мере, меньше высоты с гарантией отрыва вихря над нижним торцом кольца.
РИСУНКИ
|
|