|
|
(21), (22) Заявка: 2008147912/09, 04.12.2008
(24) Дата начала отсчета срока действия патента:
04.12.2008
(46) Опубликовано: 27.12.2009
(56) Список документов, цитированных в отчете о поиске:
Под ред. Н.П.Федорова «Поверхностные волны и микроволновые устройства контроля электрофизических параметров магнитодиэлектрических покрытий на металле». – М.: Издательство “Машиностроение-1”, 2004, 20 SU 918887 A1, 07.04.1982. SU 1689877 A1, 07.11.1991. SU 1758597 A1, 30.08.1992.
Адрес для переписки:
394052, г.Воронеж, ул. Краснознаменная, 153, ФГУ “ФГНИИЦ ОЭСЗ” Минобороны России
|
(72) Автор(ы):
Акиньшина Галина Николаевна (RU), Емельянов Евгений Сергеевич (RU), Кирьянов Олег Евгеньевич (RU), Понькин Виктор Архипович (RU)
(73) Патентообладатель(и):
Федеральное государственное учреждение “Федеральный государственный научно-исследовательский испытательный центр радиоэлектронной борьбы и оценки эффективности снижения заметности” Министерства обороны Российской Федерации (RU)
|
(54) УСТРОЙСТВО ДЛЯ ИЗМЕРЕНИЯ КОЭФФИЦИЕНТА ОТРАЖЕНИЯ ЭЛЕКТРОМАГНИТНОЙ ВОЛНЫ
(57) Реферат:
Изобретение относится к радиолокации, в частности к радиолокационным измерениям, и может быть использовано при измерении коэффициента отражения (КО) радиопрозрачных обтекателей (РПО) и плоских образцов радиопоглощающих материалов и покрытий (РПМП). Технический результат заключается в повышении точности измерения КО ЭМВ за счет увеличения динамического диапазона измерения и обеспечения возможности измерения КО при нормальном падении ЭМВ на исследуемый объект. Устройство содержит в безэховой камере антенную систему, исследуемый объект на подставке, приемо-передающее устройство, блок оценки коэффициента отражения электромагнитной волны, при этом антенная система выполнена в виде решетки из N (N>2) приемо-передающих элементов, расположенных на одной плоскости, с шагом, равным половине длины электромагнитной волны облучения, и введены переключатель приемо-передающих элементов антенной системы и блок управления приемо-передающим устройством. 2 ил.
Изобретение относится к радиолокации, в частности к радиолокационным измерениям, и может быть использовано при измерении коэффициента отражения (КО) радиопрозрачных антенных обтекателей (РПО) и плоских образцов радиопоглощающих материалов и покрытий (РПМП).
Одной из основных характеристик РПО и РПМП, подлежащей измерению, является их КО.
Известны устройства для измерения КО электромагнитной волны (ЭМВ) (см. Россия, авт. свид. 647619, МПК G01S 13/00, G01R 29/00, 1979 г., Япония З. 5-10630, МПК G01S 13/00, G01R 29/00, 1993 г. Пат. США 4942363, МПК G01S 13/00, G01R 29/00, 1990 г.), содержащие антенную систему, исследуемый объект на подставке и последовательно соединенные приемо-передающее устройство и блок оценки коэффициента отражения электромагнитной волны.
Недостатком известных устройств является то, что в этих устройствах в качестве антенной системы используют одну приемо-передающую антенну совместно с СВЧ-элементами, развязывающими зондирующий и принимаемый сигналы. Развязка сигналов сужает динамический диапазон прибора.
Наиболее близким по технической сущности устройством является устройство для измерения диэлектрической проницаемости (см. «Поверхностные волны и микроволновые устройства контроля электрофизических параметров магнитодиэлектрических покрытий на металле», под ред. Н.П.Федорова. М.: Изд-во Машиностроение-1, 2004 г., с.20), содержащее антенную систему, исследуемый объект на подставке и последовательно соединенные приемо-передающее устройство и блок оценки коэффициента отражения электромагнитной волны.
Принцип действия наиболее близкого по технической сущности устройства состоит в следующем. Электромагнитная волна от приемопередающего устройства поступает на передающую антенну и излучается в направлении на исследуемый объект. Отраженная от объекта волна поступает через приемную антенну в приемо-передающее устройство, где усиливается и преобразуется в необходимую форму, и подается на индикатор.
Недостатком наиболее близкого технического решения является низкая точность измерения КО ЭМВ.
Техническим результатом изобретения является повышение точности измерения КО ЭМВ за счет увеличения динамического диапазона измерения и обеспечения возможности измерения КО при нормальном падении ЭМВ на исследуемый объект.
Указанный технический результат достигается тем, что в известное устройство для измерения КО ЭМВ, содержащее в безэховой камере антенную систему, исследуемый объект на подставке и последовательно соединенные приемо-передающее устройство и блок оценки коэффициента отражения электромагнитной волны, отличающееся тем, что антенная система выполнена в виде решетки из N (N>2) приемо-передающих элементов, расположенных на одной плоскости, с шагом, равным половине длины электромагнитной волны облучения, введены переключатель приемо-передающих элементов антенной системы и блок управления приемо-передающим устройством, ко входу которого подключен блок оценки коэффициента отражения электромагнитной волны, а к первому и второму выходам соответственно – блок оценки коэффициента отражения электромагнитной волны и переключатель приемо-передающих элементов антенной системы, к входам которого подсоединено приемо-передающее устройство и один из приемопередающих элементов антенной системы.
Предлагаемая конструкция устройства позволяет оценить КО ЭМВ при нормальном падении ЭМВ без уменьшения динамического диапазона, обусловленного необходимостью развязки приемного и зондирующего сигналов при совмещенной приемо-передающей антенной системе.
Проведенный анализ уровня техники позволяет установить, что аналоги, характеризующие совокупность признаков, идентичных всем признакам заявляемого технического решения, содержащимся в предложенной заявителем формуле изобретения, отсутствуют, что указывает на соответствие заявляемого изобретения условию охраноспособности “новизна”.
Результаты поиска известных решений в данной и смежной областях техники с целью выявления признаков, совпадающих с отличительными признаками заявленного устройства, показали, что в общедоступных источниках информации не выявлены решения, имеющие признаки, совпадающие с его отличительными признаками. Из уровня техники также не подтверждена известность влияния отличительных признаков заявляемого изобретения на указанный заявляемый технический результат, следовательно, заявленное изобретение соответствует условию патентоспособности “изобретательский уровень”.
Заявляемое техническое решение “Устройство для измерения коэффициента отражения электромагнитной волны” промышленно применимо, так как совокупность характеризующих его признаков обеспечивает возможность его осуществления, работоспособность и воспроизводимость, и для его реализации могут быть использованы стандартные материалы и оборудование.
Сущность изобретения состоит в следующем. На первом этапе последовательно излучается ЭМВ Ei(r) каждым элементом антенной системы, где r – координата i-го элемента антенной системы. При каждом облучении ЭМВ объекта рассеянная ЭМВ регистрируется последовательно всеми элементами антенной системы. На втором этапе осуществляется весовая обработка массива зарегистрированных рассеянных ЭМВ Epn(r), (n=1, , N). После обработки результатов измерений получают оценку КО ЭМВ при нормальном падении ЭМВ.
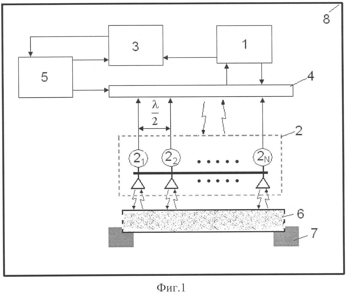
На фиг.1 представлена структурная схема заявляемого устройства для измерения КО ЭМВ. На фиг.2 представлен алгоритм работы блока оценки КО ЭМВ.
Устройство для измерения КО ЭМВ содержит приемо-передающее устройство 1, антенную систему 2, приемо-передающие элементы антенной системы 21÷2N, блок оценки коэффициента отражения электромагнитной волны 3, переключатель приемо-передающих элементов антенной системы 4, блок управления переключателем приемо-передающих элементов антенной системы 5, образец 6, подставку 7, безэховую камеру 8. Выход приемо-передающего устройства 1 соединен с приемо-передающими элементами 21÷2N антенной системы 2 через переключатель приемо-передающих элементов антенной системы 4, антенная система 2 через переключатель приемо-передающих элементов антенной системы 4 подключена ко входу приемо-передающего устройства 1, второй выход которого подключен ко входу блока оценки КО ЭМВ 3, выход блока оценки КО ЭМВ 3 соединен с блоком управления переключателем приемо-передающих элементов антенной системы 5, выход которого соединен с переключателем приемо-передающих элементов антенной системы 4. Объект измерения 6 устанавливается на подставке 7, а все устройство – в безэховой камере 8.
Устройство для измерения КО ЭМВ объектов может быть выполнено в диапазоне от 0,8 до 15 см с использованием следующих функциональных элементов.
В качестве приемо-передающего устройства 1 может использоваться векторный анализатор цепей как чувствительный широкополосный прибор.
Переключатель приемо-передающих элементов антенной системы 4, электрически управляемый блоком управления переключателем приемо-передающих элементов антенной системы 5.
Антенная система 2 состоит из N (N>2) приемо-передающих элементов 21÷2N, установленных на одной плоскости и закрепленных на основании из композитного материала. Размещение приемо-передающих элементов 21÷2N антенной системы 2 выбрано с шагом , где – длина волны, на которой необходимо оценить КО ЭМВ. Излучающие элементы могут быть выполнены в виде полуволновых вибраторов или рупорных антенн.
Блоки управления переключателем приемо-передающих элементов 21÷2N антенной системы 5 и блока оценки КО ЭМВ 3 могут быть выполнены в виде персональной ЭВМ типа IBM, совмещающей в себе управляющую и вычислительные функции.
Остальные блоки и устройства, входящие составной частью в устройство для измерения КО ЭМВ, могут быть выполнены известными способами. Устройство для измерения КО ЭМВ, установленное в безэховой камере 8, работает следующим образом.
Объект измерений 6 размещают на подставке 7. Приемо-передающее устройство 1 вырабатывает высокочастотные колебания, которые через переключатель приемо-передающих элементов антенной системы 4, управляемый блоком управления переключателем приемо-передающих элементов антенной системы 5, поступают к первому приемо-передающему элементу 21 антенной системы 2 и объект измерения 6 облучается ЭМВ, отраженные ЭМВ от объекта измерения 6 последовательно принимаются всеми приемо-передающими элементами 21÷2N антенной системы 2. Массив данных записывается в блок оценки КО ЭМВ 3 (ЭВМ). Затем переключатель приемо-передающих элементов антенной системы 4 с помощью блока управления переключателем приемо-передающих элементов антенной системы 5 подключает следующий приемо-передающий элемент 21÷2N антенной системы 2. Цикл повторяется до того, как исследуемый объект 6 будет облучен всеми приемо-передающими элементами 21÷2N антенной системы 2.
Затем исследуемый объект 6 удаляется с подставки 7 и весь цикл измерений повторяется. Производится запись результатов измерений рассеянной ЭМВ без исследуемого объекта 6.
При обработке результатов измерений результаты измерений рассеянной ЭМВ без исследуемого объекта 6 вычитаются из результатов измерения рассеянной ЭМВ с исследуемым объектом.
Обработка результатов измерений в блоке 3 производится по следующему алгоритму (фиг.2).
На первом этапе обработки производится расчет комплексной амплитуды рассеянной исследуемым объектом ЭМВ применительно к нормальному ее падению по формуле

где Е – комплексная амплитуда рассеянной исследуемым объектом ЭМВ применительно к нормальному падению и направлению приема,
an – весовые коэффициенты, определяемые путем минимизации отклонения суммарной ЭМВ приемо-передающих элементов 21÷2N антенной системы 2 от нормально падающей на исследуемый объект 6 ЭМВ,
An – вектор, элементы которого содержат разности фаз и отношения уровней, зарегистрированные приемо-передающими элементами 21÷2N антенной системы 2 при облучении объекта n-ым приемо-передающим элементом 2n антенной системы 2. На втором этапе рассчитывается КО ЭМВ по формуле

Емет – комплексная амплитуда рассеянной металлической пластиной ЭМВ применительно к нормальному падению и направлению приема.
Формула изобретения
Устройство для измерения коэффициента отражения электромагнитной волны, содержащее в безэховой камере антенную систему, исследуемый объект на подставке и последовательно соединенные приемопередающее устройство и блок оценки коэффициента отражения электромагнитной волны, отличающееся тем, что в нем антенная система выполнена в виде решетки из N (N>2) приемопередающих элементов, расположенных на одной плоскости, с шагом, равным половине длины электромагнитной волны облучения образца, и введены переключатель приемопередающих элементов антенной системы и блок управления приемопередающим устройством, ко входу которого подключен блок оценки коэффициента отражения электромагнитной волны, а к первому и второму выходам соответственно – блок оценки коэффициента отражения электромагнитной волны и переключатель приемопередающих элементов антенной системы, к входам которого подсоединено приемопередающее устройство и один из приемопередающих элементов антенной системы.
РИСУНКИ
|
|