|
|
(21), (22) Заявка: 2008112934/28, 03.04.2008
(24) Дата начала отсчета срока действия патента:
03.04.2008
(46) Опубликовано: 27.12.2009
(56) Список документов, цитированных в отчете о поиске:
SU 1064214 А, 30.12.1983. SU 1322159 A1, 07.07.1987. SU 1265634 А1, 23.10.1986. SU 1396077 А1, 15.05.1988. SU 1255944 A1, 07.09.1986.
Адрес для переписки:
620017, г.Екатеринбург, а/я 696
|
(72) Автор(ы):
Мурадов Эльхан Шахбаба оглы (RU), Марценюк Сергей Игоревич (RU)
(73) Патентообладатель(и):
Общество с ограниченной ответственностью “Технос” (RU)
|
(54) ДАТЧИК ТОКА
(57) Реферат:
Изобретение относится к электротехнике, а именно к датчикам силового тока. Сущность: датчик тока содержит резистивный элемент, соединенный с усилителем, и блок питания. При этом между резистивным элементом и выходом датчика установлена трансформаторная гальваническая развязка, включающая в себя аналого-цифровой преобразователь, разделяющий трансформатор и цифро-аналоговый преобразователь. Выход усилителя соединен с аналого-цифровым преобразователем, выход аналого-цифрового преобразователя – с первичной обмоткой разделяющего трансформатора, вторичная обмотка которого соединена с цифро-аналоговым преобразователем, а усилитель и аналого-цифровой преобразователь связаны с блоком питания через трансформатор питания. Технический результат: возможность измерения силы тока в цепи высокого напряжения с помощью электронных компонентов, рассчитанных на низкое напряжение без опасности их повреждения высоким напряжением. 1 ил.
Изобретение относится к электроизмерительному оборудованию, а именно к преобразователям силового тока, как постоянного, так и переменного тока.
Датчики тока, основанные на преобразовании измеряемого тока в другую электрическую величину посредством резистивного элемента, известны из следующих источников: серийно выпускаемые токовые шунты, например типа 75ШСММ3 или 150ШСММ3, производимые ООО «ШиП», г.Краснодар (информация с сайта из сети Интернет, адрес www.shunts.narod.ni), или датчик тока, применяемый совместно с внешним резистивным элементом, например типа МАХ471 или МАХ472, выпускаемые американской фирмой MAXIM-Dallas (информация с сайта из сети Интернет, адрес www.platan.ru/pdf/1dist/maxim/MAX471_M.PDF).
Наиболее близким по технической сущности к патентуемому датчику тока следует считать датчик тока МАХ471, выпускаемый американской фирмой MAXIM-Dallas.
Этот датчик тока содержит внешний резистивный элемент, линейный усилитель и стабилизированный блок питания.
При протекании тока через резистивный элемент напряжение на нем изменяется пропорционально величине тока, усиливается линейным усилителем, и с помощью измерительного оборудования, например вольтметра, можно измерить величину тока.
Недостатком известного датчика тока является невозможным измерение силы тока резистивным элементом в цепи с высоким напряжением электронными компонентами, рассчитанными на низкое напряжение, ввиду возможного их повреждения высоким напряжением.
Изобретением решается задача создания датчика тока, позволяющего измерять ток в цепи высокого напряжения резистивным элементом с помощью электронных компонентов, рассчитанных на низкое напряжение без опасности их повреждения.
Технический результат, который достигается изобретением, состоит в появлении возможности измерения тока высокого напряжения резистивным элементом с помощью электронных компонентов, рассчитанных на низкое напряжение.
Это достигается тем, что между резистивным элементом и выходом датчика установлена трансформаторная гальваническая развязка, включающая в себя аналого-цифровой преобразователь, разделяющий трансформатор и цифроаналоговый преобразователь, при этом выход усилителя соединен с аналого-цифровым преобразователем, выход аналого-цифрового преобразователя – с первичной обмоткой разделяющего трансформатора, вторичная обмотка которого соединена с цифроаналоговым преобразователем, а усилитель и аналого-цифровой преобразователь связаны с блоком питания через трансформатор питания.
Цепь преобразования сигнала в цифровую форму и обратно введена для передачи информации через трансформатор с минимальными искажениями исходного сигнала. Усилитель и аналого-цифровой преобразователь получают электроэнергию через трансформатор питания. Разделяющий трансформатор и трансформатор питания должны иметь изоляцию между обмотками, рассчитанную на полное напряжение между цепью с измеряемым током и цепями электронных компонентов, которые производят измерение.
Введение трансформаторной гальванической развязки позволило полностью разделить цепь с измеряемым током и выводы питания и измерения. При указанных соединениях на выходе цифроаналогового преобразователя можно получить сигнал, пропорциональный измеряемому току, с высокой точностью.
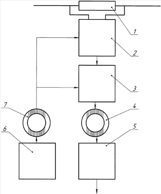
Изобретение поясняется чертежом, где изображена блок-схема патентуемого датчика тока.
Датчик тока содержит резистивный элемент 1, соединенный с усилителем 2, и блок питания 6. Между резистивным элементом 1 и выходом датчика тока установлена трансформаторная гальваническая развязка, включающая в себя аналого-цифровой преобразователь 3, разделяющий трансформатор 4 и цифроаналоговый преобразователь 5. Выход усилителя 2 соединен с аналого-цифровым преобразователем 3, выход аналого-цифрового преобразователя 3 – с первичной обмоткой разделяющего трансформатора 4, вторичная обмотка которого соединена с цифроаналоговым преобразователем 5, а усилитель 2 и аналого-цифровой преобразователь 3 связаны с блоком питания 6 через трансформатор питания 7.
Датчик тока работает следующим образом. При протекании измеряемого тока через резистивный элемент 1 на его выводах появляется напряжение, пропорциональное измеряемому току. Напряжение усиливается усилителем 2 и подается на аналого-цифровой преобразователь 3. В аналого-цифровом преобразователе 3 усиленное напряжение, пропорциональное измеряемому току, преобразовывается в цифровую последовательность, которая подается на первичную обмотку разделяющего трансформатора 4. Изоляция между обмотками разделяющего трансформатора 4 обеспечивает гальваническую развязку по каналу сигнала. С вторичной обмотки разделяющего трансформатора 4 цифровая последовательность поступает на цифроаналоговый преобразователь 5, на выходе которого появляется сигнал, пропорциональный измеряемому току, который можно измерить стандартными средствами измерения. Питание усилителя 2 и аналого-цифрового преобразователя 3 осуществляется от блока питания 6 через трансформатор питания 7. Изоляция между обмотками трансформатора питания обеспечивает гальваническую развязку по каналу питания.
Таким образом, создан датчик тока с возможностью измерения тока высокого напряжения резистивным элементом с помощью электронных компонентов, рассчитанных на низкое напряжение, что расширяет сферу применения датчика тока на резистивном элементе.
Формула изобретения
Датчик тока, содержащий резистивный элемент, соединенный с усилителем и блок питания, отличающийся тем, что между резистивным элементом и выходом датчика установлена трансформаторная гальваническая развязка, включающая в себя аналого-цифровой преобразователь, разделяющий трансформатор и цифроаналоговый преобразователь, при этом выход усилителя соединен с аналого-цифровым преобразователем, выход аналого-цифрового преобразователя – с первичной обмоткой разделяющего трансформатора, вторичная обмотка которого соединена с цифроаналоговым преобразователем, а усилитель и аналого-цифровой преобразователь связаны с блоком питания через трансформатор питания.
РИСУНКИ
|
|