|
|
(21), (22) Заявка: 2008146155/28, 21.11.2008
(24) Дата начала отсчета срока действия патента:
21.11.2008
(46) Опубликовано: 27.12.2009
(56) Список документов, цитированных в отчете о поиске:
RU 2051359 C1, 27.12.1995. RU 2279053 C1, 27.06.2006. RU 2029282 C1, 20.02.1995. RU 2051363 C1, 27.12.1995. SU 1126836 A1, 30.11.1984.
Адрес для переписки:
199106, Санкт-Петербург, В.О., 21 линия, 2, СПГГИ(ТУ), патентный отдел
|
(72) Автор(ы):
Лодус Евгений Васильевич (RU)
(73) Патентообладатель(и):
Государственное образовательное учреждение высшего профессионального образования “Санкт-Петербургский государственный горный институт имени Г.В. Плеханова (технический университет)” (RU)
|
(54) УСТАНОВКА ДЛЯ УСТАЛОСТНЫХ ИСПЫТАНИЙ ОБРАЗЦОВ МАТЕРИАЛОВ
(57) Реферат:
Изобретение относится к испытательной технике, к испытаниям на прочность. Установка для усталостных испытаний образцов материалов содержит корпус, размещенные в нем три рейки, две из которых параллельны друг другу, а третья перпендикулярна им, зубчатое колесо, связывающее третью рейку с одной из двух параллельных реек, механизм возвратно-поступательного перемещения, взаимодействующий с концом третьей рейки, двухзвенник, центральный шарнир которого соединен с корпусом, а торцевые шарниры связаны с параллельными рейками. Также на корпусе установлены два зубчатых редуктора, предназначенные для поочередного соединения параллельных реек друг с другом. При этом один редуктор состоит из двух сцепленных колес, другой редуктор состоит из трех последовательно сцепленных колес. Причем в зависимости от выбранного режима взаимодействия образцов устанавливают редуктор из двух или трех последовательно сцепленных колес. Заявленное техническое решение направлено на повышение объема получаемой информации в режиме взаимодействия образцов при изгибе с одинаковыми или с разными знаками осевой нагрузки. 1 ил.
Изобретение относится к испытательной технике, к испытаниям на прочность.
Известна установка для усталостных испытаний образцов материалов (патент РФ 1587403, кл. G01N 3/32, 1989), содержащая корпус, размещенные в нем две рейки, зубчатое колесо, связывающее рейки, механизм возвратно-поступательного перемещения, взаимодействующий с одной из реек, пару захватов для образца, активный из которых связан со второй рейкой, инерционный груз, соединенный с пассивным захватом.
Недостаток установки состоит в том, что она не обеспечивает испытания при взаимодействии пары образцов с нагружением изгибом и осевой нагрузкой.
Известна установка для усталостных испытаний образцов материалов (патент РФ 1672283, кл. G01N 3/32, 1989), содержащая корпус, размещенные в нем две рейки, зубчатое колесо, связывающее рейки, механизм возвратно-поступательного перемещения, взаимодействующий с одной из реек, пару захватов для образца, активный из которых связан с второй рейкой, инерционный груз, соединенный с пассивным захватом.
Недостаток установки также состоит в том, что она не обеспечивает испытания при взаимодействии пары образцов с нагружением изгибом и осевой нагрузкой.
Известна установка для усталостных испытаний образцов материалов (патент РФ 2051359, кл. G01N 3/32, 1995), принимаемая за прототип. Установка содержит корпус, размещенные в нем три рейки, две из которых параллельны друг другу, а третья перпендикулярна им, зубчатое колесо, связывающее третью рейку с одной из двух параллельных реек, механизм возвратно-поступательного перемещения, взаимодействующий с концом третьей рейки, двухзвенник, центральный шарнир которого соединен с корпусом, а торцевые шарниры связаны с параллельными рейками, две пары захватов для двух образцов, активные из которых связаны с параллельными рейками, два инерционных груза, соединенные с пассивными захватами. Установка обеспечивает испытания при взаимодействии пары образцов с нагружением изгибом и осевой нагрузкой.
Недостаток установки состоит в том, что на ней неосуществимы исследования в режиме взаимодействия образцов при изгибе с одинаковыми или с разными знаками осевой нагрузки. Это существенно ограничивает объем информации при испытаниях.
Техническим результатом изобретения является повышение объема получаемой информации путем обеспечения исследований в режиме взаимодействия образцов при изгибе с одинаковыми или с разными знаками осевой нагрузки.
Технический результат достигается тем, что установка для усталостных испытаний образцов материалов, содержащая корпус, размещенные в нем три рейки, две из которых параллельны друг другу, а третья перпендикулярна им, зубчатое колесо, связывающее третью рейку с одной из двух параллельных реек, механизм возвратно-поступательного перемещения, взаимодействующий с концом третьей рейки, двухзвенник, центральный шарнир которого соединен с корпусом, а торцевые шарниры связаны с параллельными рейками, две пары захватов для двух образцов, активные из которых связаны с параллельными рейками, два инерционных груза, соединенные с пассивными захватами, согласно изобретению, на корпусе установлены два зубчатых редуктора, предназначенные для поочередного соединения параллельных реек друг с другом, причем один редуктор состоит из двух сцепленных колес, а другой редуктор состоит из трех последовательно сцепленных колес, при этом на концах параллельных реек шарнирно установлены дополнительные рейки, на которых установлены торцевые шарниры двухзвенника и закреплены активные захваты.
Два редуктора с разным количеством колес создают синхронные или асинхронные перемещения реек с образцами и инерционными грузами, что и создает эффект, неосуществимый в прототипе и создающий технический результат – испытания при осевых усилиях одного или разных знаков.
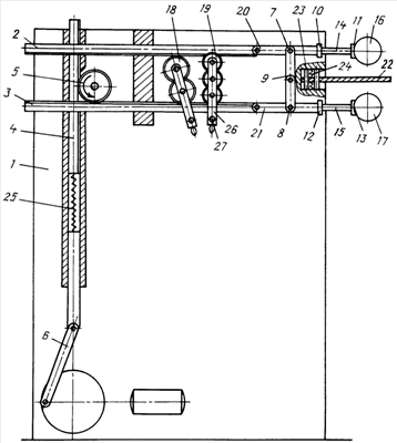
На чертеже представлена схема установки.
Установка для усталостных испытаний образцов материалов содержит корпус 1, размещенные в нем три рейки 2, 3, 4, две из которых 2, 3 параллельны друг другу, а третья 4 перпендикулярна им, зубчатое колесо 5, связывающее третью рейку 4 с одной из двух параллельных реек 3, механизм 6 возвратно-поступательного перемещения, взаимодействующий с концом третьей рейки 4, двухзвенник 7, 8, 9, центральный шарнир 9 которого соединен с корпусом 1, а торцевые шарниры 7, 8 связаны с параллельными рейками 2,3, две пары захватов 10, 11 и 12, 13 для двух образцов 14, 15, активные 10 и 12 из которых связаны с параллельными рейками 2, 3, два инерционных груза 16, 17, соединенные с пассивными захватами 11, 13.
На корпусе 1 установлены два зубчатых редуктора 18 и 19, предназначенные для поочередного кинематического соединения параллельных реек 2, 3 друг с другом. Один редуктор 18 состоит из двух сцепленных колес, другой редуктор 19 состоит из трех последовательно сцепленных колес. На концах параллельных реек 2, 3 шарнирно установлены дополнительные рейки 20, 21, на которых установлены торцевые шарниры 7, 8 двухзвенника и закреплены активные захваты 10, 12.
На корпусе установлена площадка 22 для взаимодействия грузов 16, 17. Площадка 22 установлена на направляющих 23 и подпружинена пружинами 24 с низкой жесткостью, что позволяет площадке 22 перемещаться с сопротивлением, много меньшим усилиям со стороны грузов 16, 17. Привод 6 связан с рейкой 4 через пружину 25. Положение редукторов 18, 19 меняется поворотом рукояток 26 и фиксируется фиксаторами 27.
Установка работает следующим образом.
Для испытаний в режиме взаимодействия образцов при изгибе с разными знаками осевой нагрузки устанавливают редуктор 19 в положение, показанное на схеме, когда последовательно сцепленные три колеса кинематически связывают рейки 2,3 друг с другом. Включают привод 6 и через пружину 25 перемещают рейку 4 возвратно-поступательно. Рейка 4 через колесо 5 сообщает возвратно-поступательные перемещения рейке 3. Рейка 3 через редуктор 19 сообщает возвратно-поступательные перемещения рейке 2, при этом рейки 2 и 3 перемещаются во встречных направлениях. Эти движения реек 2 и 3 сообщаются дополнительным рейкам 20 и 21, которые перемещают торцевые шарниры 7 и 8 в противоположных направлениях. Поскольку центральный шарнир 9 на корпусе 1 закреплен, то указанные перемещения торцевых шарниров 7 и 8 создают встречные повороты дополнительных реек 21 и 22 с захватами 10, 12, образцами 14, 15 и грузами 16, 17. В результате грузы 16, 17 наносят удары по площадке 22 и нагружают образцы 14, 15 изгибом, при этом благодаря разным направлениям движения грузы 16, 17 создают на образцах инерционные осевые усилия разных знаков. Незначительное сопротивление перемещениям площадки 22 вдоль направляющих 23 обеспечивают условия испытаний при силовом взаимодействии образцов.
Для испытаний в режиме взаимодействия образцов при изгибе с одинаковыми знаками осевой нагрузки устанавливают редуктор 18 в положение, при котором два его колеса кинематически соединяют рейки 2, 3, а редуктор 19 выводят из кинематического взаимодействия с рейками. Для этих настроек используют рукоятки 26 и фиксаторы 27. Включают привод 6 и испытания проходят аналогично испытаниям в предыдущем режиме с той разницей, что редуктор 18 обеспечивает синхронные перемещения реек 2 и 3, дополнительных реек 20 и 21, шарниров 7 и 8. Удары грузов 16, 17 о площадку 22 создают изгибающие нагрузки на образцах 14, 15, а за счет синхронных перемещений грузов инерционные осевые усилия на образцах имеют одинаковые знаки.
Предлагаемая установка обеспечивает исследования взаимодействия образцов в новых условиях – в режиме взаимодействия образцов при изгибе с одинаковыми или с разными знаками осевой нагрузки.
Формула изобретения
Установка для усталостных испытаний образцов материалов, содержащая корпус, размещенные в нем три рейки, две из которых параллельны друг другу, а третья перпендикулярна им, зубчатое колесо, связывающее третью рейку с одной из двух параллельных реек, механизм возвратно-поступательного перемещения, взаимодействующий с концом третьей рейки, двухзвенник, центральный шарнир которого соединен с корпусом, а торцевые шарниры связаны с параллельными рейками, две пары захватов для двух образцов, активные из которых связаны с параллельными рейками, два инерционных груза, соединенные с пассивными захватами, отличающаяся тем, что на корпусе установлены два зубчатых редуктора, предназначенные для поочередного соединения параллельных реек друг с другом, причем один редуктор состоит из двух сцепленных колес, а другой редуктор состоит из трех последовательно сцепленных колес, при этом на концах параллельных реек шарнирно установлены дополнительные рейки, на которых установлены торцевые шарниры двухзвенника и закреплены активные захваты.
РИСУНКИ
|
|