|
|
(21), (22) Заявка: 2008130654/28, 25.07.2008
(24) Дата начала отсчета срока действия патента:
25.07.2008
(46) Опубликовано: 27.12.2009
(56) Список документов, цитированных в отчете о поиске:
Андержанов Э.К. и др. Зависимость параметров электровзрыва фольг и последующего разряда в воздухе от подводимой мощности. ЖТФ, 1989, .59, в.8, с.17-23. SU 1114920 A1, 23.09.1984. RU 2077377 C1, 20.04.1997. JP 7103693 A, 18.04.1995.
Адрес для переписки:
141307, Московская обл., г. Сергиев Посад-7, ФГУ “12 ЦНИИ Минобороны России”, патентное подразделение
|
(72) Автор(ы):
Коваленко Сергей Александрович (RU), Култыгин Владимир Иванович (RU), Максимов Андрей Юрьевич (RU), Осоловский Виктор Семенович (RU), Чепрунов Александр Александрович (RU)
(73) Патентообладатель(и):
Федеральное государственное учреждение “12 Центральный научно-исследовательский институт Министерства обороны Российской Федерации” (RU)
|
(54) УСТРОЙСТВО ДЛЯ ГЕНЕРИРОВАНИЯ МЕХАНИЧЕСКОГО ИМПУЛЬСА ДАВЛЕНИЯ ЭЛЕКТРИЧЕСКИМ ВЗРЫВОМ ФОЛЬГИ
(57) Реферат:
Изобретение относится к нагружающим устройствам для создания кратковременных интенсивных импульсов давления и может быть использовано для определения механических свойств материалов в экстремальных условиях нагружения (высокие давления и скорости деформирования). Устройство состоит из конденсаторной батареи и узла нагрузки, представляющего собой прямой и обратные токопроводы. В качестве обратного токопровода используют токопроводяшую шину, состоящую из участка, расположенного ниже уровня взрываемой фольги и ток в котором течет в противоположном направлении току взрываемой фольги, участка, ось симметрии которого проходит через плоскость взрываемой фольги и направление тока в котором совпадает с направлением тока взрываемой фольги, а также участков, соединяющих верхний и нижний участки обратного токопровода. Расстояние до обратного токопровода, его высоту, глубину расположения нижней части обратного токопровода и длину верхней части обратного токопровода выбирают исходя из условия равенства нулю значения напряженности магнитного поля на границе фольги. Технический результат – получение равномерного распределения генерируемого механического импульса по поверхности нагружаемого образца при электрическом взрыве фольги. 2 ил.
Изобретение относится к технике создания кратковременных интенсивных импульсов давления и может быть использовано для определения механических свойств образцов материалов в экстремальных условиях нагружения (высокие давления и скорости деформирования).
Известно устройство для создания низкоинтенсивных импульсных нагрузок короткой длительности с помощью электрического взрыва проводников (ЭВП) [1], состоящее из конденсаторной батареи емкостью С и узла нагрузки, представляющего собой прямой и обратный токопроводы (ОТ), разделенные пленочным изолятором из лавсана, в качестве прямого токопровода используется взрывающийся проводник, а в качестве обратного – медная фольга, расположенная под прямым токопроводом. Недостатком данного устройства является то, что оно не обеспечивает двухсторонний доступ к взрываемой фольге (что необходимо, например, для проведения измерений величины механического импульса давления с использованием баллистического маятника) и то, что обратный токопровод влияет на параметры генерируемого механического импульса давления.
Наиболее близким по технической сущности к предлагаемому устройству (прототипом) является устройство для электрического взрыва фольги, состоящее из конденсаторной батареи емкостью С в сочетании со взрывомагнитным генератором и узла нагрузки, представляющего собой прямой и обратный токопроводы, расположенные в одной плоскости, в качестве прямого токопровода используется взрывающийся проводник, а в качестве обратного – две медные шины, расположенные равноудаленно от боковых торцов взрываемой фольги, при этом ток в прямом и обратных токопроводах течет параллельно и в противоположных направлениях [2]. Недостатком данной схемы является то, что она не позволяет обеспечить равномерное распределения импульсной нагрузки на поверхности испытываемого образца, так как распределение тока при взрыве фольги существенно неоднородно и вызывает эффект сжатия тока в плоском проводнике.
Предлагаемое изобретение направлено на получение равномерного распределения генерируемого механического импульса по поверхности нагружаемого образца.
Технический результат достигается тем, что в предлагаемом устройстве обратные токопроводы имеют конфигурацию и расположение, обеспечивающие компенсацию влияния сжимающего магнитного поля, генерируемого током, протекающим по взрываемой фольге, магнитным полем, генерируемым током, протекающим по обратным токопроводам, при этом конструкция узла нагрузки такова, что обеспечивает доступ к взрываемой фольге с двух сторон.
В качестве прямого токопровода используется взрывающаяся фольга, а в качестве обратного – токопроводящая шина, состоящая из участка, расположенного ниже уровня взрываемой фольги, ток в котором течет в противоположном направлении току взрываемой фольги, участка, ось симметрии которого проходит через плоскость взрываемой фольги, направление тока в котором совпадает с направлением тока взрываемой фольги, и участков, соединяющих верхний и нижний участки обратного токопровода.
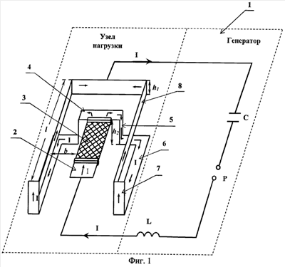
Схема реализации предлагаемого устройства представлена на фиг.1,
где показаны: 1 – генератор, состоящий из накопительной емкости С, индуктивности L, управляемого разрядника Р и узла нагрузки, включающего 2 – прямой токопровод, 3 – взрываемую фольгу, 4 – участок ОТ, лежащий в плоскости взрываемой фольги, 5 – участок ОТ, лежащий перпендикулярно плоскости взрываемой фольги, 6 – участок ОТ, лежащий в плоскости, параллельной плоскости взрываемой фольги, ниже нее на величину h2, 7 – участок ОТ, лежащий перпендикулярно плоскости взрываемой фольги, 8 – участок ОТ, ось симметрии которого проходит через плоскость взрываемой фольги высотой h1, длиной l, удаленный от боковой границы взрываемой фольги на расстояние b.
Работа устройства осуществляется следующим образом.
Вначале устанавливают и закрепляют взрываемую фольгу 3 в блоке нагрузки, осуществляют заряд накопительной емкости С генератора 1 от источника напряжения, затем осуществляют срабатывание управляемого разрядника Р и разряд емкости С, создающий в узле нагрузки ток I, протекающий последовательно по прямому токопроводу 2, взрываемой фольге 3, и участкам обратного токопровода 4-8, приводящий к электрическому взрыву фольги и генерированию механического импульса давления.
Использование обратного токопровода данной конфигурации обеспечивает минимальное значение напряженности магнитного поля на внешней границе взрываемой фольги, а следовательно, равномерность распределения тока по фольге и величины механического импульса по площади нагружения, устраняя тем самым эффект сжатия тока в плоском проводнике. Расстояние до обратного токопровода b и его высота h1, глубина расположения нижней части обратного токопровода h2 и длина верхней части обратного токопровода l выбраны исходя из условия равенства значения напряженности магнитного поля на границе фольги нулю.
Реализация заявленного устройства проводилась с использованием установки ФГУ «12 ЦНИИ МО РФ» «Зенит-К» с параметрами:
– максимальное зарядное напряжение – 50 кВ;
– емкость – 288 мкФ;
– индуктивность разрядного контура – 5,5 мкГн;
– сопротивление разрядного контура – 0,023 Ом.
На фиг.2 представлены образцы материалов после нагружения механическим импульсом давления при применении известного по прототипу (а) и предлагаемого (б) способов. Видно, что за счет применения схемы подключения фольги с компенсацией влияния магнитного поля получено равномерное распределение генерируемого механического импульса по поверхности нагружаемого образца.
Источники информации
3. С.124-126.
Формула изобретения
Устройство для генерирования механического импульса давления электрическим взрывом фольги, состоящее из конденсаторной батареи и узла нагрузки, представляющего собой прямой и обратные токопроводы, отличающееся тем, что в качестве обратного токопровода используют токопроводящую шину, состоящую из участка, расположенного ниже уровня взрываемой фольги и ток в котором течет в противоположном направлении току взрываемой фольги, участка, ось симметрии которого проходит через плоскость взрываемой фольги и направление тока в котором совпадает с направлением тока взрываемой фольги, а также участков, соединяющих верхний и нижний участки обратного токопровода, при этом расстояние до обратного токопровода, его высоту, глубину расположения нижней части обратного токопровода и длину верхней части обратного токопровода выбирают исходя из условия равенства значения напряженности магнитного поля на границе фольги нулю.
РИСУНКИ
|
|