|
|
(21), (22) Заявка: 2008143003/28, 29.10.2008
(24) Дата начала отсчета срока действия патента:
29.10.2008
(46) Опубликовано: 27.12.2009
(56) Список документов, цитированных в отчете о поиске:
RU 2224991 С2, 27.02.2004. SU 1619107 A1, 07.01.1991. SU 1379682 A1, 07.03.1988. US 4850231 A, 25.07.1989.
Адрес для переписки:
410012, г.Саратов, Театральная пл., 1, Саратовский государственный аграрный университет имени Н.И. Вавилова, патентный отдел
|
(72) Автор(ы):
Катков Николай Васильевич (RU)
(73) Патентообладатель(и):
Федеральное государственное образовательное учреждение высшего профессионального образования “Саратовский государственный аграрный университет имени Н.И. Вавилова” (RU)
|
(54) ЗАЖИМНОЕ УСТРОЙСТВО ДЛЯ ИСПЫТАНИЯ ОБРАЗЦА БИОЛОГИЧЕСКОЙ ТКАНИ
(57) Реферат:
Изобретение относится к испытательной технике. Зажимное устройство содержит корпус с механизмом сжатия образца, две зажимные губки. Корпус выполнен в виде дугообразных базовой и накладной балок с выполненными на их внутренних рабочих поверхностях выступами. На внутренней рабочей поверхности базовой балки неподвижно установлены шпильки, которые подвижно размещены в направляющих отверстиях, выполненных в накладной балке. Каждая шпилька снабжена съемной зажимной гайкой. Шпильки и зажимные гайки составляют механизм сжатия образца. Верхняя и нижняя съемные зажимные губки выполнены в виде полукруга, прямой край которого выполнен в виде бортика. Бортик нижней зажимной губки направлен в сторону базовой балки, а бортик верхней зажимной губки направлен в сторону, противоположную от базовой балки. В плоскости нижней зажимной губки через ее выпуклый край выполнены перпендикулярно бортику сквозная срединная выемка, касающаяся бортика, и параллельно по ее обеим сторонам сквозные боковые выемки для размещения в них шпилек базовой балки. В пластине верхней зажимной губки выполнены сквозные трафаретные отверстия. Вблизи выпуклого края пластины выполнены установочные отверстия для размещения в них шпилек базовой балки, а в средней части прямого края через бортик выполнена проточка с нанесенными на ее края центровочными рисками. Технический результат: возможность определения показателей растяжения образца в любых направлениях по отношению к вектору растягивающего усилия, локально приложенного в плоскости испытуемой пробы, и повышение удобства при подготовке к испытанию образца биологической ткани. 1 з.п. ф-лы, 5 ил.
Предлагаемое изобретение относится к испытательной технике и может найти применение для исследования механических свойств биологической ткани, в частности, при экспериментальном моделировании взаимодействия слоя биологической ткани и лигатуры хирургического шва.
Известен зажим (ГОСТ 17177-94. Материалы и изделия строительные теплоизоляционные, методы испытаний, п. Д7), содержащий прямые пластины с отверстиями по концам, в которых расположены болты с крыльчатыми гайками, формирующими механизм для сжатия испытуемого образца. Зажим обеспечивает возможность контроля растяжения испытуемого образца вдоль вектора растягивающего усилия. Однако данный зажим не позволяет зафиксировать равномерно расправленный в веерообразных направлениях по отношению к вектору растягивающего усилия образец. При этом исключается возможность исследования растяжения образца в направлениях, отличающихся от направления вектора прилагаемого усилия. Кроме того, недостатком данного зажима является то, что приходится вне связи с зажимом выполнять подготовку образца к испытанию. Образец необходимо равномерно расправить по плоскости, нанести метки на его поверхности, выкроить ткань по форме зажима с последующим размещением образца в зажиме, что вызывает неудобства в работе.
Известен прибор для оценки параметров переноса паров и жидкостей через напряженно-растянутые образцы эластомеров (Кравцов В.В. Коррозионные испытания полимерных материалов и покрытий. – Уфа: Изд-во УГНТУ, 2004. – стр.30-35), содержащий корпус и крышку, между которыми при помощи гаек по периметру укреплен испытуемый образец в виде диска. Сменные сферические дорны разных размеров, располагаемые над образцом, обеспечивают деформацию образца. Сетка, нанесенная предварительно на образец, позволяет определить его относительную деформацию.
Неудобства при подготовке образца легкодеформируемой биологической ткани для испытания в таком приборе обусловлены тем, что приходится вне связи с ним формировать образец точно по размерам корпуса, наносить метки на поверхность образца, размещать его в расправленном состоянии между корпусом и крышкой. Кроме того, при использовании данного прибора невозможно исследовать растяжение образца в связи с локальным приложением вектора растягивающего усилия в плоскости испытуемого образца.
Известно захватное устройство для испытаний образцов на растяжение (прототип – RU 2224991, G01N 3/4, 2004.02.27), которое содержит корпус с механизмом сжатия образца, две взаимодействующие с ним и силовым механизмом испытательной машины зажимные губки, снабженные на внутренних рабочих поверхностях поперечными выступами. Выступы каждой из губок расположены на расстоянии с шагом, равным 2-3 толщинам зажимной части образца и смещены на губках друг относительно друга на полшага, при этом высота и ширина выступов составляет 0,2-0,5 от толщины зажимной части образца, а общая длина каждой из них составляет 0,5-0,7 от ширины зажимной части образца. Исследуемый образец подготавливают вне связи с зажимом, расправляют его, вырезают точно по размерам зажима, проводят разметку поверхности ткани. Затем образец фиксируют в зажиме и измеряют показатели растяжения вдоль вектора приложения усилия.
Недостатком такого устройства являются неудобства в работе при испытании образца легкодеформируемой биологической ткани, которую трудно расправлять, вырезать точно по размерам зажима, делать разметку на ней. Кроме того, при использовании зажима по прототипу можно измерить показатель растяжения только вдоль вектора приложения усилия и невозможно исследовать растяжение образца в направлениях, не совпадающих с вектором приложения усилия.
Технической задачей является создание устройства, позволяющего определить показатели растяжения образца биологической ткани в любых направлениях по отношению к вектору растягивающего усилия, локально приложенного в плоскости испытуемой пробы, кроме того, позволяющего повысить удобства при подготовке к испытанию образца биологической ткани.
Техническая задача достигается тем, что зажимное устройство для испытания образца биологической ткани содержит корпус с механизмом сжатия образца, две зажимные губки, согласно изобретению корпус выполнен в виде дугообразных базовой и накладной балок, по форме и размерам копирующих друг друга с выполненными на их внутренних рабочих поверхностях выступами, с возможностью сближения указанных балок этими поверхностями между собой за счет того, что на внутренней рабочей поверхности базовой балки по периметру дуги неподвижно установлены с заостренными концами шпильки, которые подвижно размещены в сквозных направляющих отверстиях, выполненных соосно шпилькам в накладной балке, кроме того, каждая шпилька снабжена съемной зажимной гайкой и при этом шпильки и зажимные гайки составляют механизм сжатия образца, две зажимные губки выполнены съемными в виде верхней и нижней зажимных губок, представляющих собой одинаковые пластины в виде полукруга, прямой край которого выполнен в виде бортика, при этом бортик нижней зажимной губки направлен в сторону базовой балки, а бортик верхней зажимной губки направлен в сторону, противоположную от базовой балки, в плоскости нижней зажимной губки через ее выпуклый край выполнены перпендикулярно бортику сквозная срединная выемка, касающаяся бортика, и параллельно по ее обеим сторонам сквозные боковые выемки для возможности размещения в них шпилек базовой балки, в пластине верхней зажимной губки выполнены сквозные трафаретные отверстия, предназначенные для нанесения меток на поверхность испытуемого образца биологической ткани и расположенные, в частности, в квадратно-гнездовом порядке по всему полю пластины, в которой, кроме того, вблизи ее выпуклого края выполнены установочные отверстия для размещения в них шпилек базовой балки, а в средней части прямого края через бортик выполнена проточка с нанесенными на ее края центровочными рисками, предназначенными для отметки на образце биологической ткани точки, равноудаленной от выпуклого края верхней зажимной губки.
Техническая задача достигается тем, что по концам базовой и накладной балок выполнены торцовые поверхности, предназначенные для размещения зажимного устройства на стойках силового механизма.
Предлагаемое изобретение отличается от прототипа тем, что корпус выполнен в виде дугообразных базовой и накладной балок, по форме и размерам копирующих друг друга с выполненными на их внутренних рабочих поверхностях выступами, с возможностью сближения указанных балок этими поверхностями между собой за счет того, что на внутренней рабочей поверхности базовой балки по периметру дуги неподвижно установлены с заостренными концами шпильки, которые подвижно размещены в сквозных направляющих отверстиях, выполненных соосно шпилькам в накладной балке, кроме того, каждая шпилька снабжена съемной зажимной гайкой и при этом шпильки и зажимные гайки составляют механизм сжатия образца, две зажимные губки выполнены съемными в виде верхней и нижней зажимных губок, представляющих собой одинаковые пластины в виде полукруга, прямой край которого выполнен в виде бортика, при этом бортик нижней зажимной губки направлен в сторону базовой балки, а бортик верхней зажимной губки направлен в сторону, противоположную от базовой балки, в плоскости нижней зажимной губки через ее выпуклый край выполнены перпендикулярно бортику сквозная срединная выемка, касающаяся бортика, и параллельно по ее обеим сторонам сквозные боковые выемки для возможности размещения в них шпилек базовой балки, в пластине верхней зажимной губки выполнены сквозные трафаретные отверстия, предназначенные для нанесения меток на поверхность испытуемого образца биологической ткани и расположенные, в частности, в квадратно-гнездовом порядке по всему полю пластины, в которой, кроме того, вблизи ее выпуклого края выполнены установочные отверстия для размещения в них шпилек базовой балки, а в средней части прямого края через бортик выполнена проточка с нанесенными на ее края центровочными рисками, предназначенными для отметки на образце биологической ткани точки, равноудаленной от выпуклого края верхней зажимной губки.
Предлагаемое изобретение отличается от прототипа тем, что по концам базовой и накладной балок выполнены торцовые поверхности, предназначенные для размещения зажимного устройства на стойках силового механизма.
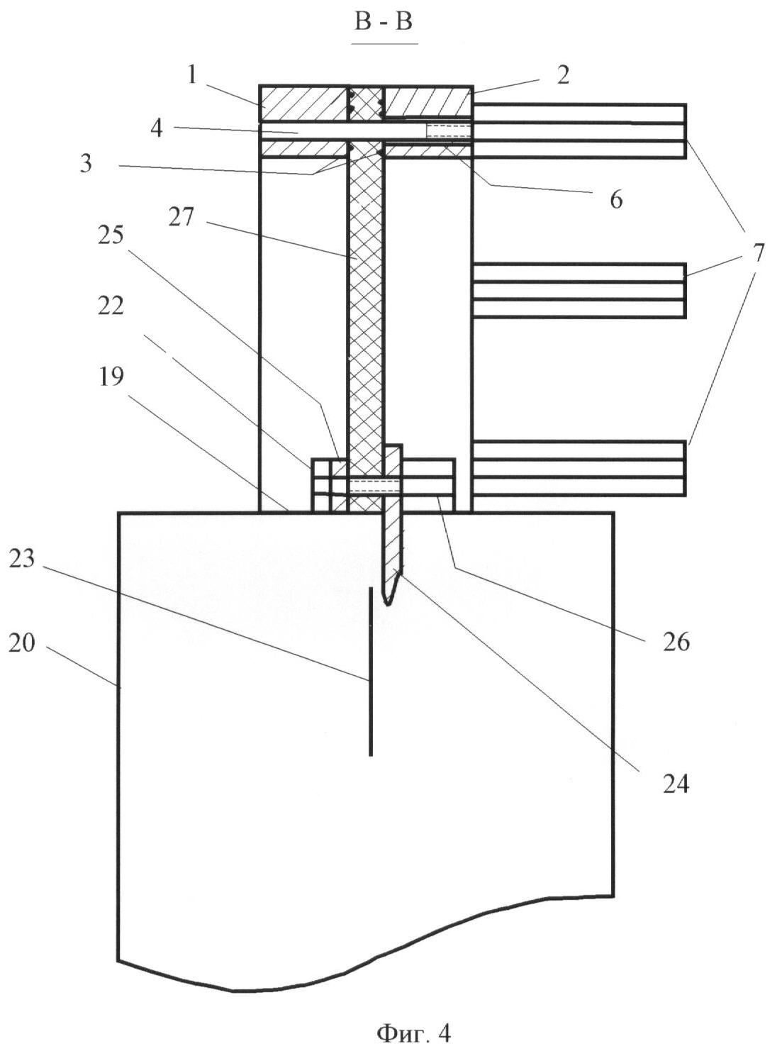
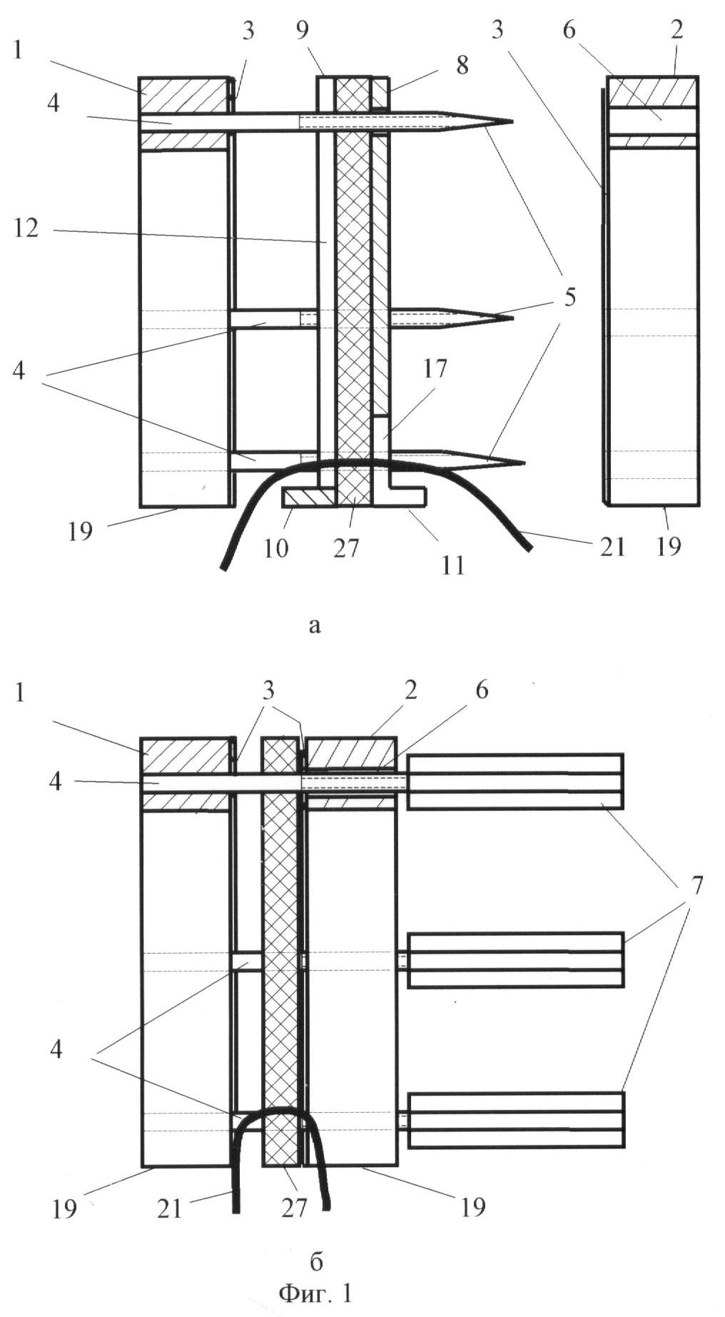
На фигуре 1 показана схема зажимного устройства с размещенным в нем образцом биологической ткани в период подготовки образца к испытанию (а), вид на поперечном сечении и в момент сближения между собой базовой и накладной балок (б), вид на поперечном сечении. На фигуре 2 показано зажимное устройство в момент испытания образца биологической ткани на растяжение в направлениях, отличающихся от направления вектора приложения усилия, вид спереди. На фигуре 3 показано зажимное устройство для испытания образца биологической ткани на растяжение в направлении вдоль вектора приложения усилия, вид спереди. На фигуре 4 показано сечение В -В зажимного устройства по фигуре 3. На фигуре 5 показана верхняя зажимная губка (а) и нижняя зажимная губка (б).
Зажимное устройство для испытания образца биологической ткани 27 содержит корпус с механизмом сжатия образца, две зажимные губки. Корпус выполнен в виде дугообразных базовой 1 и накладной 2 балок, по форме и размерам копирующих друг друга. На их внутренних рабочих поверхностях выполнены выступы 3. Базовая балка 1 и накладная балка 2 имеют возможность сближения между собой этими поверхностями с выступами 3. По периметру дуги на внутренней рабочей поверхности базовой балки 1 также неподвижно установлены шпильки 4 с заостренными концами 5. Шпильки 4 подвижно размещены в сквозных направляющих отверстиях 6, которые выполнены соосно шпилькам 4 в накладной балке 2. Каждая шпилька 4 снабжена съемной зажимной гайкой 7. При этом шпильки 4 и зажимные гайки 7 составляют механизм сжатия образца. Две зажимные губки выполнены съемными в виде верхней зажимной губки 8 и нижней зажимной губки 9. Они представляют собой одинаковые пластины в виде полукруга, прямой край которого выполнен в виде бортика. При этом бортик 10 нижней зажимной губки направлен в сторону базовой балки 1, а бортик 11 верхней зажимной губки 8 направлен в сторону, противоположную от базовой балки 1. В пластине нижней зажимной губки 9 через ее выпуклый край выполнена перпендикулярно бортику 10 сквозная срединная выемка 12, касающаяся бортика 10 на нижней зажимной губке 9 (Фиг.5, 6). Параллельно по обеим сторонам от сквозной срединной выемки 12 выполнены сквозные боковые выемки 13, в которых размещают шпильки 4 базовой балки 1. В пластине верхней зажимной губки 8 выполнены сквозные трафаретные отверстия 14, предназначенные для нанесения меток 15 (Фиг.2, 3) на поверхность испытуемого образца биологической ткани 27 и расположенные, в частности, в квадратно-гнездовом порядке по всему полю пластины верхней зажимной губки 8. Вблизи выпуклого края верхней зажимной губки 8 выполнены установочные отверстия 16 для размещения в них шпилек 4 базовой балки 1. В средней части прямого края верхней зажимной губки 8 через бортик 11 выполнена проточка 17. По краям проточки 17 нанесены центровочные риски 18, которые предназначены для отметки на образце биологической ткани 27 точки 28, равноудаленной от выпуклого края верхней зажимной губки 8. При этом точка 28 (Фиг.5, а) является условной, так как является местом пересечения визуального продолжения центровочных рисок 18. По концам базовой балки 1 и накладной балки 2 выполнены торцовые поверхности 19, предназначенные для размещения на стойках 20 силового механизма. Кроме того, для использования устройства необходимы (Фиг.4): штифт 21 в виде лигатуры; болт 22 с заостренным концом для прикрепления штифта 21 или участка образца биологической ткани 27 к штанге 24 силового механизма; миллиметровая бумага 23 для регистрации степени растяжения образца биологической ткани 27 при фотографировании образца в процессе растяжения; прямоугольная шайба 25 и короткая гайка 26, предназначенные для прикрепления образца биологической ткани 27 или штифта 21 к штанге 24 силового механизма.
Применяемые на фигурах обозначения:
| 1 |
базовая балка; |
| 2 |
накладная балка; |
| 3 |
выступы; |
| 4 |
шпилька; |
| 5 |
заостренный конец шпильки 4; |
| 6 |
сквозное направляющее отверстие; |
| 7 |
зажимная гайка; |
| 8 |
верхняя зажимная губка; |
| 9 |
нижняя зажимная губка; |
| 10 |
бортик нижней зажимной губки 9; |
| 11 |
бортик верхней зажимной губки 8; |
| 12 |
сквозная срединная выемка; |
| 13 |
сквозные боковые выемки; |
| 14 |
сквозные трафаретные отверстия; |
| 15 |
метки; |
| 16 |
установочные отверстия; |
| 17 |
проточка; |
| 18 |
центровочные риски; |
| 19 |
торцовая поверхность; |
| 20 |
стойка; |
| 21 |
штифт; |
| 22 |
болт с заостренным концом; |
| 23 |
миллиметровая бумага; |
| 24 |
штанга; |
| 25 |
прямоугольная шайба; |
| 26 |
короткая гайка; |
| 27 |
образец биологической ткани; |
| 28 |
точка, отмеченная на образце биологической ткани, равноудаленная от выпуклого края верхней зажимной губки 8. |
Устройство работает следующим образом. При исследовании растяжения ткани в направлениях, отличающихся от вектора усилия, прилагаемого в плоскости образца биологической ткани 27 (Фиг.1, 2), последний размещают и равномерно расправляют на нижней зажимной губке 9. Верхнюю зажимную губку 8 накладывают на поверхность образца биологической ткани 27 таким образом, чтобы были совмещены прямые и выпуклые края верхней зажимной губки 8 и нижней зажимной губки 9. При этом совмещают с установочными отверстиями 16 верхней зажимной губки 8 сквозную срединную выемку 12 и сквозные боковые выемки 13 нижней зажимной губки 9. Заостренными концами 5 шпилек 4 прокалывают образец биологической ткани 27 со стороны нижней зажимной губки 9 таким образом, что каждая шпилька 4 подвижно размещается в соответствующих сквозных боковых выемках 13 и сквозной срединной выемке 12 нижней зажимной губки 9, а также в установочных отверстиях 16 верхней зажимной губки 8. При этом выпуклые края верхней зажимной губки 8 и нижней зажимной губки 9 оказываются совмещенными с наружным краем базовой балки 1. Через сквозные трафаретные отверстия 14 верхней зажимной губки 8 на поверхность образца биологической ткани 27 наносят метки 15, например, с помощью краскораспылителя. Образец биологической ткани 27 обрезают по контуру верхней зажимной губки 8, например, скальпелем. Через образец биологической ткани 27 в точке 28, отмеченной в области проточки 17 центровочными рисками 18, проводят штифт 21. С подготовленного для испытания образца биологической ткани 27, расположенного на шпильках 4, удаляют верхнюю зажимную губку 8, захватывая пальцами руки бортик 11 и перемещая верхнюю зажимную губку 8 вдоль шпилек 4. Захватывая бортик 10 пальцами руки, удаляют нижнюю зажимную губку 9. При этом шпильки 4 выводятся из сквозной срединной выемки 12 и сквозных боковых выемок 13. Проводят шпильки 4 через сквозные направляющие отверстия 6 накладной балки 2 корпуса. При помощи зажимных гаек 7 сближают внутренними рабочими поверхностями с выступами 3 базовую балку 1 и накладную балку 2, сдавливая при этом часть образца биологической ткани 27. Торцовыми поверхностями 19 базовой балки 1 и накладной балки 2 собранный корпус размещают на стойках 20 силового механизма в вертикальном положении. При этом поверхность образца биологической ткани 27 с нанесенными на ней метками 15 размещают в одной плоскости с миллиметровой бумагой 23, расположенной на стойках 20 и предназначенной для масштабного фотографирования образца биологической ткани 27 в процессе испытания. Проведенный через образец биологической ткани 27 штифт 21 закрепляют между штангой 24 силового механизма и прямоугольной шайбой 25 при помощи болта 22 с заостренным концом, на который навинчивают короткую гайку 26.
При исследовании растяжения ткани вдоль вектора усилия растяжения, прилагаемого в плоскости образца биологической ткани 27 (Фиг.3, 4), последний готовят в виде ленты и размещают на нижней зажимной губке 9, равномерно расправляют вдоль сквозной срединной выемки 12. При этом ширина образца биологической ткани 27 превышает ширину сквозной срединной выемки 12. Верхнюю зажимную губку 8 накладывают на поверхность образца биологической ткани 27 таким образом, чтобы были совмещены прямые и выпуклые края верхней зажимной губки 8 и нижней зажимной губки 9. При этом установочные отверстия 16 верхней зажимной губки 8 совмещают со сквозной срединной выемкой 12 и сквозными боковыми выемками 13 нижней зажимной губки 9. Заостренный конец 5 шпильки 4 проводят через образец биологической ткани 27 со стороны нижней зажимной губки 9 в области сквозной срединной выемки 12. При этом все шпильки 4 подвижно размещаются в соответствующих сквозных боковых выемках 13 и сквозной срединной выемке 12 нижней зажимной губки 9, а также в установочных отверстиях 16 верхней зажимной губки 8. При этом выпуклые края верхней зажимной губки 8 и нижней зажимной губки 9 оказываются на одном уровне с наружным краем базовой балки 1. Через сквозные трафаретные отверстия 14 верхней зажимной губки 8 на поверхность образца биологической ткани 27 наносят метки 15, например, с помощью краскораспылителя. На болт 22 с заостренным концом устанавливают прямоугольную шайбу 25. Через пробу биологической ткани 27 в точке 28, отмеченной в области проточки 17 центровочными рисками 18, проводят болт 22 с заостренным концом. С подготовленной для испытания образца биологической ткани 27, расположенной на шпильке 4, удаляют верхнюю зажимную губку 8, захватывая пальцами руки бортик 11 и перемещая верхнюю зажимную губку 8 вдоль шпилек 4. Захватывая бортик 10 пальцами руки, удаляют нижнюю зажимную губку 9. При этом шпильки 4 выводятся из сквозной срединной выемки 12 и сквозных боковых выемок 13. Проводят шпильки 4 через сквозные направляющие отверстия 6 накладной балки 2. При помощи зажимных гаек 7 сближают внутренними рабочими поверхностями с выступами 3 базовую балку 1 и накладную балку 3, сдавливая при этом часть образца биологической ткани 27. Торцовыми поверхностями 19 базовой балки 1 и накладной балки 2 собранный корпус размещают на стойках 20 силового механизма в вертикальном положении. При этом поверхность образца биологической ткани 27 с нанесенными на ней метками 15 размещают в одной плоскости с миллиметровой бумагой 23, расположенной на стойках 20 и предназначенной для масштабного фотографирования образца биологической ткани 27 в процессе испытания. Проведенный через образец биологической ткани 27 болт 22 с заостренным концом закрепляют на штанге 24 силового механизма, завинчивая короткую гайку 26. При этом часть образа биологической ткани 27 зажимают между прямоугольной шайбой 25 и штангой 24.
Предлагаемое зажимное устройство позволяет расширить возможности испытания образца биологической ткани и повысить удобства в работе при его подготовке к исследованию.
Формула изобретения
1. Зажимное устройство для испытания образца биологической ткани, содержащее корпус с механизмом сжатия образца, две зажимные губки, отличающееся тем, что корпус выполнен в виде дугообразных базовой и накладной балок, по форме и размерам копирующих друг друга с выполненными на их внутренних рабочих поверхностях выступами, с возможностью сближения указанных балок этими поверхностями между собой за счет того, что на внутренней рабочей поверхности базовой балки по периметру дуги неподвижно установлены с заостренными концами шпильки, которые подвижно размещены в сквозных направляющих отверстиях, выполненных соосно шпилькам в накладной балке, кроме того, каждая шпилька снабжена съемной зажимной гайкой, и при этом шпильки и зажимные гайки составляют механизм сжатия образца, две зажимные губки выполнены съемными в виде верхней и нижней зажимных губок, представляющих собой одинаковые пластины в виде полукруга, прямой край которого выполнен в виде бортика, при этом бортик нижней зажимной губки направлен в сторону базовой балки, а бортик верхней зажимной губки направлен в сторону, противоположную от базовой балки, в плоскости нижней зажимной губки через ее выпуклый край выполнены перпендикулярно бортику сквозная срединная выемка, касающаяся бортика, и параллельно по ее обеим сторонам сквозные боковые выемки для возможности размещения в них шпилек базовой балки, в пластине верхней зажимной губки выполнены сквозные трафаретные отверстия, предназначенные для нанесения меток на поверхность испытуемого образца биологической ткани и расположенные, в частности, в квадратно-гнездовом порядке по всему полю пластины, в которой, кроме того, вблизи ее выпуклого края выполнены установочные отверстия для размещения в них шпилек базовой балки, а в средней части прямого края через бортик выполнена проточка с нанесенными на ее края центровочными рисками, предназначенными для отметки на образце биологической ткани точки, равноудаленной от выпуклого края верхней зажимной губки.
2. Устройство по п.1, отличающееся тем, что по концам базовой и накладной балок выполнены торцовые поверхности, предназначенные для размещения зажимного устройства на стойках силового механизма.
РИСУНКИ
|
|