|
|
(21), (22) Заявка: 2008148018/28, 08.12.2008
(24) Дата начала отсчета срока действия патента:
08.12.2008
(46) Опубликовано: 27.12.2009
(56) Список документов, цитированных в отчете о поиске:
RU 2279052 C1, 27.06.2006. RU 2254563 C1, 20.06.2005. RU 2091745 C1, 27.09.1997. RU 2212647 C2, 20.09.2003.
Адрес для переписки:
111116, Москва, ул. Авиамоторная, 2, ФГУП “ЦИАМ им. П.И. Баранова”, отдел интеллектуальной собственности
|
(72) Автор(ы):
Бабикова Лидия Васильевна (RU), Давыдов Владимир Иванович (RU), Королёва Лидия Григорьевна (RU), Кулаков Вячеслав Васильевич (RU), Петров Дмитрий Сергеевич (RU), Сапегин Юрий Иванович (RU), Сайгак Валерий Никитович (RU), Щербаков Иван Тихонович (RU), Ягодин Владимир Александрович (RU)
(73) Патентообладатель(и):
Федеральное государственное унитарное предприятие “Центральный институт авиационного моторостроения имени П.И. Баранова” (RU), Российская Федерация, от имени которой выступает государственный заказчик – Министерство промышленности и торговли Российской Федерации (RU)
|
(54) СТЕНД ДЛЯ ИСПЫТАНИЙ МЕХАНИЧЕСКИХ СВОЙСТВ МАТЕРИАЛОВ В ГАЗОВОМ ПОТОКЕ
(57) Реферат:
Изобретение относится к устройствам, предназначенным для испытаний конструкций из различных материалов, преимущественно неметаллических, на жаростойкость и термоциклическую прочность в высокотемпературном газовом потоке. Стенд для испытаний механических свойств материалов в газовом потоке содержит корпус с водяной рубашкой охлаждения, снабженный крышкой и смотровыми люками, захваты, штоки, каретку, наружный экран, внутренний экран, регулирующие гайки, штанги, верхнюю и нижнюю опору, силоизмеритель, нагружающий механизм, упоры и газовоздушный тракт. Стенд снабжен патрубками подвода воздуха для охлаждения внутреннего и наружного экранов и захватов. Внутренние и наружные экраны установлены внутри корпуса в виде кольцевого коллектора со средней частью, захваты шарнирно связаны со штоками. Каждый шток выполнен полым, и в каждом штоке размещена трубка, которая имеет наружный диаметр меньше, чем диаметр отверстия в штоке. На шток со стороны, противоположной захвату, установлен коллектор подвода/отвода охлаждающей жидкости, при этом шток, коллектор и трубка образуют контур водяного охлаждения штока, и каждый шток независимо соединен с кареткой нагружающего устройства. Каретка оборудована стопорами. Нагружающее устройство, соединенное соосно с силоизмерителем, расположены между штангами верхней и нижней опор, жестко установленных на корпусе посредством упоров. Корпус установлен на фундаменте на качающихся опорах. Техническим результатом является создание стенда для испытаний, позволяющего проводить нагружение образцов материалов, в том числе циклическое, для определения термомеханических характеристик непосредственно при воздействии на них газовой среды. 6 ил.
Изобретение относится к испытательной технике, в частности к стендам для испытаний различных материалов, преимущественно неметаллических, на жаростойкость и термоциклическую прочность при воздействии на них высокотемпературного газового потока.
Известна универсальная испытательная машина для испытания образцов материалов на растяжение, сжатие, изгиб. Машина содержит основание, размещенные на нем колонны, подвижную траверсу и неподвижную траверсу, закрепленную на них, устройство для закрепления и установки образцов (RU 2254563, МКИ G01N 3/00, 20.06.2005 г.).
Недостатком данного технического решения является невозможность проведения испытаний при высоких температурах и учета воздействия на образцы газовой среды, перемещающейся под давлением с большой скоростью.
Наиболее близкой по технической сущности к заявляемому стенду является выбранное в качестве прототипа устройство для испытания материалов при высоких температурах, в котором нагрев материалов при испытаниях на прочность и жаростойкость проводят при высоких температурах в окислительной газовой среде нормированного состава. Устройство содержит рабочую камеру, коллекторы подачи и отсоса окислительной газовой среды, кварцевые лампы, рефлектор, который имеет каналы отвода воздуха (RU 2279052, МКИ G01N 3/00, 27.06.2006 г.).
Недостатком данного технического решения является невозможность нагрева образцов непосредственно газовой средой, малая скорость обтекания, низкое давление.
Целью заявляемого технического решения является создание стенда для испытаний, позволяющего проводить нагружение образцов материалов, в том числе циклическое, для определения термомеханических характеристик непосредственно при воздействии на них газовой среды, содержащей продукты сгорания авиационного топлива с высокими энергетическими параметрами – температура, скорость потока, давление.
При этом параметры стенда согласуются с условиями работы высокотемпературных нагруженных узлов перспективных авиационных двигателей.
Указанная цель достигается тем, что в стенде для испытаний механических свойств материалов в газовом потоке, содержащем корпус с водяной рубашкой охлаждения, снабженный крышкой и смотровыми люками, захваты, штоки, каретку, наружный экран, внутренний экран, регулирующие гайки, штанги, верхнюю и нижнюю опоры, силоизмеритель, нагружающий механизм, упоры, и газовоздушный тракт, в него введены патрубки подвода воздуха для охлаждения внутреннего и наружного экранов и захватов, при этом экраны выполнены в виде кольцевого коллектора со средней частью, захваты шарнирно связаны со штоками, выполненными полыми, в каждом из которых размещена трубка, наружный диаметр которой меньше, чем диаметр отверстия в штоке, а на шток со стороны, противоположной захвату, установлен коллектор подвода/отвода охлаждающей жидкости, шток, коллектор и трубка выполнены в виде контура водяного охлаждения штока, и каждый шток независимо соединен с кареткой нагружающего устройства, которая снабжена стопорами, при этом нагружающее устройство с соединенным соосно силоизмерителем расположены между штангами верхней и нижней опор, жестко установленных на корпусе посредством упоров, причем корпус установлен на фундаменте на качающихся опорах
На фиг.1 показана конструктивная схема стенда (вид сбоку) для испытаний механических свойств материалов в газовом потоке.
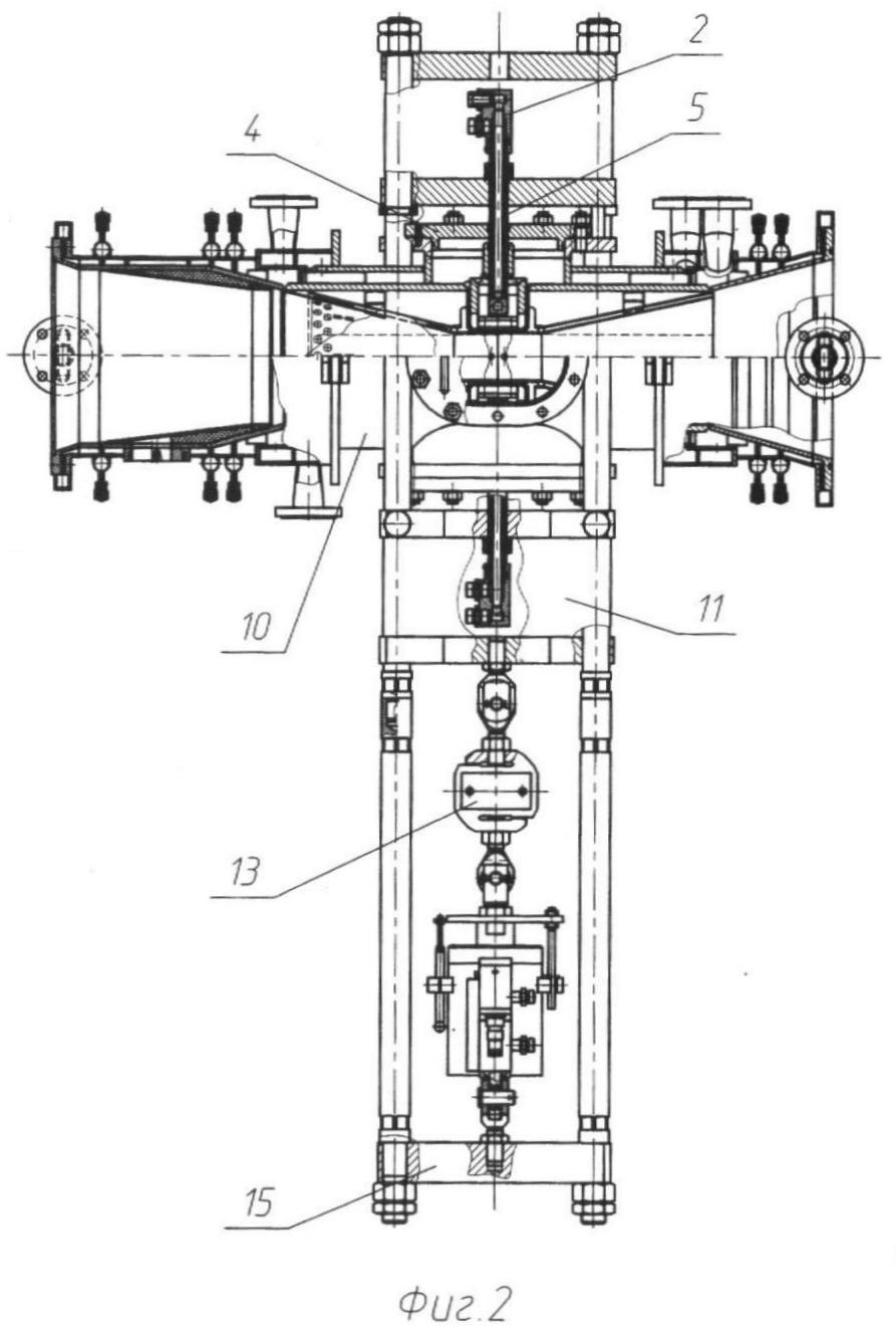
На фиг.2 показана конструктивная схема стенда (вид спереди) для испытаний механических свойств материалов в газовом потоке.
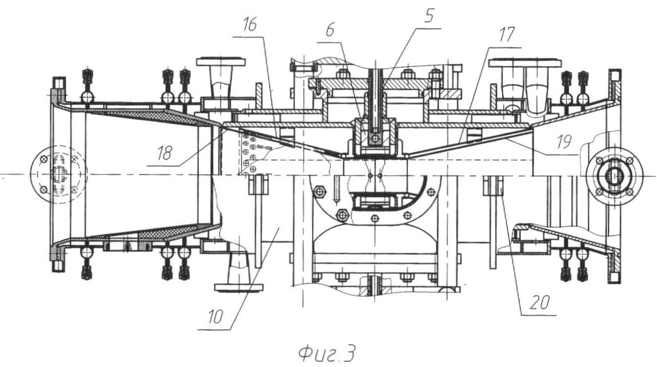
На фиг.3 показано устройство рабочей части газового тракта, установка экранов в корпусе и образцов в захватах.
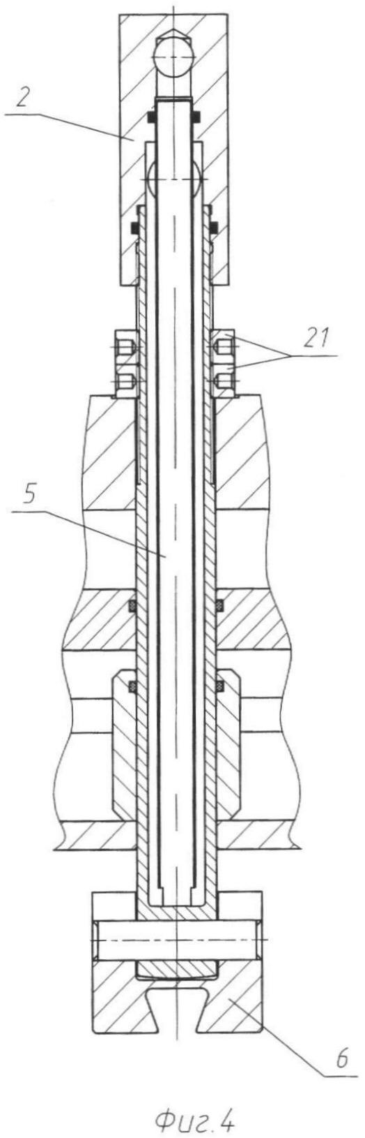
На фиг.4 и 5 показан захват в сборе с охлаждаемым штоком.
На фиг.6 показаны экраны в сборе.
Стенд состоит из корпуса 10, который соединен с агрегатами для подвода газа, содержащего продукты сгорания авиационного топлива, воздушного и водяного охлаждения. На нем установлены захваты 6 и защитные экраны 16-19. Корпус представляет собой сложную сварную конструкцию, на которой закреплена силовая рама, а сам корпус установлен на качающихся опорах 20.
В корпусе испытуемые образцы устанавливаются с помощью захватов 6, которые также служат для передачи на образцы нагружающего усилия. Захваты расположены внутри корпуса. Для установки образца они имеют разъем типа «ласточкин хвост». С охлаждаемым штоком 5 захваты связаны с помощью шарнирного соединения.
Охлаждаемый шток 5 служит для передачи усилия с силовой рамы на захваты образцов и представляет собой полый заглушенный с одной стороны цилиндр, внутрь которого вставлена трубка, таким образом, что при установке на открытый конец штока специально профилированного водяного коллектора внутри штока образуется полость, по которой перемещается охлаждающая жидкость, обеспечивающая эффективный отвод тепла из зоны нагрева. На части наружной поверхности штока нанесена резьба, с помощью которой натяжными гайками 21 обеспечиваются установка и натяжка образцов, а также установка водяного коллектора. Заглушенный конец используется как элемент шарнирного крепления к захвату.
Для обеспечения перемещения штоков и одновременно герметизации корпуса служат уплотнительные кольца и крышка 4, которая необходима для центрирования установленных штоков 5.
Для создания нагружающего усилия используется гидроцилиндр 14. Усилие, созданное нагружающим устройством 14, измеряется силоизмерителем 13 (тензометром) и далее передается на подвижную каретку 11 с одной стороны и на неподвижную силовую раму (нижнюю опору) 15 с другой. Силовая рама состоит из верхней и нижней опор 1, 15 и связывающих их штанг 12.
Верхняя опора 1 жестко связана с корпусом с помощью упоров 7, одновременно опора связана с захватами образцов 6 через проходящие сквозь нее охлаждаемые штоки 5. Штоки выставляются с помощью установочных гаек. Нижняя опора 15 жестко связана с верхней 1 посредством штанг 12 и шарнирно соединена с нагружающим устройством 14.
Штанги используются для передачи нагружающих усилий и как направляющие для перемещения каретки 11. Каретка 11 служит для передачи нагружающих усилий на охлаждаемые штоки 5, установки и снятия образцов, выборки зазоров после установки (за счет подвижности каретки). Каретка связана с захватами образцов с помощью охлаждаемых штоков 5. Для фиксации каретки во время установки образцов, выборки зазоров и предварительной натяжки каретка оборудована стопорами 9.
Для дополнительного охлаждения элементов стенда, непосредственно находящихся в области высоких температур, корпус снабжен патрубками подвода воздуха для охлаждения внутреннего и наружного экранов с захватами. Экраны выполнены в виде кольцевого коллектора со средней частью, внутри которого проходят продукты сгорания авиационного топлива, поступающего от стендовых агрегатов. Из патрубков подвода охлаждающего воздуха 3 охлаждающий воздух попадает во внутреннюю полость двух разъемных экранов: внутреннего 18, 19 и наружного 16, 17. Внутренние экраны 18, 19 служат для защиты стенок корпуса (газового тракта) от перегрева. Наружные экраны 16, 17 служат для организации потока охлаждающего воздуха, поступающего из патрубков подвода охлаждающего воздуха. Воздух, поступая в корпус через патрубки подвода охлаждающего воздуха, проходит через кольцевой коллектор со средней частью, охлаждая экраны, а так же охлаждает захваты образцов материалов. После прохождения через внутреннюю полость кольцевого коллектора воздух попадает в общий газовый тракт и удаляется вместе с отработанным газом.
Для разгрузки стыковочных фланцев от действия весовых нагрузок используются «качающиеся опоры» 20.
В основе принципа работы стенда для испытаний механических свойств материалов образцов в газовом потоке лежат два основополагающих процесса: обтекание потоком газа образцов и передача на образцы разрывающего усилия.
Для проведения испытаний материалов следует установить образцы, подключить и вывести на заданный программой испытаний режим питающие испытательную установку системы. Среди них: системы и устройства, создающие однородный газовый поток с заданными в программе испытаний характеристиками (газогенератор и его системы); системы водяного и воздушного охлаждения, масляные системы управления гидроцилиндром; измерительная и регистрирующая аппаратура.
При установке образцов в захваты (поз.6) выбирают зазоры на всех трех образцах, располагают симметрично относительно друг друга и относительно газового потока.
Для этого на каретке 11 установлены стопоры 9. С их помощью перед затяжкой установочных гаек 21 необходимо зафиксировать положение каретки. Далее выбирают зазоры между захватами 6 и образцами, а также в соответствии с программой испытаний выставляют зазоры между корпусом 1 и захватами 6 с установленными в них образцами. Для установки образцов по бокам корпуса предусмотрены смотровые люки 8.
Для выполнения возложенной на установку задачи создания разрывающего усилия в качестве нагружающего устройства используется гидроцилиндр 14. Вид нагружения (статическое, динамическое) определяется программой испытаний. Усилие передается с одной стороны посредством силовой рамы на верхнюю опору 1 и через штоки 5 на верхние захваты 6 образцов. С другой стороны усилие передается через силоизмеритель 13 на подвижную каретку 11 и через штоки 5 на нижние захваты 6 образцов. Так как в зоне расположения захватов 6 присутствует повышенная температура, несмотря на обдув захватов охлаждающим воздухом, штоки 5 нуждаются в дополнительном охлаждении. Данная проблема решена установкой полых штоков 5 и созданием в них постоянного тока охлаждающей воды, подвод и отвод которой осуществляется через специально организованный водяной коллектор 2, расположенный на противоположном от захвата 6 конце штока.
Газовоздушный тракт образован стенками корпуса 10 и установленным внутри него кольцевым коллектором, образованным экранами 16-19. Защита от перегрева в ходе эксперимента достигается подачей за экранное пространство охлаждающего воздуха, который проходит далее между наружными экранами 16, 17 и внутренним экранами 18, 19 и в ходе своего движения охлаждает также захваты 6 образцов. Теплоотвод непосредственно от корпуса осуществляется с помощью воды, проходящей по водяной рубашке, разделенной на три секции, и конструктивно представляющей одно целое с корпусом 10.
Применение данного стенда обеспечивает проведение испытаний образцов из различных материалов, преимущественно неметаллических, на жаростойкость и термоциклическую прочность в газовом потоке со скоростью 500 м/с, температурой 1500°С и давлением до 7 атм.
Формула изобретения
Стенд для испытаний механических свойств материалов в газовом потоке, содержащий корпус с водяной рубашкой охлаждения, снабженный крышкой и смотровыми люками, захваты, штоки, каретку, наружный экран, внутренний экран, регулирующие гайки, штанги, верхнюю и нижнюю опоры, силоизмеритель, нагружающий механизм, упоры, и газовоздушный тракт, отличающийся тем, что он снабжен патрубками подвода воздуха для охлаждения внутреннего и наружного экранов и захватов, при этом экраны выполнены в виде кольцевого коллектора со средней частью, захваты шарнирно связаны со штоками, выполненными полыми, в каждом из которых размещена трубка, наружный диаметр которой меньше, чем диаметр отверстия в штоке, а на шток стороны противоположной захвату установлен коллектор подвода/отвода охлаждающей жидкости, шток, коллектор и трубка выполнены в виде контура водяного охлаждения штока, и каждый шток независимо соединен с кареткой нагружающего устройства, которая снабжена стопорами, при этом нагружающее устройство с соединенным соосно силоизмерителем расположены между штангами верхней и нижней опор, жестко установленных на корпусе посредством упоров, причем корпус установлен на фундаменте на качающихся опорах.
РИСУНКИ
|
|