|
|
(21), (22) Заявка: 2008116979/28, 04.05.2008
(24) Дата начала отсчета срока действия патента:
04.05.2008
(46) Опубликовано: 27.12.2009
(56) Список документов, цитированных в отчете о поиске:
RU 2006116171 А, 10.12.2007. SU 1257695 А1, 15.09.1986. FR 1323722 А, 12.04.1963. US 3890723 А, 24.06.1975.
Адрес для переписки:
125430, Москва, ул. Митинская, 30, В.А. Гнездилову
|
(72) Автор(ы):
Гнездилов Владимир Алексеевич (RU)
(73) Патентообладатель(и):
Гнездилов Владимир Алексеевич (RU)
|
(54) УСТРОЙСТВО ДЛЯ ИСПЫТАНИЯ ТРАНСПОРТНОГО СРЕДСТВА
(57) Реферат:
Изобретение относится к испытательной технике и может быть использовано для испытания тележек катальных гор. Устройство содержит наполняемую текучим балластом емкость, сопрягаемую с сиденьем транспортного средства. Емкость образована, по крайней мере, одной полостью сиденья или выполнена в виде, по крайней мере, одного резервуара, извлекаемого из сиденья. Технический результат заключается в упрощении конструкции. 2 з.п. ф-лы, 2 ил.
Изобретение относится к средствам для испытания транспортных средств, в частности для испытания тележек катальных гор.
Известно устройство для испытания транспортного средства, содержащее наполняемую текучим балластом емкость, сопрягаемую с сиденьем транспортного средства (см. заявку РФ 2006116171 от 11.11.2007).
Недостатком известного устройства является сложность конструкции и неудобство пользования им, приводящее к повышенным трудозатратам.
Технический результат, на достижение которого направлено изобретение, заключается в упрощении конструкции устройства и в снижении затрат на его использование.
Указанный результат достигается тем, что в устройстве для испытания транспортного средства, содержащем наполняемую текучим балластом емкость, сопрягаемую с сиденьем транспортного средства, емкость образована, по крайней мере, одной полостью сиденья или выполнена в виде, по крайней мере, одного резервуара, извлекаемого из сиденья.
В качестве балласта может быть использована вода, а части емкости могут иметь разный объем.
Сущность изобретения поясняется чертежами.
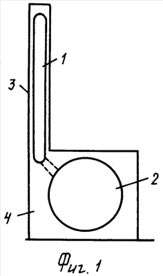
На фиг.1 показано сиденье с выполненными в нем полостями; на фиг.2 – то же, с извлекаемыми резервуарами.
Устройство для испытания транспортного средства состоит из заполняемой водой емкости, которая может быть образована полостями 1 и 2, выполненными соответственно в спинке 3 и основании 4 сиденья, или зафиксированными в них соответственно резервуарами 5 и 6. Полости 1 и 2 могут сообщаться друг с другом, образуя одну общую полость.
Выполнение емкости из нескольких полостей, или использование одного секционного резервуара, или использование нескольких секционных резервуаров, зафиксированных в сиденье при проведении испытаний, позволяет в зависимости от степени заполнения емкости балластом изменять условия испытаний в широком диапазоне.
Простота сопряжения емкости с сиденьем позволяет значительно сократить затраты на испытание и время испытания. В самом простом варианте емкость состоит из одной полости 2 или одного резервуара 6, выдвигаемого из основания 4 сиденья. Использование только одной полости или одного резервуара 6 позволяет производить предпродажные испытания уже изготовленного транспортного средства (тележки катальной горы).
Формула изобретения
1. Устройство для испытания транспортного средства, содержащее наполняемую текучим балластом емкость, сопрягаемую с сиденьем транспортного средства, отличающееся тем, что емкость образована, по крайней мере, одной полостью сиденья или выполнена в виде, по крайней мере, одного резервуара, извлекаемого из сиденья.
2. Устройство по п.1, отличающееся тем, что в качестве балласта использована вода.
3. Устройство по п.1 или 2, отличающееся тем, что части емкости имеют разный объем.
РИСУНКИ
|
|