|
(21), (22) Заявка: 2008121823/28, 02.06.2008
(24) Дата начала отсчета срока действия патента:
02.06.2008
(46) Опубликовано: 27.12.2009
(56) Список документов, цитированных в отчете о поиске:
RU 2272265 C2, 20.03.2006. RU 2251090 C1, 27.04.2005. RU 2213943 C2, 10.10.2003. DE 4038266 A1, 04.06.1992.
Адрес для переписки:
141070, Московская обл., г. Королев, ул. Ленина, 4а, ОАО “РКК “Энергия” им. С.П. Королева”, отдел интеллектуальной собственности
|
(72) Автор(ы):
Ковтун Владимир Семенович (RU), Бедин Борис Иванович (RU), Фомин Леонид Валентинович (RU), Калинкин Дмитрий Анатольевич (RU)
(73) Патентообладатель(и):
Открытое акционерное общество “Ракетно-космическая корпорация “Энергия” имени С.П. Королева” (RU)
|
(54) СПОСОБ ОПРЕДЕЛЕНИЯ ГЕРМЕТИЧНОСТИ СИСТЕМЫ ПОДАЧИ РАБОЧЕГО ТЕЛА К ИСТОЧНИКУ ПЛАЗМЫ, ПРЕИМУЩЕСТВЕННО В УСЛОВИЯХ ВАКУУМА
(57) Реферат:
Изобретение относится к области испытательной техники, в частности к испытаниям на герметичность систем космических аппаратов. Способ определения герметичности системы подачи рабочего тела к источнику плазмы включает измерение давления и температуры в контролируемом объеме системы на фиксированном интервале времени, определение расхода рабочего тела по изменению давления и температуры в контролируемом объеме, измерение параметров, характеризующих работу источника плазмы на указанном интервале, определение по измеренным параметрам контрольного расхода рабочего тела в источнике плазмы, определение герметичности системы путем сравнения контрольного расхода и расхода, определенного по изменению давления и температуры рабочего тела в контролируемом объеме. Давление рабочего тела во входной магистрали источника плазмы измеряют многократно, при этом измерение рабочих параметров источника плазмы производят для различных значений измеренного давления рабочего тела, получая зависимости рабочих параметров источника плазмы от давления, по которым определяют передаточные характеристики регулирования контрольного расхода рабочего тела в единицу времени при подаче к источнику плазмы, обеспечивающего номинальный режим работы источника плазмы, в процессе работы которого измеряют текущие значения параметров передаточных характеристик регулирования расхода рабочего тела при подаче к источнику плазмы и давления. Далее по полученным зависимостям определяют значения текущего контрольного расхода рабочего тела в единицу времени в пределах фиксированного интервала. Технический результат – повышение точности определения герметичности системы. 2 табл., 2 ил.
Изобретение относится к области испытательной техники, в частности к испытаниям на герметичность систем космических аппаратов (КА) в условиях наземных испытаний и орбитальной эксплуатации, имеющих в своем составе изолированные, последовательно или параллельно соединенные объемы, заполненные рабочим веществом.
Известен способ определения герметичности магистралей объединенной двигательной установки (ОДУ) по скорости падения давления за периоды между двумя последовательными включениями реактивных двигателей (РД) [1]. При определении скорости падения давления учитываются теплофизические характеристики рабочего тела. Определяется также допустимая скорость падения давления из тех же объемов контролируемых магистралей. Далее по результатам сравнения реальной скорости с допустимой производится заключение о герметичности магистрали системы подачи рабочего тела.
Недостатком способа является то, что для его использования необходимо перевести все рабочее тело в газообразное состояние, соответствующее области рабочих температур и давлений. Для заданного объема в газообразном состоянии можно хранить лишь ограниченную массу рабочего тела [1]. Поэтому основные его запасы хранят в жидком состоянии и перед расходом через РД, при помощи специальных устройств (теплообменников-газификаторов) переводят в газообразное состояние.
В процессе нагрева емкости для хранения, часть рабочего тела, находящегося в жидкой фазе, переходит в газообразное состояние. Давление и температура измеряются в «газовом пузыре», расположенном в зоне нагревателей системы термостатирования рабочего тела. И по ним невозможно определить массу вещества, находящегося в двухфазном состоянии. Таким образом, на первоначальных этапах работы реактивных двигателей, когда рабочее тело находится в двухфазном состоянии, производить определение герметичности объемов хранения рабочего тела по скорости изменения давления с учетом теплофизических характеристик рабочего тела невозможно.
Известен выбранный в качестве прототипа способ определения герметичности изолированного объема системы подачи рабочего тела с источником плазмы, преимущественно в условиях вакуума [2]. Способ включает в себя измерение давления и температуры в контролируемом объеме на фиксированном интервале времени работы источника плазмы (t0, tk), определение расхода рабочего тела по изменению давления и температуры в контролируемом объеме, измерение параметров, характеризующих работу источника плазмы Rи(t) на вышеуказанном интервале.
Определение по измеренным параметрам контрольного расхода рабочего тела в источнике плазмы . Определение герметичности системы подачи рабочего тела путем сравнения контрольного расхода и расхода, определенного по изменению давления и температуры рабочего тела в контролируемом объеме.
В этом способе контрольный расход рабочего тела является функцией рабочих параметров источника. Для стационарных плазменных двигателей (СПД), рассматриваемых в качестве примера источника плазмы, расход определяется через коэффициент k расхода массы рабочего тела в токовых единицах (мг/с)/А, по отношению к разрядному току Ip (одного из основных рабочих параметров) СПД.
Однако значение k постоянно регулируется в процессе работы СПД управляющими устройствами системы стабилизации Ip. При этом регулировка обеспечивается за счет передаточных характеристик устройства подачи рабочего тела, управляемого током Ip. Кроме этого расход зависит от давления рабочего тела на входе в СПД.
Разрядный ток, в процессе работы СПД, может изменяться от воздействия дестабилизирующих факторов, например, таких как: нестабильность плазменного разряда, вызванная низкочастотными флуктуациями среднего значения тока разряда ±0,1 А; нестабильности разрядного напряжения; аномальных бросков тока разряда и др. Перечисленные факторы, не учитываемые в способе прототипе, оказывают существенное влияние на определение контрольного расхода рабочего тела. В результате уменьшается точность при определении величины не герметичности контролируемых объемов, из которых производится расход рабочего тела.
Недостатком способа-прототипа является также то, что определение герметичности осуществляется только для одного изолированного объема за периоды между двумя включениями РД. В то же время газодинамические нагрузки на аппаратуру регулирования подачи рабочего тела и магистрали ОДУ в процессе работы РД, являются основными при определении герметичности системы подачи и хранения рабочего тела. При этом необходимо определять не только герметичность объемов хранения рабочего тела, а и магистралей, аппаратуры, обеспечивающей его подачу (клапанов подачи, редукторов и др.)
Техническим результатом во вновь разрабатываемом способе определения герметичности системы подачи рабочего тела к источнику плазмы, преимущественно в условиях вакуума, является повышение точности определения герметичности системы при работе источника, за счет увеличения точности определения текущих значений контрольного расхода рабочего тела через источник.
Достигается данный технический результат тем, что в способе определения герметичности системы подачи рабочего тела к источнику плазмы, преимущественно в условиях вакуума, включающем измерение давления и температуры в контролируемом объеме системы на фиксированном интервале времени работы источника плазмы (t0, tk), определение расхода рабочего тела по изменению давления и температуры в контролируемом объеме, измерение параметров, характеризующих работу источника плазмы на указанном интервале, определение по измеренным параметрам контрольного расхода рабочего тела в источнике плазмы, определение герметичности системы подачи рабочего тела путем сравнения контрольного расхода и расхода, определенного по изменению давления и температуры рабочего тела в контролируемом объеме, измеряют многократно давление рабочего тела во входной магистрали источника плазмы PBX(t), при этом измерение рабочих параметров источника плазмы производят для различных значений измеренного давления РBX(t) рабочего тела, получая зависимости рабочих параметров источника плазмы от давления РBX(t), по которым определяют передаточные характеристики регулирования контрольного расхода рабочего тела в единицу времени при подаче к источнику плазмы, обеспечивающего номинальный режим работы источника плазмы, в процессе работы которого измеряют текущие значения параметров передаточных характеристик регулирования расхода рабочего тела при подаче к источнику плазмы и давления РBX(t), далее по полученным зависимостям рабочих параметров источника плазмы и по измеренным значениям параметров передаточных характеристик регулирования подачи рабочего тела и давления РBX(t) определяют значения текущего контрольного расхода рабочего тела в единицу времени в пределах фиксированного интервала (t0, tk), по которым определяют расход рабочего тела из контролируемого объема

одновременно в процессе работы источника плазмы измеряют давление Pi(t) и температуру Тi(t) в i-x контролируемых объемах, составляющих систему, где i=1, 2, 3 – участки поддержания давления одного номинального диапазона при заданном термостатировании рабочего тела, а также РBX(t) и TBX(t) и где TBX(t) – температура рабочего тела во входной магистрали, в моменты времени начала t0 и окончания tk фиксированного интервала (t0, tk), по измеренным значениям давления и температуры определяют значения масс рабочего тела в момент времени t0 начала фиксированного интервала , 
и в момент времени tk его окончания , , далее определяют герметичность системы подачи рабочего тела по выполнению условия
,
где M – допустимые потери массы рабочего тела из контролируемого объема системы подачи рабочего тела с источником плазмы.
Для примера, в качестве источника плазмы выбран тяговый модуль (ТМ), включающий в себя стационарный плазменный двигатель (СПД) и блок газораспределения (БГР) [1], при этом рабочим телом является ксенон.
Для объяснения технической сути предлагаемого изобретения приводятся:
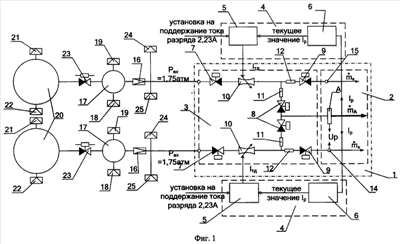
фиг.1 – принципиальная блок-схема стабилизации в ТМ тока разряда (Ip) током термодросселя (Iтд), с подключением ТМ к системе подачи рабочего тела;
фиг.2 – пример настроечных характеристик одного из термодросселей;
таблица 1 – расход за маневр, определенный по расходным характеристикам;
таблица 2 – расход массы ксенона, определенный по бародинамическим параметрам.
При этом введены следующие условные обозначения:
1 – ТМ (выделен штрихпунктирной линией);
2 – анодно-катодный блок (АКБ) СПД (выделен пунктирной линией);
3 – БГР (выделен пунктирной линией);
4 – блок автоматического регулирования ТМ (БАРТМ) (выделен пунктирной линией);
5 – магнитный регулятор (МР);
6 – датчик тока анода (ДТА);
7 – электропневмоклапаны подачи ксенона в ТМ (ЭПК ТМ);
8 – электропневмоклапаны подачи ксенона к аноду (ЭПКА);
9 – электропневмоклапаны подачи ксенона к катоду (ЭПКК);
10 – термодроссель (ТД);
11 – жиклеры подачи ксенона в анод (ЖА);
12 – жиклеры подачи ксенона в катод (ЖК);
13 – анод (А);
14, 15 – катоды: первый (К1), второй (К2);
16 – редукторы поддержания входного давления (Р);
17 – бак низкого давления для хранения рабочего тела (БНД);
18 – датчики измерения давления рабочего тела в БНД (ДД БНД);
19 – датчики измерения температуры рабочего тела в БНД (ДТ БНД);
20 – бак высокого давления для хранения рабочего тела (БВД);
21 – датчики измерения давления рабочего тела в БВД (ДД БВД);
22 – датчики измерения температуры рабочего тела в БВД (ДТ БВД);
23 – электропневмоклапаны перепуска рабочего тела (ЭПКП);
24 – датчики измерения давления рабочего тела на входе в ТМ (ДДВ);
25 – датчики измерения температуры рабочего тела на входе в ТМ (ДТВ);
F – сила тяги ТМ;
Up – напряжение разряда;
– массовый расход ксенона через анод в единицу времени;
– массовый расход ксенона через катод в единицу времени;
Ip – ток разряда;
Iтд – ток термодросселя;
Pвх – давление на входе в ТМ.
ТМ 1 включает в себя АКБ СПД 2 и БГР 3. БАРТМ 4 содержит МР 5 и ДТА 6. К входным магистралям ТМ 1 подключены входы ЭПК ТМ 7 БГР 3, а выходы ЭПК ТМ 7 подключены к ТД 10. Выходы ТД 10 подключены через ЖА 11 и ЖК 12 к входам ЭПКА 8 и ЭПКК 9 соответственно. Выходы ЭПКА 8 подключены к аноду А. Каждый из выходов ЭПКК 9 подключен к первому К1 14 и второму К2 15 катодам.
Анод своей электрической частью подключен к входам ДТА 6, выходы которых соединены с первыми входами МР 5. А на второй вход МР 5 подаются установки на поддержание тока разряда 2,23 А от внешних регуляторов тока. Выход МР 5 соединен с электрической частью ТД 10.
На входах БГР 3 установлены редукторы Р 16, входы которых соединены магистралью с выходной частью БНД 17. Для измерения давления и температуры рабочего тела, на БНД 17 установлены ДД БНД 18 и ДТ БНД 19. Входы БНД 17 соединены магистрально через ЭПКП 23 с выходами БВД 20. давление и температура рабочего тела в которых измеряется с помощью датчиков ДДВ 24 и ДТВ 25.
Для создания длительной и непрерывной тяги F в ТМ 1 с помощью АКБ 2 СПД, на входе БГР 3 поддерживается подача газообразного ксенона под номинальным давлением 1,75 атм. При этом напряжения разряда UP=300 В в АКБ 2 поддерживается средствами стабилизации плазменного разряда БАРТМ 4. После выхода ТМ на режим номинальной тяги (~4 г), БАРТМ 4 удерживает ее стабильность от воздействия дестабилизирующих факторов, таких как:
– нестабильность плазменного разряда, проявляющаяся, в частности, из-за низкочастотных флуктуации среднего значения тока разряда ±0,1 А;
– нестабильность входного давления ±0,1 атм;
– нестабильность разрядного напряжения ±15 В;
– аномальных бросков тока разряда.
Для решения этих задач в БАРТМ 4 применяется несколько средств, в том числе и система стабилизации тока разряда током термодросселя, реализующая линейную зависимость Ip=f(IТД). Аппаратно эта задача реализуется в приборе МР 5 БАРТМ 4, на один вход которого с датчика ДТА 6 поступает текущее значение Ip, а на другой вход подается прецизионная токовая установка, соответствующая на выходе системы току разряда Ip=2,23±0,1 А.
Подача ксенона в ТМ осуществляется открытием ЭПК ТМ 7. Далее, через ЭПКА 8 и ЭПКК 9, ксенон подается в зону плазменного разряда [1]. При этом ТМ содержит один анод А 13, с которым работает один из двух катодов К1 14 или К2 15.
Исполнительным устройством системы стабилизации Ip=f(Iтд) является ТД 10, установленный в БГР 3 ТМ 1, работа которого основана на принципе изменения расхода ксенона в капиллярной трубке, по которой он протекает, за счет нагрева ее током, подаваемым от МР 5. При этом изменяется вязкость ксенона и, тем самым, регулируется его подача. Расходная характеристика ТД 10 при изменении тока нагрева капилляра имеет нелинейный характер.
В номинальном режиме ТМ 1 ток разряда Ip=2,23 А должен обеспечиваться током термодросселя 1,5А, что и выполняется настройкой в БАРТМ 4 МР 5 при имитации тока разряда 2,23 А омическим сопротивлением и введением в МР 5 соответствующей установки.
С другой стороны, при проведении приемо-сдаточных испытаний (ПСИ) ТМ осуществляются проливки ксеноном пневмотрактов БГР 3 ТМ1 без и при подаче на ТД 10 тока 1,5 А. При совместных включениях ТМ1 и аппаратуры БАРТМ 4 ток термодросселя автоматически устанавливается системой стабилизации БАРТМ 4 на уровне величины, существенно отличающейся от 1,5 А, с одновременным обеспечением разряда 2,23 А. Причиной этого является следующее обстоятельство: после включения ТМ 1 и выхода его на номинальный режим газокинетическое давление ксенона в полости катода уравновешивается плазменным давлением на выходе катода. Аналогично газокинетическое давление ксенона, поступающего в разрядную камеру, уравновешивается давлением плазменного разряда на выходе анодного блока. При этом в анод должен непрерывно поступать ксенон с расходом , а в катод Это соотношение, примерно 1 к 10, задается в БГР 3 с помощью анодного ЖА 11 и катодных ЖК 12 жиклеров.
Реализовать подачу ксенона такого расхода при перепаде давления от входа БГР 3 до выхода из ТД 10 с 1,75 атм до ~0,0395 атм (30 мм рт.ст.), да еще с точным делением его на анодный и катодный расход, задача в конструкторско-технологическом плане сложная. Решается эта задача установкой пневмосопротивлений-жиклеров ЖА 11 и ЖК 12 в анодный и катодный пневмотракты.
Так как прецизионные жиклеры изготовлять сложно, последовательно с ними, в БГР 3 устанавливается регулируемое системой стабилизации Ip=f(Iтд), пневмосопротивление, роль которого выполняет ТД 10. Этот термодроссель решает сразу несколько задач блокировки дестабилизирующих факторов тяги, в том числе позволяет снизить точностные требования к жиклерам.
В термодросселе заложена возможность регулирования расхода до 30% от требуемого номинала, поэтому он с помощью электрического воздействия от БАРТМ 4 может изменять анодный и, одновременно, катодный расход в широких пределах, устраняя тем самым жесткость требования к точности формирования расхода жиклерами ЖА 11 и ЖК 12 БГР 3.
Другим обстоятельством, объясняющим отличия настроечного значения термодросселя в БАРТМ 4 и БГР 3, является особенность структурно-схемного построения системы стабилизации в БАРТМ 4.
Блок-схема системы стабилизации Ip=f(Iтд) представлена на фиг.1. Из этой схемы следует, что магнитных регуляторов (МР) два – основной и резервный, работающих с разными ТД 10. Задающий ток разряда 2,23 А установки формируется у этих МР 5 собственными схемами при одном общем датчике тока анода ДТА 6.
Поддержание рабочего давления Рвх(t) на входе ТМ осуществляется с помощью Р 16, работа которого рассчитана на определенный перепад давлений рабочего тела в входной магистрали ТМ и давлений в БНД 17. Контроль давления и температуры в БНД 17 осуществляется при помощи датчиков ДД БНД 18 и ДТ БНД 19. Основные запасы рабочего тела хранятся в БВД 20, контроль давления и температуры в которых осуществляется при помощи датчиков ДД БВД 21 и ДТ БВД 22. По мере выработки рабочего тела с БНД 17, производят его восполнение из БВД 20 через ЭПКП 23. Контроль давления и температуры во входной магистрали осуществляется датчиками ДДВ 24 и ДТВ 25. Следовательно, каждый из ТД 10 БГР 3 настраивается на работу в составе ТМ по отдельности, при фиксированных давлениях рабочего тела на входе, измеряемого датчиками ДДВ 24.
На фиг.2 представлен пример настроечных характеристик одного из ТД 10:
а) вольтамперная характеристика (ВАХ) разрядного промежутка (анод-катод) ТМ;
б) характеристика выхода тока разряда Ip(t), на номинальный рабочий режим для Рвх=1,75 атм;
в) передаточная характеристика управляющего устройства МР системы стабилизации Ip(t);
г) передаточная характеристика термодросселя исполнительного устройства системы стабилизации Ip.
Кроме ранее введенных обозначений, дополнительно показаны: РТ-«рабочая точка» (номинальный настроечный параметр); – суммарный секундный массовый расход ксенона.
Рассмотрим внутрисистемную взаимозависимость перечисленных характеристик и их взаимосвязь с действиями предлагаемого способа.
В процессе ПСИ, измеряют рабочие давления на входе в источник, измеряют рабочие параметры источника плазмы (СПД) для различных значений измеренных рабочих давлений номинального диапазона входной магистрали. В конкретном случае путем измерений получают ВАХ разрядного промежутка ТМ при различных значениях давлений на его входе (см. фиг.2а).
Для измеренных рабочих параметров определяют передаточные характеристики регулирования расхода рабочего тела в единицу времени через источник плазмы, обеспечивающие номинальный режим его работы. Для СПД по ВАХ, характеризующей выход тока разряда Ip на номинальный режим и работу после выхода на режим (см. фиг.2б), определяют передаточные характеристики управляющего устройства МР 5 системы стабилизации Ip (см. фиг.2в), обеспечивающие номинальную подачу ксенона , Рвх(t)] (см. фиг.2г). С помощью исполнительного устройства системы стабилизации разрядного тока Ip за счет дозированной подачи ксенона обеспечивается номинальный режим работы СПД.
Далее в процессе работы источника плазмы измеряют текущие значения параметров передаточных характеристик регулирования расхода рабочего тела в источнике плазмы и давления во входной магистрали. В конкретном примере измеряют Iтд(t) и Pвх(t) и по определенным зависимостям расхода для этих измеренных параметров регулирования расхода рабочего тела и давления определяют значение текущего расхода рабочего тела в единицу времени, а именно – по характеристике, представленной на фиг.2г, с учетом измеренных параметров Iтд(t) и Рвх(t), определяют текущие значения .
Настройка БАРТМ 4 производится по номинальным параметрам работы ТМ, соответствующим РТ: Up=300 В; Ip=2,23А; Iтд=1,5А; =2,75 мг/с. При этом передаточная характеристика управляющего устройства МР системы стабилизации Ip остается неизменной на протяжении всего срока эксплуатации ТМ.
При выходе ТМ на рабочий режим массовый расход рабочего тела существенно отличается от номинального (см. фиг.2в, 2г). Далее, в процессе работы ТМ, от воздействия перечисленных ранее дестабилизирующих факторов, происходят постоянные изменения расхода рабочего тела. Нестабильность разрядного напряжения (±15 В) приводит к изменению значения тока разряда 2,23±0,1 А, которые, в свою очередь, изменяют значение тока термодросселя. В результате происходят изменения массового расхода рабочего тела (см. фиг.2г). Аномальные броски тока разряда до 5 А приводят к «насыщению» регулировочной характеристики управляющего устройства МР, при этом расход рабочего тела превышает номинальное значение примерно в два раза. Давление на входе в ТМ Pвх(t) и ток термодросселя Iтд(t) являются независимыми параметрами при управлении работой модуля. Нестабильность входного давления 1,75±0,1 атм приводит к существенным изменениям в расходе рабочего тела (см. фиг 2г).
Таким образом, текущий массовый расход рабочего тела постоянно изменяется в процессе работы , РBX(t)], что требует его определения.
Необходимо отметить, что по мере выработки ресурса источником плазмы указанные расходные значения, как и рабочие параметры самого источника, претерпевают изменения. Об этом свидетельствует пример изменения параметров СПД в процессе выработки его ресурса [3]. Могут также изменяться и значения давлений на входе в источник из за ресурсных изменений в регуляторах давления. Во всех случаях система регулирования подачи рабочего тела будет обеспечивать работу источника.
В СПД при выработке ресурса происходит падение удельного импульса тяги. При этом за счет увеличения секундного массового расхода, существенных уменьшении в тяге двигателя не происходит, что является важным фактором для выполнения программы полета КА [3].
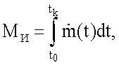
Таким образом, по определенным текущим значениям массового расхода рабочего тела в единицу времени и продолжительности работы источника на фиксированном интервале определяют массу расходуемого рабочего тела на любой стадии выработки ресурса источником:

где (t0, tk) – интервал работы источника.
Как видно из фиг.1, две системы, подачи рабочего тела и работы ТМ, резервированы, так как работа может осуществляться на одном из двух катодов: К 14 или К 15. Резервирование предусмотрено на случай возможных отказов в БАРТМ 4 или негерметичности системы подачи рабочего тела на одном из ее участков (от БВД 20 до ТД 10). Определять герметичность необходимо не только объемов для хранения рабочего тела (баков), но и магистралей, редукторов, клапанов и т.д. При этом системы хранения и подачи рабочего тела для РД могут иметь довольно «разветвленную» структуру, включающую десятки разного рода клапанов (подачи, разделения магистралей и др.), несколько баков (основных и резервных), газовые фильтры и другое оборудование (см. [4], стр.123).
Для определения герметичности системы подачи рабочего тела к источнику плазмы разбивают ее на i-e участки поддержания давления одного номинального диапазона при заданном термостатировании рабочего тела. В конкретном примере – на три участка: 1-й участок, от ТД 10 до выхода редуктора Р 16 (включая выходную часть объема редуктора [5]); 2-й участок, от входа в редуктор Р16 (включая входную часть редуктора [5]) до выхода клапана ЭПКП 23 (включая выходную часть клапана [5]); 3-й участок, входной объем клапана ЭПКП 23 [5], объединенный с объемом БВД 20. Разделение проведено по давлениям: на 1-м участке Рвх=1,75±0,1атм; на 2-м участке P1 (2,5 8 атм); на 3-м участке Р2 (2,5 60 атм). При этом объемы установленных участков известны.
На начало работы ТМ t0 определяем массу рабочего тела (ксенона) в каждом из перечисленных участков [1]:

где Vвх,i, Tвх,i, Pвх,i – объем (м3), температура (К), давление (Па) во входном и i-x участках магистралей, составляющих объем системы, где i=1, 2;
В(Твх,i) – второй вириальный коэффициент для ксенона (м3/моль);
k1=R/µ, k2=1/µ; µ – молярная масса ксенона (кг/моль);
R – газовая постоянная, R=8,314 Дж/(моль·К).
Аналогично определяем массу рабочего тела (ксенона) в момент времени tk:

Герметичность системы подачи рабочего тела определяется из условия, заключающегося в том, что разность между расходами массы, определенными по бародинамическим параметрам рабочего тела (с учетом температуры) и расходным характеристикам термодросселя, не должна превышать допустимое значение M. При этом значение M определяется по техническим требованиям на герметичность системы подачи рабочего тела.
С учетом выражений (1)-(3) герметичность определяется по выполнению условия
.
Типичным примером устройства для возможности реализации предложенного способа может служить СПД [6], где, в частности, подробно описана его работа совместно с устройствами, реализующими функцию, описанную в БАРТМ 4. Применительно к этому устройству описана реализация предлагаемого способа. Однако способ может быть использован и для других случаев использования различного рода источников плазмы, в частности при эксплуатации различных типов генераторов плазмы [7].
В качестве примера реализации предлагаемого способа рассматривается исследование на герметичность системы подачи рабочего тела в ТМ КА «Ямал-200» при проведении одного маневра. Результаты исследования представлены в таблицах 1, 2.
Маневр проводился при 5-ти включениях ТМ с номерами 5-8 на одном (втором) катоде. Таким образом, расход ксенона осуществлялся с одних и тех же участков системы подачи, к которым подключены ТМ по одним и тем же катодам. При этом ЭПК ТМ 7 в БГР 3 неработающих ТМ были закрыты (см. фиг.1).
В таблице 1 представлены: тяга (F) ТМ (полученная по результатам баллистических измерений кажущейся скорости КА при проведении предыдущих маневров); продолжительность работы ТМ (час: мин: сек); осредненные значения секундного массового расхода при работе каждого ТМ, определенные по расходным характеристикам ТД; значения удельной тяги J(c), определенные по тяге и (для подтверждения номинального значения удельной тяги каждого ТМ Jn=1440 с); расход массы ксенона (в г) по каждому отработавшему ТМ; количество аномальных бросков тока разряда и их продолжительность.
В таблице 2 расход массы ксенона определен по бародинамическим параметрам.
При проведении маневров, предусматриваются небольшие паузы между включениями ТМ. Это приводит к тому, что количество измерений давлений и температур в паузах между маневрами недостаточно, чтобы методами статистического анализа уменьшить влияние случайных погрешностей на результат. Поэтому, при наличии расходных показателей в таблицах 1 и 2 по каждому отработанному ТМ, определение герметичности производится по интегральной оценке расхода массы ксенона за маневр. В таком случае уменьшается влияние измеренных случайных величин на полученный результат.
Расход за маневр, определенный по расходным характеристикам ТД, составил МИ=26.367 г.
Расход массы ксенона за маневр, определенный по изменению его бародинамических параметров в магистралях ОДУ, составил

где j – число включений ТМ.
.
При допустимых потерях массы рабочего тела за маневр из контролируемой системы подачи рабочего тела с источником плазмы М=0,5 г, система определена как герметичная.
Определенный по номинально установленной величине секундного массового расхода 2,75 мг/с, общий расход за маневр составил М=25.631 г. Таким образом, расход массы за маневр, определенный по расходным характеристикам ТД МИ, превысил значение М на ~0,7 г (на ~2,7%). Несмотря на незначительную разницу в определении расхода, вывод о герметичности системы подачи рабочего тела будет противоположным.
Необходимо также отметить, что рассмотренный один пример выбран из совокупности исследований нескольких десятков аналогичных маневров, статистическая обработка которых позволяет сделать окончательное заключение о герметичности. Однако применение предложенного способа при статистическом анализе позволяет уменьшить дисперсию разности, полученной при проведении s-x маневров D[ M’]s (по сравнению с использованием для расчетов секундного массового расхода 2,75 мг/с), и, тем самым, получить меньшую величину наиболее вероятного значения средней квадратичной ошибки определения искомой величины M’: [ ( M’)].
В свою очередь известно, что мера точности обратно пропорциональна значению (см. [8], стр.213). Следовательно, точность определения герметичности системы подачи рабочего тела повышается.
Необходимо также отметить, что для применения способа не требуется дополнительного оборудования, приводящего к увеличению массы КА. Для контроля герметичности системы используются средства, предназначенные для управления работой ТМ и хранения рабочего тела.
СПИСОК ЛИТЕРАТУРЫ
1. Калинкин Д.А., Ковтун B.C. Определение герметичности системы хранения и подачи газообразного рабочего тела ракетных двигателей в процессе эксплуатации КА. Известия РАН. Сер. Энергетика. 2007 г., 3, с.132-141.
2. Патент RU 2272265 С2, МПК7 G01M 3/00. Калинкин Д.А., Ковтун B.C., Сысоев Д.В. Способ определения герметичности изолированного объема системы подачи рабочего тела с источником плазмы, преимущественно в условиях вакуума. Изобретения, 2006 г., 8.
3. Патент RU 2251090 C1. МПК7 G01M 19/00, F03H 1/00, H05H 1/54. Гниздор Р.Ю., Гопанчук В.В., Мурашко В.М., Семененко Д.А. Способ прогнозирования изменения параметров стационарного плазменного двигателя в процессе выработки ресурса. Изобретения, 2005 г., 12.
4. Елисеев А.С. Техника космических полетов. М.: Машиностроение. 1983 г.
5. Феодосьев В.И. Основы техники ракетного полета. М.: Наука. 1979 г.
6. Патент RU 2009374 С2, МПК7 F03H 1/00, H05H 1/54. Граур В.Ф., Козубский К.Н., Жасан B.C. Стационарный плазменный двигатель. Изобретения, 1994 г., 25.
7. Морозов А.И. Введение в плазмодинамику. М.: ФИЗМАТЛИТ. 2006 г.
8. Щиголев Б.М. Математическая обработка наблюдений. М.: Наука. 1969 г.
| Таблица 1 |
| Способ определения герметичности системы подачи рабочего тела к источнику плазмы, преимущественно в условиях вакуума |
ТМ |
Тяга F, гс |
Работа ТМ, час: мин: сек |
, мг/с |
Удельная тяга J, с |
Расход, г |
Кол-во бросков IP |
Длительность бросков IP, с |
| ТМ5 |
3,8044 |
0:25:50 |
2,6897 |
1441,81 |
4,1691 |
О |
0 |
| ТМ7 |
3,8336 |
0:42:22 |
2,7055 |
1444,39 |
6,8774 |
0 |
0 |
| ТМ6 |
3,9037 |
0:41:15 |
2,7982 |
1422,10 |
6,9255 |
0 |
0 |
| ТМ8 |
4,0653 |
0:33:56 |
2,9749 |
1392,97 |
6,0570 |
1 |
1 |
| ТМ5 |
3,8044 |
0:14:50 |
2,6268 |
1476,36 |
2,3379 |
0 |
0 |
| Таблица 2 |
ТМ |
Работа ТМ час: мин: сек |
Масса до работы ТМ (г) |
Масса после работы ТМ (г) |
Разность масс (г) |
| ТМ5 |
0:25:50 |
109.80 |
105.84 |
3.96 |
| ТМ7 |
0:42:22 |
105.84 |
98.97 |
6.86 |
| ТМ6 |
0:41:15 |
98.97 |
91.62 |
7.34 |
| ТМ8 |
0:33:56 |
91.62 |
84.51 |
7.11 |
| ТМ5 |
0:14:50 |
84.51 |
83.03 |
1.47 |
Формула изобретения
Способ определения герметичности системы подачи рабочего тела к источнику плазмы, преимущественно в условиях вакуума, включающий измерение давления и температуры в контролируемом объеме системы на фиксированном интервале времени работы источника плазмы (t0, tk), определение расхода рабочего тела по изменению давления и температуры в контролируемом объеме, измерение параметров, характеризующих работу источника плазмы на указанном интервале, определение по измеренным параметрам контрольного расхода рабочего тела в источнике плазмы, определение герметичности системы подачи рабочего тела путем сравнения контрольного расхода и расхода, определенного по изменению давления и температуры рабочего тела в контролируемом объеме, отличающийся тем, что измеряют многократно давление рабочего тела во входной магистрали источника плазмы PВХ(t), при этом измерение рабочих параметров источника плазмы производят для различных значений измеренного давления РВХ(t) рабочего тела, получая зависимости рабочих параметров источника плазмы от давления РВХ(t), по которым определяют передаточные характеристики регулирования контрольного расхода рабочего тела в единицу времени при подаче к источнику плазмы, обеспечивающего номинальный режим работы источника плазмы, в процессе работы которого измеряют текущие значения параметров передаточных характеристик регулирования расхода рабочего тела при подаче к источнику плазмы и давления РВХ(t), далее по полученным зависимостям рабочих параметров источника плазмы и по измеренным значениям параметров передаточных характеристик регулирования подачи рабочего тела и давления РВХ(t) определяют значения текущего контрольного расхода рабочего тела в единицу времени в пределах фиксированного интервала (t0, tk), пo которым определяют расход рабочего тела из контролируемого объема одновременно в процессе работы источника плазмы измеряют давление Рi(t) и температуру Тi(t) в i-x контролируемых объемах, составляющих систему, где i=1, 2, 3 – участки поддержания давления одного номинального диапазона при заданном термостатировании рабочего тела, а также РВХ(t) и ТВХ(t), где TВХ(t) – температура рабочего тела во входной магистрали, в моменты времени начала t0 и окончания tk фиксированного интервала (t0, tk), по измеренным значениям давления и температуры определяют значения масс рабочего тела в момент времени t0 начала фиксированного интервала  и в момент времени tk его окончания  далее определяют герметичность системы подачи рабочего тела по выполнению условия
 где М – допустимые потери массы рабочего тела из контролируемого объема системы подачи рабочего тела с источником плазмы.
РИСУНКИ
|