|
|
(21), (22) Заявка: 2008114763/28, 15.04.2008
(24) Дата начала отсчета срока действия патента:
15.04.2008
(46) Опубликовано: 27.12.2009
(56) Список документов, цитированных в отчете о поиске:
RU 2249801 С1, 10.04.2005. SU 236072 А, 24.01.1969. SU 877381 А, 30.10.1981. US 6062078 А, 16.05.2000.
Адрес для переписки:
607188, Нижегородская обл., г. Саров, пр. Мира, 37, ФГУП “РФЯЦ-ВНИИЭФ”, начальнику ОПИНТИ
|
(72) Автор(ы):
Ващенко Виктор Тимофеевич (RU), Газизова Наталия Львовна (RU), Золотов Николай Иванович (RU), Лупша Виталий Андреевич (RU), Смирнов Борис Федорович (RU), Фомина Наталия Ивановна (RU)
(73) Патентообладатель(и):
Российская Федерация, от имени которой выступает государственный заказчик – Государственная корпорация по атомной энергии “Росатом” (RU), Федеральное государственное унитарное предприятие “Российский федеральный ядерный центр – Всероссийский научно-исследовательский институт экспериментальной физики” – ФГУП “РФЯЦ-ВНИИЭФ” (RU)
|
(54) НЕСУЩАЯ БАЛКА ЦЕНТРОБЕЖНОЙ УСТАНОВКИ
(57) Реферат:
Изобретение относится к испытательной технике и может быть использовано для испытаний изделий на воздействие линейных ускорений. Несущая балка центробежной установки представляет собой коробчатый корпус с жестко закрепленными на его противоположных торцевых сторонах цапфами с надетыми на них подшипниками. В направляющих корпуса установлены две параллельные штанги, выполненные с возможностью изменения их длины и состоящие из двух частей, каждая из которых составлена путем соединения изменяемого количества втулок с трапецеидальными резьбами с различными длинами их свинчивания. Части штанг попарно установлены с противоположных сторон корпуса в соответствующие направляющие на разных расстояниях относительно продольной оси балки. Концы штанг выполнены с возможностью установки на них противовеса с дополнительными грузами, имеющими возможность продольного перемещения относительно штанг, с одной стороны, и держателя, предназначенного для крепления и поворота объекта испытаний на заданный угол, с другой стороны. Технический результат заключается в уменьшении величины необходимого крутящего момента и увеличении темпа нарастания нагрузки при испытании изделий. 4 ил.
Изобретение относится к испытательной технике, а именно к установкам для испытаний изделий на воздействие линейных ускорений.
Известна центрифуга (АС СССР 236072, кл. G 01 М 7/00, 1967 г., опубл. бюллетень 40, 1969 г.), содержащая Т-образную раму, установленную на фундаменте, вертикальный вал, привод вертикального вала, размещенный на раме, две опоры для вертикального вала, расположенные: верхняя – в плоскости рамы, а нижняя – на фундаменте, и размещенную на вертикальном валу несущую балку, выполненную в виде трубы, один конец которой предназначен для крепления испытуемого изделия, а на другом закреплен противовес, снабженный размещенным в трубе грузом, имеющим возможность осевого перемещения.
Недостатком несущей балки известной центрифуги является то, что она позволяет производить испытания либо крупногабаритных тяжелых изделий на небольшие перегрузки, либо изделий относительно меньшего веса и габарита на большие перегрузки. Переход с одного режима испытаний на другой требует большой перестройки в конструкции стенда. Это снижает эксплуатационные возможности центрифуги. Кроме того, в центрифуге с данной несущей балкой, статическая балансировка осуществляется лишь одним грузом противовеса. Это сужает диапазон статической балансировки центрифуги.
В качестве прототипа рассмотрим несущую балку в установке центробежной (RU 2249801 МПК7, G01М 1/00, опубл. бюллетень 10, 2005 г.), содержащей установленную на фундаменте раму, вертикальный двухопорный вал, привод вала, саму несущую балку, представляющую собой коробчатый корпус с жестко закрепленными на его противоположных сторонах цапфами с надетыми на них подшипниками, в направляющих которого установлены две параллельные штанги, имеющие возможность плавного перемещения относительно оси качания, шарнирно закрепленную на вертикальном валу. На одном конце несущей балки закреплен противовес с дополнительными грузами, на другом – держатель для испытуемого изделия, выполненный в виде съемной фермы с крестообразными втулками, надетыми на штанги с возможностью продольного перемещения и поворота относительно оси штанг. Установка снабжена устройством вывешивания несущей балки для ее статической балансировки. Верхняя опора вала выполнена подвижной.
Недостатком несущей балки этой центробежной установки является то, что она позволяет производить испытания изделий, закрепленных в ферме, надетой на штанги, расположенные на фиксированном расстоянии друг от друга, а кроме того, крестообразные втулки фермы позволяют производить испытания изделий на воздействие линейных ускорений только в продольном и поперечном направлении.
Общим недостатком вышеприведенных несущих балок центрифуг является то, что они предназначены для испытания изделий, закрепленных на штангах на определенном расстоянии, и только на воздействие линейных ускорений в продольном и поперечном направлении, что значительно снижает диапазон испытаний изделий.
Технической задачей настоящего изобретения является повышение надежности и удобства эксплуатации центробежной установки при ее работе, а также увеличение типов испытуемых изделий, расширение диапазона эксплуатационных возможностей путем изменения величины линейных ускорений, темпа их нарастания и направления приложения нагрузки.
Указанная техническая задача решается несущей балкой центробежной установки, шарнирно закрепляемой на ее вертикальном валу и представляющей собой коробчатый корпус с жестко закрепленными на его передней и задней торцевых сторонах цапфами с надетыми на них подшипниками. В направляющих корпуса установлены симметрично относительно продольной оси балки две параллельные штанги, выполненные с возможностью изменения их длины и состоящие из двух частей, каждая из которых составлена путем соединения изменяемого количества втулок с трапецеидальными резьбами с различными длинами их свинчивания. Части штанг попарно установлены с противоположных торцевых сторон корпуса в соответствующие направляющие на разных расстояниях относительно продольной оси балки. Концы штанг выполнены с возможностью установки на них противовеса с дополнительными грузами, имеющими возможность продольного перемещения относительно штанг с одной стороны или держателя для объекта испытаний с другой стороны. Отличительными признаками от прототипа являются:
– выполнение штанг с возможностью изменения их длины и состоящими из двух частей, каждая из которых составлена путем соединения изменяемого количества втулок с трапецеидальными резьбами с различными длинами их свинчивания, обеспечивает возможность изменения радиуса вращения объекта испытания, а следовательно, обеспечить изменение величины линейного ускорения при простой перестройке в конструкции установки;
– выполнение частей штанг путем соединения изменяемого количества втулок позволяет изменять вес и момент инерции, что дает возможность изменять темп нарастания испытательной нагрузки;
– выполнение штанг состоящими из двух частей, их установка попарно с противоположных сторон корпуса в соответствующие направляющие на разных расстояниях относительно продольной оси балки. Выполнение обоих концов несущей балки с возможностью установки на них держателя для объекта испытаний или противовеса с дополнительными грузами с возможностью их продольного перемещения относительно балки позволяет расширить диапазон испытываемых объектов (по весу и габаритам) без большой перестройки в конструкции установки.
Изобретение поясняется чертежами:
На фиг.1 изображена центробежная установка с несущей балкой в разрезе.
На фиг.2 – несущая балка центробежной установки в разрезе.
На фиг.3 – несущая балка центробежной установки с держателем для объекта испытаний, вид сверху.
На фиг.4 – несущая балка центробежной установки с поворотным держателем для объекта испытаний, вид сверху.
Центробежная установка (фиг.1), представляющая собой фундаментную опору 1, вертикальный вал 2, саму несущую балку 3, закрепленную на верхнем торце вертикального вала, приводной электродвигатель 4, размещенный на раме 15, карданную передачу 5, связывающую электродвигатель с несущей балкой, устройство вывешивания несущей балки для статической балансировки, расположенное в опорных узлах вала 2.
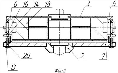
Несущая балка 3 (фиг.2) выполнена в виде коробчатого корпуса с жестко закрепленными на его противоположных торцевых сторонах цапфами 6 с надетыми на них подшипниками 16, опирающимися на плиту 7, закрепленную на верхнем торце вертикального вала 2. В направляющих 18 корпуса симметрично относительно продольной оси балки 3 с одной и с другой стороны установлены две параллельные штанги 10 и 11, выполненные с возможностью изменения их длины, состоящие из двух частей 21 и 22, попарно с противоположных сторон корпуса, расположенных на различном постоянном расстоянии l1 и l2 (в данном примере l1>l2) относительно продольной оси балки и друг от друга, и составленные из изменяемого количества втулок 12, соединенных между собой с помощью трапецеидальных резьб с различными длинами их свинчивания.
В первом случае выполнения несущей балки (фиг.3) на частях 21 штанг 10, 11 установлены держатель 8 для объекта испытаний, а на частях 22 – противовес 9 с набором дополнительных грузов 17.
Во втором случае выполнения несущей балки (фиг.4) на частях 22 штанг 10, 11 установлен держатель 8 для объекта испытаний, выполненный в виде поворотного устройства для установки объекта испытаний, а противовес 9 с набором дополнительных грузов 17 установлен на частях 21 штанг 10, 11.
Центробежная установка с несущей рамой работает следующим образом.
В зависимости от габаритных размеров объекта испытаний, заданной величины и направления линейного ускорения, а также темпа нарастания линейных ускорений выбирают держатель для установки объекта испытаний, определяют необходимое число оборотов несущей балки 3 и сторону несущей балки, на которой должен быть установлен держатель для объекта испытаний и противовес 9 с грузами. Путем изменения числа втулок 12, длины свинчивания втулок штанг 10 и 11 устанавливают необходимую длину плеч штанг. Объект испытаний, закрепленный в держателе 8, противовес 9 с дополнительными грузами 17 устанавливают диаметрально противоположно на части 21, 22 штанг 11, 10. Несущую балку 3 с помощью устройства для вывешивания приподнимают над опорами путем вращения болта 20, вертикально перемещающего муфту 13 и опирающуюся на нее призму 14 так, чтобы несущая балка свободно покачивалась в продольном направлении на подшипниках 16, установленных на цапфах 6 относительно оси качания 19. Несущую балку 3 устанавливают в строго горизонтальное положение путем плавного перемещения противовеса 9 по штангам 11 и 10. Для тонкой балансировки используют дополнительные съемные грузы 17, которые при необходимости крепятся к противовесу 9. Горизонтальное положение выставляют по уровню, закрепленному на горизонтальной плоскости несущей балки 3. После чего несущую балку 3 опускают путем вращения болта 20 и закрепляют на плите 7. Затем производят включение электродвигателя 4, который посредством карданной передачи 5 разгоняет несущую балку 3 до заданного числа оборотов.
Для изменения приложения действия испытательной нагрузки держатель 8 с установленным объектом испытаний снимают со штанг 10, 11, поворачивают на необходимый угол (90°, 180°, 270°) и устанавливают на штанги, после чего производят балансировку и испытания, как описано выше. В случае выполнения держателя 8 для объекта испытаний в виде поворотного устройства, не снимая объект со штанг, поворачивают обойму с объектом испытаний на заданный угол, например на угол, кратный 5°, закрепляют на штангах и производят испытания.
Таким образом, за счет конструктивного выполнения несущей рамы, возможности изменения радиуса вращения и положения испытуемого объекта решается задача повышения удобства и надежности работы установки, а также расширение диапазона ее эксплуатационных возможностей.
Формула изобретения
Несущая балка центробежной установки, содержащая коробчатый корпус с жестко закрепленными на его противоположных торцевых сторонах цапфами с надетыми на них подшипниками, две параллельные штанги, установленные в направляющих корпуса симметрично относительно продольной оси балки, один конец которой выполнен с возможностью установки противовеса с дополнительными грузами с возможностью их продольного перемещения относительно нее, а другой конец – с возможностью закрепления держателя для объекта испытаний, отличающаяся тем, что штанги выполнены с возможностью изменения их длины и состоящими из двух частей, каждая из которых составлена путем соединения изменяемого количества втулок с трапецеидальными резьбами с различными длинами их свинчивания, части штанг попарно установлены с противоположных сторон корпуса в соответствующие направляющие на разных расстояниях относительно продольной оси балки, оба конца которой выполнены с возможностью установки держателя для объекта испытаний или противовеса с дополнительными грузами с возможностью их продольного перемещения относительно балки.
РИСУНКИ
|
|